CN211260807U - Novel equipment for waste incineration of environmental protection - Google Patents
Novel equipment for waste incineration of environmental protection Download PDFInfo
- Publication number
- CN211260807U CN211260807U CN201921413484.7U CN201921413484U CN211260807U CN 211260807 U CN211260807 U CN 211260807U CN 201921413484 U CN201921413484 U CN 201921413484U CN 211260807 U CN211260807 U CN 211260807U
- Authority
- CN
- China
- Prior art keywords
- incineration
- tank
- fixedly connected
- chamber
- waste incineration
- Prior art date
- Legal status (The legal status is an assumption and is not a legal conclusion. Google has not performed a legal analysis and makes no representation as to the accuracy of the status listed.)
- Expired - Fee Related
Links
Images
Abstract
本实用新型公开了一种新型环保的垃圾焚烧用设备,包括焚烧罐,所述焚烧罐内壁的左右两侧面分别与斜板的左右两侧面固定连接,所述斜板的下方设置有蓄水池。该新型环保的垃圾焚烧用设备,通过设置焚烧罐、斜板和排灰口,方便焚烧后的垃圾灰烬掉落至斜板,从而利用斜板的坡度,将焚烧后的垃圾灰烬输送至排灰口,通过设置第二出口塞和第二挡板,在焚烧时,方便对排灰口密封,焚烧过后,拔出第二出口塞,方便将垃圾灰烬排出焚烧罐,整个装置能够对焚烧后的灰烬进行收集处理,同时充分利用了焚烧产生的热能,实现了环保节能,能够对烟气进行过滤后排放,使之不会污染空气,整个装置使用方便,结构紧凑,设计合理,实用性强。
The utility model discloses a novel and environmentally friendly waste incineration equipment, which comprises an incineration tank. The left and right sides of the inner wall of the incineration tank are respectively fixedly connected with the left and right sides of an inclined plate, and a water storage tank is arranged below the inclined plate. . This new type of environmentally friendly waste incineration equipment is equipped with incineration tanks, inclined plates and ash discharge ports to facilitate the incineration of garbage ashes to fall to the inclined plate, so as to utilize the slope of the inclined plate to transport the incinerated garbage ashes to the ash discharge. By setting the second outlet plug and the second baffle plate, it is convenient to seal the ash discharge port during incineration. After the incineration, the second outlet plug is pulled out to facilitate the discharge of the garbage ashes from the incineration tank. The ash is collected and processed, and at the same time, the heat energy generated by incineration is fully utilized, which realizes environmental protection and energy saving, and can filter the flue gas and discharge it so that it will not pollute the air. The whole device is easy to use, compact in structure, reasonable in design and strong in practicability.
Description
技术领域technical field
本实用新型涉及环保技术领域,具体为一种新型环保的垃圾焚烧用设备。The utility model relates to the technical field of environmental protection, in particular to a new type of environmental protection waste incineration equipment.
背景技术Background technique
垃圾焚烧即通过适当的热分解、燃烧、熔融等反应,使垃圾经过高温下的氧化进行减容,成为残渣或者熔融固体物质的过程。Waste incineration is the process of reducing the volume of waste through oxidation at high temperature through appropriate thermal decomposition, combustion, melting and other reactions, and turning it into residue or molten solid matter.
而现有对垃圾的焚烧设备大多采用直接将垃圾导入焚烧炉进行焚烧处理,在焚烧过后,不能很好的对焚烧留下的灰烬进行处理,同时将焚烧后的烟气直接排放,对空气形成污染,对人们的身体形成伤害,不利于环保。However, most of the existing waste incineration equipment directly introduces the waste into the incinerator for incineration treatment. After the incineration, the ash left by the incineration cannot be treated well. Pollution causes harm to people's bodies and is not conducive to environmental protection.
实用新型内容Utility model content
(一)解决的技术问题(1) Technical problems solved
针对现有技术的不足,本实用新型提供了一种新型环保的垃圾焚烧用设备,以解决上述背景技术提出的问题。Aiming at the deficiencies of the prior art, the present invention provides a novel and environmentally friendly waste incineration equipment to solve the problems raised by the above-mentioned background technology.
(二)技术方案(2) Technical solutions
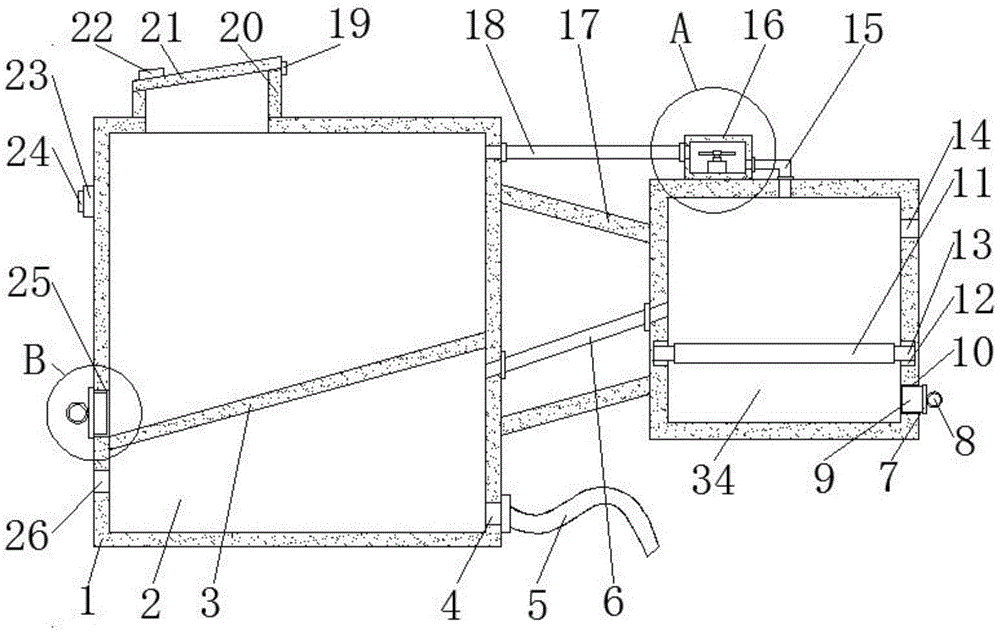
为实现上述目的,本实用新型提供如下技术方案:一种新型环保的垃圾焚烧用设备,包括焚烧罐,所述焚烧罐内壁的左右两侧面分别与斜板的左右两侧面固定连接,所述斜板的下方设置有蓄水池,所述焚烧罐的左侧面开设有进水口,所述进水口与蓄水池的左侧面相连通,且焚烧罐的右侧面开设有出水口,所述出水口与出水软管的左端相连通,所述焚烧罐的上表面与进料斗的下表面相连通,所述进料斗的右侧面与盖板的右侧面通过合页活动连接,所述盖板的上表面与第一把手的下表面固定连接,所述焚烧罐的右侧面与第二管道的左端相连通,所述第二管道的右端与抽风室的左侧面相连通,所述抽风室内壁的下表面与电机的下表面固定连接,所述电机的输出轴固定连接有扇叶,所述抽风室的右侧面与第一管道的一端相连通,所述第一管道的另一端与沉淀室的上表面相连通,所述沉淀室的侧面开设有两个滑槽,且两个滑槽内滑动连接有两个滑块,且两个滑块相靠近的一面分别与吸附板的左右两侧面固定连接,所述蓄水池的右侧面与蒸汽管道的一端相连通,所述蒸汽管道的另一端与沉淀室的左侧面相连通。In order to achieve the above purpose, the utility model provides the following technical solutions: a new type of environmentally friendly waste incineration equipment, comprising an incineration tank, the left and right sides of the inner wall of the incineration tank are respectively fixedly connected with the left and right sides of the inclined plate, and the inclined The bottom of the plate is provided with a reservoir, the left side of the incineration tank is provided with a water inlet, the water inlet is communicated with the left side of the reservoir, and the right side of the incineration tank is provided with a water outlet. The water outlet is communicated with the left end of the water outlet hose, the upper surface of the incineration tank is communicated with the lower surface of the feed hopper, the right side of the feed hopper and the right side of the cover plate are movably connected through hinges, The upper surface of the cover plate is fixedly connected with the lower surface of the first handle, the right side of the incineration tank is communicated with the left end of the second pipe, and the right end of the second pipe is communicated with the left side of the air extraction chamber, so The lower surface of the inner wall of the air extraction chamber is fixedly connected to the lower surface of the motor, the output shaft of the motor is fixedly connected with a fan blade, the right side of the air extraction chamber is communicated with one end of the first pipe, and the first pipe The other end is communicated with the upper surface of the precipitation chamber, the side of the precipitation chamber is provided with two chutes, and two sliding blocks are slidably connected in the two sliding grooves, and the adjacent sides of the two sliding blocks are respectively connected to the adsorption The left and right sides of the plate are fixedly connected, the right side of the water reservoir is communicated with one end of the steam pipe, and the other end of the steam pipe is communicated with the left side of the sedimentation chamber.
优选的,所述焚烧罐的左侧面设置有电源,所述电源的左侧面设置有开关,所述电源的输出端与开关的输入端通过导线电连接,所述开关的输出端与电机的输入端通过导线电连接。Preferably, a power supply is provided on the left side of the incineration tank, a switch is provided on the left side of the power supply, the output end of the power supply and the input end of the switch are electrically connected by wires, and the output end of the switch is connected to the motor The input terminals are electrically connected by wires.
优选的,所述焚烧罐的左侧面开设有排灰口,所述排灰口内设置有第二出口塞,所述第二出口塞的左侧面与第二挡板的右侧面固定连接,所述第二挡板的左侧面与第二拉环的外表面固定连接,且第二出口塞的大小与排灰口大小相适配。Preferably, an ash discharge port is provided on the left side of the incineration tank, a second outlet plug is arranged in the ash discharge port, and the left side of the second outlet plug is fixedly connected to the right side of the second baffle plate , the left side of the second baffle is fixedly connected with the outer surface of the second pull ring, and the size of the second outlet plug is adapted to the size of the ash discharge port.
优选的,所述沉淀室的右侧面开设有排水口,所述排水口内设置有第一出口塞,所述第一出口塞的右侧面与第一挡板的左侧面固定连接,所述第一挡板的右侧面与第一拉环的外表面固定连接,且第一出口塞大小与排水口的大小相适配。Preferably, a drain port is opened on the right side of the sedimentation chamber, a first outlet plug is arranged in the drain port, and the right side of the first outlet plug is fixedly connected with the left side of the first baffle plate, so The right side of the first baffle is fixedly connected with the outer surface of the first pull ring, and the size of the first outlet plug is adapted to the size of the drain.
优选的,所述焚烧罐的右侧面与支撑架的一端固定连接,所述支撑架的另一端与沉淀室左侧面固定连接。Preferably, the right side of the incineration tank is fixedly connected to one end of the support frame, and the other end of the support frame is fixedly connected to the left side of the precipitation chamber.
优选的,所述沉淀室的右侧面开设有排气口,所述沉淀室的正面设置有室门,所述室门的正面设置有第二把手。Preferably, an exhaust port is provided on the right side of the precipitation chamber, a chamber door is provided on the front side of the precipitation chamber, and a second handle is provided on the front side of the chamber door.
(三)有益效果(3) Beneficial effects
本实用新型提供了一种新型环保的垃圾焚烧用设备,具备以下有益效果:The utility model provides a novel and environmentally friendly waste incineration equipment, which has the following beneficial effects:
(1)、该新型环保的垃圾焚烧用设备,通过设置焚烧罐、斜板和排灰口,方便焚烧后的垃圾灰烬掉落至斜板,从而利用斜板的坡度,将焚烧后的垃圾灰烬输送至排灰口,通过设置第二出口塞和第二挡板,在焚烧时,方便对排灰口密封,焚烧过后,拔出第二出口塞,方便将垃圾灰烬排出焚烧罐,通过设置蓄水池和出水软管,方便利用焚烧罐焚烧垃圾时的热量,对蓄水池内的水进行加热,通过出水软管输送至其他位置进行使用,实现对焚烧热量的利用,节约资源,通过设置抽风室、第一管道和第二管道,抽风室通过第二管道将焚烧罐内焚烧后产生的烟气抽入抽风室,通过第一管道输送至沉淀室,方便进行二次过滤沉淀,整个装置能够对焚烧后的灰烬进行收集处理,同时充分利用了焚烧产生的热能,实现了环保节能,能够对烟气进行过滤后排放,使之不会污染空气,整个装置使用方便,结构紧凑,设计合理,实用性强。(1) This new type of environmentally friendly waste incineration equipment is equipped with an incineration tank, a sloping plate and an ash discharge port to facilitate the incineration of garbage ashes to fall to the inclined plate, so as to utilize the slope of the inclined plate to remove the incinerated garbage ashes. It is transported to the ash discharge port. By setting the second outlet plug and the second baffle plate, it is convenient to seal the ash discharge port during incineration. After the incineration, pull out the second outlet plug to facilitate the discharge of garbage ashes into the incineration tank. The water tank and the water outlet hose are convenient to use the heat of the incineration tank to incinerate the garbage, heat the water in the reservoir, and transport it to other locations for use through the water outlet hose, so as to realize the utilization of the incineration heat and save resources. The exhaust chamber draws the flue gas generated after incineration in the incineration tank into the exhaust chamber through the second pipeline, and transports it to the sedimentation chamber through the first pipeline, which is convenient for secondary filtration and sedimentation. The whole device can The ash after incineration is collected and processed, and at the same time, the thermal energy generated by incineration is fully utilized, which realizes environmental protection and energy saving, and can filter the flue gas and discharge it so that it will not pollute the air. Strong practicality.
(2)、该新型环保的垃圾焚烧用设备,通过设置蒸汽管道,可以将蓄水池内的水经过蒸发后形成的水蒸气输送至沉淀室,水蒸气和烟气混合,使烟气中含有的杂质通过吸附板进行吸附,对烟气进行二次过滤,通过设置滑槽和滑块,方便人们将吸附板抽出进行清理和更换,通过设置排水口和第一出口塞,水蒸气凝结后的废水可以通过排水口排出,第一出口塞方便对排水口进行密封,通过设置电机和扇叶,使电机工作,扇叶转动扇风,方便将烟气吸入抽风室。(2) This new type of environmentally friendly waste incineration equipment can transport the water vapor formed by the evaporation of the water in the reservoir to the precipitation chamber by setting a steam pipeline, where the water vapor and the flue gas are mixed, so that the The impurities are adsorbed by the adsorption plate, and the flue gas is filtered twice. By setting the chute and the slider, it is convenient for people to pull out the adsorption plate for cleaning and replacement. It can be discharged through the drain port, and the first outlet plug is convenient to seal the drain port. By setting the motor and the fan blade, the motor works, the fan blade rotates the fan, and the flue gas is easily sucked into the exhaust chamber.
(3)、该新型环保的垃圾焚烧用设备,通过设置支撑架,方便对沉淀室和焚烧罐之间进行固定,通过设置第一支撑板、第二支撑板和盖板,可以形成一个进料口,方便人们将垃圾投放入焚烧罐,通过设置合页,方便人们掀开和盖上盖板,通过设置电源和开关,电源能够使电机工作,开关方便人们控制电机的工作状态。(3) This new type of environmentally friendly waste incineration equipment is convenient to fix between the precipitation chamber and the incineration tank by setting the support frame. By setting the first support plate, the second support plate and the cover plate, a feed can be formed. The mouth is convenient for people to put garbage into the incineration tank. By setting the hinge, it is convenient for people to open and cover the cover. By setting the power supply and switch, the power supply can make the motor work, and the switch is convenient for people to control the working state of the motor.
附图说明Description of drawings
图1为本实用新型正视的剖面结构示意图;Fig. 1 is the sectional structure schematic diagram of the front view of the utility model;
图2为本实用新型A处放大的结构示意图;Fig. 2 is the enlarged structural representation at the utility model A;
图3为本实用新型B处放大的结构示意图;Fig. 3 is the enlarged structural representation of the utility model B;
图4为本实用新型中沉淀室正视的结构示意图;Fig. 4 is the structural schematic diagram of the front view of the precipitation chamber in the utility model;
图中:1焚烧罐、2蓄水池、3斜板、4出水口、5出水软管、6蒸汽管道、 7第一挡板、8第一拉环、9第一出口塞、10排水口、11吸附板、12滑槽、13滑块、14排气口、15第一管道、16抽风室、17支撑架、18第二管道、19 合页、20进料斗、21盖板、22第一把手、23电源、24开关、25排灰口、26 进水口、27电机、28扇叶、29第二出口塞、30第二挡板、31第二拉环、32 室门、33第二把手、34沉淀室。In the figure: 1 incineration tank, 2 reservoir, 3 inclined plate, 4 water outlet, 5 water outlet hose, 6 steam pipeline, 7 first baffle plate, 8 first pull ring, 9 first outlet plug, 10 water outlet , 11 adsorption plate, 12 chute, 13 slider, 14 exhaust port, 15 first pipe, 16 exhaust chamber, 17 support frame, 18 second pipe, 19 hinge, 20 feed hopper, 21 cover plate, 22 First handle, 23 power supply, 24 switch, 25 ash outlet, 26 water inlet, 27 motor, 28 fan blade, 29 second outlet plug, 30 second baffle, 31 second pull ring, 32 chamber door, 33 second Handle, 34 precipitation chamber.
具体实施方式Detailed ways
下面将结合本实用新型实施例中的附图,对本实用新型实施例中的技术方案进行清楚、完整地描述,显然,所描述的实施例仅仅是本实用新型一部分实施例,而不是全部的实施例。基于本实用新型中的实施例,本领域普通技术人员在没有做出创造性劳动前提下所获得的所有其他实施例,都属于本实用新型保护的范围。The technical solutions in the embodiments of the present utility model will be clearly and completely described below with reference to the accompanying drawings in the embodiments of the present utility model. Obviously, the described embodiments are only a part of the embodiments of the present utility model, rather than all the implementations. example. Based on the embodiments of the present invention, all other embodiments obtained by those of ordinary skill in the art without creative work fall within the protection scope of the present invention.
如图1-4所示,本实用新型提供一种技术方案:一种新型环保的垃圾焚烧用设备,包括焚烧罐1,焚烧罐1内壁的左右两侧面分别与斜板3的左右两侧面固定连接,焚烧罐1的右侧面与支撑架17的一端固定连接,支撑架17 的另一端与沉淀室34左侧面固定连接,通过设置支撑架17,方便对沉淀室 34和焚烧罐1之间进行固定,焚烧罐1的左侧面开设有排灰口25,排灰口25 内设置有第二出口塞29,通过设置第二出口塞29和第二挡板30,在焚烧时,方便对排灰口25密封,焚烧过后,拔出第二出口塞29,方便将垃圾灰烬排出焚烧罐1,第二出口塞29的左侧面与第二挡板30的右侧面固定连接,第二挡板30的左侧面与第二拉环31的外表面固定连接,且第二出口塞29的大小与排灰口25大小相适配,通过设置焚烧罐1、斜板3和排灰口25,方便焚烧后的垃圾灰烬掉落至斜板3,从而利用斜板3的坡度,将焚烧后的垃圾灰烬输送至排灰口25,焚烧罐1的左侧面设置有电源23,电源23的左侧面设置有开关24,电源23的输出端与开关24的输入端通过导线电连接,开关24的输出端与电机27的输入端通过导线电连接,通过设置电源23和开关24,电源23 能够使电机27工作,开关24方便人们控制电机27的工作状态,斜板3的下方设置有蓄水池2,焚烧罐1的左侧面开设有进水口26,进水口26与蓄水池 2的左侧面相连通,且焚烧罐1的右侧面开设有出水口4,出水口4与出水软管5的左端相连通,通过设置蓄水池2和出水软管5,方便利用焚烧罐1焚烧垃圾时的热量,对蓄水池2内的水进行加热,通过出水软管5输送至其他位置进行使用,实现对焚烧热量的利用,节约资源,焚烧罐1的上表面与进料斗20的下表面相连通,进料斗20的右侧面与盖板21的右侧面通过合页19 活动连接,通过设置第一支撑板20、第二支撑板22和盖板21,可以形成一个进料口,方便人们将垃圾投放入焚烧罐1,盖板21的上表面与第一把手22 的下表面固定连接,通过设置合页19,方便人们掀开和盖上盖板21,焚烧罐 1的右侧面与第二管道18的左端相连通,第二管道18的右端与抽风室16的左侧面相连通,抽风室16内壁的下表面与电机27的下表面固定连接,电机 27的输出轴固定连接有扇叶28,通过设置电机27和扇叶28,使电机27工作,扇叶28转动扇风,方便将烟气吸入抽风室16,抽风室16的右侧面与第一管道15的一端相连通,第一管道15的另一端与沉淀室34的上表面相连通,通过设置抽风室16、第一管道15和第二管道18,抽风室16通过第二管道18 将焚烧罐1内焚烧后产生的烟气抽入抽风室16,通过第一管道15输送至沉淀室34,方便进行二次过滤沉淀,沉淀室34的右侧面开设有排水口10,沉淀室34的右侧面开设有排气口14,沉淀室34的正面设置有室门32,室门32 的正面设置有第二把手33,排水口10内设置有第一出口塞9,第一出口塞9 的右侧面与第一挡板7的左侧面固定连接,第一挡板7的右侧面与第一拉环8 的外表面固定连接,且第一出口塞9大小与排水口10的大小相适配,通过设置排水口10和第一出口塞9,水蒸气凝结后的废水可以通过排水口10排出,第一出口塞9方便对排水口10进行密封,沉淀室34的侧面开设有两个滑槽 12,且两个滑槽12内滑动连接有两个滑块13,且两个滑块13相靠近的一面分别与吸附板11的左右两侧面固定连接,通过设置滑槽12和滑块13,方便人们将吸附板11抽出进行清理和更换,蓄水池2的右侧面与蒸汽管道6的一端相连通,通过设置蒸汽管道6,可以将蓄水池2内的水经过蒸发后形成的水蒸气输送至沉淀室34,水蒸气和烟气混合,使烟气中含有的杂质通过吸附板 11进行吸附,对烟气进行二次过滤,蒸汽管道6的另一端与沉淀室34的左侧面相连通,整个装置能够对焚烧后的灰烬进行收集处理,同时充分利用了焚烧产生的热能,实现了环保节能,能够对烟气进行过滤后排放,使之不会污染空气,整个装置使用方便,结构紧凑,设计合理,实用性强。As shown in Figures 1-4, the present utility model provides a technical solution: a new type of environmentally friendly waste incineration equipment, comprising an
使用时,首先掀开盖板21,将垃圾投放入焚烧罐1,盖上盖板21,对垃圾进行焚烧处理,使电机27工作,使扇叶28转动扇风,使焚烧产生的烟气通过第二管道18进入抽风室16,再通过第一管道15进入沉淀室34,同时蓄水池2加热产生的水蒸气通过蒸汽管道6进入沉淀室34,烟气与水蒸气混合,吸附板11将杂质吸附,通过排气口14,将处理后的烟气排出,通过第二拉环 31,将第二出口塞29取出,使燃烧后的灰烬滑出焚烧罐1,通过滑块13和滑槽12,将吸附板11取出进行清理,拉动第一拉环8,将第一出口塞9取出,使水蒸气凝结后产生的废水通过排水口10排出,焚烧处理完毕后,按下开关 24,使电机27停止工作即可。When in use, first lift off the
综上可得,该新型环保的垃圾焚烧用设备,通过设置焚烧罐1、斜板3和排灰口25,方便焚烧后的垃圾灰烬掉落至斜板3,从而利用斜板3的坡度,将焚烧后的垃圾灰烬输送至排灰口25,通过设置第二出口塞29和第二挡板 30,在焚烧时,方便对排灰口25密封,焚烧过后,拔出第二出口塞29,方便将垃圾灰烬排出焚烧罐1,通过设置蓄水池2和出水软管5,方便利用焚烧罐 1焚烧垃圾时的热量,对蓄水池2内的水进行加热,通过出水软管5输送至其他位置进行使用,实现对焚烧热量的利用,节约资源,通过设置抽风室16、第一管道15和第二管道18,抽风室16通过第二管道18将焚烧罐1内焚烧后产生的烟气抽入抽风室16,通过第一管道15输送至沉淀室34,方便进行二次过滤沉淀,整个装置能够对焚烧后的灰烬进行收集处理,同时充分利用了焚烧产生的热能,实现了环保节能,能够对烟气进行过滤后排放,使之不会污染空气,整个装置使用方便,结构紧凑,设计合理,实用性强。To sum up, this new type of environmentally friendly waste incineration equipment is provided with an
同时,该新型环保的垃圾焚烧用设备,通过设置蒸汽管道6,可以将蓄水池2内的水经过蒸发后形成的水蒸气输送至沉淀室34,水蒸气和烟气混合,使烟气中含有的杂质通过吸附板11进行吸附,对烟气进行二次过滤,通过设置滑槽12和滑块13,方便人们将吸附板11抽出进行清理和更换,通过设置排水口10和第一出口塞9,水蒸气凝结后的废水可以通过排水口10排出,第一出口塞9方便对排水口10进行密封,通过设置电机27和扇叶28,使电机 27工作,扇叶28转动扇风,方便将烟气吸入抽风室16。At the same time, the new environmentally friendly waste incineration equipment can transport the water vapor formed by the evaporation of the water in the
同时,该新型环保的垃圾焚烧用设备,通过设置支撑架17,方便对沉淀室34和焚烧罐1之间进行固定,通过设置第一支撑板20、第二支撑板22和盖板21,可以形成一个进料口,方便人们将垃圾投放入焚烧罐1,通过设置合页19,方便人们掀开和盖上盖板21,通过设置电源23和开关24,电源23 能够使电机27工作,开关24方便人们控制电机27的工作状态。At the same time, the new environmentally friendly waste incineration equipment is convenient to fix between the
尽管已经示出和描述了本实用新型的实施例,对于本领域的普通技术人员而言,可以理解在不脱离本实用新型的原理和精神的情况下可以对这些实施例进行多种变化、修改、替换和变型,本实用新型的范围由所附权利要求及其等同物限定。Although the embodiments of the present invention have been shown and described, it will be understood by those skilled in the art that various changes and modifications can be made to these embodiments without departing from the principles and spirit of the present invention , alternatives and modifications, the scope of the present invention is defined by the appended claims and their equivalents.
Claims (6)
Priority Applications (1)
| Application Number | Priority Date | Filing Date | Title |
|---|---|---|---|
| CN201921413484.7U CN211260807U (en) | 2019-08-28 | 2019-08-28 | Novel equipment for waste incineration of environmental protection |
Applications Claiming Priority (1)
| Application Number | Priority Date | Filing Date | Title |
|---|---|---|---|
| CN201921413484.7U CN211260807U (en) | 2019-08-28 | 2019-08-28 | Novel equipment for waste incineration of environmental protection |
Publications (1)
| Publication Number | Publication Date |
|---|---|
| CN211260807U true CN211260807U (en) | 2020-08-14 |
Family
ID=71953374
Family Applications (1)
| Application Number | Title | Priority Date | Filing Date |
|---|---|---|---|
| CN201921413484.7U Expired - Fee Related CN211260807U (en) | 2019-08-28 | 2019-08-28 | Novel equipment for waste incineration of environmental protection |
Country Status (1)
| Country | Link |
|---|---|
| CN (1) | CN211260807U (en) |
-
2019
- 2019-08-28 CN CN201921413484.7U patent/CN211260807U/en not_active Expired - Fee Related
Similar Documents
| Publication | Publication Date | Title |
|---|---|---|
| CN204629501U (en) | A kind of zero-emission, the complete cracking treatment system of energy self consumption type rubbish | |
| CN204648249U (en) | The melting of one way of life refuse gasification is from incinerating and treating device | |
| CN204962772U (en) | Waste incineration device of environmental protection | |
| CN107131504A (en) | A kind of domestic garbage incineration equipment for saving the energy | |
| CN206037062U (en) | Rubbish pulverizes incineration treatment device | |
| CN107525079A (en) | A kind of highly effective and safe energy-saving garbage combustion furnace | |
| CN205939159U (en) | Multistage circulation treatment facility of solid waste material | |
| CN207378844U (en) | A kind of hazardous waste energy-saving incinerator | |
| CN211260807U (en) | Novel equipment for waste incineration of environmental protection | |
| CN221693064U (en) | A pulse bag dust removal device for exhaust gas from a cremator | |
| CN209876934U (en) | An organic waste incinerator | |
| CN216716234U (en) | Preheater for combustion air system of garbage power plant | |
| CN211119361U (en) | Garbage incinerator with waste heat recycling function | |
| CN210568465U (en) | An energy-saving and environmentally friendly household waste incineration device | |
| CN205351333U (en) | Rural discarded object burner of environment -friendly | |
| CN211925770U (en) | Garbage disposal device | |
| CN111140876B (en) | A biomass pellet environmentally friendly heating stove | |
| CN210885931U (en) | Continuous rotary type special furnace for anaerobic carbonization of garbage | |
| CN219052411U (en) | An environmental maintenance garbage disposal device | |
| CN217402562U (en) | Energy-efficient ventilation deodorization incineration waste treatment device | |
| CN208136150U (en) | A kind of rural area disposition of solid waste device | |
| CN218295689U (en) | Boiler for corrugated board production | |
| CN113654084A (en) | Lan charcoal heating stove | |
| CN208154486U (en) | A kind of environmental protection and energy saving garbage incinerating system | |
| CN217057547U (en) | A waste heat recovery and utilization device for solid waste treatment |
Legal Events
| Date | Code | Title | Description |
|---|---|---|---|
| GR01 | Patent grant | ||
| GR01 | Patent grant | ||
| TR01 | Transfer of patent right | ||
| TR01 | Transfer of patent right |
Effective date of registration: 20210202 Address after: 457500 No.4, East Street, Chengguan Town, Puyang City, Henan Province Patentee after: Wu Jianping Address before: 450000 Dongming garden, Shangcheng Road, Zhengzhou City, Henan Province Patentee before: Liang Zhongjian |
|
| TR01 | Transfer of patent right | ||
| TR01 | Transfer of patent right |
Effective date of registration: 20210218 Address after: Room 601, southwest corner of Lidu road and Renqiu Road, Hualong District, Puyang City, Henan Province Patentee after: Henan Yukang Environmental Protection Technology Co.,Ltd. Address before: 457500 No.4, East Street, Chengguan Town, Puyang City, Henan Province Patentee before: Wu Jianping |
|
| CF01 | Termination of patent right due to non-payment of annual fee | ||
| CF01 | Termination of patent right due to non-payment of annual fee |
Granted publication date: 20200814 |
