CN211250171U - Chinese herbal medicine cutting machine - Google Patents
Chinese herbal medicine cutting machine Download PDFInfo
- Publication number
- CN211250171U CN211250171U CN201922322416.6U CN201922322416U CN211250171U CN 211250171 U CN211250171 U CN 211250171U CN 201922322416 U CN201922322416 U CN 201922322416U CN 211250171 U CN211250171 U CN 211250171U
- Authority
- CN
- China
- Prior art keywords
- wall
- fixed
- chinese herbal
- herbal medicine
- cutting machine
- Prior art date
- Legal status (The legal status is an assumption and is not a legal conclusion. Google has not performed a legal analysis and makes no representation as to the accuracy of the status listed.)
- Active
Links
Images
Landscapes
- Medical Preparation Storing Or Oral Administration Devices (AREA)
Abstract
本实用新型公开了一种中药材切药机,包括固定座,所述固定座顶部外壁的两侧均固定有固定板,且两个固定板相对的一侧外壁之间均通过轴承转动连接有螺纹丝杠,所述螺纹丝杠的外壁螺纹连接有螺纹块,且螺纹块的底部外壁固定有电动伸缩杆,所述电动伸缩杆的底部外壁固定有支撑板,且支撑板的底部外壁通过轴承转动连接有转动轴,所述转动轴的底部外壁固定有支撑座,且支撑座的底部外壁位于中间的位置固定有固定刀具。本实用新型能够防止由于活动刀具的使用时间过长变钝对中药材的切割造成影响,能够根据需要对切割的角度进行调节,能够防止切割后的中药材堆积过多对中药材的切割造成干扰,能够防止碎屑对中药材的切割造成影响。
The utility model discloses a Chinese herbal medicine cutting machine, which comprises a fixing seat, a fixing plate is fixed on both sides of the outer wall of the top of the fixing seat, and the outer walls on the opposite side of the two fixing plates are rotatably connected by bearings. A threaded lead screw, the outer wall of the threaded lead screw is threadedly connected with a threaded block, and the bottom outer wall of the threaded block is fixed with an electric telescopic rod, the bottom outer wall of the electric telescopic rod is fixed with a support plate, and the bottom outer wall of the support plate passes through the bearing A rotating shaft is rotatably connected, a support base is fixed on the bottom outer wall of the rotating shaft, and a fixed tool is fixed at a position where the bottom outer wall of the support base is located in the middle. The utility model can prevent the cutting of Chinese medicinal materials from being affected by the long use time of the movable knife, can adjust the cutting angle according to needs, and can prevent the excessive accumulation of the cut Chinese medicinal materials from disturbing the cutting of the traditional Chinese medicinal materials. , which can prevent debris from affecting the cutting of Chinese herbal medicines.
Description
技术领域technical field
本实用新型涉及中药材加工技术领域,尤其涉及一种中药材切药机。The utility model relates to the technical field of processing Chinese medicinal materials, in particular to a cutting machine for traditional Chinese medicinal materials.
背景技术Background technique
目前,中药材需要进行各种加工,使其成为片状、粉末状或是块状等形状,以便于后期的食用,使其药效发挥至极致。At present, Chinese herbal medicines need to be processed in various ways to make them into flakes, powders, or blocks, which are convenient for later consumption and maximize their efficacy.
经检索,中国专利授权号为CN207387759U的专利,公开了一种中药材切药机,包括切割台、切割机构以及第一驱动机构,切割机构可向着靠近或者远离切割台运动;切割机构可绕自身中心轴线转动;第一驱动机构用于带动切割机构向着靠近或者远离切割台运动,第一驱动机构用于带动切割机构绕自身中心轴线转动。本实用新型的中药材切药机,其切割机构可向着靠近切割台运动,从而完成中药材的切割作业,操作方便。与此同时,切割机构还可绕自身的中心轴线旋转,即可从不同的角度进行切割作业,满足不同中药材的切割要求,切割更加灵活,适用范围较广。上述专利中的一种中药材切药机存在以下不足:在对中药材进行切割时,由于刀具使用时间久了会钝,现有的装置不能够对刀具进行拆卸,从而不便于对刀具进行打磨,进而会对中药的切割造成影响。After searching, the Chinese patent authorization number is CN207387759U, which discloses a Chinese herbal medicine cutting machine, which includes a cutting table, a cutting mechanism and a first driving mechanism. The cutting mechanism can move toward or away from the cutting table; the cutting mechanism can move around itself The central axis rotates; the first driving mechanism is used for driving the cutting mechanism to move toward or away from the cutting table, and the first driving mechanism is used for driving the cutting mechanism to rotate around its own central axis. In the traditional Chinese medicinal material cutting machine of the utility model, the cutting mechanism can move toward the cutting table, thereby completing the cutting operation of the traditional Chinese medicinal material, and the operation is convenient. At the same time, the cutting mechanism can also rotate around its own central axis, so that the cutting operation can be performed from different angles to meet the cutting requirements of different Chinese herbal medicines, and the cutting is more flexible and has a wide range of applications. A Chinese herbal medicine cutting machine in the above-mentioned patent has the following disadvantages: when cutting Chinese herbal medicines, since the knife will become dull after being used for a long time, the existing device cannot disassemble the knife, so that it is inconvenient to polish the knife , which will affect the cutting of traditional Chinese medicine.
实用新型内容Utility model content
本实用新型的目的是为了解决现有技术中存在的缺点,而提出的一种中药材切药机。The purpose of the utility model is to propose a Chinese herbal medicine cutting machine in order to solve the shortcomings existing in the prior art.
为了实现上述目的,本实用新型采用了如下技术方案:In order to achieve the above-mentioned purpose, the utility model adopts the following technical solutions:
一种中药材切药机,包括固定座,所述固定座顶部外壁的两侧均固定有固定板,且两个固定板相对的一侧外壁之间均通过轴承转动连接有螺纹丝杠,所述螺纹丝杠的外壁螺纹连接有螺纹块,且螺纹块的底部外壁固定有电动伸缩杆,所述电动伸缩杆的底部外壁固定有支撑板,且支撑板的底部外壁通过轴承转动连接有转动轴,所述转动轴的底部外壁固定有支撑座,且支撑座的底部外壁位于中间的位置固定有固定刀具,所述支撑座的底部外壁开设有多个等距离分布的滑槽,且滑槽的内壁滑动连接有滑块,所述滑块的底部外壁固定有活动刀具。A Chinese herbal medicine cutting machine comprises a fixing seat, a fixing plate is fixed on both sides of the outer wall of the top of the fixing seat, and a threaded lead screw is rotatably connected between the outer walls on the opposite side of the two fixing plates through a bearing, so the The outer wall of the threaded screw is threadedly connected with a threaded block, and the bottom outer wall of the threaded block is fixed with an electric telescopic rod, the bottom outer wall of the electric telescopic rod is fixed with a support plate, and the bottom outer wall of the support plate is connected with a rotating shaft through a bearing. , the bottom outer wall of the rotating shaft is fixed with a support seat, and the bottom outer wall of the support seat is located in the middle position is fixed with a fixed tool, the bottom outer wall of the support seat is provided with a plurality of equidistantly distributed chute, and the chute A sliding block is slidably connected to the inner wall, and a movable cutter is fixed on the bottom outer wall of the sliding block.
作为本实用新型再进一步的方案:所述螺纹块外壁的两端均开有通孔,且两个通孔的内壁均插接有导向杆,导向杆的两端与固定板之间通过螺栓连接。As a further solution of the present invention: through holes are opened at both ends of the outer wall of the threaded block, and guide rods are inserted into the inner walls of the two through holes, and the two ends of the guide rod are connected with the fixing plate by bolts .
作为本实用新型再进一步的方案:所述支撑板顶部外壁的一侧固定有第一电动机,且第一电动机输出轴的一端固定有主动齿轮,转动轴的外壁固定有从动齿轮,从动齿轮与主动齿轮之间相互啮合。As a further solution of the present invention: a first motor is fixed on one side of the outer wall of the top of the support plate, a driving gear is fixed on one end of the output shaft of the first motor, a driven gear is fixed on the outer wall of the rotating shaft, and the driven gear Intermeshing with the driving gear.
作为本实用新型再进一步的方案:一个所述固定板的一侧外壁固定有第二电动机,且第二电动机输出轴的一端与螺纹丝杠之间通过螺栓连接。As a further solution of the present invention, a second motor is fixed on one side outer wall of the fixing plate, and one end of the output shaft of the second motor is connected with the threaded screw by bolts.
作为本实用新型再进一步的方案:所述支撑座的顶部外壁开有多个等距离分布的螺纹孔,且螺纹孔的内壁螺纹连接有紧固栓。As a further solution of the present invention, the outer wall of the top of the support seat is provided with a plurality of threaded holes distributed at equal distances, and the inner wall of the threaded holes is threadedly connected with fastening bolts.
作为本实用新型再进一步的方案:所述固定座的顶部外壁位于中间的位置固定有切割台。As a further solution of the present invention, a cutting table is fixed at a position where the top outer wall of the fixing seat is located in the middle.
作为本实用新型再进一步的方案:所述固定座顶部外壁的一侧开有排料口,且排料口的一侧内壁与切割台的一侧外壁位于同一平面上。As a further solution of the present invention, a discharge port is opened on one side of the outer wall of the top of the fixed seat, and the inner wall of one side of the discharge port and the outer wall of one side of the cutting table are located on the same plane.
作为本实用新型再进一步的方案:一个所述固定板的一侧外壁固定有电动推杆,且电动推杆的一侧外壁固定有推板,推板的底部外壁固定有清理刷。As a further solution of the present invention, an electric push rod is fixed on one outer wall of the fixing plate, a push plate is fixed on one outer wall of the electric push rod, and a cleaning brush is fixed on the bottom outer wall of the push plate.
本实用新型的有益效果为:The beneficial effects of the present utility model are:
1.通过设置的紧固栓、滑槽、滑块和活动刀具,使得装置能够便于对活动刀具进行拆卸,以便于对活动刀具进行打磨,防止由于活动刀具的使用时间过长变钝对中药材的切割造成影响;1. By setting the fastening bolt, chute, slider and movable knife, the device can facilitate the disassembly of the movable knife, so as to facilitate the grinding of the movable knife, and prevent the traditional Chinese medicinal material from becoming blunt due to the use of the movable knife for a long time. the impact of cutting;
2.通过设置的转动轴、从动齿轮、主动齿轮和第一电动机,能够根据需要对切割的角度进行调节,提高了装置对中药材切割的便捷性;2. Through the provided rotating shaft, driven gear, driving gear and first motor, the cutting angle can be adjusted as required, which improves the convenience of the device for cutting Chinese medicinal materials;
3.通过设置的电动推杆、推板和清理刷,能够对切割完成后的中药材进行清理,以便于对中药材进行切割,防止切割后的中药材堆积过多对中药材的切割造成干扰,通过清理刷能够对碎屑进行清理,防止碎屑对中药材的切割造成影响。3. Through the electric push rod, push plate and cleaning brush, the Chinese herbal medicines after cutting can be cleaned, so as to facilitate the cutting of the Chinese herbal medicines and prevent the excessive accumulation of the cut Chinese herbal medicines and interfere with the cutting of the Chinese herbal medicines. , The debris can be cleaned by the cleaning brush to prevent the debris from affecting the cutting of Chinese herbal medicines.
附图说明Description of drawings
图1为实施例1提出的一种中药材切药机的剖视结构示意图;Fig. 1 is the sectional structure schematic diagram of a kind of Chinese herbal medicine cutting machine proposed by
图2为实施例1提出的一种中药材切药机的局部结构示意图;Fig. 2 is the partial structure schematic diagram of a kind of Chinese herbal medicine cutting machine proposed by
图3为实施例2提出的一种中药材切药机的剖视结构示意图。FIG. 3 is a schematic cross-sectional structural diagram of a Chinese herbal medicine cutting machine proposed in
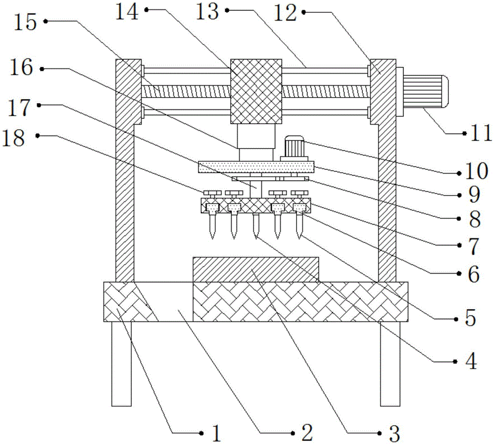
图中:1固定座、2排料口、3切割台、4固定刀具、5活动刀具、6滑块、7支撑座、8主动齿轮、9支撑板、10第一电动机、11第二电动机、12固定板、13导向杆、14螺纹块、15螺纹丝杠、16电动伸缩杆、17转动轴、18紧固栓、19电动推杆、20推板、21清理刷。In the picture: 1 fixed seat, 2 discharge port, 3 cutting table, 4 fixed tool, 5 movable tool, 6 slider, 7 support seat, 8 driving gear, 9 support plate, 10 first motor, 11 second motor, 12 fixed plate, 13 guide rod, 14 threaded block, 15 threaded lead screw, 16 electric telescopic rod, 17 rotating shaft, 18 fastening bolt, 19 electric push rod, 20 push plate, 21 cleaning brush.
具体实施方式Detailed ways
下面详细描述本专利的实施例,所述实施例的示例在附图中示出,其中自始至终相同或类似的标号表示相同或类似的元件或具有相同或类似功能的元件。下面通过参考附图描述的实施例是示例性的,仅用于解释本专利,而不能理解为对本专利的限制。Embodiments of the present patent are described in detail below, examples of which are illustrated in the accompanying drawings, wherein the same or similar reference numerals refer to the same or similar elements or elements having the same or similar functions throughout. The embodiments described below with reference to the accompanying drawings are exemplary and are only used to explain the present patent, but should not be construed as a limitation on the present patent.
在本专利的描述中,需要理解的是,术语“中心”、“上”、“下”、“前”、“后”、“左”、“右”、“竖直”、“水平”、“顶”、“底”、“内”、“外”等指示的方位或位置关系为基于附图所示的方位或位置关系,仅是为了便于描述本专利和简化描述,而不是指示或暗示所指的装置或元件必须具有特定的方位、以特定的方位构造和操作,因此不能理解为对本专利的限制。In the description of this patent, it should be understood that the terms "center", "upper", "lower", "front", "rear", "left", "right", "vertical", "horizontal", The orientation or positional relationship indicated by "top", "bottom", "inner", "outer", etc. is based on the orientation or positional relationship shown in the drawings, and is only for the convenience of describing the present patent and simplifying the description, rather than indicating or implying The device or element referred to must have, be constructed, and operate in a particular orientation and is not to be construed as a limitation of this patent.
在本专利的描述中,需要说明的是,除非另有明确的规定和限定,术语“安装”、“相连”、“连接”、“设置”应做广义理解,例如,可以是固定相连、设置,也可以是可拆卸连接、设置,或一体地连接、设置。对于本领域的普通技术人员而言,可以根据具体情况理解上述术语在本专利中的具体含义。In the description of this patent, it should be noted that, unless otherwise expressly specified and limited, the terms "installed", "connected", "connected" and "arranged" should be understood in a broad sense. , it can also be detachably connected and set, or integrally connected and set. For those of ordinary skill in the art, the specific meanings of the above terms in this patent can be understood according to specific situations.
实施例1Example 1
参照图1-2,一种中药材切药机,包括固定座1,固定座1顶部外壁的两侧均通过螺栓连接有固定板12,且两个固定板12相对的一侧外壁之间均通过轴承转动连接有螺纹丝杠15,螺纹丝杠15的外壁螺纹连接有螺纹块14,且螺纹块14的底部外壁通过螺栓连接有电动伸缩杆16,电动伸缩杆16的底部外壁通过螺栓连接有支撑板9,且支撑板9的底部外壁通过轴承转动连接有转动轴17,转动轴17的底部外壁通过螺栓连接有支撑座7,且支撑座7的底部外壁位于中间的位置通过螺栓连接有固定刀具4,支撑座7的底部外壁开设有多个等距离分布的滑槽,且滑槽的内壁滑动连接有滑块6,滑块6的底部外壁通过螺栓连接有活动刀具5。Referring to Figure 1-2, a Chinese herbal medicine cutting machine includes a
其中,螺纹块14外壁的两端均开有通孔,且两个通孔的内壁均插接有导向杆13,导向杆13的两端与固定板12之间通过螺栓连接,支撑板9顶部外壁的一侧通过螺栓连接有第一电动机10,且第一电动机10输出轴的一端通过螺栓连接有主动齿轮8,转动轴17的外壁通过螺栓连接有从动齿轮,从动齿轮与主动齿轮8之间相互啮合,一个固定板12的一侧外壁通过螺栓连接有第二电动机11,且第二电动机11输出轴的一端与螺纹丝杠15之间通过螺栓连接,支撑座7的顶部外壁开有多个等距离分布的螺纹孔,且螺纹孔的内壁螺纹连接有紧固栓18,固定座1的顶部外壁位于中间的位置通过螺栓连接有切割台3,固定座1顶部外壁的一侧开有排料口2,且排料口2的一侧内壁与切割台3的一侧外壁位于同一平面上。Wherein, both ends of the outer wall of the threaded
工作原理:使用时,将需要切割处理的中药材放置到切割台3上,放置完成后,启动第二电动机11,第二电动机11会带动螺纹丝杠15进行转动,从而使螺纹块14在导向杆13的作用下进行移动,通过电动伸缩杆16带动支撑座7向下移动,从而使固定刀具4以及活动刀具5对中药材进行切割处理,当需要对中药材的切割角度进行调节时,启动第一电动机10,第一电动机10会带动支撑座7进行旋转,从而能够换个角度对中药材进行切割处理,切割后的中药材会通过排料口2排出,当活动刀具5使用时间较长使刀口变钝时,通过拧松紧固栓18,将滑块6从滑槽的内部取出,从而将活动刀具5从装置上拆下,对活动刀具5的刀口进行打磨。Working principle: when in use, place the Chinese medicinal materials to be cut on the cutting table 3, after the placement is completed, start the
实施例2Example 2
参照图3,一种中药材切药机,本实施例相较于实施例1,一个固定板12的一侧外壁通过螺栓连接有电动推杆19,且电动推杆19的一侧外壁通过螺栓连接有推板20,推板20的底部外壁通过螺栓连接有清理刷21。Referring to FIG. 3 , a Chinese herbal medicine cutting machine, in this embodiment, compared with
工作原理:使用时,将需要切割处理的中药材放置到切割台3上,放置完成后,启动第二电动机11,第二电动机11会带动螺纹丝杠15进行转动,从而使螺纹块14在导向杆13的作用下进行移动,通过电动伸缩杆16带动支撑座7向下移动,从而使固定刀具4以及活动刀具5对中药材进行切割处理,当需要对中药材的切割角度进行调节时,启动第一电动机10,第一电动机10会带动支撑座7进行旋转,从而能够换个角度对中药材进行切割处理,当切割完成后,启动电动推杆19,电动推杆19会带动推板20进行移动,从而将切割后的中药材通过排料口2排出,当活动刀具5使用时间较长使刀口变钝时,通过拧松紧固栓18,将滑块6从滑槽的内部取出,从而将活动刀具5从装置上拆下,对活动刀具5的刀口进行打磨。Working principle: when in use, place the Chinese medicinal materials to be cut on the cutting table 3, after the placement is completed, start the
以上所述,仅为本实用新型较佳的具体实施方式,但本实用新型的保护范围并不局限于此,任何熟悉本技术领域的技术人员在本实用新型揭露的技术范围内,根据本实用新型的技术方案及其实用新型构思加以等同替换或改变,都应涵盖在本实用新型的保护范围之内。The above description is only a preferred embodiment of the present invention, but the protection scope of the present invention is not limited to this. Equivalent replacement or modification of the new technical solution and its utility model concept shall be included within the protection scope of the present utility model.
Claims (8)
Priority Applications (1)
| Application Number | Priority Date | Filing Date | Title |
|---|---|---|---|
| CN201922322416.6U CN211250171U (en) | 2019-12-23 | 2019-12-23 | Chinese herbal medicine cutting machine |
Applications Claiming Priority (1)
| Application Number | Priority Date | Filing Date | Title |
|---|---|---|---|
| CN201922322416.6U CN211250171U (en) | 2019-12-23 | 2019-12-23 | Chinese herbal medicine cutting machine |
Publications (1)
| Publication Number | Publication Date |
|---|---|
| CN211250171U true CN211250171U (en) | 2020-08-14 |
Family
ID=71989035
Family Applications (1)
| Application Number | Title | Priority Date | Filing Date |
|---|---|---|---|
| CN201922322416.6U Active CN211250171U (en) | 2019-12-23 | 2019-12-23 | Chinese herbal medicine cutting machine |
Country Status (1)
| Country | Link |
|---|---|
| CN (1) | CN211250171U (en) |
Cited By (6)
| Publication number | Priority date | Publication date | Assignee | Title |
|---|---|---|---|---|
| CN112238496A (en) * | 2020-10-16 | 2021-01-19 | 张�杰 | Plastic pipe machining device |
| CN112476593A (en) * | 2020-11-23 | 2021-03-12 | 杭州敬吉堂中药饮片有限公司 | Traditional chinese medicine shredding mechanism |
| CN112606056A (en) * | 2020-12-19 | 2021-04-06 | 郑州顺天缘食品有限公司 | Cutting equipment for forming konjak |
| CN112621831A (en) * | 2020-12-09 | 2021-04-09 | 安徽省天河食品有限责任公司 | Cake machine-shaping equipment |
| CN114558668A (en) * | 2022-03-14 | 2022-05-31 | 武汉大学 | A clinical medicine tablet grinding device |
| CN115302555A (en) * | 2022-07-18 | 2022-11-08 | 枣庄市金科化工有限公司 | A kind of starch solid glue cutting device for paper |
-
2019
- 2019-12-23 CN CN201922322416.6U patent/CN211250171U/en active Active
Cited By (7)
| Publication number | Priority date | Publication date | Assignee | Title |
|---|---|---|---|---|
| CN112238496A (en) * | 2020-10-16 | 2021-01-19 | 张�杰 | Plastic pipe machining device |
| CN112476593A (en) * | 2020-11-23 | 2021-03-12 | 杭州敬吉堂中药饮片有限公司 | Traditional chinese medicine shredding mechanism |
| CN112476593B (en) * | 2020-11-23 | 2024-04-19 | 杭州敬吉堂中药饮片有限公司 | Traditional chinese medicine shredding mechanism |
| CN112621831A (en) * | 2020-12-09 | 2021-04-09 | 安徽省天河食品有限责任公司 | Cake machine-shaping equipment |
| CN112606056A (en) * | 2020-12-19 | 2021-04-06 | 郑州顺天缘食品有限公司 | Cutting equipment for forming konjak |
| CN114558668A (en) * | 2022-03-14 | 2022-05-31 | 武汉大学 | A clinical medicine tablet grinding device |
| CN115302555A (en) * | 2022-07-18 | 2022-11-08 | 枣庄市金科化工有限公司 | A kind of starch solid glue cutting device for paper |
Similar Documents
| Publication | Publication Date | Title |
|---|---|---|
| CN211250171U (en) | Chinese herbal medicine cutting machine | |
| CN210994672U (en) | High-efficient sand block breaker | |
| CN107097277A (en) | A kind of traditional Chinese medicine circulation extraction pretreatment device | |
| CN110450016B (en) | A grinding device with chip removal structure for spring machining | |
| CN209501853U (en) | A kind of sargassum roughing filter device | |
| CN110152818B (en) | A reciprocating crushing device for construction waste | |
| CN209612880U (en) | It is a kind of to facilitate the biomass granulator for adjusting granulation size | |
| CN212732311U (en) | A breaker for chinese-medicinal material | |
| CN104397839A (en) | Device for automatically grinding and demolding peanuts | |
| CN210449327U (en) | Smash effectual and be convenient for adjust reducing mechanism for new material processing of mesh size | |
| CN220991187U (en) | Shearing device for graphene production | |
| CN210545344U (en) | Convenient medicine milling equipment for division of endocrinology of clearance | |
| CN217699476U (en) | Utilize high-efficient sand mill of centrifugal dynamic separation formula screen cloth | |
| CN204351022U (en) | One cultivates peanut pulverizes device for removing scum automatically | |
| CN212309674U (en) | Dry medicinal material breaker | |
| CN211385213U (en) | Grinder is used in biological medicine production | |
| CN212142983U (en) | Special pharmaceutical manufacturing machining high-efficient multistage formula synchronous grinder of pharmaceutical factory | |
| CN115946180A (en) | A traditional chinese medicine cutting up filling equipment for traditional chinese medicine bag | |
| CN111113721B (en) | A clean type feed back equipment for non-woven fabrics production | |
| CN211755682U (en) | High-efficient reducing mechanism of medicine | |
| CN210759097U (en) | Single-screw rod grain pumping unit | |
| CN208742726U (en) | A kind of industrial refuse processing equipment with multilayer cutterhead | |
| CN217569022U (en) | Smash effectual medicine raw materials breaker | |
| CN215029339U (en) | Domestic small-size agalloch eaglewood milling machine | |
| CN219765474U (en) | A multi-stage compound crusher |
Legal Events
| Date | Code | Title | Description |
|---|---|---|---|
| GR01 | Patent grant | ||
| GR01 | Patent grant | ||
| TR01 | Transfer of patent right |
Effective date of registration: 20251027 Address after: 236800 Anhui Province, Bozhou City, High-tech Development Zone, east side of Tangwang Avenue, south side of Ziyuan Road, resettlement and return housing community C area, building 56, room 101 Patentee after: Bozhou qishishun Information Technology Co.,Ltd. Country or region after: China Address before: 236800 Anhui Province, Bozhou City, Southern New District, Yangsheng Avenue No. 6 Patentee before: ANHUI WEIBO PHARMACEUTICAL CO.,LTD. Country or region before: China |
