CN211228815U - Town road drainage structures - Google Patents
Town road drainage structures Download PDFInfo
- Publication number
- CN211228815U CN211228815U CN201921926698.4U CN201921926698U CN211228815U CN 211228815 U CN211228815 U CN 211228815U CN 201921926698 U CN201921926698 U CN 201921926698U CN 211228815 U CN211228815 U CN 211228815U
- Authority
- CN
- China
- Prior art keywords
- protective cover
- pipe
- filter screen
- filter
- guide pipe
- Prior art date
- Legal status (The legal status is an assumption and is not a legal conclusion. Google has not performed a legal analysis and makes no representation as to the accuracy of the status listed.)
- Expired - Fee Related
Links
- 230000001681 protective effect Effects 0.000 claims abstract description 52
- XLYOFNOQVPJJNP-UHFFFAOYSA-N water Substances O XLYOFNOQVPJJNP-UHFFFAOYSA-N 0.000 claims description 28
- 238000009434 installation Methods 0.000 claims description 7
- 230000009194 climbing Effects 0.000 claims description 3
- 239000010865 sewage Substances 0.000 abstract description 27
- 230000000694 effects Effects 0.000 abstract description 6
- 238000001914 filtration Methods 0.000 description 5
- 238000000034 method Methods 0.000 description 5
- 238000010586 diagram Methods 0.000 description 3
- 230000009286 beneficial effect Effects 0.000 description 2
- 230000000903 blocking effect Effects 0.000 description 2
- 238000012986 modification Methods 0.000 description 2
- 230000004048 modification Effects 0.000 description 2
- 238000009825 accumulation Methods 0.000 description 1
- 238000004140 cleaning Methods 0.000 description 1
- 230000007812 deficiency Effects 0.000 description 1
- 230000003670 easy-to-clean Effects 0.000 description 1
Images
Landscapes
- Sewage (AREA)
Abstract
本实用新型公开了一种市政道路排水结构,包括地面,所述地面的中间部分设置有保护盖,所述保护盖上固定连接有第二过滤网,所述保护盖的下部与导流管道的上部固定连接,所述导流管道的下部两侧设置有与排水管道相互连通第一排放管和第二排放管,所述导流管道的下部设置有过滤挡块和第一过滤网,所述过滤挡块上等间距设置挡板。本实用新型设置的凹槽在不影响保护盖保护作用的前提下增加了保护盖的排水效果,设置的第二过滤网能够在污水流进导流管道之前对污水进行过滤,将污水中较大的垃圾过滤,避免垃圾将凹槽堵塞,影响排水效果,设置的过滤挡块能够第二次对污水进行过滤,将污水中的垃圾过滤留下,避免垃圾进入流水通道。
The utility model discloses a municipal road drainage structure, comprising a ground, a middle part of the ground is provided with a protection cover, a second filter screen is fixedly connected to the protection cover, and the lower part of the protection cover is connected to a diversion pipe. The upper part is fixedly connected, the two sides of the lower part of the guide pipe are provided with a first discharge pipe and a second discharge pipe that communicate with the drainage pipe, and the lower part of the guide pipe is provided with a filter block and a first filter screen. The baffles are arranged at equal intervals on the filter block. The groove provided by the utility model increases the drainage effect of the protective cover on the premise of not affecting the protective effect of the protective cover. The filter block can filter the sewage for the second time, so that the garbage in the sewage can be filtered and left, and the garbage can be prevented from entering the flowing water channel.
Description
技术领域technical field
本实用新型涉及市政排水技术领域,具体为一种市政道路排水结构。The utility model relates to the technical field of municipal drainage, in particular to a municipal road drainage structure.
背景技术Background technique
城市规划中较为重要的一项就是道路排水结构,在多雨的季节,道路的排水结构显得尤为重要,一个好的排水结构能够使道路的表面不存在积水,并且排水结构不会轻易的被树叶和淤泥堵塞,下雨时不会有积水影响行人通行。One of the more important aspects of urban planning is the road drainage structure. In the rainy season, the road drainage structure is particularly important. A good drainage structure can prevent the surface of the road from accumulating water, and the drainage structure will not be easily affected by leaves. And silt blockage, there will be no stagnant water to affect pedestrian traffic when it rains.
如申请号为CN201820975186.6一种市政道路排水结构,通过排水路缘的设置,能够将机动车路面上的积水及时排入市政管道中,实现基本的道路排水功能;通过活动路缘石的设置,能够使工作人员更加方便地清理排水口的堵塞物,提高排水路缘的排水效率并降低工作人员的清理难度。For example, the application number is CN201820975186.6 for a municipal road drainage structure, through the setting of the drainage curb, the accumulated water on the road surface of the motor vehicle can be drained into the municipal pipeline in time, so as to realize the basic road drainage function; , which can make it easier for the staff to clear the blockage of the drainage outlet, improve the drainage efficiency of the drainage curb and reduce the cleaning difficulty of the staff.
现有的排水结构在使用存在,排水结构对树叶的过滤和淤泥的过滤效果不够彻底,排水结构容易被树叶堵塞影响排水效率,在大雨时容易使地面存在大量的积水,因此有必要对现有技术进行改进,以解决上述问题。The existing drainage structure is still in use, and the drainage structure is not completely effective in filtering leaves and silt. The drainage structure is easily blocked by leaves, which affects the drainage efficiency. There are improvements in technology to solve the above problems.
实用新型内容Utility model content
(一)解决的技术问题(1) Technical problems solved
针对现有技术的不足,本实用新型提供了一种市政道路排水结构,解决了排水结构对树叶的过滤和淤泥的过滤效果不够彻底,排水结构容易被树叶堵塞影响排水效率的问题。Aiming at the deficiencies of the prior art, the utility model provides a municipal road drainage structure, which solves the problems that the drainage structure does not completely filter leaves and silt, and the drainage structure is easily blocked by leaves and affects drainage efficiency.
(二)技术方案(2) Technical solutions
为实现上述目的,本实用新型提供如下技术方案:一种市政道路排水结构,包括地面,所述地面的中间部分设置有保护盖,所述保护盖上固定连接有第二过滤网,且保护盖的下部开设有凹槽,所述保护盖的下部与导流管道的上部固定连接,所述导流管道的下部两侧设置有与排水管道相互连通第一排放管和第二排放管,且导流管道的侧壁设置有爬梯,所述导流管道的下部设置有过滤挡块和第一过滤网,所述过滤挡块上等间距设置挡板,所述第一过滤网的边缘部分与固定块的内壁焊接连接。In order to achieve the above purpose, the utility model provides the following technical solutions: a municipal road drainage structure, comprising a ground, the middle part of the ground is provided with a protection cover, the protection cover is fixedly connected with a second filter screen, and the protection cover The lower part of the protective cover is provided with a groove, the lower part of the protective cover is fixedly connected with the upper part of the diversion pipe, and the two sides of the lower part of the diversion pipe are provided with a first discharge pipe and a second discharge pipe which are connected with the drainage pipe, and the guide pipe is connected with each other. The side wall of the flow pipe is provided with a climbing ladder, the lower part of the diversion pipe is provided with a filter block and a first filter screen, baffles are arranged at equal intervals on the filter block, and the edge part of the first filter screen is fixed with The inner walls of the blocks are welded together.
优选的,所述保护盖的上表面与地面的上表面齐平,所述保护盖与地面之间开设有流水口,所述流水口位于凹槽外围,所述流水口的高度与凹槽的高度相同。Preferably, the upper surface of the protective cover is flush with the upper surface of the ground, a water outlet is opened between the protective cover and the ground, the water outlet is located at the periphery of the groove, and the height of the water outlet is the same as the height of the groove. same height.
优选的,所述保护盖内部对应第二过滤网的位置处设置有流水槽,所述保护盖内部设置的流水槽与凹槽相互连通,所述保护盖下部的外经大于导流管道的内径。Preferably, a water flow groove is provided inside the protective cover at a position corresponding to the second filter screen, the water flow groove provided inside the protective cover communicates with the groove, and the outer diameter of the lower part of the protective cover is larger than the inner diameter of the diversion pipe .
优选的,所述导流管道下部通过流水通道分别与第一排放管和第二排放管相互连通,所述第一过滤网水平设置在导流管道下部流水通道与第一排放管连通部位处,所述过滤挡块竖直设置在导流管道和导流管道下部流水通道连通部位处。Preferably, the lower part of the guide pipe is communicated with the first discharge pipe and the second discharge pipe respectively through the water flow channel, and the first filter screen is horizontally arranged at the connection part between the flow water channel and the first discharge pipe in the lower part of the guide pipe, The filter block is vertically arranged at the connecting part of the diversion pipe and the lower part of the diversion pipe and the water passage.
优选的,所述第一过滤网的网孔小于第二过滤网的网孔,所述过滤挡块上的挡板倾斜设置,所述挡板靠近导流管道中间部位的一侧低于挡板远离导流管道中间部位的一侧。Preferably, the mesh holes of the first filter screen are smaller than the mesh holes of the second filter screen, the baffle plate on the filter block is arranged obliquely, and the side of the baffle plate close to the middle part of the guide pipe is lower than the baffle plate The side away from the middle of the diversion duct.
优选的,所述导流管道下部的流水通道、过滤挡块和第一过滤网均设置有两个,且导流管道下部的流水通道、过滤挡块和第一过滤网一一对应设置,所述凹槽设置有四个,且凹槽呈环形阵列在保护盖的下部。Preferably, there are two flow channels, filter blocks and first filter screens in the lower part of the guide pipe, and the flow channels, filter blocks and the first filter screen at the lower part of the guide pipe are arranged in one-to-one correspondence, so The grooves are provided with four, and the grooves are arranged in an annular array at the lower part of the protective cover.
优选的,所述导流管道的下部侧壁对应第一过滤网的部位处均开设有安装槽,且导流管道下部侧壁上开设的安装槽与固定块相互配合,所述爬梯的上部与保护盖的下部存在间隙。Preferably, installation grooves are provided at the positions of the lower side wall of the diversion duct corresponding to the first filter screen, and the installation grooves set on the lower side wall of the diversion duct cooperate with the fixing block, and the upper part of the ladder is connected to the fixing block. There is a gap in the lower part of the protective cover.
(三)有益效果(3) Beneficial effects
本实用新型提供了一种市政道路排水结构,具备以下有益效果:The utility model provides a municipal road drainage structure, which has the following beneficial effects:
本实用新型设置的凹槽在不影响保护盖保护作用的前提下增加了保护盖的排水效果,设置的第二过滤网能够在污水流进导流管道之前对污水进行过滤,将污水中大的垃圾过滤,避免垃圾将凹槽堵塞,影响排水效果,设置的过滤挡块能够第二次对污水进行过滤,将污水中的垃圾过滤留下,避免较大的垃圾进入流水通道,设置的第一过滤网对污水中的垃圾再次过滤,将较小的垃圾阻挡在流水通道中,经过三次过滤的污水中的垃圾大大减少,不具有阻塞排水管道的隐患,垃圾被保留在导流管道的底部,方便工作人员的清理。The groove provided by the utility model increases the drainage effect of the protective cover on the premise of not affecting the protective effect of the protective cover, and the second filter screen provided can filter the sewage before the sewage flows into the diversion pipeline, and remove the large amount of the sewage. Garbage filtering can prevent garbage from blocking the groove and affecting the drainage effect. The set filter block can filter the sewage for the second time, filter the garbage in the sewage, and prevent the larger garbage from entering the flowing water channel. The filter screen filters the garbage in the sewage again, and blocks the smaller garbage in the flowing water channel. The garbage in the sewage after three times of filtration is greatly reduced, and there is no hidden danger of blocking the drainage pipe. The garbage is kept at the bottom of the diversion pipe. Easy to clean up by staff.
附图说明Description of drawings
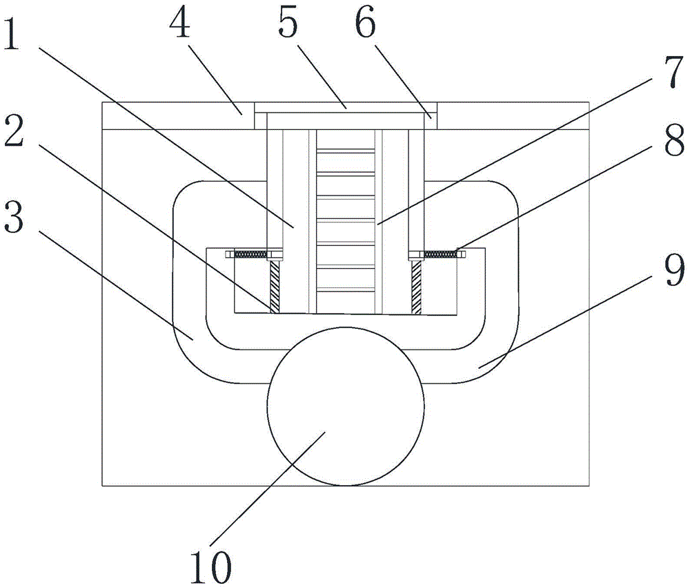
图1为本实用新型的结构示意图;Fig. 1 is the structural representation of the utility model;
图2为本实用新型图1中保护盖结构示意图;FIG. 2 is a schematic structural diagram of the protective cover in FIG. 1 of the present utility model;
图3为本实用新型图1中过滤挡块结构示意图;3 is a schematic structural diagram of the filter block in FIG. 1 of the present utility model;
图4为本实用新型图1中第一过滤网结构示意图。FIG. 4 is a schematic structural diagram of the first filter screen in FIG. 1 of the present invention.
图中附图标记为:1、导流管道;2、过滤挡块;3、第一排放管;4、地面;5、保护盖;6、流水口;7、爬梯;8、第一过滤网;9、第二排放管;10、排水管道;11、第二过滤网;12、凹槽;13、挡板;14、固定块。The reference signs in the figure are: 1, diversion pipe; 2, filter block; 3, first discharge pipe; 4, ground; 5, protective cover; 6, water outlet; 7, ladder; 8,
具体实施方式Detailed ways
下面将结合本实用新型实施例中的附图,对本实用新型实施例中的技术方案进行清楚、完整地描述,显然,所描述的实施例仅仅是本实用新型一部分实施例,而不是全部的实施例。基于本实用新型中的实施例,本领域普通技术人员在没有做出创造性劳动前提下所获得的所有其他实施例,都属于本实用新型保护的范围。The technical solutions in the embodiments of the present utility model will be clearly and completely described below with reference to the accompanying drawings in the embodiments of the present utility model. Obviously, the described embodiments are only a part of the embodiments of the present utility model, rather than all the implementations. example. Based on the embodiments of the present invention, all other embodiments obtained by those of ordinary skill in the art without creative work fall within the protection scope of the present invention.
请参阅图1-4所示,本实用新型提供的一种实施例;一种市政道路排水结构,包括地面4,通过在地面4的中间部分设置有保护盖5,保护盖5能够防止行人掉进导流管道1中,方便车辆顺利通行,通过在保护盖5上固定连接有第二过滤网11,对污水中大垃圾进行过滤,防止污水中大垃圾堵塞凹槽12,且保护盖5的下部开设有凹槽12,凹槽12增加了保护盖5的排水效果,通过在保护盖5的下部与导流管道1的上部固定连接,在行人踩踏保护盖5时,保护盖5不会发生晃动,通过在导流管道1的下部两侧设置有与排水管道10相互连通第一排放管3和第二排放管9,污水经过过滤后,通过第一排放管3和第二排放管9排放到排水管道10中,且导流管道1的侧壁设置有爬梯7,便于工作人员进入导流管道1的底部对过滤的垃圾进行清理,保证排水结构的畅通,通过在导流管道1的下部设置有过滤挡块2和第一过滤网8,对污水中的垃圾进行再次过滤,阻止垃圾进入排水管道10,通过在过滤挡块2上等间距设置挡板13,将污水中较大垃圾阻挡在导流管道1的底部,通过在第一过滤网8的边缘部分与固定块14的内壁焊接连接,便于安装第一过滤网8,同时固定块14能够对第一过滤网8进行保护。Please refer to FIGS. 1-4, an embodiment provided by the present utility model; a municipal road drainage structure, including a
进一步,保护盖5的上表面与地面4的上表面齐平,保护盖5与地面4之间开设有流水口6,流水口6位于凹槽12外围,流水口6的高度与凹槽12的高度相同,保护盖5的下部搭接在流水口6的下部,便于保护盖5边缘部位渗入的污水通过凹槽12流进导流管道1进行排放。Further, the upper surface of the
进一步,保护盖5内部对应第二过滤网11的位置处设置有流水槽,保护盖5内部设置的流水槽与凹槽12相互连通,保护盖5下部的外经大于导流管道1的内径,污水经过第二过滤网11过滤后通过保护盖5中设置的流水槽进入凹槽12中,经凹槽12流入导流管道1中。Further, a water trough is provided inside the
进一步,导流管道1下部通过流水通道分别与第一排放管3和第二排放管9相互连通,第一过滤网8水平设置在导流管道1下部流水通道与第一排放管3连通部位处,过滤挡块2竖直设置在导流管道1和导流管道1下部流水通道连通部位处,导流管道1下部的流水通道改变了水流方向,便于设置的过滤挡块2和第一过滤网8将垃圾阻隔在导流管道1底部。Further, the lower part of the diversion pipe 1 is communicated with the
进一步,第一过滤网8的网孔小于第二过滤网11的网孔,过滤挡块2上的挡板13倾斜设置,挡板13靠近导流管道1中间部位的一侧低于挡板13远离导流管道1中间部位的一侧,第二过滤网11、过滤挡块2和第一过滤网8的过滤效果依次增加,将垃圾按照大小依次过滤,使得过滤挡块2和第一过滤网8和第二过滤网11不易堵塞。Further, the mesh hole of the
进一步,导流管道1下部的流水通道、过滤挡块2和第一过滤网8均设置有两个,且导流管道1下部的流水通道、过滤挡块2和第一过滤网8一一对应设置,凹槽12设置有四个,且凹槽12呈环形阵列在保护盖5的下部,污水在进入第一排放管3和第二排放管9之前都被过滤,设置两个提高了污水排放的效果,在大雨时污水不会因来不及排放导致地面4存在积水。Further, there are two flow channels,
进一步,导流管道1的下部侧壁对应第一过滤网8的部位处均开设有安装槽,且导流管道1下部侧壁上开设的安装槽与固定块14相互配合,爬梯7的上部与保护盖5的下部存在间隙,爬梯7的上部与保护盖5之间的间隙可避免放置保护盖5时压到爬梯7上部造成爬梯7的损坏,同时保护盖5能够平稳放置。Further, the lower side wall of the diversion duct 1 is provided with installation grooves at the positions corresponding to the
工作原理:排水时,污水流到保护盖5的上表面,经过第二过滤网11将污水中的大垃圾过滤后,污水通过保护盖5内部设置的流水槽经凹槽12流进导流管道1中,污水到达导流管道1底部,经过过滤挡块2再次过滤,污水中较大垃圾被挡板13阻挡在导流管道1的底部,污水流到第一过滤网8位置处,进行第三次过滤,污水中较小的垃圾被阻挡在导流管道1下部设置的流水通道中,污水通过第一排放管3和第二排放管9进入排水管道10中,最后由排水管道10顺利排放。Working principle: When draining water, the sewage flows to the upper surface of the
需要说明的是,在本文中,诸如第一和第二等之类的关系术语仅仅用来将一个实体或者操作与另一个实体或操作区分开来,而不一定要求或者暗示这些实体或操作之间存在任何这种实际的关系或者顺序。而且,术语“包括”、“包含”或者其任何其他变体意在涵盖非排他性的包含,从而使得包括一系列要素的过程、方法、物品或者设备不仅包括那些要素,而且还包括没有明确列出的其他要素,或者是还包括为这种过程、方法、物品或者设备所固有的要素。It should be noted that, in this document, relational terms such as first and second are used only to distinguish one entity or operation from another entity or operation, and do not necessarily require or imply any relationship between these entities or operations. any such actual relationship or sequence exists. Moreover, the terms "comprising", "comprising" or any other variation thereof are intended to encompass non-exclusive inclusion such that a process, method, article or device comprising a list of elements includes not only those elements, but also includes not explicitly listed or other elements inherent to such a process, method, article or apparatus.
尽管已经示出和描述了本实用新型的实施例,对于本领域的普通技术人员而言,可以理解在不脱离本实用新型的原理和精神的情况下可以对这些实施例进行多种变化、修改、替换和变型,本实用新型的范围由所附权利要求及其等同物限定。Although the embodiments of the present invention have been shown and described, it will be understood by those skilled in the art that various changes and modifications can be made to these embodiments without departing from the principles and spirit of the present invention , alternatives and modifications, the scope of the present invention is defined by the appended claims and their equivalents.
Claims (7)
Priority Applications (1)
| Application Number | Priority Date | Filing Date | Title |
|---|---|---|---|
| CN201921926698.4U CN211228815U (en) | 2019-11-08 | 2019-11-08 | Town road drainage structures |
Applications Claiming Priority (1)
| Application Number | Priority Date | Filing Date | Title |
|---|---|---|---|
| CN201921926698.4U CN211228815U (en) | 2019-11-08 | 2019-11-08 | Town road drainage structures |
Publications (1)
| Publication Number | Publication Date |
|---|---|
| CN211228815U true CN211228815U (en) | 2020-08-11 |
Family
ID=71917401
Family Applications (1)
| Application Number | Title | Priority Date | Filing Date |
|---|---|---|---|
| CN201921926698.4U Expired - Fee Related CN211228815U (en) | 2019-11-08 | 2019-11-08 | Town road drainage structures |
Country Status (1)
| Country | Link |
|---|---|
| CN (1) | CN211228815U (en) |
Cited By (1)
| Publication number | Priority date | Publication date | Assignee | Title |
|---|---|---|---|---|
| CN113718852A (en) * | 2021-07-21 | 2021-11-30 | 北京良乡蓝鑫水利工程设计有限公司 | Inspection well waterproof flow guide device and inspection well |
-
2019
- 2019-11-08 CN CN201921926698.4U patent/CN211228815U/en not_active Expired - Fee Related
Cited By (1)
| Publication number | Priority date | Publication date | Assignee | Title |
|---|---|---|---|---|
| CN113718852A (en) * | 2021-07-21 | 2021-11-30 | 北京良乡蓝鑫水利工程设计有限公司 | Inspection well waterproof flow guide device and inspection well |
Similar Documents
| Publication | Publication Date | Title |
|---|---|---|
| CN103548601B (en) | Tree pool and method for filtering runoff rainwater through tree pool | |
| CN105401649B (en) | A kind of rainwater water inlet for early-stage rainwater filtering blocks dirty sieve | |
| CN209457129U (en) | A self-closing rainwater outlet that is easy to clean | |
| CN110130469A (en) | A kind of environment-friendly multi-stage filtering inlet for stom water integrated apparatus | |
| CN111075005A (en) | Town road drainage system | |
| CN109372088A (en) | An easy-to-clean self-sealing rainwater gully | |
| CN110565783A (en) | Centrifugal type anti-blocking rainwater inlet | |
| CN204510423U (en) | A kind of foldable roof drain pollutant interception | |
| CN203307872U (en) | Rainwater collecting, purifying and recycling integrated system for residential communities | |
| CN105544345B (en) | A kind of rainwater on road surface Collection utilization system | |
| CN211228815U (en) | Town road drainage structures | |
| CN205206020U (en) | Be used for filterable rainwater water inlet of initial stage rainwater to block dirty sieve | |
| CN211228807U (en) | A new centrifugal type anti-clogging rainwater outlet | |
| CN211447209U (en) | Building rain and sewage flow dividing device | |
| CN219450422U (en) | Bridge with rainwater drainage function | |
| CN203905158U (en) | Anti-clogging gutter inlet device | |
| CN103774742B (en) | A drainage pipe grille device | |
| CN206635911U (en) | Rain inlet structure with ponding function inside discharge subgrade and pavement | |
| CN206902875U (en) | Multifunctional rainwater receiving well | |
| CN207314489U (en) | A kind of catch-basin of environment-protecting clean | |
| CN212689073U (en) | Green energy-saving building rainwater collecting and processing system | |
| CN203795573U (en) | Drainage pipeline grid device | |
| CN211523443U (en) | Drainage device is used in protection of sewer well | |
| CN207017402U (en) | Buried rainwater separate system | |
| CN217974724U (en) | Gutter inlet cut-off device and gutter inlet drainage facility applying same |
Legal Events
| Date | Code | Title | Description |
|---|---|---|---|
| GR01 | Patent grant | ||
| GR01 | Patent grant | ||
| CF01 | Termination of patent right due to non-payment of annual fee |
Granted publication date: 20200811 |
|
| CF01 | Termination of patent right due to non-payment of annual fee |
