CN211224102U - An automatic bag feeding device for powder product packaging line - Google Patents
An automatic bag feeding device for powder product packaging line Download PDFInfo
- Publication number
- CN211224102U CN211224102U CN201922150905.8U CN201922150905U CN211224102U CN 211224102 U CN211224102 U CN 211224102U CN 201922150905 U CN201922150905 U CN 201922150905U CN 211224102 U CN211224102 U CN 211224102U
- Authority
- CN
- China
- Prior art keywords
- cylinder
- bag
- fixedly connected
- wall
- bag feeding
- Prior art date
- Legal status (The legal status is an assumption and is not a legal conclusion. Google has not performed a legal analysis and makes no representation as to the accuracy of the status listed.)
- Expired - Fee Related
Links
- 238000004806 packaging method and process Methods 0.000 title claims abstract description 43
- 239000000843 powder Substances 0.000 title claims abstract description 24
- 238000001179 sorption measurement Methods 0.000 claims description 7
- 238000004519 manufacturing process Methods 0.000 abstract description 3
- 238000010586 diagram Methods 0.000 description 3
- 230000009286 beneficial effect Effects 0.000 description 1
- 239000004566 building material Substances 0.000 description 1
- 238000005516 engineering process Methods 0.000 description 1
- 239000010419 fine particle Substances 0.000 description 1
- 238000005272 metallurgy Methods 0.000 description 1
- 238000000034 method Methods 0.000 description 1
- 238000012986 modification Methods 0.000 description 1
- 230000004048 modification Effects 0.000 description 1
- 239000002245 particle Substances 0.000 description 1
- 239000002994 raw material Substances 0.000 description 1
- 239000000126 substance Substances 0.000 description 1
Images
Landscapes
- Supplying Of Containers To The Packaging Station (AREA)
Abstract
本实用新型公开了一种粉末产品包装流水线用自动给袋装置,包括底板,所述底板的顶部对称固定连接有两个第一框架,两个所述第一框架相对的外壁由上至下共同固定连接有连接板与第二框架,所述所述第二框架的底部设置有送袋机构,所述底板的顶部位于送袋机构的下方设置有包装袋,两个所述第一框架的顶部通过轴承共同转动连接有转轴,所述转轴外壁中心处固定套接有承载套;本实用新型通过设置送袋机构、撑袋机构、转袋机构等,取代人工实现对包装袋的拿取、撑开并套于灌装管外后交于灌装管两侧的夹具进行夹紧,工作可稳定可靠,降低了工人劳动强度的同时,能有效提高粉末包装流水线的生产效率。
The utility model discloses an automatic bag feeding device for a powder product packaging line. A connecting plate and a second frame are fixedly connected, the bottom of the second frame is provided with a bag feeding mechanism, the top of the bottom plate is located below the bag feeding mechanism and a packaging bag is provided, and the tops of the two first frames are provided with a bag feeding mechanism. A rotating shaft is jointly rotatably connected by the bearings, and a bearing sleeve is fixedly sleeved at the center of the outer wall of the rotating shaft; the utility model replaces the manual realization of taking and supporting the packaging bags by setting a bag feeding mechanism, a bag holding mechanism, a bag rotating mechanism, etc. It is opened and sheathed outside the filling tube and then handed over to the clamps on both sides of the filling tube for clamping, which can work stably and reliably, reduce the labor intensity of workers, and effectively improve the production efficiency of the powder packaging line.
Description
技术领域technical field
本实用新型涉及一种自动给袋装置,具体是一种粉末产品包装流水线用自动给袋装置。The utility model relates to an automatic bag feeding device, in particular to an automatic bag feeding device for a powder product packaging assembly line.
背景技术Background technique
粉末,及极细的颗粒,相比于颗粒、块料等粉末的比表面积更大,可更好的进行加热、进行化学反应等,因此在建材、冶金、食品、化工等各行各业的生产原材料均采用粉末的形式进行包装运输。Powders and very fine particles have a larger specific surface area than powders such as particles and blocks, and can be better heated and chemically reacted, so they are used in building materials, metallurgy, food, chemical and other industries. The raw materials are packed and transported in the form of powder.
粉末通常使用薄膜袋进行包装,以保证包装后的粉末不会发生泄漏,现有的粉末包装流水线大都仍采用人工撑开包装袋后,将包装袋固定于灌装管两侧的夹具上以进行灌装打包,工人的劳动强度高,且效率低下,出错率高,不利于提高生产效率。Powders are usually packaged in film bags to ensure that the powder after packaging will not leak. Most of the existing powder packaging lines still use manual opening of the packaging bags, and then fix the packaging bags on the fixtures on both sides of the filling tube. Filling and packaging, the labor intensity of workers is high, and the efficiency is low, and the error rate is high, which is not conducive to improving production efficiency.
实用新型内容Utility model content
本实用新型的目的在于提供一种粉末产品包装流水线用自动给袋装置,以解决上述背景技术中提出的问题。The purpose of this utility model is to provide an automatic bag feeding device for a powder product packaging line, so as to solve the problems raised in the above-mentioned background technology.
为实现上述目的,本实用新型提供如下技术方案:To achieve the above object, the utility model provides the following technical solutions:
一种粉末产品包装流水线用自动给袋装置,包括底板,所述底板的顶部对称固定连接有两个第一框架,两个所述第一框架相对的外壁由上至下共同固定连接有连接板与第二框架,所述所述第二框架的底部设置有送袋机构,所述底板的顶部位于送袋机构的下方设置有包装袋,两个所述第一框架的顶部通过轴承共同转动连接有转轴,所述转轴外壁中心处固定套接有承载套,所述承载套的外壁固定连接有安装板,所述安装板的外壁设置有撑袋机构,所述连接板的顶部设置有转袋机构。An automatic bag feeding device for a powder product packaging line, comprising a bottom plate, the top of the bottom plate is symmetrically and fixedly connected with two first frames, and the opposite outer walls of the two first frames are jointly fixed and connected with connecting plates from top to bottom With the second frame, the bottom of the second frame is provided with a bag feeding mechanism, the top of the bottom plate is located below the bag feeding mechanism and a packaging bag is provided, and the tops of the two first frames are jointly rotatably connected by bearings There is a rotating shaft, the center of the outer wall of the rotating shaft is fixedly sleeved with a bearing sleeve, the outer wall of the bearing sleeve is fixedly connected with a mounting plate, the outer wall of the mounting plate is provided with a bag-supporting mechanism, and the top of the connecting plate is provided with a rotating bag mechanism.
作为本实用新型进一步的方案:所述送袋机构包括电动缸,所述电动缸的外壁与第二框架的底部固定连接,所述电动缸的活动杆端固定连接有滑座,所述滑座与第二框架滑动连接,所述滑座的外壁固定连接有第一气缸,所述第一气缸的活动杆端固定连接有第一吸附板,所述第一吸附板的底部均匀设置有多个第一吸盘。As a further solution of the present invention: the bag feeding mechanism includes an electric cylinder, the outer wall of the electric cylinder is fixedly connected with the bottom of the second frame, the movable rod end of the electric cylinder is fixedly connected with a sliding seat, the sliding seat It is slidably connected with the second frame, the outer wall of the sliding seat is fixedly connected with a first cylinder, the movable rod end of the first cylinder is fixedly connected with a first adsorption plate, and the bottom of the first adsorption plate is evenly provided with a plurality of First sucker.
作为本实用新型进一步的方案:所述撑袋机构包括第二气缸与两个第三气缸,所述第二气缸、第三气缸的外壁均与安装板的外壁固定连接,两个所述第三气缸对称分布于第二气缸的两侧,所述第二气缸的活动杆端固定连接有支撑板,所述支撑板的底部对称固定连接有两个连接杆,所述连接杆呈L形,所述连接杆的外壁设置有第三吸盘,两个所述第三气缸的活动杆端贯穿支撑板后固定连接有第二吸附板,所述第二吸附板的底部对称设置有两个第二吸盘。As a further solution of the present invention: the bag-pulling mechanism includes a second air cylinder and two third air cylinders, the outer walls of the second air cylinder and the third air cylinder are fixedly connected with the outer wall of the mounting plate, and the two third air cylinders are fixedly connected to the outer wall of the mounting plate. The cylinders are symmetrically distributed on both sides of the second cylinder, the movable rod end of the second cylinder is fixedly connected with a support plate, and the bottom of the support plate is symmetrically and fixedly connected with two connecting rods, the connecting rods are L-shaped, so The outer wall of the connecting rod is provided with a third suction cup, the movable rod ends of the two third cylinders penetrate the support plate and are fixedly connected with a second suction plate, and the bottom of the second suction plate is symmetrically arranged with two second suction cups .
作为本实用新型进一步的方案:所述第二吸盘位于对应的第三吸盘的正上方。As a further solution of the present invention, the second suction cup is located just above the corresponding third suction cup.
作为本实用新型进一步的方案:所述转袋机构包括第四气缸、铰接件、曲柄套,所述第四气缸的缸体尾端与铰接件固定连接,所述铰接件与连接板的顶部固定连接,所述第四气缸的活动杆端与曲柄套铰接,所述曲柄套固定套接于转轴的外壁处As a further solution of the present invention, the bag turning mechanism includes a fourth cylinder, a hinge, and a crank cover, the tail end of the fourth cylinder is fixedly connected to the hinge, and the hinge is fixed to the top of the connecting plate. connection, the movable rod end of the fourth cylinder is hinged with the crank sleeve, and the crank sleeve is fixedly sleeved at the outer wall of the rotating shaft
作为本实用新型再进一步的方案:所述连接板的顶部位于承载套的一侧固定连接有限位杆。As a further solution of the present invention, the top of the connecting plate is located on one side of the bearing sleeve and is fixedly connected to the limiting rod.
与现有技术相比,本实用新型的有益效果是:Compared with the prior art, the beneficial effects of the present utility model are:
本实用新型通过设置送袋机构、撑袋机构、转袋机构等,取代人工实现对包装袋的拿取、撑开并套于灌装管外后交于灌装管两侧的夹具进行夹紧,工作可稳定可靠,降低了工人劳动强度的同时,能有效提高粉末包装流水线的生产效率。The utility model is provided with a bag feeding mechanism, a bag holding mechanism, a bag turning mechanism, etc., which replaces the manual realization of picking up the packaging bag, opening it, wrapping it outside the filling pipe, and then handing it over to the clamps on both sides of the filling pipe for clamping. , the work can be stable and reliable, while reducing the labor intensity of workers, it can effectively improve the production efficiency of the powder packaging line.
附图说明Description of drawings
图1为一种粉末产品包装流水线用自动给袋装置的结构示意图。FIG. 1 is a schematic structural diagram of an automatic bag feeding device for a powder product packaging line.
图2为一种粉末产品包装流水线用自动给袋装置中撑袋机构的结构示意图。FIG. 2 is a schematic structural diagram of a bag holding mechanism in an automatic bag feeding device for a powder product packaging line.
图3为一种粉末产品包装流水线用自动给袋装置中转袋机构的结构示意图。3 is a schematic structural diagram of a transfer bag mechanism of an automatic bag feeding device for a powder product packaging line.
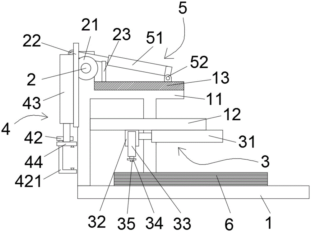
其中,1、底板;11、第一框架;12、第二框架;13、连接板;2、转轴;21、承载套;22、安装板;23、限位杆;3、送袋机构;31、电动缸;32、滑座;33、第一气缸;34、第一吸附板;35、第一吸盘;4、撑袋机构;41、第二气缸;42、支撑板;421、连接杆;422、第三吸盘;43、第三气缸;44、第二吸附板;441、第二吸盘;5、转袋机构;51、第四气缸;52、铰接件;53、曲柄套;6、包装袋。1. Bottom plate; 11. First frame; 12. Second frame; 13. Connecting plate; 2. Rotating shaft; 21. Bearing sleeve; 22. Mounting plate; 32, the sliding seat; 33, the first cylinder; 34, the first suction plate; 35, the first suction cup; 4, the bag-supporting mechanism; 41, the second cylinder; 42, the support plate; 421, the connecting rod; 422, the third suction cup; 43, the third cylinder; 44, the second suction plate; 441, the second suction cup; 5, the bag turning mechanism; 51, the fourth cylinder; 52, the hinge part; 53, the crank cover; 6, the packaging bag.
具体实施方式Detailed ways
下面将结合本实用新型实施例中的附图,对本实用新型实施例中的技术方案进行清楚、完整地描述,显然,所描述的实施例仅仅是本实用新型一部分实施例,而不是全部的实施例。基于本实用新型中的实施例,本领域普通技术人员在没有做出创造性劳动前提下所获得的所有其他实施例,都属于本实用新型保护的范围。The technical solutions in the embodiments of the present utility model will be clearly and completely described below with reference to the accompanying drawings in the embodiments of the present utility model. Obviously, the described embodiments are only a part of the embodiments of the present utility model, rather than all the implementations. example. Based on the embodiments of the present invention, all other embodiments obtained by those of ordinary skill in the art without creative work fall within the protection scope of the present invention.
请参阅图1~3,本实用新型实施例中,一种粉末产品包装流水线用自动给袋装置,包括底板1,底板1的顶部对称固定连接有两个第一框架11,两个第一框架11相对的外壁由上至下共同固定连接有连接板13与第二框架12,第二框架12的底部设置有送袋机构3,底板1的顶部位于送袋机构3的下方设置有包装袋6,两个第一框架11的顶部通过轴承共同转动连接有转轴2,转轴2外壁中心处固定套接有承载套21,承载套21的外壁固定连接有安装板22,安装板22的外壁设置有撑袋机构4,连接板13的顶部设置有转袋机构5。Please refer to FIGS. 1 to 3. In the embodiment of the present invention, an automatic bag feeding device for a powder product packaging line includes a
送袋机构3包括电动缸31,电动缸31的外壁与第二框架12的底部固定连接,电动缸31的活动杆端固定连接有滑座32,滑座32与第二框架12滑动连接,滑座32的外壁固定连接有第一气缸33,第一气缸33的活动杆端固定连接有第一吸附板34,第一吸附板34的底部均匀设置有多个第一吸盘35。The
多个包装袋6整齐的堆垛于第一吸附板34的正下方,且包装袋6的开口端朝向撑袋机构4方向,多个第一吸盘35位于包装袋6开口端的一侧。The plurality of
撑袋机构4包括第二气缸41与两个第三气缸43,第二气缸41、第三气缸43的外壁均与安装板22的外壁固定连接,两个第三气缸43对称分布于第二气缸41的两侧,第二气缸41的活动杆端固定连接有支撑板42,支撑板42的底部对称固定连接有两个连接杆421,连接杆421呈L形,连接杆421的外壁设置有第三吸盘422,两个第三气缸43的活动杆端贯穿支撑板42后固定连接有第二吸附板44,第二吸附板44的底部对称设置有两个第二吸盘441。The
第二吸盘441位于对应的第三吸盘422的正上方。The
第一吸盘35、第二吸盘441、第三吸盘422均通过导气软管与真空泵连接。The
转袋机构5包括第四气缸51、铰接件52、曲柄套53,第四气缸51的缸体尾端与铰接件52固定连接,铰接件52与连接板13的顶部固定连接,第四气缸51的活动杆端与曲柄套53铰接,曲柄套53固定套接于转轴2的外壁处,通过第四气缸51驱动曲柄套53可带动转轴2转动。The
连接板13的顶部位于承载套21的一侧固定连接有限位杆23,限位杆23在转轴2带动承载套21及安装板22转动时,可对安装板22进行限位,将安装板22的转动角度限制为90°。The top of the connecting
本实用新型的工作原理是:The working principle of the utility model is:
当粉末产品包装流水线开始工作时,第一气缸33驱动第一吸附板34向下移动,通过多个第一吸盘35对最顶层的包装袋6进行吸附,之后第一气缸33复位,电动缸31启动,将滑座32向安装板22方向推动,使的第一吸盘35对包装袋6进行提升后,将包装袋6的开口端放置于第二吸盘441与第三吸盘422之间,此时启动第三气缸43,使第二吸附板44带动第二吸盘441向下移动,直至第二吸盘441与第三吸盘422对包装袋6的两侧外壁进行吸附后,第一吸盘35松下包装袋6同时电动缸31复位,之后第三气缸43复位,通过第二吸盘441对包装袋6的上表面进行提升,实现对包装袋6的撑开,之后第四气缸51启动,拉动曲柄套53,通过铰接件52的配合,使曲柄套53带动转轴2转动,继而使承载套21带动安装板22转动(限位杆23可对安装板22进行限位,将安装板22的转动角度限制为90°),使撑开的包装袋6套于灌装管外,待灌装管两侧的夹具将包装袋6夹紧后,When the powder product packaging line starts to work, the
第二吸盘441与第三吸盘422松开包装袋6,同时第二气缸41收缩,使撑袋机构4彻底与包装袋6脱离,之后第二气缸41与第四气缸51复位,以进行下一次给袋作业。The
尽管参照前述实施例对本实用新型进行了详细的说明,对于本领域的技术人员来说,其依然可以对前述各实施例所记载的技术方案进行修改,或者对其中部分技术特征进行等同替换,凡在本实用新型的精神和原则之内,所作的任何修改、等同替换、改进等,均应包含在本实用新型的保护范围之内。Although the present invention has been described in detail with reference to the foregoing embodiments, for those skilled in the art, it is still possible to modify the technical solutions described in the foregoing embodiments, or perform equivalent replacements for some of the technical features. Within the spirit and principle of the present utility model, any modifications, equivalent replacements, improvements, etc. made shall be included within the protection scope of the present utility model.
Claims (6)
Priority Applications (1)
| Application Number | Priority Date | Filing Date | Title |
|---|---|---|---|
| CN201922150905.8U CN211224102U (en) | 2019-12-04 | 2019-12-04 | An automatic bag feeding device for powder product packaging line |
Applications Claiming Priority (1)
| Application Number | Priority Date | Filing Date | Title |
|---|---|---|---|
| CN201922150905.8U CN211224102U (en) | 2019-12-04 | 2019-12-04 | An automatic bag feeding device for powder product packaging line |
Publications (1)
| Publication Number | Publication Date |
|---|---|
| CN211224102U true CN211224102U (en) | 2020-08-11 |
Family
ID=71933067
Family Applications (1)
| Application Number | Title | Priority Date | Filing Date |
|---|---|---|---|
| CN201922150905.8U Expired - Fee Related CN211224102U (en) | 2019-12-04 | 2019-12-04 | An automatic bag feeding device for powder product packaging line |
Country Status (1)
| Country | Link |
|---|---|
| CN (1) | CN211224102U (en) |
Cited By (1)
| Publication number | Priority date | Publication date | Assignee | Title |
|---|---|---|---|---|
| CN115432238A (en) * | 2022-09-26 | 2022-12-06 | 山东植知源生态工程有限公司 | A kind of powdery organic fertilizer packaging system and method |
-
2019
- 2019-12-04 CN CN201922150905.8U patent/CN211224102U/en not_active Expired - Fee Related
Cited By (1)
| Publication number | Priority date | Publication date | Assignee | Title |
|---|---|---|---|---|
| CN115432238A (en) * | 2022-09-26 | 2022-12-06 | 山东植知源生态工程有限公司 | A kind of powdery organic fertilizer packaging system and method |
Similar Documents
| Publication | Publication Date | Title |
|---|---|---|
| CN114194508B (en) | Packaging bag opening device and packaging bag barrel sleeving equipment | |
| CN116395219B (en) | An adjustable intelligent plastic packaging machine | |
| CN210047690U (en) | Full-automatic particle packaging machine capable of accurately packaging multiple types of particles | |
| CN110002045A (en) | A kind of automatic slash pocket machine | |
| CN211224102U (en) | An automatic bag feeding device for powder product packaging line | |
| CN211845223U (en) | Noodle secondary bagging equipment | |
| CN110040295A (en) | Sack-filling device | |
| CN206265420U (en) | A simple bag-holding and clip-bag packaging machine | |
| CN104760329B (en) | A kind of bagging mechanism of packaging bag folding apparatus | |
| CN110683130A (en) | Woven bag opening, grabbing and swing arm bag sleeving device | |
| CN208007408U (en) | A kind of automatic production line for urine cup packaging | |
| CN206013120U (en) | Disc type packer of the automatic bag-feeding with flat arrangement vacuum extractor | |
| CN210047693U (en) | Bagging device | |
| CN114572493A (en) | Packaging machine | |
| CN210882804U (en) | A vacuum sealing packaging machine for clean vegetables | |
| CN211919157U (en) | Automatic change powder coating equipment in bags | |
| CN211766680U (en) | Bagging-off of spicy food encapsulates integrative equipment | |
| CN204896788U (en) | Straight line rotation type powder liquid bag output device and powder liquid bag production facility | |
| CN117885952B (en) | A double-bag vacuum packaging machine | |
| CN220865733U (en) | Reel bagging mechanism | |
| CN218463998U (en) | Automatic packaging mechanism | |
| CN220054349U (en) | Overturning suction bag supporting device | |
| CN118833452A (en) | Automatic packing device | |
| CN211711202U (en) | Packaging machine | |
| CN217022999U (en) | A bag folding device |
Legal Events
| Date | Code | Title | Description |
|---|---|---|---|
| GR01 | Patent grant | ||
| GR01 | Patent grant | ||
| CF01 | Termination of patent right due to non-payment of annual fee | ||
| CF01 | Termination of patent right due to non-payment of annual fee |
Granted publication date: 20200811 |
