CN211203429U - Anti-falling structure of microcomputer protection device - Google Patents
Anti-falling structure of microcomputer protection device Download PDFInfo
- Publication number
- CN211203429U CN211203429U CN201922348962.7U CN201922348962U CN211203429U CN 211203429 U CN211203429 U CN 211203429U CN 201922348962 U CN201922348962 U CN 201922348962U CN 211203429 U CN211203429 U CN 211203429U
- Authority
- CN
- China
- Prior art keywords
- protection device
- fixing seat
- microcomputer
- spring
- main casing
- Prior art date
- Legal status (The legal status is an assumption and is not a legal conclusion. Google has not performed a legal analysis and makes no representation as to the accuracy of the status listed.)
- Expired - Fee Related
Links
- 238000009434 installation Methods 0.000 claims description 8
- 230000006835 compression Effects 0.000 claims description 3
- 238000007906 compression Methods 0.000 claims description 3
- 230000000694 effects Effects 0.000 abstract description 4
- 238000010521 absorption reaction Methods 0.000 abstract description 2
- 230000003139 buffering effect Effects 0.000 abstract description 2
- 230000035939 shock Effects 0.000 abstract description 2
- 230000001681 protective effect Effects 0.000 description 4
- 238000012544 monitoring process Methods 0.000 description 2
- 239000003990 capacitor Substances 0.000 description 1
- 238000001514 detection method Methods 0.000 description 1
- 230000007774 longterm Effects 0.000 description 1
- 238000005259 measurement Methods 0.000 description 1
- 238000000034 method Methods 0.000 description 1
- 238000012986 modification Methods 0.000 description 1
- 230000004048 modification Effects 0.000 description 1
Images
Landscapes
- Vibration Dampers (AREA)
Abstract
本实用新型公开了一种微机保护装置的防摔结构,包括微机保护装置主壳体,所述微机保护装置主壳体的上下两端分别对应设置上固定座和下固定座,所述上固定座和下固定座的结构、大小相同,且上固定座和下固定座的内部均设有与微机保护装置主壳体相适配的固定槽,所述上固定座和下固定座的前后两端且靠近固定槽的一侧壁上均匀且等间隙分布设置三个圆形槽,所述圆形槽的内部固定安装第一弹簧,所述第一弹簧的另一端固定设置连接柱,所述上固定座和下固定座的底端均匀且等间隙分布设置若干组支撑弹簧,所述支撑弹簧的另一端固定连接U型保护板。该实用新型可以将摔落的冲击力进行分解,起到很好的缓冲、减震效果,提高整体装置的抗摔能力,方便使用。
The utility model discloses an anti-drop structure of a microcomputer protection device, comprising a main casing of the microcomputer protection device, upper and lower ends of the main casing of the microcomputer protection device are respectively provided with an upper fixing seat and a lower fixing seat, and the upper fixing seat is correspondingly arranged. The structure and size of the base and the lower fixing base are the same, and the interior of the upper fixing base and the lower fixing base are provided with fixing grooves which are adapted to the main shell of the microcomputer protection device. Three circular grooves are evenly and equally spaced on one side wall of the end and close to the fixing groove. The inner part of the circular groove is fixedly installed with a first spring, and the other end of the first spring is fixedly provided with a connecting column. The bottom ends of the upper fixing seat and the lower fixing seat are evenly distributed with several groups of support springs with equal gaps, and the other ends of the support springs are fixedly connected to the U-shaped protection plate. The utility model can decompose the impact force of falling, has good buffering and shock absorption effects, improves the anti-falling ability of the whole device, and is convenient to use.
Description
技术领域technical field
本实用新型属于防摔结构技术领域,具体涉及一种微机保护装置的防摔结构。The utility model belongs to the technical field of anti-drop structures, in particular to an anti-drop structure of a microcomputer protection device.
背景技术Background technique
微机保护装置是由高集成度、总线不出芯片单片机、高精度电流电压互感器、高绝缘强度出口中间继电器、高可靠开关电源模块等部件组成。主要适用于中高电压等级的保护、监控及测量,可用于线路、变压器、电容器、电动机、母线PT检测、备用电源自投回路及主设备的保护、控制与监视。若是使用过程中由于操作不稳定致使其摔落,容易对该微机保护装置产生剧烈震荡,从而造成其内部元件损坏,不便于长期使用,因此我们提出一种微机保护装置的防摔结构来解决上述问题。The microcomputer protection device is composed of high-integration, bus-out chip single-chip microcomputer, high-precision current and voltage transformers, high-insulation-strength export intermediate relays, and high-reliability switching power supply modules. It is mainly suitable for protection, monitoring and measurement of medium and high voltage levels, and can be used for the protection, control and monitoring of lines, transformers, capacitors, motors, busbar PT detection, automatic switching circuits of backup power supply and main equipment. If it falls due to unstable operation during use, it is easy to produce violent vibrations on the microcomputer protection device, thereby causing damage to its internal components, which is inconvenient for long-term use. Therefore, we propose an anti-drop structure for the microcomputer protection device to solve the above problems. question.
实用新型内容Utility model content
本实用新型的目的在于提供一种微机保护装置的防摔结构,以解决上述背景技术中提出的问题。The purpose of the present invention is to provide an anti-drop structure of a microcomputer protection device, so as to solve the problems raised in the above-mentioned background art.
为实现上述目的,本实用新型提供如下技术方案:一种微机保护装置的防摔结构,包括微机保护装置主壳体,所述微机保护装置主壳体的上下两端分别对应设置上固定座和下固定座,所述上固定座和下固定座的结构、大小相同,且上固定座和下固定座的内部均设有与微机保护装置主壳体相适配的固定槽,所述上固定座和下固定座的前后两端且靠近固定槽的一侧壁上均匀且等间隙分布设置三个圆形槽,所述圆形槽的内部固定安装第一弹簧,所述第一弹簧的另一端固定设置连接柱,所述连接柱的另一端贯穿并延伸至微机保护装置主壳体的前后两侧,所述上固定座和下固定座的底端均匀且等间隙分布设置若干组支撑弹簧,所述支撑弹簧的另一端固定连接U型保护板,所述上固定座和下固定座的前后外侧壁上对称固定安装两组第三弹簧,所述第三弹簧的另一端固定连接第一挡板,所述微机保护装置主壳体的左右两端安装设置两组伸缩支杆,所述伸缩支杆的外表面固定套设有压缩弹簧且伸缩支杆的另一端固定连接第二挡板。In order to achieve the above purpose, the present invention provides the following technical solutions: an anti-drop structure of a microcomputer protection device, comprising a main shell of the microcomputer protection device, and the upper and lower ends of the main shell of the microcomputer protection device are respectively provided with an upper fixing seat and The lower fixing seat, the structure and size of the upper fixing seat and the lower fixing seat are the same, and the interior of the upper fixing seat and the lower fixing seat are provided with fixing grooves which are adapted to the main shell of the microcomputer protection device, and the upper fixing seat and the lower fixing seat are provided with fixing grooves. The front and rear ends of the seat and the lower fixing seat and one side wall close to the fixing groove are evenly and equally spaced with three circular grooves. A connecting column is fixedly arranged at one end, and the other end of the connecting column penetrates and extends to the front and rear sides of the main housing of the microcomputer protection device. , the other end of the support spring is fixedly connected to the U-shaped protection plate, and two sets of third springs are symmetrically and fixedly installed on the front and rear outer walls of the upper and lower fixed seats, and the other end of the third spring is fixedly connected to the first baffle, two sets of telescopic struts are installed on the left and right ends of the main casing of the microcomputer protection device, the outer surface of the telescopic strut is fixedly sleeved with a compression spring, and the other end of the telescopic strut is fixedly connected to the second baffle .
优选的,所述微机保护装置主壳体上且与连接柱相对应位置固定开设有卡槽,且连接柱与卡槽之间相互配合设置。Preferably, the main casing of the microcomputer protection device is fixedly provided with a card slot at a position corresponding to the connection post, and the connection post and the card slot are arranged in cooperation with each other.
此项设置卡槽与连接柱配合设置,有效保证微机保护装置的放置稳定。This setting slot is matched with the connecting post to effectively ensure the stable placement of the microcomputer protection device.
优选的,所述U型保护板的两侧凸出端内部对称安装设置第二弹簧,所述第二弹簧的另一端分别与上固定座和下固定座的左右两侧固定连接。Preferably, a second spring is installed symmetrically inside the protruding ends on both sides of the U-shaped protection plate, and the other ends of the second spring are respectively fixedly connected to the left and right sides of the upper fixing seat and the lower fixing seat.
此项设置第二弹簧,可以对U型保护板起到缓冲作用。This item is provided with a second spring, which can buffer the U-shaped protection plate.
优选的,所述U型保护板、第一挡板以及第二挡板的外表面均固定设置橡胶保护垫。Preferably, rubber protection pads are fixed on the outer surfaces of the U-shaped protection plate, the first baffle and the second baffle.
此项设置橡胶保护垫,可以对U型保护板、第一挡板以及第二挡板进行防护,有效提高抗摔性。This item is provided with a rubber protective pad, which can protect the U-shaped protective plate, the first baffle and the second baffle, and effectively improve the drop resistance.
优选的,所述伸缩支杆的底端固定设置安装块且安装块内安装设置固定螺丝,所述固定螺丝的另一端贯穿并延伸至微机保护装置主壳体内。Preferably, a mounting block is fixedly arranged at the bottom end of the telescopic support rod, and a fixing screw is installed in the mounting block, and the other end of the fixing screw penetrates and extends into the main casing of the microcomputer protection device.
此项设置安装块和固定螺丝,可以很方便的对伸缩支杆进行安装、拆卸。This installation block and fixing screws can be easily installed and removed for the telescopic pole.
本实用新型的技术效果和优点:该微机保护装置的防摔结构,通过上固定座、下固定座、固定槽、连接柱、圆形槽和卡槽的结合设置,可以对微机保护装置进行安装固定,保证其放置稳定;通过第一弹簧、U型保护板、支撑弹簧、第二弹簧、第一挡板、第三弹簧、伸缩支杆、第二挡板和橡胶保护垫的协同作用,有效将摔落的冲击力进行分解或抵消,起到很好的缓冲、减震效果,提高整体装置的抗摔能力,不易造成损坏,方便使用。The technical effects and advantages of the utility model: the anti-drop structure of the microcomputer protection device can be installed on the microcomputer protection device through the combination of the upper fixing seat, the lower fixing seat, the fixing groove, the connecting column, the circular groove and the card groove. Fixed to ensure its stable placement; through the synergy of the first spring, the U-shaped protection plate, the support spring, the second spring, the first baffle, the third spring, the telescopic strut, the second baffle and the rubber protective pad, the effective The impact force of falling is decomposed or offset, which has a good buffering and shock absorption effect, improves the anti-falling ability of the whole device, is not easy to cause damage, and is convenient to use.
附图说明Description of drawings
图1为本实用新型的结构示意图;Fig. 1 is the structural representation of the utility model;
图2为本实用新型A处的放大结构示意图;Fig. 2 is the enlarged structural representation of the utility model A;
图3为本实用新型下固定座的俯视结构示意图。3 is a schematic top view of the structure of the lower fixing seat of the present invention.
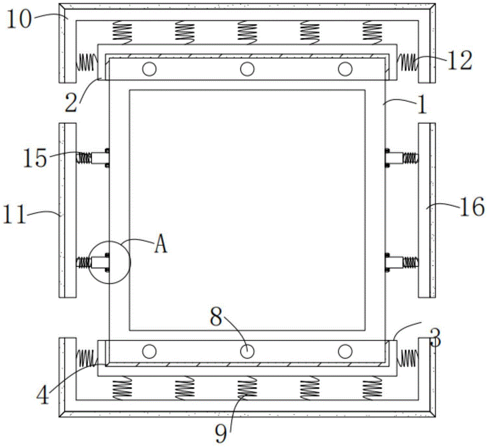
图中:1、微机保护装置主壳体;2、上固定座;3、下固定座;4、固定槽;5、圆形槽;6、第一弹簧;7、连接柱;8、卡槽;9、支撑弹簧;10、U型保护板;11、橡胶保护垫;12、第二弹簧;13、第三弹簧;14、第一挡板;15、伸缩支杆;16、第二挡板;17、安装块。In the figure: 1. Main shell of the microcomputer protection device; 2. Upper fixing seat; 3. Lower fixing seat; 4. Fixing slot; 5. Circular slot; 6. First spring; 7. Connecting column; 8. Card slot ; 9, support spring; 10, U-shaped protection plate; 11, rubber protection pad; 12, second spring; 13, third spring; 14, first baffle; 15, telescopic strut; 16, second baffle ; 17, the installation block.
具体实施方式Detailed ways
下面将结合本实用新型实施例中的附图,对本实用新型实施例中的技术方案进行清楚、完整地描述,显然,所描述的实施例仅仅是本实用新型一部分实施例,而不是全部的实施例。基于本实用新型中的实施例,本领域普通技术人员在没有做出创造性劳动前提下所获得的所有其他实施例,都属于本实用新型保护的范围。The technical solutions in the embodiments of the present utility model will be clearly and completely described below with reference to the accompanying drawings in the embodiments of the present utility model. Obviously, the described embodiments are only a part of the embodiments of the present utility model, rather than all the implementations. example. Based on the embodiments of the present invention, all other embodiments obtained by those of ordinary skill in the art without creative work fall within the protection scope of the present invention.
本实用新型提供了如图1-3所示的一种微机保护装置的防摔结构,包括微机保护装置主壳体1,微机保护装置主壳体1的上下两端分别对应设置上固定座2和下固定座3,上固定座2和下固定座3的结构、大小相同,且上固定座2和下固定座3的内部均设有与微机保护装置主壳体1相适配的固定槽4,上固定座2和下固定座3的前后两端且靠近固定槽4的一侧壁上均匀且等间隙分布设置三个圆形槽5,圆形槽5的内部固定安装第一弹簧6,第一弹簧6的另一端固定设置连接柱7,连接柱7的另一端贯穿并延伸至微机保护装置主壳体1的前后两侧,具体设置时,微机保护装置主壳体1上且与连接柱7相对应位置固定开设有卡槽8,且连接柱7与卡槽8之间相互配合设置,保证微机保护装置的安装稳定。The utility model provides an anti-drop structure of a microcomputer protection device as shown in Figures 1-3, comprising a
上固定座2和下固定座3的底端均匀且等间隙分布设置若干组支撑弹簧9,支撑弹簧9的另一端固定连接U型保护板10,具体的,U型保护板10的两侧凸出端内部对称安装设置第二弹簧12,第二弹簧12的另一端分别与上固定座2和下固定座3的左右两侧固定连接,利用U型保护板10起到很好的保护作用,上固定座2和下固定座3的前后外侧壁上对称固定安装两组第三弹簧13,第三弹簧13的另一端固定连接第一挡板14,微机保护装置主壳体1的左右两端安装设置两组伸缩支杆15,伸缩支杆15的外表面固定套设有压缩弹簧且伸缩支杆15的另一端固定连接第二挡板16,伸缩支杆15的底端固定设置安装块17且安装块17内安装设置固定螺丝,固定螺丝的另一端贯穿并延伸至微机保护装置主壳体1内,可以对伸缩支杆15进行拆装,便于操作使用,U型保护板10、第一挡板14以及第二挡板16的外表面均固定设置橡胶保护垫11,有效提高防摔能力。The bottom ends of the
该微机保护装置的防摔结构,使用时,在微机保护装置的上下两端分别穿插设置上固定座2和下固定座3,在圆形槽5和第一弹簧6的弹性连接下,使连接柱7与微机保护装置主壳体1的前后两侧开设的卡槽8连接配合,有效保证微机保护装置的安装稳固,当微机保护装置不慎摔落时,利用支撑弹簧9、第二弹簧12和U型保护板10的弹性连接,可以将外界产生的冲击力进行分解或抵消,有效防止微机保护装置直接受力而造成损坏,起到了很好的保护和防摔效果,利用伸缩支杆15和第二挡板16的连接设置,可以对微机保护装置主壳体1的左右两侧起到缓冲、减震作用,便于进行防护。In the anti-drop structure of the microcomputer protection device, when in use, the upper and lower
最后应说明的是:以上所述仅为本实用新型的优选实施例而已,并不用于限制本实用新型,尽管参照前述实施例对本实用新型进行了详细的说明,对于本领域的技术人员来说,其依然可以对前述各实施例所记载的技术方案进行修改,或者对其中部分技术特征进行等同替换,凡在本实用新型的精神和原则之内,所作的任何修改、等同替换、改进等,均应包含在本实用新型的保护范围之内。Finally, it should be noted that the above are only the preferred embodiments of the present invention, and are not intended to limit the present invention. , it can still modify the technical solutions recorded in the foregoing embodiments, or perform equivalent replacements to some of the technical features. Any modification, equivalent replacement, improvement, etc. made within the spirit and principle of the present utility model, All should be included within the protection scope of the present invention.
Claims (5)
Priority Applications (1)
| Application Number | Priority Date | Filing Date | Title |
|---|---|---|---|
| CN201922348962.7U CN211203429U (en) | 2019-12-24 | 2019-12-24 | Anti-falling structure of microcomputer protection device |
Applications Claiming Priority (1)
| Application Number | Priority Date | Filing Date | Title |
|---|---|---|---|
| CN201922348962.7U CN211203429U (en) | 2019-12-24 | 2019-12-24 | Anti-falling structure of microcomputer protection device |
Publications (1)
| Publication Number | Publication Date |
|---|---|
| CN211203429U true CN211203429U (en) | 2020-08-07 |
Family
ID=71852027
Family Applications (1)
| Application Number | Title | Priority Date | Filing Date |
|---|---|---|---|
| CN201922348962.7U Expired - Fee Related CN211203429U (en) | 2019-12-24 | 2019-12-24 | Anti-falling structure of microcomputer protection device |
Country Status (1)
| Country | Link |
|---|---|
| CN (1) | CN211203429U (en) |
Cited By (3)
| Publication number | Priority date | Publication date | Assignee | Title |
|---|---|---|---|---|
| CN112055495A (en) * | 2020-09-09 | 2020-12-08 | 广州融益科技有限公司 | Communication manager system device for communication base station |
| CN112065922A (en) * | 2020-10-21 | 2020-12-11 | 衡阳市稼乐农机科技有限公司 | Transformer with lateral buffer function |
| CN113206469A (en) * | 2021-05-27 | 2021-08-03 | 河南富达电力集团有限公司 | Distributed photovoltaic power station reactive power compensation device |
-
2019
- 2019-12-24 CN CN201922348962.7U patent/CN211203429U/en not_active Expired - Fee Related
Cited By (3)
| Publication number | Priority date | Publication date | Assignee | Title |
|---|---|---|---|---|
| CN112055495A (en) * | 2020-09-09 | 2020-12-08 | 广州融益科技有限公司 | Communication manager system device for communication base station |
| CN112065922A (en) * | 2020-10-21 | 2020-12-11 | 衡阳市稼乐农机科技有限公司 | Transformer with lateral buffer function |
| CN113206469A (en) * | 2021-05-27 | 2021-08-03 | 河南富达电力集团有限公司 | Distributed photovoltaic power station reactive power compensation device |
Similar Documents
| Publication | Publication Date | Title |
|---|---|---|
| CN211203429U (en) | Anti-falling structure of microcomputer protection device | |
| CN206461248U (en) | A kind of regulator cubicle that there is damping and function is moved easily | |
| CN110890705A (en) | Integral type switch board convenient to installation | |
| CN211701872U (en) | Protective housing for VIENNA rectifier | |
| CN220253368U (en) | Lithium battery with multiple protection structure | |
| CN214626782U (en) | Switching power supply with good shockproof effect | |
| CN208723386U (en) | A kind of integral type power distribution cabinet being easily installed | |
| CN215269105U (en) | System server for industrial automatic control instrument system | |
| CN211654064U (en) | Shockproof type singlechip experimental box | |
| CN219246588U (en) | Outdoor permanent magnet vacuum circuit breaker | |
| CN211743816U (en) | Shock-resistant electric power measurement cabinet | |
| CN215488958U (en) | Mounting device for building electrical equipment | |
| CN214592374U (en) | Server cabinet based on artificial intelligence public service platform | |
| CN211670482U (en) | Building electric automatization block terminal | |
| CN218548139U (en) | Insulating material for transformer | |
| CN210142558U (en) | Shock-proof coal mine transformer | |
| CN211579316U (en) | A buffer stop for switch board | |
| CN212011729U (en) | Communication equipment control cabinet | |
| CN215453508U (en) | A new type of electrical fixed installation board with protective function | |
| CN215733023U (en) | Low pressure pull-out type cubical switchboard with shock attenuation antidetonation type | |
| CN210779718U (en) | An electrical cabinet protection device convenient for outdoor use | |
| CN217035292U (en) | Portable load resistor | |
| CN222088486U (en) | AC contactor with protective casing | |
| CN217281704U (en) | Protective device for low-voltage switch complete equipment | |
| CN211792447U (en) | Electrical component protection shell used in electrical cabinet |
Legal Events
| Date | Code | Title | Description |
|---|---|---|---|
| GR01 | Patent grant | ||
| GR01 | Patent grant | ||
| CF01 | Termination of patent right due to non-payment of annual fee |
Granted publication date: 20200807 |
|
| CF01 | Termination of patent right due to non-payment of annual fee |
