CN211188468U - Epidural Drainage Device - Google Patents
Epidural Drainage Device Download PDFInfo
- Publication number
- CN211188468U CN211188468U CN201921627664.5U CN201921627664U CN211188468U CN 211188468 U CN211188468 U CN 211188468U CN 201921627664 U CN201921627664 U CN 201921627664U CN 211188468 U CN211188468 U CN 211188468U
- Authority
- CN
- China
- Prior art keywords
- drainage
- drainage bottle
- epidural
- rod
- sensor
- Prior art date
- Legal status (The legal status is an assumption and is not a legal conclusion. Google has not performed a legal analysis and makes no representation as to the accuracy of the status listed.)
- Expired - Fee Related
Links
- 230000001681 protective effect Effects 0.000 claims abstract description 5
- 238000000034 method Methods 0.000 abstract description 5
- 238000001802 infusion Methods 0.000 description 6
- 238000007917 intracranial administration Methods 0.000 description 3
- 230000001225 therapeutic effect Effects 0.000 description 3
- 230000009286 beneficial effect Effects 0.000 description 2
- 238000010586 diagram Methods 0.000 description 2
- 230000000694 effects Effects 0.000 description 2
- 210000003625 skull Anatomy 0.000 description 2
- 230000001960 triggered effect Effects 0.000 description 2
- 238000011179 visual inspection Methods 0.000 description 2
- 238000001514 detection method Methods 0.000 description 1
- 230000006698 induction Effects 0.000 description 1
- 238000007914 intraventricular administration Methods 0.000 description 1
- 230000003902 lesion Effects 0.000 description 1
- 238000005259 measurement Methods 0.000 description 1
- 230000000474 nursing effect Effects 0.000 description 1
- 238000001356 surgical procedure Methods 0.000 description 1
- 239000000725 suspension Substances 0.000 description 1
Images
Landscapes
- External Artificial Organs (AREA)
Abstract
本实用新型公开了一种硬膜外引流装置,涉及医护技术领域,它有包括杆体上设有刻度尺的支撑固定杆和活动夹持于所述支撑固定杆上的移动夹;所述移动夹的一侧固定安装有引流瓶固定框;在连接所述移动夹一侧的所述引流瓶固定框上设置有感应器,所述感应器与设置在所述支撑固定杆上的报警器电连接;所述支撑固定杆的顶端设置有挂钩,底端设置有固定套杆;所述支撑固定杆上还套装有指针。所述引流瓶固定框内设置有引流瓶防护垫。本实用新型能够解决现有硬膜外引流过程中,引流瓶高度不易测量和调节及固定,引流瓶里的引流量超过定量时不能及时发现或报警等问题。
The utility model discloses an epidural drainage device, which relates to the technical field of medical care. A drainage bottle fixing frame is fixedly installed on one side of the device; a sensor is arranged on the drainage bottle fixing frame connected to the side of the moving clip, and the sensor is electrically connected to the alarm set on the supporting and fixing rod. The top end of the supporting and fixing rod is provided with a hook, and the bottom end is provided with a fixing sleeve rod; the supporting and fixing rod is also sleeved with a pointer. A drainage bottle protective pad is arranged in the drainage bottle fixing frame. The utility model can solve the problems that the height of the drainage bottle is not easy to measure, adjust and fix in the existing epidural drainage process, and the drainage volume in the drainage bottle cannot be detected or alarmed in time when the drainage volume exceeds a certain amount.
Description
技术领域technical field
本实用新型涉及医疗护理技术领域,尤其是一种用于颅脑外科硬膜外引流使用的引流装置。The utility model relates to the technical field of medical care, in particular to a drainage device used for epidural drainage in craniocerebral surgery.
背景技术Background technique
神经外科手术后,通过在脑室内病灶放置硬膜外引流管外接硬膜外引流瓶进行引流,在引流过程中,引流的高度起着决定性的作用,关系到颅内压高低的改变,保持一定的引流高度至关重要,不正确的引流可能会导致极其严重的后果,甚至危及生命。现有的医院用的硬膜外引流瓶装置,多数为了方便将就使用病床前的输液杆来悬挂硬膜外引流瓶,因这种输液杆上没有刻度,悬挂硬膜外引流瓶的高度通常是目测或者使用皮尺来测量,需要调节高度时,还需要找皮尺来测量,这种引流瓶固定方式存在引流瓶悬挂容易摇摆,固定不牢固,引流瓶位置调整不便的缺点,影响了测量的准确性和工作效率。另一方面,引流瓶里的引流量达到一定量时就要报告主管医师及时判断是否需要调整悬挂高度,但因护理人员工作繁忙时不能时刻关注到引流瓶里的引流量,有时会发生引流瓶里的引流量超过定量时不能及时发现或报告,导致不能及时将引流瓶调整到所需要高度,影响引流效果。再一方面,有时为了治疗需要或患者舒适,病床的床头要摇起一定的高度或角度,此时引流部位和引流瓶的位置高度就会发生变化,引流瓶的所处高度就要适当调整,如上所述,目前高度调整通常靠目测或者使用皮尺来测量,没有一定的基准参考。After neurosurgery, drainage is performed by placing an epidural drainage tube and an external epidural drainage bottle in the intraventricular lesion. During the drainage process, the height of drainage plays a decisive role, which is related to the change of intracranial pressure. The drainage height is critical, and incorrect drainage can lead to extremely serious and even life-threatening consequences. Most of the existing epidural drainage bottle devices used in hospitals use the infusion rod in front of the hospital bed to hang the epidural drainage bottle for convenience. Because there is no scale on the infusion rod, the height of the hanging epidural drainage bottle is usually It is measured by visual inspection or with a tape measure. When you need to adjust the height, you need to find a tape measure to measure. This drainage bottle fixing method has the disadvantages that the drainage bottle is easy to sway, the fixation is not firm, and the position of the drainage bottle is inconvenient to adjust, which affects the accuracy of the measurement. sex and productivity. On the other hand, when the drainage volume in the drainage bottle reaches a certain amount, it should be reported to the physician in charge to determine whether the suspension height needs to be adjusted in time. However, because the nursing staff cannot always pay attention to the drainage volume in the drainage bottle when they are busy with work, the drainage bottle sometimes occurs. When the drainage volume in the tank exceeds a certain amount, it cannot be detected or reported in time, resulting in the inability to adjust the drainage bottle to the required height in time, which affects the drainage effect. On the other hand, sometimes for treatment needs or patient comfort, the head of the hospital bed should be shaken to a certain height or angle. At this time, the height of the drainage site and the drainage bottle will change, and the height of the drainage bottle should be adjusted appropriately. , as mentioned above, the current height adjustment is usually measured by visual inspection or using a tape measure, and there is no certain benchmark reference.
实用新型内容Utility model content
本实用新型所要解决的技术问题是提供一种硬膜外引流装置,它可以解决现有硬膜外引流过程中,引流瓶高度不易测量和调节及固定,引流瓶里的引流量超过定量时不能及时发现或报警等问题。The technical problem to be solved by the utility model is to provide an epidural drainage device, which can solve the problem that in the existing epidural drainage process, the height of the drainage bottle is not easy to measure, adjust and fix, and when the drainage volume in the drainage bottle exceeds a certain amount, it cannot be Problems such as timely detection or alarm.
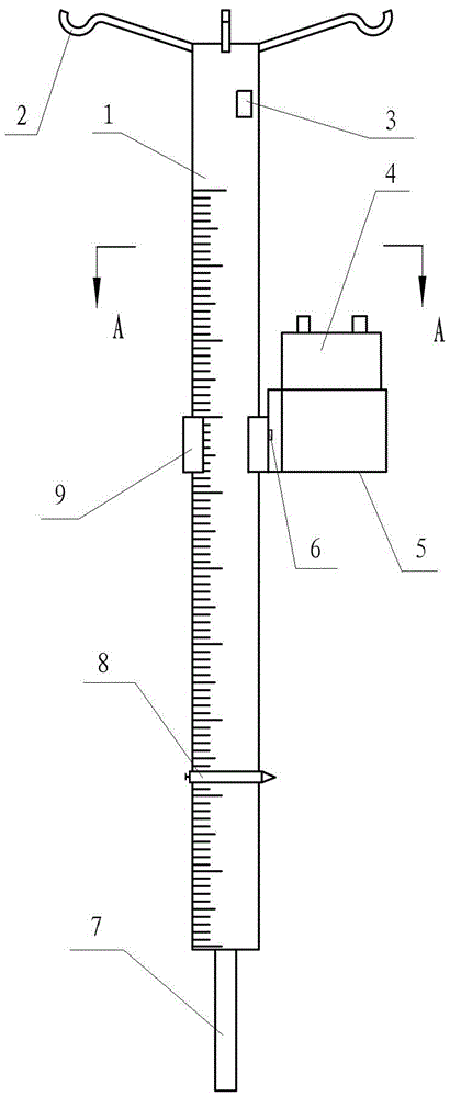
为了解决上述问题,本实用新型的技术方案是:这种硬膜外引流装置包括杆体上设有刻度尺的支撑固定杆和活动夹持于所述支撑固定杆上的移动夹;所述移动夹的一侧固定安装有用于固定放置硬膜外引流瓶的引流瓶固定框;在连接所述移动夹一侧的所述引流瓶固定框上设置有位置可上下移动调整的感应器,所述感应器与设置在所述支撑固定杆上的报警器电连接,当所述感应器感应到信号时,触发所述报警器发声或发光报警;所述支撑固定杆的顶端设置有用于悬挂输液瓶等治疗用品的多个挂钩,底端设置有用于插入病床床头套孔或插入独立的底座的固定套杆;所述支撑固定杆上还套装有用于指示床头位置的指针。In order to solve the above-mentioned problems, the technical scheme of the present invention is as follows: this epidural drainage device includes a support and fixed rod with a scale on the rod body and a movable clip movably clamped on the support and fixed rod; the movable clip A drainage bottle fixing frame for fixing the epidural drainage bottle is fixedly installed on one side of the device; a sensor whose position can be adjusted up and down is arranged on the drainage bottle fixing frame connected to the side of the moving clip. The device is electrically connected with the alarm device arranged on the support and fixed rod. When the sensor senses a signal, the alarm device is triggered to sound or emit light to give an alarm; The bottom ends of the hooks of the therapeutic supplies are provided with fixed sleeve rods for inserting into the bed head cover holes of the hospital bed or into independent bases; the support and fixed rods are also covered with pointers for indicating the position of the bed head.
上述技术方案中,更为具体的方案还可以是:所述引流瓶固定框内设置有用于固定和保护所述硬膜外引流瓶的引流瓶防护垫。In the above technical solutions, a more specific solution may also be that: a drainage bottle protective pad for fixing and protecting the epidural drainage bottle is provided in the drainage bottle fixing frame.
进一步:所述感应器为光电感应器,所述报警器为声光报警器。Further: the sensor is a photoelectric sensor, and the alarm is a sound and light alarm.
由于采用上述技术方案,本实用新型具有如下有益效果:Owing to adopting the above-mentioned technical scheme, the utility model has the following beneficial effects:
1、本实用新型带有标尺的支撑固定杆上有可以上下移动的夹子,夹子携带并固定硬膜外引流瓶,防止引流瓶掉落、摆动,同时引流瓶上的刻度与支撑固定杆上的刻度平行,能准确调到所需要的高度,有利于掌握病人颅内的压力进行治疗。1. The utility model has clips that can move up and down on the supporting and fixing rod with a ruler. The clips carry and fix the epidural drainage bottle to prevent the drainage bottle from falling and swinging. The scales are parallel and can be accurately adjusted to the required height, which is conducive to grasping the patient's intracranial pressure for treatment.
2、本实用新型在放置硬膜外引流瓶上的框上设置有感应器,当引流瓶的引流量到达设定的高度时,感应器感应出信号触发报警器报警,及时提示医务人员考虑是否需要调整引流瓶高度,随时保证引流效果。2. The present utility model is provided with a sensor on the frame on which the epidural drainage bottle is placed. When the drainage volume of the drainage bottle reaches the set height, the sensor senses a signal to trigger an alarm, prompting the medical staff to consider whether The height of the drainage bottle needs to be adjusted to ensure the drainage effect at any time.
3、本实用新型在支撑固定杆上设有一个可以上下调节的指针,用于对准床头的高度,当床头摇高或降低时,指针往上或下移动对准床头,能方便准确的测量出当床头调节后硬膜外引流瓶与头部之间的高度,便于更准确掌握患者颅内的压力。3. The utility model is provided with a pointer that can be adjusted up and down on the support and fixed rod, which is used to align the height of the head of the bed. When the head of the bed is raised or lowered, the pointer moves up or down to align with the head of the bed, which is convenient Accurately measure the height between the epidural drainage bottle and the head when the head of the bed is adjusted, so as to more accurately grasp the intracranial pressure of the patient.
4、本实用新型支撑固定杆顶端设有挂钩,方便输液挂输液瓶等治疗使用;支撑固定杆底端设有固定套杆方便插入病床床头上的套孔或插入独立的底座;本实用新型具有多种功能,结构设计合理,操作起来安全准确,方便医务人员操作,有利于患者的治疗,而且成本低,实用性强,具有广泛的应用前景。4. The top of the supporting and fixing rod of the utility model is provided with a hook, which is convenient for infusion to hang infusion bottles and other therapeutic use; the bottom end of the supporting and fixing rod is provided with a fixed sleeve rod, which is convenient to be inserted into the sleeve hole on the head of the hospital bed or into an independent base; the utility model The utility model has multiple functions, reasonable structural design, safe and accurate operation, convenient operation by medical personnel, and is beneficial to the treatment of patients, and has low cost, strong practicability, and wide application prospects.
附图说明Description of drawings
图1为本实用新型结构示意图;Fig. 1 is the structural representation of the utility model;
图2为图1中沿A-A剖线的剖面结构示意图;Fig. 2 is the cross-sectional structure schematic diagram along the A-A section line in Fig. 1;
图3为本实用新型带底座的结构示意图;Fig. 3 is the structural representation of the utility model belt base;
图4为本实用新型使用时示意图。Figure 4 is a schematic diagram of the utility model in use.
图中标号表示为:1、支撑固定杆, 2、挂钩,3、报警器,4、硬膜外引流瓶,5、引流瓶固定框,6、感应器,7、固定套杆,8、指针,9、移动夹子,10、引流瓶防护垫,11、固定底座,12、引流管,13、患者头颅,14、病床,15、引流袋。The symbols in the figure are: 1. Supporting and fixing rod, 2. Hook, 3. Alarm, 4. Epidural drainage bottle, 5. Drainage bottle fixing frame, 6. Sensor, 7. Fixing sleeve rod, 8. Pointer , 9, mobile clip, 10, drainage bottle protective pad, 11, fixed base, 12, drainage tube, 13, patient's head, 14, hospital bed, 15, drainage bag.
具体实施方式Detailed ways
下面结合附图和实施例对本实用新型进一步说明:Below in conjunction with accompanying drawing and embodiment, the utility model is further described:
图1、图2和图3的硬膜外引流装置,包括杆体上设有刻度范围在-10至20cm的刻度尺的支撑固定杆1和活动夹持于支撑固定杆1上的移动夹9;移动夹9的一侧固定安装有用于固定放置硬膜外引流瓶4的引流瓶固定框5;引流瓶固定框5内设置有用于固定和保护硬膜外引流瓶4的引流瓶防护垫10。The epidural drainage device of Fig. 1, Fig. 2 and Fig. 3 comprises a support and fixed
在连接移动夹9一侧的引流瓶固定框5上设置有位置可上下移动调整的感应器6,感应器6与放置在支撑固定杆1上的报警器3电连接,感应器6采用光电感应器或激光感应器,报警器3采用声光报警器;通过上下移动调整感应器6对准硬膜外引流瓶4上设定的引流量高度刻度后,当硬膜外引流瓶4的引流量到达设定值刻度时,如引流达到200毫升时,感应器6感应到信号后,触发报警器3发声或发光报警。A
支撑固定杆1的顶端设置有用于悬挂输液瓶等治疗用品的4个挂钩,底端设置有用于插入病床床头套孔或插入独立的底座11的固定套杆7,支撑固定杆1同时还起到了输液杆的作用。The top end of the supporting and fixing
支撑固定杆1上还套装有用于指示床头位置的指针8,如图4所示,患者头颅13通过引流管12与硬膜外引流瓶4和引流袋15连通。指针8可以上下调节,用于对准病床14的床头高度,当床头摇高或降低时,指针做相应往上或下移动对准床头,能方便准确的测量出当床头调节后硬膜外引流瓶4与患者头颅13之间的高度,便于更准确掌握患者颅内的压力,以便做出适当的调整。A
Claims (3)
Priority Applications (1)
| Application Number | Priority Date | Filing Date | Title |
|---|---|---|---|
| CN201921627664.5U CN211188468U (en) | 2019-09-27 | 2019-09-27 | Epidural Drainage Device |
Applications Claiming Priority (1)
| Application Number | Priority Date | Filing Date | Title |
|---|---|---|---|
| CN201921627664.5U CN211188468U (en) | 2019-09-27 | 2019-09-27 | Epidural Drainage Device |
Publications (1)
| Publication Number | Publication Date |
|---|---|
| CN211188468U true CN211188468U (en) | 2020-08-07 |
Family
ID=71858591
Family Applications (1)
| Application Number | Title | Priority Date | Filing Date |
|---|---|---|---|
| CN201921627664.5U Expired - Fee Related CN211188468U (en) | 2019-09-27 | 2019-09-27 | Epidural Drainage Device |
Country Status (1)
| Country | Link |
|---|---|
| CN (1) | CN211188468U (en) |
-
2019
- 2019-09-27 CN CN201921627664.5U patent/CN211188468U/en not_active Expired - Fee Related
Similar Documents
| Publication | Publication Date | Title |
|---|---|---|
| CN211188468U (en) | Epidural Drainage Device | |
| CN213371965U (en) | ICU intra-abdominal pressure medical detection device | |
| CN202859742U (en) | Drainage bottle holder with adjustable zero point | |
| CN215426422U (en) | Ventricular drainage fixing support | |
| CN205108121U (en) | Multi -functional neurosurgical care bed | |
| CN103816583B (en) | A kind of can the drip stand of measuring center venous pressure | |
| CN206566124U (en) | Ventricular drainage bag bracket | |
| CN211096385U (en) | A drainage gravity alarm device | |
| CN214318827U (en) | Drainage tube fixing device | |
| CN202146456U (en) | Controllable cerebral ventricle drainage frame | |
| CN222399908U (en) | Portable adjustable ventricular drainage tube fixing device | |
| CN209203244U (en) | A kind of fixed arm band of hemodynamic stresses Hygienic monitoring on hands of childhood energy converter | |
| CN223350662U (en) | Multifunctional movable support for monitoring room | |
| CN223350773U (en) | Head drainage tube suspension bracket | |
| CN217645460U (en) | Infusion support and sickbed with infusion support | |
| CN204446377U (en) | A kind of medical bedstead with drip stand | |
| CN204709616U (en) | Drainage fixer | |
| CN211461478U (en) | Ventricular drainage positioning support | |
| CN209916899U (en) | Adjustable transfusion rod with fixed alarming function of cerebral drainage tube | |
| CN201312932Y (en) | Fixing and supporting device for brain drainage | |
| CN214911342U (en) | Lateral ventricle drainage bottle height fixing frame | |
| CN205411769U (en) | Measurement drainage system | |
| CN210981161U (en) | Ventricular drainage tube infrared ray height measuring instrument | |
| CN213191536U (en) | A bedside drainage fixing bracket | |
| CN221787537U (en) | Head drainage bottle fixed bolster |
Legal Events
| Date | Code | Title | Description |
|---|---|---|---|
| GR01 | Patent grant | ||
| GR01 | Patent grant | ||
| CF01 | Termination of patent right due to non-payment of annual fee |
Granted publication date: 20200807 |
|
| CF01 | Termination of patent right due to non-payment of annual fee |
