CN211187821U - Perineal management device after femoral artery and vein catheterization - Google Patents
Perineal management device after femoral artery and vein catheterization Download PDFInfo
- Publication number
- CN211187821U CN211187821U CN201922024034.5U CN201922024034U CN211187821U CN 211187821 U CN211187821 U CN 211187821U CN 201922024034 U CN201922024034 U CN 201922024034U CN 211187821 U CN211187821 U CN 211187821U
- Authority
- CN
- China
- Prior art keywords
- waistband
- mounting disc
- accommodating
- mounting
- rear waistband
- Prior art date
- Legal status (The legal status is an assumption and is not a legal conclusion. Google has not performed a legal analysis and makes no representation as to the accuracy of the status listed.)
- Expired - Fee Related
Links
- 210000001105 femoral artery Anatomy 0.000 title claims abstract description 9
- 210000003191 femoral vein Anatomy 0.000 title claims abstract description 9
- 239000004744 fabric Substances 0.000 claims abstract description 13
- 229920003023 plastic Polymers 0.000 claims abstract description 10
- 239000011358 absorbing material Substances 0.000 claims abstract description 8
- 230000000903 blocking effect Effects 0.000 claims abstract description 6
- 210000002640 perineum Anatomy 0.000 claims abstract description 5
- 239000002390 adhesive tape Substances 0.000 claims description 5
- 239000000463 material Substances 0.000 claims description 5
- 239000000853 adhesive Substances 0.000 claims description 4
- 230000001070 adhesive effect Effects 0.000 claims description 4
- 229920000297 Rayon Polymers 0.000 claims description 2
- XLYOFNOQVPJJNP-UHFFFAOYSA-N water Substances O XLYOFNOQVPJJNP-UHFFFAOYSA-N 0.000 claims 2
- 238000010521 absorption reaction Methods 0.000 claims 1
- 238000009434 installation Methods 0.000 abstract description 25
- 210000003608 fece Anatomy 0.000 abstract description 3
- 239000007788 liquid Substances 0.000 abstract 1
- 230000000474 nursing effect Effects 0.000 abstract 1
- 150000003839 salts Chemical class 0.000 abstract 1
- 210000005069 ears Anatomy 0.000 description 7
- 230000002745 absorbent Effects 0.000 description 3
- 239000002250 absorbent Substances 0.000 description 3
- 238000000502 dialysis Methods 0.000 description 3
- 238000000034 method Methods 0.000 description 3
- 210000001367 artery Anatomy 0.000 description 2
- 230000010102 embolization Effects 0.000 description 2
- 238000012986 modification Methods 0.000 description 2
- 230000004048 modification Effects 0.000 description 2
- 230000009885 systemic effect Effects 0.000 description 2
- 210000002700 urine Anatomy 0.000 description 2
- 241000894006 Bacteria Species 0.000 description 1
- 208000035143 Bacterial infection Diseases 0.000 description 1
- 206010061968 Gastric neoplasm Diseases 0.000 description 1
- 208000022362 bacterial infectious disease Diseases 0.000 description 1
- 230000009286 beneficial effect Effects 0.000 description 1
- 210000001217 buttock Anatomy 0.000 description 1
- 230000013872 defecation Effects 0.000 description 1
- 230000007812 deficiency Effects 0.000 description 1
- 238000010586 diagram Methods 0.000 description 1
- 238000001631 haemodialysis Methods 0.000 description 1
- 230000000322 hemodialysis Effects 0.000 description 1
- 208000015181 infectious disease Diseases 0.000 description 1
- 238000003780 insertion Methods 0.000 description 1
- 230000002980 postoperative effect Effects 0.000 description 1
- 238000001356 surgical procedure Methods 0.000 description 1
- 230000004083 survival effect Effects 0.000 description 1
- 230000002537 thrombolytic effect Effects 0.000 description 1
- 210000004881 tumor cell Anatomy 0.000 description 1
Images
Landscapes
- Orthopedics, Nursing, And Contraception (AREA)
Abstract
股动静脉置管术后会阴部管理装置,包括内裤本体和置管收纳件,内裤本体由前腰带、挡部和后腰带依次连接而成,前腰带、挡部和后腰带的中部对应开设有长条形的安装口,安装口的外周连接有透明的塑料条带,方便固定外压盐袋,协助拔管后护理;本实用新型整体为内裤形状,穿戴舒适,吸水材料层能够吸收患者尿液或者粪便,并且吸水材料层可以定期更换,使用卫生;置管通过无菌的收纳布层进行包裹,保证了无菌环境;本实用新型解决了外置管道不易护理的问题,实用性强,有效实现人文关怀。
The device for managing the perineum after femoral artery and vein catheterization comprises an underpants body and a tube-inserting storage part. The underpants body is formed by connecting a front waistband, a blocking part and a rear waistband in sequence; The long-shaped installation port is connected with a transparent plastic strip on the periphery of the installation port, which is convenient for fixing the external pressure salt bag and assisting nursing after extubation. Liquid or feces, and the water-absorbing material layer can be replaced regularly, and the use is hygienic; the tube is wrapped by a sterile storage cloth layer to ensure a sterile environment; the utility model solves the problem that the external pipeline is not easy to care for, and has strong practicability. Effectively realize humanistic care.
Description
技术领域technical field
本实用新型属于医疗技术领域,具体涉及一种股动静脉置管术后会阴部管理装置。The utility model belongs to the field of medical technology, in particular to a perineal management device after femoral artery and vein catheterization.
背景技术Background technique
股动静脉置管是临床上常见的操作,其中股动脉置管主要用于动脉系统的栓塞及溶栓,如胃晚期肿瘤患者,不能进行手术治疗,为了尽量破坏肿瘤细胞,延长患者生存期,需要进行胃十二指肠动脉栓塞,操作方法就是股动脉置管介入,破坏胃十二指肠动脉。股静脉置管主要用于外科补液、透析等,其置管后一般外露部分长10-20cm,如透析患者常常在股静脉留置临时透析管,进行全身的血液透析。由于股动静脉位置特殊,置管后患者不好护理,现在一般是将置管穿在患者内裤里面,在置管出皮肤处给予贴上一次性无菌贴膜,防止细菌感染,然后将外露部分的管道穿到内裤里,此种方法不方便管道的护理,容易导致外露部分管道的污染,进而导致全身感染,严重时导致患者死亡,而且现在直接放置到内裤里不方便患者日常生活,在患者排便时可能粪便或者尿液沾湿外露导管。Femoral artery and vein catheterization is a common clinical operation. The femoral artery catheterization is mainly used for embolization and thrombolysis of the arterial system. For example, patients with advanced gastric tumors cannot undergo surgical treatment. In order to destroy tumor cells as much as possible and prolong the survival period of patients, Gastroduodenal artery embolization is required, and the operation method is to intervene with femoral artery catheterization to destroy the gastroduodenal artery. Femoral vein catheterization is mainly used for surgical rehydration, dialysis, etc. After catheterization, the exposed part is generally 10-20cm long. For example, dialysis patients often place temporary dialysis catheters in the femoral vein for systemic hemodialysis. Due to the special position of the femoral artery and vein, the patient is not well cared for after the catheter is placed. Now, the catheter is generally worn inside the patient's underwear, and a disposable sterile film is placed on the skin where the catheter is placed to prevent bacterial infection. This method is inconvenient for the care of the pipeline, and it is easy to lead to the pollution of the exposed part of the pipeline, which in turn leads to systemic infection, and in severe cases, the death of the patient, and now it is inconvenient for the patient to put it directly into the underwear. Faeces or urine may wet the exposed catheter during defecation.
实用新型内容Utility model content
本实用新型为了解决现有技术中的不足之处,提供一种防止置管外漏部分污染的股动静脉置管术后会阴部管理装置。In order to solve the deficiencies in the prior art, the utility model provides a post-operative perineal management device for femoral arteriovenous catheter placement, which can prevent the external leakage of the catheter from being partially polluted.
为解决上述技术问题,本实用新型采用如下技术方案:股动静脉置管术后会阴部管理装置,包括内裤本体和置管收纳件,内裤本体由前腰带、挡部和后腰带依次连接而成,前腰带、挡部和后腰带的中部对应开设有长条形的安装口,安装口的外周连接有透明的塑料条带,安装口的塑料条带上可拆卸连接有吸水材料层;前腰带和后腰带的上边部均设置有松紧带,前腰带和后腰带的上部左右两侧分别连接有连接耳部,后腰带的两个连接耳部均开设有置管通孔,前腰带的连接耳部和对应的后腰带的连接耳部通过按扣连接;In order to solve the above-mentioned technical problems, the utility model adopts the following technical scheme: a perineal management device after femoral artery and vein catheterization, including an underpants body and a tube-inserting storage part, and the underpants body is formed by connecting a front waistband, a blocking part and a rear waistband in sequence. , the front waistband, the baffle and the middle of the rear waistband are correspondingly provided with elongated installation openings, the outer circumference of the installation opening is connected with a transparent plastic strip, and the plastic strip of the installation opening is detachably connected with a water-absorbing material layer; the front waistband Elastic bands are arranged on the upper part of the belt and the upper part of the rear waistband; connecting ears are respectively connected to the upper left and right sides of the front waistband and the rear waistband; It is connected with the connecting ear of the corresponding rear waistband through a snap button;
置管收纳件包括第一安装盘、第二安装盘和收纳布层,第一安装盘和第二安装盘的中心处均开设有中心孔,第一安装盘和第二安装盘的中心孔通过连接管连接,收纳布层的一侧连接在第二安装盘的侧面上,收纳布层的侧边连接有粘胶带,第一安装盘和第二安装盘的侧面沿周向方向设置有粘胶环。The tube placement container includes a first installation plate, a second installation plate and a storage cloth layer, the center of the first installation plate and the second installation plate are both provided with a center hole, and the center holes of the first installation plate and the second installation plate pass through The connecting pipe is connected, one side of the storage cloth layer is connected to the side of the second installation plate, the side of the storage cloth layer is connected with an adhesive tape, and the sides of the first installation plate and the second installation plate are provided with adhesive tapes along the circumferential direction. rubber ring.
吸水材料层通过粘胶粘贴在安装口的塑料条带上。The layer of absorbent material is glued to the plastic strip of the mounting opening.
采用上述技术方案,本实用新型具有以下有益效果:本实用新型整体为内裤形状,穿戴舒适,吸水材料层能够吸收患者尿液或者粪便,并且吸水材料层可以定期更换,使用卫生;置管通过无菌的收纳布层进行包裹,保证了无菌环境;本实用新型解决了外置管道不易护理的问题,实用性强,有效实现人文关怀。Adopting the above technical scheme, the utility model has the following beneficial effects: the utility model is in the shape of underwear as a whole, which is comfortable to wear, the water-absorbing material layer can absorb the urine or feces of the patient, and the water-absorbing material layer can be replaced regularly, and the use is hygienic; The bacteria storage cloth layer is wrapped to ensure a sterile environment; the utility model solves the problem that the external pipeline is not easy to care for, has strong practicability, and effectively realizes humanistic care.
附图说明Description of drawings
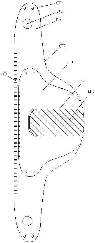
图1是内裤本体的结构示意图;Fig. 1 is the structural representation of underwear body;
图2是内裤本体展开状态;Fig. 2 is the unfolded state of underwear body;
图3是置管收纳件的结构示意图。FIG. 3 is a schematic structural diagram of a tube-placed storage member.
具体实施方式Detailed ways
如图1-3所示,本实用新型的股动静脉置管术后会阴部管理装置,包括内裤本体和置管收纳件,内裤本体由前腰带1、挡部2和后腰带3依次连接而成,前腰带1、挡部2和后腰带3的中部对应开设有长条形的安装口,安装口的外周连接有透明的塑料条带4,安装口的塑料条带4上可拆卸连接有吸水材料层5,吸水材料层5通过粘胶粘贴在安装口的塑料条带4上;前腰带1和后腰带3的上边部均设置有松紧带6,前腰带1和后腰带3的上部左右两侧分别连接有连接耳部7,后腰带3的两个连接耳部7均开设有置管通孔8,前腰带1的连接耳部7和对应的后腰带3的连接耳部7通过按扣9连接;As shown in Figures 1-3, the device for managing the perineum after femoral arteriovenous catheterization of the present invention includes an underpants body and a tube-insertion receiver. The underpants body is connected by a
置管收纳件包括第一安装盘10、第二安装盘11和收纳布层12,第一安装盘10和第二安装盘11的中心处均开设有中心孔,第一安装盘10和第二安装盘11的中心孔通过连接管13连接,收纳布层12的一侧连接在第二安装盘11的侧面上,收纳布层12的侧边连接有粘胶带14,第一安装盘10和第二安装盘11的侧面沿周向方向设置有粘胶环15。The tube placement container includes a
本实用新型在使用时首先将内裤本体的后腰带3放置到患者臀部下方,接着再将外露的置管穿过第一安装盘10、连接管13和第二安装盘11,通过收纳布层12缠绕包裹,利用粘胶带14进行固定,接着再将第一安装盘10通过粘胶环15粘贴在置管出皮肤处,缠绕的置管通过其中一个置管通孔8,第二安装盘11通过粘胶环15粘贴在后腰带3的其中一个连接耳部7的置管通孔8外周,对收纳布层12缠绕的置管进行进一步固定,然后将后腰带3向前绕过患者会阴部,利用按扣9将前腰带1和后腰带3的连接耳部7相互连接,至此完成装置的穿戴;当男士患者需要进行小便时,在前腰带1上撕开部分吸水材料层5,即可进行小便,当需要进行大便时,将吸水材料层5全部撕去,安装口处于全部敞开状,患者不用脱下装置即可进行大便,患者排便结束后,将吸收材料层重新粘贴在塑料条带4上即可,另外吸收材料层使用一段时间后可以进行更换,保证使用卫生。When the utility model is in use, the
本实施例并非对本实用新型的形状、材料、结构等作任何形式上的限制,凡是依据本实用新型的技术实质对以上实施例所作的任何简单修改、等同变化与修饰,均属于本实用新型技术方案的保护范围。This embodiment does not limit the shape, material, structure, etc. of the present invention in any form, and any simple modifications, equivalent changes and modifications made to the above embodiments according to the technical essence of the present invention belong to the technology of the present invention. The scope of protection of the program.
Claims (2)
Priority Applications (1)
| Application Number | Priority Date | Filing Date | Title |
|---|---|---|---|
| CN201922024034.5U CN211187821U (en) | 2019-11-21 | 2019-11-21 | Perineal management device after femoral artery and vein catheterization |
Applications Claiming Priority (1)
| Application Number | Priority Date | Filing Date | Title |
|---|---|---|---|
| CN201922024034.5U CN211187821U (en) | 2019-11-21 | 2019-11-21 | Perineal management device after femoral artery and vein catheterization |
Publications (1)
| Publication Number | Publication Date |
|---|---|
| CN211187821U true CN211187821U (en) | 2020-08-07 |
Family
ID=71847198
Family Applications (1)
| Application Number | Title | Priority Date | Filing Date |
|---|---|---|---|
| CN201922024034.5U Expired - Fee Related CN211187821U (en) | 2019-11-21 | 2019-11-21 | Perineal management device after femoral artery and vein catheterization |
Country Status (1)
| Country | Link |
|---|---|
| CN (1) | CN211187821U (en) |
-
2019
- 2019-11-21 CN CN201922024034.5U patent/CN211187821U/en not_active Expired - Fee Related
Similar Documents
| Publication | Publication Date | Title |
|---|---|---|
| CN214858088U (en) | A kind of male urethral leakage nursing device | |
| US20160022509A1 (en) | Absorbent article for accommodating a catheter and tubing | |
| WO2020135892A1 (en) | Disposable medical apparatus having anti-excreta backflow and collection function | |
| CN211187821U (en) | Perineal management device after femoral artery and vein catheterization | |
| CN210783039U (en) | Medical protective trousers | |
| CN219646005U (en) | Urine receiving device for nursing | |
| JPH0533134Y2 (en) | ||
| CN211271542U (en) | A two-piece ostomy bag | |
| CN212118220U (en) | anorectal surgery fixed pants | |
| CN204181797U (en) | Ventilating paper nappies | |
| WO2013013605A1 (en) | Artificial anus bag | |
| CN209734283U (en) | underpants type urine bag for protecting male genital organ after operation | |
| CN209595790U (en) | An improved baby girl urine bag | |
| CN222738084U (en) | Urine collecting bag for new born | |
| CN210301365U (en) | Simple urine collection bag for men with long-term bed rest incontinence | |
| CN222426775U (en) | Simple and easy shit drainage device | |
| CN205848768U (en) | Postoperative rectal cancer dressing underwear | |
| CN219439651U (en) | Male urine leakage-proof nursing bag | |
| CN222983272U (en) | A disposable wearable urine bag for men | |
| CN221672235U (en) | A skin-fitting conical urine bag | |
| CN215606901U (en) | Special paper diaper for male urinary incontinence patient | |
| CN215536971U (en) | A disposable rectal tube pack | |
| CN219250620U (en) | Combined ostomy bag | |
| CN215875212U (en) | A perineal incision dressing device | |
| CN222604589U (en) | A newborn clinical urine collection device |
Legal Events
| Date | Code | Title | Description |
|---|---|---|---|
| GR01 | Patent grant | ||
| GR01 | Patent grant | ||
| CF01 | Termination of patent right due to non-payment of annual fee | ||
| CF01 | Termination of patent right due to non-payment of annual fee |
Granted publication date: 20200807 |
