CN211185289U - Agricultural is with plant device that waters fast - Google Patents
Agricultural is with plant device that waters fast Download PDFInfo
- Publication number
- CN211185289U CN211185289U CN201922127802.XU CN201922127802U CN211185289U CN 211185289 U CN211185289 U CN 211185289U CN 201922127802 U CN201922127802 U CN 201922127802U CN 211185289 U CN211185289 U CN 211185289U
- Authority
- CN
- China
- Prior art keywords
- fixedly connected
- rod
- block
- supporting
- positioning
- Prior art date
- Legal status (The legal status is an assumption and is not a legal conclusion. Google has not performed a legal analysis and makes no representation as to the accuracy of the status listed.)
- Expired - Fee Related
Links
Images
Landscapes
- Nozzles (AREA)
Abstract
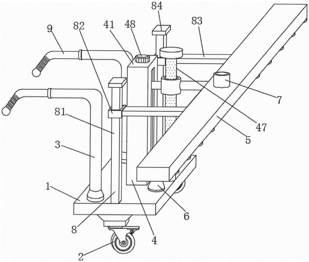
本实用新型涉及农业技术领域,且公开了一种农业用植物快速浇水装置,包括支撑块,所述支撑块底部的前后均固定连接有万向轮,支撑块顶部的左侧固定连接有两个前后设置的推杆,所述支撑块的顶部的中央设置有高度调节组件,所述高度调节组件的右侧设置有空心管。本方案使用时,通过支撑块万向轮和推杆的相互配合将整个装置移动到农田的空白沟内,通过调节高度调节组件调节空心管的高度,从而满足对不同高度的植物,使得两组喷头在空白沟两侧需要浇水的植物的上方,接着将外接水源接在进水管上,水通过进水管进入空心管内,水再经喷头喷洒在植物上,且随着装置的移动可同时对两侧的植物进行浇水,使得工作效率更高。
The utility model relates to the technical field of agriculture, and discloses a rapid watering device for agricultural plants, comprising a support block, the bottom of the support block is fixedly connected with a universal wheel, and the left side of the top of the support block is fixedly connected with two There are push rods arranged front and rear, a height adjustment component is arranged in the center of the top of the support block, and a hollow tube is arranged on the right side of the height adjustment component. When this scheme is used, the whole device is moved to the blank ditch of the farmland through the cooperation of the support block universal wheel and the push rod, and the height of the hollow tube is adjusted by adjusting the height adjustment component, so as to meet the needs of plants of different heights, so that the two groups of The sprinkler head is above the plants that need to be watered on both sides of the blank ditch, and then the external water source is connected to the water inlet pipe. Plants on both sides are watered, making work more efficient.
Description
技术领域technical field
本实用新型涉及农业技术领域,更具体地说,涉及一种农业用植物快速浇水装置。The utility model relates to the technical field of agriculture, in particular to a fast watering device for agricultural plants.
背景技术Background technique
植物是生命的主要形态之一,包含了如树木、灌木、藤类、青草、蕨类、及绿藻地衣等熟悉的生物。种子植物、苔藓植物、蕨类植物和拟蕨类等植物中,据估计现存大约有350000个物种。Plants are one of the main forms of life and include familiar creatures such as trees, shrubs, vines, grasses, ferns, and green algae lichens. Seed plants, bryophytes, ferns, and ferns are estimated to have about 350,000 species in existence.
现如今植物浇水多为人工手动浇水或者是水管直接喷洒,人工手动浇水存在耗时多、速度慢、劳动强度大的缺点,而水管直接喷洒不能够对不同高度的植物进行浇水。Nowadays, plants are mostly watered manually or sprayed directly by water pipes. Manual watering has the disadvantages of being time-consuming, slow and labor-intensive. Direct spraying of water pipes cannot water plants of different heights.
实用新型内容Utility model content
1.要解决的技术问题1. Technical problems to be solved
针对现有技术中存在的问题,本实用新型的目的在于提供一种农业用植物快速浇水装置,解决了现如今植物浇水多为人工手动浇水或者是水管直接喷洒,人工手动浇水存在耗时多、速度慢、劳动强度大的缺点,而水管直接喷洒不能够对不同高度的植物进行浇水的问题。In view of the problems existing in the prior art, the purpose of the present utility model is to provide a fast watering device for agricultural plants, which solves the problem that nowadays plants are mostly watered manually or directly sprayed by water pipes, and there is a problem of manual watering. The shortcomings of time-consuming, slow and labor-intensive, and the problem that direct spraying of water pipes cannot water plants of different heights.
2.技术方案2. Technical solutions
为解决上述问题,本实用新型采用如下的技术方案:In order to solve the above-mentioned problems, the utility model adopts the following technical scheme:
一种农业用植物快速浇水装置,包括支撑块,所述支撑块底部的前后均固定连接有万向轮,支撑块顶部的左侧固定连接有两个前后设置的推杆,所述支撑块的顶部的中央设置有高度调节组件,所述高度调节组件的右侧设置有空心管,所述空心管的底部的前后连通有两组等距离由前向后排列的喷头,所述空心管的顶部连通有进水管,所述支撑块的顶部且位于高度调节组件的前方和后方均设置有支撑限位组件。A rapid watering device for agricultural plants, comprising a support block, the bottom of the support block is fixedly connected with a universal wheel, and the left side of the top of the support block is fixedly connected with two push rods arranged in the front and rear, the support block The center of the top is provided with a height adjustment component, the right side of the height adjustment component is provided with a hollow tube, and the front and rear of the bottom of the hollow tube are connected with two groups of spray heads arranged at an equal distance from front to back. A water inlet pipe is communicated with the top, and a support limit component is provided on the top of the support block and located in front of and behind the height adjustment component.
优选的,所述高度调节组件包括竖直设置的支撑壳体,所述支撑壳体的底部与支撑块的顶部固定连接,所述支撑壳体的内部设置有竖直设置的螺纹杆,所述螺纹杆的底部转动连接有转动座,所述转动座的底部与支撑壳体的内底壁固定连接,所述螺纹杆的顶部贯穿延伸至支撑壳体的上方,所述螺纹杆上且位于支撑壳体的内部螺纹连接的有螺纹圈,所述支撑壳体的右侧开设有竖直设置的贯穿口,所述螺纹圈的右侧固定连接有连接杆,所述连接杆的右端贯穿贯穿口延伸至支撑壳体的右侧,所述连接杆的右端设置有定位组件,所述空心管与定位组件连接。Preferably, the height adjustment assembly comprises a vertically arranged support housing, the bottom of the support housing is fixedly connected with the top of the support block, the inside of the support housing is provided with a vertically arranged threaded rod, the The bottom of the threaded rod is rotatably connected with a rotating seat, the bottom of the rotating seat is fixedly connected with the inner bottom wall of the support shell, the top of the threaded rod extends through and extends to the top of the support shell, and the threaded rod is located on the support A threaded ring is threadedly connected to the inside of the casing, a vertical through opening is provided on the right side of the support casing, a connecting rod is fixedly connected to the right side of the threaded ring, and the right end of the connecting rod passes through the through opening Extending to the right side of the support housing, the right end of the connecting rod is provided with a positioning assembly, and the hollow tube is connected with the positioning assembly.
优选的,所述贯穿口与连接杆相适配,所述螺纹杆的顶端固定连接有防滑旋钮。Preferably, the through hole is adapted to the connecting rod, and the top end of the threaded rod is fixedly connected with an anti-skid knob.
优选的,所述定位组件包括定位杆,所述定位杆的底端与支撑块的顶部固定连接,所述定位杆上套设有与其滑动连接的滑块,所述定位杆的顶端固定连接有定位块,所述滑块的右侧固定连接有固定杆,所述固定杆的右端与所述空心管的左侧固定连接。Preferably, the positioning assembly includes a positioning rod, the bottom end of the positioning rod is fixedly connected with the top of the support block, the positioning rod is sleeved with a sliding block slidably connected with it, and the top end of the positioning rod is fixedly connected with a A positioning block, the right side of the sliding block is fixedly connected with a fixing rod, and the right end of the fixing rod is fixedly connected with the left side of the hollow tube.
优选的,所述支撑限位组件包括限位杆,所述限位杆的底端与支撑块的顶部固定连接,所述限位杆上套设有与其滑动连接的限位块,所述限位块的右侧固定连接有支撑杆,所述支撑杆的右端与所述空心管的左侧固定连接,所述限位杆的顶端固定连接有挡块。Preferably, the support and limit assembly includes a limit rod, the bottom end of the limit rod is fixedly connected with the top of the support block, the limit block is sleeved with a limit block slidably connected with the limit rod, the limit The right side of the position block is fixedly connected with a support rod, the right end of the support rod is fixedly connected with the left side of the hollow tube, and the top end of the limit rod is fixedly connected with a stopper.
优选的,两个所述推杆的左侧均固定连接有防滑把手。Preferably, a non-slip handle is fixedly connected to the left side of the two push rods.
优选的,所述限位杆的横截面为方形,所述限位块与限位杆相适配。Preferably, the cross section of the limit rod is square, and the limit block is adapted to the limit rod.
3.有益效果3. Beneficial effects
相比于现有技术,本实用新型的优点在于:Compared with the prior art, the advantages of the present utility model are:
(1)本方案使用时,通过支撑块万向轮和推杆的相互配合将整个装置移动到农田的空白沟内,通过调节高度调节组件调节空心管的高度,从而满足对不同高度的植物,使得两组喷头在空白沟两侧需要浇水的植物的上方,接着将外接水源接在进水管上,水通过进水管进入空心管内,水再经喷头喷洒在植物上,且随着装置的移动可同时对两侧的植物进行浇水,使得工作效率更高。(1) When this scheme is used, the whole device is moved to the blank ditch of the farmland through the mutual cooperation of the support block universal wheel and the push rod, and the height of the hollow tube is adjusted by adjusting the height adjustment component, so as to meet the needs of plants of different heights. The two sets of sprinklers are placed above the plants that need to be watered on both sides of the blank ditch, and then the external water source is connected to the water inlet pipe. Plants on both sides can be watered at the same time, making work more efficient.
(2)通过对螺纹杆施加转动的力,可带动螺纹杆在转动座内转动,且通过连接杆和定位组件的相互配合,带动与螺纹杆螺纹连接的螺纹圈上下运动,从而实现空心管高度的调节,从而满足不同高度的植物的需求。(2) By applying a rotating force to the threaded rod, the threaded rod can be driven to rotate in the rotating seat, and through the mutual cooperation of the connecting rod and the positioning assembly, the threaded ring threadedly connected with the threaded rod can be driven to move up and down, thereby realizing the height of the hollow tube. adjustment to meet the needs of plants of different heights.
(3)通过定位杆、滑块、定位块和固定杆的相互配合可对空心管起到限位可导向的作用,避免其在升降的过程中发生角度的变化。(3) Through the mutual cooperation of the positioning rod, the sliding block, the positioning block and the fixing rod, the hollow tube can be limited and guided, so as to avoid the change of the angle during the lifting process.
(4)通过支撑杆可对空心管起到支撑的效果,避免其由于受力过重发生折断的现象,且通过限位杆、限位块的相互配合,不影响空心管的升降运动。(4) The hollow tube can be supported by the support rod to prevent it from breaking due to excessive force, and the mutual cooperation of the limit rod and the limit block does not affect the lifting movement of the hollow tube.
(5)通过防滑旋钮可方便螺纹杆的转动,通过防滑把手方便整个装置的移动。(5) The rotation of the threaded rod can be facilitated by the anti-skid knob, and the movement of the whole device can be facilitated by the anti-skid handle.
附图说明Description of drawings
图1为本实用新型的立体图;Fig. 1 is the perspective view of the utility model;
图2为本实用新型图1的正视剖面图;Fig. 2 is the front sectional view of Fig. 1 of the utility model;
图3为本实用新型中空心管与喷头连接的仰视图。FIG. 3 is a bottom view of the connection between the hollow tube and the nozzle of the utility model.
图中标号说明:Description of the labels in the figure:
1、支撑块;2、万向轮;3、推杆;4、高度调节组件;41、支撑壳体;42、螺纹杆;43、转动座;44、螺纹圈;45、贯穿口;46、连接杆;47、定位组件;471、定位杆;472、滑块;473、定位块;474、固定杆;48、防滑旋钮;5、空心管;6、喷头;7、进水管;8、支撑限位组件;81、限位杆;82、限位块;83、支撑杆;84、挡块;9、防滑把手。1. Support block; 2. Universal wheel; 3. Push rod; 4. Height adjustment assembly; 41. Support shell; 42. Threaded rod; 43. Rotary seat; 44. Threaded ring; connecting rod; 47, positioning assembly; 471, positioning rod; 472, slider; 473, positioning block; 474, fixing rod; 48, anti-skid knob; 5, hollow pipe; 6, nozzle; 7, water inlet pipe; 8, support Limit component; 81, limit rod; 82, limit block; 83, support rod; 84, stop; 9, non-slip handle.
具体实施方式Detailed ways
下面将结合本实用新型实施例中的附图,对本实用新型实施例中的技术方案进行清楚、完整地描述;显然,所描述的实施例仅仅是本实用新型一部分实施例,而不是全部的实施例,基于本实用新型中的实施例,本领域普通技术人员在没有做出创造性劳动前提下所获得的所有其他实施例,都属于本实用新型保护的范围。The technical solutions in the embodiments of the present utility model will be clearly and completely described below with reference to the accompanying drawings in the embodiments of the present utility model; obviously, the described embodiments are only a part of the embodiments of the present utility model, rather than all the implementations. For example, based on the embodiments of the present invention, all other embodiments obtained by persons of ordinary skill in the art without creative work shall fall within the protection scope of the present invention.
在本实用新型的描述中,需要说明的是,术语“上”、“下”、“内”、“外”“顶/底端”等指示的方位或位置关系为基于附图所示的方位或位置关系,仅是为了便于描述本实用新型和简化描述,而不是指示或暗示所指的装置或元件必须具有特定的方位、以特定的方位构造和操作,因此不能理解为对本实用新型的限制。此外,术语“第一”、“第二”仅用于描述目的,而不能理解为指示或暗示相对重要性。In the description of the present invention, it should be noted that the orientations or positional relationships indicated by the terms "upper", "lower", "inner", "outer", "top/bottom", etc. are based on the orientations shown in the accompanying drawings Or the positional relationship is only for the convenience of describing the present utility model and simplifying the description, rather than indicating or implying that the indicated device or element must have a specific orientation, be constructed and operated in a specific orientation, and therefore should not be construed as a limitation of the present utility model. . Furthermore, the terms "first" and "second" are used for descriptive purposes only and should not be construed to indicate or imply relative importance.
在本实用新型的描述中,需要说明的是,除非另有明确的规定和限定,术语“安装”、“设置有”、“套设/接”、“连接”等,应做广义理解,例如“连接”,可以是固定连接,也可以是可拆卸连接,或一体地连接;可以是机械连接,也可以是电连接;可以是直接相连,也可以通过中间媒介间接相连,可以是两个元件内部的连通。对于本领域的普通技术人员而言,可以具体情况理解上述术语在本实用新型中的具体含义。In the description of the present invention, it should be noted that, unless otherwise expressly specified and limited, the terms "installation", "provided with", "sleeve/connection", "connection", etc., should be understood in a broad sense, such as "Connection" can be a fixed connection, a detachable connection, or an integral connection; it can be a mechanical connection or an electrical connection; it can be a direct connection or an indirect connection through an intermediate medium, and it can be two elements Internal connectivity. For those of ordinary skill in the art, the specific meanings of the above terms in the present invention can be understood in specific situations.
请参阅图1-3,一种农业用植物快速浇水装置,包括支撑块1,支撑块1底部的前后均固定连接有万向轮2,支撑块1顶部的左侧固定连接有两个前后设置的推杆3,支撑块1的顶部的中央设置有高度调节组件4,高度调节组件4的右侧设置有空心管5,空心管5的底部的前后连通有两组等距离由前向后排列的喷头6,空心管5的顶部连通有进水管7,支撑块1的顶部且位于高度调节组件4的前方和后方均设置有支撑限位组件8,使用时,通过支撑块1万向轮2和推杆3的相互配合将整个装置移动到农田的空白沟内,通过调节高度调节组件4调节空心管5的高度,从而满足对不同高度的植物,使得两组喷头6在空白沟两侧需要浇水的植物的上方,接着将外接水源接在进水管7上,水通过进水管7进入空心管5内,水再经喷头6喷洒在植物上,且随着装置的移动可同时对两侧的植物进行浇水,使得工作效率更高。Please refer to Figure 1-3, a rapid watering device for agricultural plants, including a
进一步的,高度调节组件4包括竖直设置的支撑壳体41,支撑壳体41的底部与支撑块1的顶部固定连接,支撑壳体41的内部设置有竖直设置的螺纹杆42,螺纹杆42的底部转动连接有转动座43,转动座43的底部与支撑壳体41的内底壁固定连接,螺纹杆42的顶部贯穿延伸至支撑壳体41的上方,螺纹杆42上且位于支撑壳体41的内部螺纹连接的有螺纹圈44,支撑壳体41的右侧开设有竖直设置的贯穿口45,螺纹圈44的右侧固定连接有连接杆46,连接杆46的右端贯穿贯穿口45延伸至支撑壳体41的右侧,连接杆46的右端设置有定位组件47,空心管5与定位组件47连接,通过对螺纹杆42施加转动的力,可带动螺纹杆42在转动座43内转动,且通过连接杆46和定位组件47的相互配合,带动与螺纹杆42螺纹连接的螺纹圈44上下运动,从而实现空心管5高度的调节,从而满足不同高度的植物的需求。Further, the height adjustment assembly 4 includes a vertically arranged
进一步的,贯穿口45与连接杆46相适配,螺纹杆42的顶端固定连接有防滑旋钮48,通过防滑旋钮48可方便螺纹杆42的转动。Further, the
进一步的,定位组件47包括定位杆471,定位杆471的底端与支撑块1的顶部固定连接,定位杆471上套设有与其滑动连接的滑块472,定位杆471的顶端固定连接有定位块473,滑块472的右侧固定连接有固定杆474,固定杆474的右端与空心管5的左侧固定连接,通过定位杆471、滑块472、定位块473和固定杆474的相互配合可对空心管5起到限位可导向的作用,避免其在升降的过程中发生角度的变化。Further, the
进一步的,支撑限位组件8包括限位杆81,限位杆81的底端与支撑块1的顶部固定连接,限位杆81上套设有与其滑动连接的限位块82,限位块82的右侧固定连接有支撑杆83,支撑杆83的右端与空心管5的左侧固定连接,限位杆81的顶端固定连接有挡块84,通过支撑杆83可对空心管5起到支撑的效果,避免其由于受力过重发生折断的现象,且通过限位杆81、限位块82的相互配合,不影响空心管5的升降运动。Further, the support and limit assembly 8 includes a
进一步的,两个推杆3的左侧均固定连接有防滑把手9,通过防滑把手9方便整个装置的移动。Further, the left sides of the two
进一步的,限位杆81的横截面为方形,限位块82与限位杆81相适配,方便限位块82在限位杆81上活动。Further, the cross section of the
工作原理:使用时,通过支撑块1万向轮2、防滑把手9和推杆3的相互配合将整个装置移动到农田的空白沟内,接着根据需要浇水的植物的高度,对螺纹杆42施加转动的力,可带动螺纹杆42在转动座43内转动,且通过连接杆46和定位组件47的相互配合,带动与螺纹杆42螺纹连接的螺纹圈44上下运动,从而实现空心管5高度的调节,满足不同高度的植物的需求,使得两组喷头6在空白沟两侧需要浇水的植物的上方,接着将外接水源接在进水管7上,水通过进水管7进入空心管5内,水再经喷头6喷洒在植物上,同时工作人员对推杆3施加推动的力,带动整个装置的移动,随着装置的移动可同时对两侧的植物进行浇水,从而提高浇水效率。Working principle: When in use, the whole device is moved to the blank ditch of the farmland through the cooperation of the
以上所述,仅为本实用新型较佳的具体实施方式;但本实用新型的保护范围并不局限于此。任何熟悉本技术领域的技术人员在本实用新型揭露的技术范围内,根据本实用新型的技术方案及其改进构思加以等同替换或改变,都应涵盖在本实用新型的保护范围内。The above descriptions are only preferred specific embodiments of the present invention; however, the protection scope of the present invention is not limited thereto. Any person skilled in the art who is familiar with the technical scope disclosed by the present utility model, according to the technical solution of the present utility model and its improvement concept, equivalently replaces or changes, should be covered within the protection scope of the present utility model.
Claims (7)
Priority Applications (1)
| Application Number | Priority Date | Filing Date | Title |
|---|---|---|---|
| CN201922127802.XU CN211185289U (en) | 2019-12-02 | 2019-12-02 | Agricultural is with plant device that waters fast |
Applications Claiming Priority (1)
| Application Number | Priority Date | Filing Date | Title |
|---|---|---|---|
| CN201922127802.XU CN211185289U (en) | 2019-12-02 | 2019-12-02 | Agricultural is with plant device that waters fast |
Publications (1)
| Publication Number | Publication Date |
|---|---|
| CN211185289U true CN211185289U (en) | 2020-08-07 |
Family
ID=71860951
Family Applications (1)
| Application Number | Title | Priority Date | Filing Date |
|---|---|---|---|
| CN201922127802.XU Expired - Fee Related CN211185289U (en) | 2019-12-02 | 2019-12-02 | Agricultural is with plant device that waters fast |
Country Status (1)
| Country | Link |
|---|---|
| CN (1) | CN211185289U (en) |
Cited By (1)
| Publication number | Priority date | Publication date | Assignee | Title |
|---|---|---|---|---|
| CN114831002A (en) * | 2022-04-21 | 2022-08-02 | 广东恒辉生态园林有限公司 | A afforestation maintenance system for ecological garden |
-
2019
- 2019-12-02 CN CN201922127802.XU patent/CN211185289U/en not_active Expired - Fee Related
Cited By (1)
| Publication number | Priority date | Publication date | Assignee | Title |
|---|---|---|---|---|
| CN114831002A (en) * | 2022-04-21 | 2022-08-02 | 广东恒辉生态园林有限公司 | A afforestation maintenance system for ecological garden |
Similar Documents
| Publication | Publication Date | Title |
|---|---|---|
| CN207897525U (en) | A kind of Chinese garden planting case | |
| CN211185289U (en) | Agricultural is with plant device that waters fast | |
| CN109964912B (en) | Pesticide sprinkler is used in rice crops cultivation | |
| CN215223689U (en) | Watering device for view engineering | |
| CN210695665U (en) | Agricultural planting is with spouting medicine device | |
| CN106179829B (en) | A kind of efficient spray equipment of ornamental trees and shrubs lime white | |
| CN210470572U (en) | Angle-adjustable watering device for gardens | |
| CN207151441U (en) | A kind of afforestation watering device | |
| CN218736292U (en) | liquid spraying device | |
| CN211064468U (en) | Novel treegarden irrigation device | |
| CN210808631U (en) | A water spray device for agricultural irrigation | |
| CN210248109U (en) | Castanea henryi is planted and is used pesticide sprinkler | |
| CN212877005U (en) | Sprinkler for afforestation | |
| CN211064478U (en) | Gardens meadow is with adjustable sprinkling irrigation equipment | |
| CN211322395U (en) | Peach is planted and uses watering device | |
| CN209057895U (en) | A kind of weeding device for landscaping engineering | |
| CN209964855U (en) | Sprinkler is used in gardens with quantitative function of watering | |
| CN215738186U (en) | A garden flower stand with sprinkler function | |
| CN219644714U (en) | Irrigation device for agriculture and forestry | |
| CN112136657A (en) | A watering device for elm is planted | |
| CN223322660U (en) | A precise irrigation device for Chinese medicinal material planting | |
| CN218417767U (en) | Horticulture irrigation equipment | |
| CN218550770U (en) | Convenient two-way irrigation car that removes | |
| CN220235648U (en) | Spraying device and garden planting box | |
| CN218784201U (en) | A large-scale spraying device for agriculture |
Legal Events
| Date | Code | Title | Description |
|---|---|---|---|
| GR01 | Patent grant | ||
| GR01 | Patent grant | ||
| CF01 | Termination of patent right due to non-payment of annual fee | ||
| CF01 | Termination of patent right due to non-payment of annual fee |
Granted publication date: 20200807 Termination date: 20201202 |
