CN211182977U - A small wall-mounted distribution box - Google Patents
A small wall-mounted distribution box Download PDFInfo
- Publication number
- CN211182977U CN211182977U CN201922425492.XU CN201922425492U CN211182977U CN 211182977 U CN211182977 U CN 211182977U CN 201922425492 U CN201922425492 U CN 201922425492U CN 211182977 U CN211182977 U CN 211182977U
- Authority
- CN
- China
- Prior art keywords
- distribution box
- mounting base
- power distribution
- mounting
- small wall
- Prior art date
- Legal status (The legal status is an assumption and is not a legal conclusion. Google has not performed a legal analysis and makes no representation as to the accuracy of the status listed.)
- Expired - Fee Related
Links
- 238000009434 installation Methods 0.000 claims abstract description 40
- 238000005520 cutting process Methods 0.000 claims abstract description 28
- 230000017525 heat dissipation Effects 0.000 claims description 5
- 238000000034 method Methods 0.000 description 8
- 238000010586 diagram Methods 0.000 description 2
- 238000011900 installation process Methods 0.000 description 2
- 230000009286 beneficial effect Effects 0.000 description 1
- 238000001816 cooling Methods 0.000 description 1
- 238000009429 electrical wiring Methods 0.000 description 1
- 238000003780 insertion Methods 0.000 description 1
- 230000037431 insertion Effects 0.000 description 1
- 239000002184 metal Substances 0.000 description 1
- 238000012986 modification Methods 0.000 description 1
- 230000004048 modification Effects 0.000 description 1
- 230000001681 protective effect Effects 0.000 description 1
Images
Landscapes
- Connections Arranged To Contact A Plurality Of Conductors (AREA)
Abstract
本实用新型公开了一种小型壁挂式配电箱,包括配电箱本体和安装底座,配电箱本体的背面中部设置有截面为圆形的凸起,凸起的中部设置有定位槽,凸起的侧面设置有三个均匀分布有安装块,安装块靠近配电箱本体的一面均设置有扦插杆,安装底座的截面为圆形,安装底座的正面中部内凹形成安装槽,安装槽的底部设置有弹性部件,弹性部件连接有定位柱,安装底座的正面设置有三个沿安装底座的中轴线中心对称的支架,支架上均设置有与扦插杆匹配的扦插孔,安装底座通过定位柱伸入定位槽且旋转所述配电箱本体使得扦插杆伸入对应的扦插孔与安装底座连接。不会造成配电箱本体损坏,安装方便,需要更换配电箱时拆除方便快捷,再安装不会造成墙面或者支撑件破坏。
The utility model discloses a small wall-mounted power distribution box, comprising a power distribution box body and a mounting base. The middle part of the back of the power distribution box body is provided with a protrusion with a circular cross-section; the middle part of the protrusion is provided with a positioning groove. There are three evenly distributed mounting blocks on the side of the mounting block. The side of the mounting block close to the main body of the distribution box is provided with cutting rods. The cross-section of the mounting base is circular. An elastic part is provided, the elastic part is connected with a positioning column, the front of the installation base is provided with three brackets that are symmetrical along the central axis of the installation base, and the brackets are all provided with a cutting hole matching the cutting rod, and the installation base extends into the positioning column through the positioning column. Position the slot and rotate the distribution box body so that the cutting rod extends into the corresponding cutting hole and is connected to the installation base. It will not cause damage to the body of the distribution box, and is easy to install. When the distribution box needs to be replaced, it is convenient and quick to remove, and re-installation will not cause damage to the wall or support.
Description
技术领域technical field
本实用新型属于配电箱技术领域,涉及一种小型壁挂式配电箱。The utility model belongs to the technical field of distribution boxes, and relates to a small wall-mounted distribution box.
背景技术Background technique
配电箱是数据上的海量参数,一般是构成低压林按电气接线,要求将开关设备、测量仪表、保护电器和辅助设备组装在封闭或半封闭金属柜中或屏幅上,构成低压配电箱,正常运行时可借助手动或自动开关接通或分断电路,它可以合理的分配电能,方便对电路的开合操作,有较高的安全防护等级,能直观的显示电路的导通状态。The distribution box is a mass of parameters on the data, which generally constitutes a low-voltage forest. According to the electrical wiring, switchgear, measuring instruments, protective appliances and auxiliary equipment are required to be assembled in a closed or semi-enclosed metal cabinet or on the screen to form a low-voltage power distribution. During normal operation, the circuit can be turned on or off with the help of manual or automatic switches. It can reasonably distribute electric energy, facilitate the opening and closing operations of the circuit, and has a high safety protection level, which can intuitively display the conduction state of the circuit.
配电箱是配电系统中不可缺少的专用设备:按照安装方式的不同,可分为落地式和壁挂式两种类型;按照安装环境的不同,可分为户外用和户内用两种类型。Distribution box is an indispensable special equipment in power distribution system: according to the different installation methods, it can be divided into two types: floor-mounted and wall-mounted; according to different installation environments, it can be divided into two types: outdoor use and indoor use .
壁挂式配电箱通常安装在墙面上或是支撑件,在进行壁挂安装时,通常由安装人员直接在墙面上或者支撑件上打孔,然后利用膨胀螺栓穿过配电箱的底板进行安装,容易对配电箱造成损坏,且安装不方便,另外,在配电箱需要更换时,拆除不方便,再安装时会二次破坏墙面或者支撑件。The wall-mounted distribution box is usually installed on the wall or on the support. During wall-mounted installation, the installer usually punches holes directly on the wall or on the support, and then uses expansion bolts to pass through the bottom plate of the distribution box. Installation, it is easy to damage the distribution box, and the installation is inconvenient. In addition, when the distribution box needs to be replaced, it is inconvenient to dismantle, and the wall or support will be damaged twice during re-installation.
发明内容SUMMARY OF THE INVENTION
本实用新型的目的在于:提供了一种小型壁挂式配电箱,解决了壁挂式配电箱通常安装在墙面上或是支撑件,在进行壁挂安装时,通常由安装人员直接在墙面上或者支撑件上打孔,然后利用膨胀螺栓穿过配电箱的底板进行安装,容易对配电箱造成损坏,且安装不方便,另外,在配电箱需要更换时,拆除不方便,再安装时会二次破坏墙面或者支撑件的问题。The purpose of the utility model is to provide a small wall-mounted power distribution box, which solves the problem that the wall-mounted power distribution box is usually installed on the wall or a support. Drill holes on the upper or support parts, and then use expansion bolts to install through the bottom plate of the distribution box, which is easy to damage the distribution box and inconvenient to install. In addition, when the distribution box needs to be replaced, it is inconvenient to remove and then The problem of secondary damage to the wall or support during installation.
本实用新型采用的技术方案如下:The technical scheme adopted by the utility model is as follows:
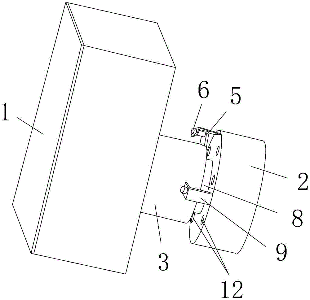
一种小型壁挂式配电箱,包括配电箱本体和安装底座,所述配电箱本体的背面中部设置有截面为圆形的凸起,所述凸起的中部设置有定位槽,所述凸起的侧面设置有三个均匀分布有安装块,所述安装块靠近配电箱本体的一面均设置有扦插杆,所述安装底座的截面为圆形,所述安装底座的正面中部内凹形成安装槽,所述安装槽的底部设置有弹性部件,所述弹性部件连接有定位柱,所述弹性部件处于自然状态时所述定位柱的部分位于安装槽外,所述安装底座的正面设置有三个沿安装底座的中轴线中心对称的支架,所述支架上均设置有与扦插杆匹配的扦插孔,所述安装底座通过定位柱伸入定位槽且旋转所述配电箱本体使得扦插杆伸入对应的扦插孔与安装底座连接。A small wall-mounted power distribution box, comprising a power distribution box body and a mounting base, the middle part of the back of the power distribution box body is provided with a protrusion with a circular cross-section, and the middle part of the protrusion is provided with a positioning groove, the The raised side is provided with three evenly distributed mounting blocks, the side of the mounting blocks close to the distribution box body is provided with cutting rods, the cross-section of the mounting base is circular, and the middle of the front of the mounting base is concave formed. An installation slot, the bottom of the installation slot is provided with an elastic member, the elastic member is connected with a positioning column, the part of the positioning column is located outside the installation slot when the elastic member is in a natural state, and the front of the installation base is provided with three A bracket that is symmetrical along the central axis of the installation base, and each bracket is provided with a cutting hole matching the cutting rod. The installation base extends into the positioning slot through the positioning column and rotates the distribution box body to make the cutting rod extend. Insert it into the corresponding slot and connect it to the mounting base.
进一步地,所述配电箱本体的背面设置有若干个阵列分布的散热孔。Further, the back of the distribution box body is provided with a number of heat dissipation holes distributed in an array.
进一步地,所述安装底座上设置有若干个安装孔。Further, the mounting base is provided with several mounting holes.
进一步地,所述安装块的宽度小于相邻两个所述支架之间的间距。Further, the width of the mounting block is smaller than the distance between two adjacent brackets.
进一步地,所述安装槽的侧壁沿深度方向设置有两个相互对称的滑槽,所述定位柱的侧壁设置有两个相互对称的滑块,所述定位柱通过滑块卡合到对应的滑槽与安装槽的侧壁滑动连接。Further, the side wall of the installation groove is provided with two mutually symmetrical sliding grooves along the depth direction, the side wall of the positioning column is provided with two mutually symmetrical sliders, and the positioning column is clamped to the sliding block through the slider. The corresponding sliding groove is slidably connected with the side wall of the installation groove.
进一步地,所述弹性部件为螺旋弹簧。Further, the elastic member is a coil spring.
进一步地,所述支架的截面为“L”型,所述支架的一端与安装底座的正面连接、另一端位于安装底座的上方,所述扦插孔设置在安装底座的另一端上。Further, the cross section of the bracket is "L"-shaped, one end of the bracket is connected to the front of the installation base, the other end is located above the installation base, and the skewer insertion hole is arranged on the other end of the installation base.
综上所述,由于采用了上述技术方案,本实用新型的有益效果是:To sum up, due to the adoption of the above-mentioned technical solutions, the beneficial effects of the present utility model are:
本实用新型一种小型壁挂式配电箱,通过螺栓将安装底座固定安装在墙面或者支撑件上,配电箱本体与安装底座可拆卸连接,不会造成配电箱本体损坏,安装方便,需要更换配电箱时拆除方便快捷,再安装不会造成墙面或者支撑件二次破坏。The utility model relates to a small wall-mounted power distribution box. The mounting base is fixedly mounted on the wall surface or the support by bolts, and the power distribution box body and the mounting base are detachably connected, so that the power distribution box body will not be damaged, and the installation is convenient. When the distribution box needs to be replaced, it is convenient and quick to remove, and re-installation will not cause secondary damage to the wall or support.
附图说明Description of drawings
为了更清楚地说明本实用新型实施例的技术方案,下面将对实施例中所需要使用的附图作简单地介绍,应当理解,以下附图仅示出了本实用新型的某些实施例,因此不应被看作是对范围的限定,对于本领域普通技术人员来讲,在不付出创造性劳动的前提下,还可以根据这些附图获得其他相关的附图,其中:In order to illustrate the technical solutions of the embodiments of the present invention more clearly, the accompanying drawings that need to be used in the embodiments will be briefly introduced below. It should be understood that the following drawings only show some embodiments of the present invention. Therefore, it should not be regarded as a limitation on the scope. For those of ordinary skill in the art, other related drawings can also be obtained from these drawings without creative efforts, wherein:
图1是本实用新型一种小型壁挂式配电箱的安装示意图;Fig. 1 is the installation schematic diagram of a small wall-mounted distribution box of the present invention;
图2是本实用新型的安装底座示意图;Fig. 2 is the schematic diagram of the installation base of the present utility model;
图3是本实用新型的安装底座剖示图;3 is a cross-sectional view of an installation base of the present invention;
图4是本实用新型的配电箱后视图;Fig. 4 is the rear view of the distribution box of the present invention;
图中标记:1-配电箱本体、2-安装底座、3-凸起、4-定位槽、5-安装块、6-扦插杆、7-弹性部件、8-定位柱、9-支架、10-扦插孔、11-散热孔、12-安装孔。Markings in the figure: 1- distribution box body, 2- mounting base, 3- protrusion, 4- positioning groove, 5- mounting block, 6- cutting rod, 7- elastic part, 8- positioning column, 9- bracket, 10- shovel jack, 11- cooling hole, 12- mounting hole.
具体实施方式Detailed ways
为了使本实用新型的目的、技术方案及优点更加清楚明白,以下结合附图及实施例,对本实用新型进行进一步详细说明。应当理解,此处所描述的具体实施例仅用以解释本实用新型,并不用于限定本实用新型,即所描述的实施例仅仅是本实用新型一部分实施例,而不是全部的实施例。通常在此处附图中描述和示出的本实用新型实施例的组件可以以各种不同的配置来布置和设计。In order to make the purpose, technical solutions and advantages of the present utility model more clearly understood, the present utility model will be further described in detail below with reference to the accompanying drawings and embodiments. It should be understood that the specific embodiments described herein are only used to explain the present invention, but not to limit the present invention, that is, the described embodiments are only a part of the embodiments of the present invention, rather than all the embodiments. The components of the embodiments of the invention generally described and illustrated in the drawings herein may be arranged and designed in a variety of different configurations.
因此,以下对在附图中提供的本实用新型的实施例的详细描述并非旨在限制要求保护的本实用新型的范围,而是仅仅表示本实用新型的选定实施例。基于本实用新型的实施例,本领域技术人员在没有做出创造性劳动的前提下所获得的所有其他实施例,都属于本实用新型保护的范围。Accordingly, the following detailed description of the embodiments of the invention provided in the accompanying drawings is not intended to limit the scope of the invention as claimed, but is merely representative of selected embodiments of the invention. Based on the embodiments of the present invention, all other embodiments obtained by those skilled in the art without creative work fall within the protection scope of the present invention.
需要说明的是,术语“第一”和“第二”等之类的关系术语仅仅用来将一个实体或者操作与另一个实体或操作区分开来,而不一定要求或者暗示这些实体或操作之间存在任何这种实际的关系或者顺序。而且,术语“包括”、“包含”或者其任何其他变体意在涵盖非排他性的包含,从而使得包括一系列要素的过程、方法、物品或者设备不仅包括那些要素,而且还包括没有明确列出的其他要素,或者是还包括为这种过程、方法、物品或者设备所固有的要素。在没有更多限制的情况下,由语句“包括一个……”限定的要素,并不排除在包括所述要素的过程、方法、物品或者设备中还存在另外的相同要素。It should be noted that relational terms such as the terms "first" and "second" are only used to distinguish one entity or operation from another entity or operation, and do not necessarily require or imply any relationship between these entities or operations. any such actual relationship or sequence exists. Moreover, the terms "comprising", "comprising" or any other variation thereof are intended to encompass a non-exclusive inclusion such that a process, method, article or device that includes a list of elements includes not only those elements, but also includes not explicitly listed or other elements inherent to such a process, method, article or apparatus. Without further limitation, an element qualified by the phrase "comprising a..." does not preclude the presence of additional identical elements in a process, method, article or apparatus that includes the element.
实施例1Example 1
如图1、图2和图4所示,本实用新型较佳实施例提供的一种小型壁挂式配电箱,包括配电箱本体1和安装底座2,所述配电箱本体1的背面中部设置有截面为圆形的凸起3,所述凸起3的中部设置有定位槽4,所述凸起3的侧面设置有三个均匀分布有安装块5,所述安装块5靠近配电箱本体1的一面均设置有扦插杆6,所述安装底座2的截面为圆形,所述安装底座2的正面中部内凹形成安装槽,所述安装槽的底部设置有弹性部件7,所述弹性部件7连接有定位柱8,所述弹性部件7处于自然状态时所述定位柱8的部分位于安装槽外,所述安装底座2的正面设置有三个沿安装底座2的中轴线中心对称的支架9,所述支架9上均设置有与扦插杆6匹配的扦插孔10,所述安装底座2通过定位柱8伸入定位槽4且旋转所述配电箱本体1使得扦插杆6伸入对应的扦插孔10与安装底座2连接。As shown in Figures 1, 2 and 4, a small wall-mounted power distribution box provided by a preferred embodiment of the present invention includes a power
本实用新型的安装过程为:首先通过螺栓将安装底座2固定在墙面或者支撑件上,然后拿起将配电箱本体1使得定位槽4与定位柱8进行对准,使得定位柱8伸入定位槽4中,施加力使得定位柱8挤压弹性部件7,使得安装块5以及扦插杆6位于支架9的下方,然后转动配电箱本体1使得扦插杆6与对应的扦插孔10对准,然后松开,弹性部件7复位带动扦插杆6穿过对应的扦插孔10,从而实现配电箱本体1与安装底座2连接,安装的过程中不会造成配电箱本体1损坏,安装方便。在需要更换配电箱时,只需要施加力使得配电箱本体1挤压弹性部件7,扦插杆6伸出对应的扦插孔10,然后转动配电箱本体1直到能够取下配电箱本体1为止,然后安装上述的安装步骤再次安装新的配电箱本体1即可,拆除方便快捷,再安装不会造成墙面或者支撑件二次破坏。The installation process of the present invention is as follows: firstly, the
具体地,所述安装块5的宽度小于相邻两个所述支架9之间的间距。实施时,保证安装块5能够通过相邻两个所述支架9位于支架9的下方。Specifically, the width of the
优选地,所述弹性部件7为螺旋弹簧。Preferably, the
具体地,所述支架9的截面为“L”型,所述支架9的一端与安装底座2的正面连接、另一端位于安装底座2的上方,所述扦插孔10设置在安装底座2的另一端上。Specifically, the cross-section of the
实施例2Example 2
在实施例1的基础之上,如图4所示,所述配电箱本体1的背面设置有若干个阵列分布的散热孔11。On the basis of
本实施例中,配电箱本体1的背面与墙面或者支撑件之间存在一定的间隙,散热孔11设置在配电箱本体1的背面进行隐藏,整体较为美观,保证配电箱本体1中电子元器件产生的热量通过散热孔11排出。In this embodiment, there is a certain gap between the back of the
实施例3Example 3
在实施例1的基础之上,如图1、图2所示,所述安装底座2上设置有若干个安装孔12。On the basis of
本实施例中,安装底座2通过螺栓穿过对应的安装孔12与墙面或支撑件进行连接,便于提高安装效率。In this embodiment, the mounting
实施例4Example 4
在实施例1的基础之上,所述安装槽的侧壁沿深度方向设置有两个相互对称的滑槽,所述定位柱8的侧壁设置有两个相互对称的滑块,所述定位柱8通过滑块卡合到对应的滑槽与安装槽的侧壁滑动连接。On the basis of
本实施例中,便于通过滑槽限定定位柱8的方向,避免定位柱8的方向出现偏差导致扦插杆6与扦插孔10之间难以对准的情况出现。In this embodiment, it is convenient to define the direction of the
以上所述仅为本实用新型的较佳实施例而已,并不用以限制本实用新型的保护范围,任何熟悉本领域的技术人员在本实用新型的精神和原则之内所作的任何修改、等同替换和改进等,均应包含在本实用新型的保护范围之内。The above descriptions are only preferred embodiments of the present invention, and are not intended to limit the protection scope of the present invention. Any modifications or equivalent replacements made by those skilled in the art within the spirit and principles of the present invention and improvements, etc., should be included within the scope of protection of the present invention.
Claims (7)
Priority Applications (1)
| Application Number | Priority Date | Filing Date | Title |
|---|---|---|---|
| CN201922425492.XU CN211182977U (en) | 2019-12-30 | 2019-12-30 | A small wall-mounted distribution box |
Applications Claiming Priority (1)
| Application Number | Priority Date | Filing Date | Title |
|---|---|---|---|
| CN201922425492.XU CN211182977U (en) | 2019-12-30 | 2019-12-30 | A small wall-mounted distribution box |
Publications (1)
| Publication Number | Publication Date |
|---|---|
| CN211182977U true CN211182977U (en) | 2020-08-04 |
Family
ID=71801271
Family Applications (1)
| Application Number | Title | Priority Date | Filing Date |
|---|---|---|---|
| CN201922425492.XU Expired - Fee Related CN211182977U (en) | 2019-12-30 | 2019-12-30 | A small wall-mounted distribution box |
Country Status (1)
| Country | Link |
|---|---|
| CN (1) | CN211182977U (en) |
Cited By (1)
| Publication number | Priority date | Publication date | Assignee | Title |
|---|---|---|---|---|
| CN113133290A (en) * | 2021-05-29 | 2021-07-16 | 深圳市中电强能科技有限公司 | Ultrathin electronic box |
-
2019
- 2019-12-30 CN CN201922425492.XU patent/CN211182977U/en not_active Expired - Fee Related
Cited By (1)
| Publication number | Priority date | Publication date | Assignee | Title |
|---|---|---|---|---|
| CN113133290A (en) * | 2021-05-29 | 2021-07-16 | 深圳市中电强能科技有限公司 | Ultrathin electronic box |
Similar Documents
| Publication | Publication Date | Title |
|---|---|---|
| CN211182977U (en) | A small wall-mounted distribution box | |
| CN216597205U (en) | Transformer base convenient to installation | |
| CN110799011A (en) | Strong heat dissipation data processing cabinet convenient to dismantle | |
| CN218040438U (en) | Automatic control processor for manual operating mechanism of ring main unit | |
| CN209088350U (en) | A kind of component fixed structure for distribution box | |
| CN209981128U (en) | An easy-to-install low-voltage circuit breaker | |
| CN211088870U (en) | A dual-power distribution box based on dual-power fault data monitoring | |
| CN216680618U (en) | A special leakage pin soldering fixture for planar transformers | |
| CN215452065U (en) | Block terminal convenient to installation | |
| CN112310835B (en) | Power distribution cabinet with wire arranging mechanism | |
| CN209930652U (en) | A splicable electrical control cabinet that is easy to maintain | |
| CN220652175U (en) | Energy storage battery for primary frequency support of wind power grid connection | |
| CN206864888U (en) | A kind of electric control cabinet being easily installed | |
| CN221885836U (en) | Heat radiation structure of high-current low-voltage cabinet | |
| CN219419993U (en) | A low-voltage complete distribution box | |
| CN219959795U (en) | Mounting structure of undisturbed stable power supply device | |
| CN209372961U (en) | A kind of three-phase current electric voltage frequency table being easily installed | |
| CN219959855U (en) | An electric power distribution box that is easy to assemble | |
| CN216773988U (en) | Distribution box capable of controlling temperature and humidity | |
| CN216489361U (en) | Block terminal for electric power engineering | |
| CN221652050U (en) | A mother coupling cabinet that is easy to install | |
| CN217656263U (en) | Block terminal is with mounting bracket of being convenient for adjustment | |
| CN210779669U (en) | Supporting structure of block terminal | |
| CN221929011U (en) | A quick disassembly and assembly structure for the internal mounting plate of a power distribution cabinet | |
| CN217882324U (en) | An adjustable and easy-to-arrange power distribution control cabinet |
Legal Events
| Date | Code | Title | Description |
|---|---|---|---|
| GR01 | Patent grant | ||
| GR01 | Patent grant | ||
| CF01 | Termination of patent right due to non-payment of annual fee |
Granted publication date: 20200804 |
|
| CF01 | Termination of patent right due to non-payment of annual fee |
