CN211176634U - 一种远近光一体式led车灯 - Google Patents
一种远近光一体式led车灯 Download PDFInfo
- Publication number
- CN211176634U CN211176634U CN202020105513.XU CN202020105513U CN211176634U CN 211176634 U CN211176634 U CN 211176634U CN 202020105513 U CN202020105513 U CN 202020105513U CN 211176634 U CN211176634 U CN 211176634U
- Authority
- CN
- China
- Prior art keywords
- light
- light source
- reflector
- low
- distance
- Prior art date
- Legal status (The legal status is an assumption and is not a legal conclusion. Google has not performed a legal analysis and makes no representation as to the accuracy of the status listed.)
- Active
Links
- 230000000903 blocking effect Effects 0.000 claims abstract description 20
- 239000011324 bead Substances 0.000 claims description 6
- 230000017525 heat dissipation Effects 0.000 claims description 4
- 230000000694 effects Effects 0.000 abstract description 4
- 238000005286 illumination Methods 0.000 description 4
- 239000011248 coating agent Substances 0.000 description 2
- 238000000576 coating method Methods 0.000 description 2
- 238000005516 engineering process Methods 0.000 description 2
- 229910052736 halogen Inorganic materials 0.000 description 2
- 150000002367 halogens Chemical class 0.000 description 2
- 239000011049 pearl Substances 0.000 description 2
- 229910052724 xenon Inorganic materials 0.000 description 2
- FHNFHKCVQCLJFQ-UHFFFAOYSA-N xenon atom Chemical compound [Xe] FHNFHKCVQCLJFQ-UHFFFAOYSA-N 0.000 description 2
- 229910000838 Al alloy Inorganic materials 0.000 description 1
- 102100036621 Glucosylceramide transporter ABCA12 Human genes 0.000 description 1
- 101100433776 Homo sapiens ABCA12 gene Proteins 0.000 description 1
- 230000004888 barrier function Effects 0.000 description 1
- 238000001816 cooling Methods 0.000 description 1
- 238000010586 diagram Methods 0.000 description 1
- 238000005265 energy consumption Methods 0.000 description 1
- 239000008187 granular material Substances 0.000 description 1
- 239000000463 material Substances 0.000 description 1
- 230000005855 radiation Effects 0.000 description 1
Images
Landscapes
- Non-Portable Lighting Devices Or Systems Thereof (AREA)
Abstract
本实用新型公开了一种远近光一体式LED车灯,包括壳体和依次设置在壳体内的反射镜、LED光源和透镜,光源包括近光光源和远光光源,反射镜包括近光反射镜和远光反射镜,在近光光源与透镜之间设置有挡光片,近光光源发出的光经近光反射镜后汇聚于挡光片上然后经透镜射出并形成近光光型;远光光源设置在远光反射镜的焦点处,远光光源发出的光经远光反射镜后再经过透镜射出形成远光光型。该装置结构简单,无需光型切换活动装置和散热风扇等结构,极大地降低了装置的繁杂,降低了装置成本,同时切换光型时光线稳定性较高,照明效果良好。
Description
技术领域
本实用新型涉及一种车辆照明技术,具体涉及一种结构简单的远近光一体式LED车灯。
背景技术
现有汽车普遍使用的透镜组有四种形式:1.卤素灯泡透镜组;2.氙气灯泡透镜组;3.LED光源透镜组;4.激光光源透镜组。卤素灯泡的光强和光色在透镜组里是最低的,氙灯透镜组需要有高压镇流器,高压线束需进行特殊保护,成本偏高;激光透镜组光源技术复杂,成本最高,尽在特定的豪华车上使用。因此LED光源透镜组将逐渐占据主要市场,尤其远近光一体式LED车灯是中高端车型普遍使用的配件,随着LED技术的提高和节省能源的要求,将大量的使用在未来汽车照明灯具中,如授权公告号为CN207688022U的实用新型专利即公开了一种远近光一体式车灯,采用了LED光源作为远近光灯光的光源,成本低,照明小效果良好,但是该结构中需要设置挡光结构来实现光型的切换,结构相对复杂,稳定性较差;同时由于LED光源温度较高,需要搭载风扇进行冷却,进一步增加了透镜组产品的复杂程度,降低了可靠性和稳定性。基于此,需要一种能够克服上述不足的一体式LED车灯。
实用新型内容
本实用新型的目的是提供一种远近光一体式LED车灯,该装置结构简单,无需光型切换活动装置和散热风扇等结构,极大地降低了装置的繁杂,降低了装置成本,同时切换光型时光线稳定性较高,照明效果良好。
为了实现上述目的,本实用新型采取如下技术方案:
一种远近光一体式LED车灯,包括壳体和依次设置在壳体内的反射镜、LED光源和透镜,所述光源包括近光光源和远光光源,所述反射镜包括近光反射镜和远光反射镜,在近光光源与透镜之间设置有挡光片,所述近光光源发出的光经近光反射镜后汇聚于挡光片上然后经透镜射出并形成近光光型;所述远光光源设置在远光反射镜的焦点处,所述远光光源发出的光经远光反射镜后再经过透镜射出形成远光光型。
优选的,所述壳体包括半圆形的上壳体和下壳体,在下壳体的前端留有第一弧形凹槽,在上壳体的对应位置留有第二弧形凹槽,所述透镜上留有安装板,所述安装板能够插入第一弧形凹槽和第二弧形凹槽内。
优选的,在所述上壳体上留有限位孔,在所述透镜上设有限位卡,所述限位卡能够插入限位孔内。
优选的,所述近光光源包括若干近光LED灯珠,LED灯珠设置在近光电路板上,近光电路板设置在近光支架上,在近光支架上还设有挡光片。
优选的,在所述近光支架的后端设有若干散热片。
优选的,在所述上壳体后连接有弧形安装板,所述近光反射镜设置在弧形安装板上,近光反射镜为自由曲面的反射镜。
优选的,所述远光灯LED光源包括远光电路板,远光电路板上设有若干远光LED灯珠,远光电路板设置在远光支架上,在远光支架上还设有远光反射镜。
优选的,所述远光反射镜为多个自由曲面的反射镜组合而成。
本实用新型的技术方案中,保留了LED光源,保证了前照灯的光色和强度,照明宽度、光型均匀性,整体照明效果稳定不变,且摒弃了光型切换结构和风扇结构,降低了成本,也降低了能耗。另外,当需要切换远光时,近光同时一直保持点亮不灭,保证了光线的稳定性,保证了更好的照明效果。远光LED光源与近光LED光源分别固定在不同的支架上,保证了足够的散热面积,避免LED光源颗粒之间热量的堆积,且整个远近光一体式LED光源透镜组没有活动零部件,保证了更好的稳定性和可靠性,操作更加简单、便捷。
附图说明
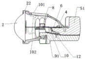
图1是本实用新型结构示意图;
图2是本实用新型剖视示意图;
图3是本实用新型爆炸示意图;
图4是近光反射镜的结构示意图;
图5是远光反射镜的结构示意图。
具体实施方式
下面结合附图,对本实用新型做进一步说明:
如图1至图5所示,本远近光一体式LED车灯包括壳体1,壳体1由半圆形的上壳体101和下壳体102组合而成,上壳体101和下壳体102能够扣合在一起,二者可通过在上下壳体上预留螺栓孔,然后采用螺栓将二者进行固定。
上壳体101和下壳体102扣合在一起后,前端贴合形成圆形,在下壳体的前端留有第一弧形凹槽103,在上壳体的对应位置留有第二弧形凹槽104,第一弧形凹槽103和第二弧形凹槽104组合形成透镜安装凹槽,透镜2上设有与第一弧形凹槽和第二弧形凹槽对应的安装板21,安装板能够卡合在凹槽内以将透镜2固定在壳体1上,进一步的,在上壳体101上还留有矩形限位孔105,在圆形透镜2上留有与限位孔105对应的矩形限位卡22,当将圆形透镜2放置在透镜安装凹槽内时,透镜2上的矩形限位卡22恰好位于限位孔105内,透镜安装凹槽结合限位装置对透镜起到支撑限位作用,透镜用于折射和反射来自LED光源和反射镜的光线。
在上壳体101的后方一体制作成型的连接有弧形安装板3,在弧形安装板3内侧固定有近光反射镜4,近光反射镜采用自由曲面的反射面。在弧形安装板3上通过螺栓固定在近光支架5,在近光支架5的上表面上安装有近光电路板6,近光电路板6上安装有近光LED灯源7,近光电路板的另一端直接与汽车电源相连,能够在汽车电源的驱动下使LED灯源发光。在近光支架上且位于近光LED灯源7的前方安装有挡光片8,挡光片8具有一定的弧度,具体弧度数值根据实际需求进行设定,挡光片8用于遮挡近光反射镜4反射的光,实现车辆照明近光光型。近光LED光源7和挡光片8位于上壳体101的包覆内。近光LED光源7发出的光经过近光反射镜4的反射后汇聚于挡光片8上,然后再经过挡光片反射到透镜2上,挡光片8位于透镜3的焦点处,透镜将光线折射和反射后发散出去,形成近光光型。
在近光支架5的下表面安装有远光支架9,在远光支架9的上表面上安装有远光电路板10,在远光电路板10上固定有远光LED灯珠11,远光电路板及其上的远光LED光源经近光电路板与汽车电源连通,在远光LED灯珠11的后方且位于远光支架9上安装有远光反射镜12,远光反射镜12为多个弧形自由曲面的反射面,结构如图5所示。远光反射镜位于挡光片的后方下侧。
在需要近光照明光型时,控制系统将近光电路接通,近光LED光源7亮起,光线经过近光反射镜4后汇聚到挡光片8上,然后再反射至透镜2处,经过透镜折射和反射后发射出去,此时即形成近光照明光型;当需要远光照明光型时,控制系统在接通近光电路的前提下,将远光电路接通,远光LED光源11发光,且形成的光线直接经过远光反射镜12反射至透镜2处,透镜将光源折射和反射出去,与近光灯一起形成远光照明光型,当再次需要近光照明光型时,只需要将远光电路断开即可,单独接通远光电路,远光电路无法闭合发光。在上述远近光切换的过程中,无需切换光型的活动零件,同时远光LED光源11与近光LED光源7分别固定在不同的支架上,保证了足够的散热面积,避免LED光源颗粒之间热量的堆积,也省去了散热风扇的结构,能够极大地降低车灯的成本,简化车灯结构,同时在切换光型时,光线更加稳定,照明效果良好。
进一步的,在上壳体上留有散热孔13,增加光源的散热途径。
进一步的,在近光支架5的后侧安装有多个并排排列的散热叶片51,散热叶片51通常采用铝合金等易散热材质制作而成,如可以采用ABC12型号的散热片。在近光支架5的下表面上且位于近光电路板6的下方也设有散热叶片,加大散热程度,提升装置的使用效果。
在远光支架9上也设有散热叶片91,其用于给远光光源散热。
上述实施例只是对本新型构思和实现的说明,并非对其进行限制,在本发明构思下,未经实质变换的技术方案仍然在保护范围内。
Claims (8)
1.一种远近光一体式LED车灯,包括壳体和依次设置在壳体内的反射镜、LED光源和透镜,其特征在于,所述光源包括近光光源和远光光源,所述反射镜包括近光反射镜和远光反射镜,在近光光源与透镜之间设置有挡光片,所述近光光源发出的光经近光反射镜后汇聚于挡光片上然后经透镜射出并形成近光光型;所述远光光源设置在远光反射镜的焦点处,所述远光光源发出的光经远光反射镜后再经过透镜射出形成远光光型。
2.如权利要求1所述的远近光一体式LED车灯,其特征在于,所述壳体包括半圆形的上壳体和下壳体,在下壳体的前端留有第一弧形凹槽,在上壳体的对应位置留有第二弧形凹槽,所述透镜上留有安装板,所述安装板能够插入第一弧形凹槽和第二弧形凹槽内。
3.如权利要求2所述的远近光一体式LED车灯,其特征在于,在所述上壳体上留有限位孔,在所述透镜上设有限位卡,所述限位卡能够插入限位孔内。
4.如权利要求1、2或者3所述的远近光一体式LED车灯,其特征在于,所述近光光源包括若干近光LED灯珠,LED灯珠设置在近光电路板上,近光电路板设置在近光支架上,所述挡光片设置在近光支架上。
5.如权利要求4所述的远近光一体式LED车灯,其特征在于,在所述近光支架上还设有若干散热片。
6.如权利要求2所述的远近光一体式LED车灯,其特征在于,在所述上壳体后连接有弧形安装板,所述近光反射镜设置在弧形安装板上,近光反射镜为自由曲面的反射。
7.如权利要求1、2或者3所述的远近光一体式LED车灯,其特征在于,所述远光光源包括远光电路板,远光电路板上设有若干远光LED灯珠,远光电路板设置在远光支架上,在远光支架上还设有所述远光反射镜。
8.如权利要求7所述的远近光一体式LED车灯,其特征在于,所述远光反射镜为多个自由曲面的反射镜组合而成。
Priority Applications (1)
| Application Number | Priority Date | Filing Date | Title |
|---|---|---|---|
| CN202020105513.XU CN211176634U (zh) | 2020-01-17 | 2020-01-17 | 一种远近光一体式led车灯 |
Applications Claiming Priority (1)
| Application Number | Priority Date | Filing Date | Title |
|---|---|---|---|
| CN202020105513.XU CN211176634U (zh) | 2020-01-17 | 2020-01-17 | 一种远近光一体式led车灯 |
Publications (1)
| Publication Number | Publication Date |
|---|---|
| CN211176634U true CN211176634U (zh) | 2020-08-04 |
Family
ID=71801627
Family Applications (1)
| Application Number | Title | Priority Date | Filing Date |
|---|---|---|---|
| CN202020105513.XU Active CN211176634U (zh) | 2020-01-17 | 2020-01-17 | 一种远近光一体式led车灯 |
Country Status (1)
| Country | Link |
|---|---|
| CN (1) | CN211176634U (zh) |
Cited By (1)
| Publication number | Priority date | Publication date | Assignee | Title |
|---|---|---|---|---|
| CN111503592A (zh) * | 2020-01-17 | 2020-08-07 | 保定星光鸿鹄汽车灯具有限公司 | 一种远近光一体led式车灯 |
-
2020
- 2020-01-17 CN CN202020105513.XU patent/CN211176634U/zh active Active
Cited By (1)
| Publication number | Priority date | Publication date | Assignee | Title |
|---|---|---|---|---|
| CN111503592A (zh) * | 2020-01-17 | 2020-08-07 | 保定星光鸿鹄汽车灯具有限公司 | 一种远近光一体led式车灯 |
Similar Documents
| Publication | Publication Date | Title |
|---|---|---|
| CN111503591B (zh) | 一种远近光一体的车灯模组及汽车 | |
| CN210740276U (zh) | 一种近光反射型前照灯模组和车辆 | |
| CN102200245A (zh) | 远、近光二合一的led车用前大灯 | |
| CN211176634U (zh) | 一种远近光一体式led车灯 | |
| CN110822366A (zh) | 一种汽车前照灯 | |
| CN201909257U (zh) | 一种led汽车近光灯 | |
| TWM587725U (zh) | 照明結構 | |
| CN210601443U (zh) | 一种汽车前照灯 | |
| CN108443823A (zh) | 一种自由曲面反光激光车灯 | |
| CN100549501C (zh) | 投射式光学系统结构 | |
| CN208186233U (zh) | 一种汽车用防起雾高聚光车灯 | |
| CN213712961U (zh) | 一种汽车大灯灯泡 | |
| CN214745478U (zh) | 一种汽车前照灯透镜系统 | |
| CN210441138U (zh) | 一种灯模组结构 | |
| CN102095150A (zh) | 一种led汽车近光灯 | |
| CN216047403U (zh) | 一种摩托车led前照灯 | |
| CN209944215U (zh) | 一种前照灯光源组件、散热机构、变光机构、前照灯 | |
| CN210979684U (zh) | 一种智能汽车前照灯 | |
| WO2011116635A1 (zh) | 一种led灯发光单元及所形成的汽车、摩托车led前照灯 | |
| CN111503592A (zh) | 一种远近光一体led式车灯 | |
| CN210398746U (zh) | 一种电动车摩托车led透镜大灯 | |
| CN209026723U (zh) | 一种用于车辆的大角度led工作灯 | |
| CN218993173U (zh) | 一种用于车灯的反光碗结构 | |
| CN207350116U (zh) | 汽车用远近光灯一体led大灯 | |
| CN218032945U (zh) | 新型汽车用透镜 |
Legal Events
| Date | Code | Title | Description |
|---|---|---|---|
| GR01 | Patent grant | ||
| GR01 | Patent grant |