CN211172138U - A water conservancy project dredging device - Google Patents
A water conservancy project dredging device Download PDFInfo
- Publication number
- CN211172138U CN211172138U CN201921532969.8U CN201921532969U CN211172138U CN 211172138 U CN211172138 U CN 211172138U CN 201921532969 U CN201921532969 U CN 201921532969U CN 211172138 U CN211172138 U CN 211172138U
- Authority
- CN
- China
- Prior art keywords
- fixedly installed
- silt
- storage box
- support plate
- pipe
- Prior art date
- Legal status (The legal status is an assumption and is not a legal conclusion. Google has not performed a legal analysis and makes no representation as to the accuracy of the status listed.)
- Expired - Fee Related
Links
Images
Landscapes
- Filtration Of Liquid (AREA)
Abstract
本实用新型公开了一种水利工程清淤装置,现有清淤装置大多是通过大功率抽水泵对河道中淤泥进行清理,抽水泵在对淤泥抽取时也会将河水抽取出来,使得人工还需对污泥进行过滤,且抽淤泥时碎石子等硬物会对抽水泵造成损坏,现提出如下方案,其包括底座、收纳箱和吸淤泵,底座下端固定安装有车轮,车轮有四个且呈矩形阵列分布,底座左侧固定安装有牵引架,底座上端左侧固定安装有收纳箱,收纳箱右侧固定安装有支撑柱,支撑柱右侧固定安装有支撑板,支撑板上端中部固定安装有抽淤管,抽淤管为L形,抽淤管右侧底端固定安装有过滤网。本实用新型通过抽淤管下端等距固定安装的若干排水柱可以将河水过滤流入河中,提高淤泥清洁效率。
The utility model discloses a silt removal device for a water conservancy project. Most of the existing silt removal devices use a high-power pumping pump to clean the silt in the river channel. The sludge is filtered, and hard objects such as gravel will cause damage to the suction pump when the sludge is pumped. The following scheme is now proposed, which includes a base, a storage box and a suction pump. The lower end of the base is fixedly installed with wheels, and the wheels have four And it is distributed in a rectangular array, a traction frame is fixedly installed on the left side of the base, a storage box is fixedly installed on the left side of the upper end of the base, a support column is fixedly installed on the right side of the storage box, a support plate is fixedly installed on the right side of the support column, and the middle of the upper end of the support plate is fixed. A sludge extraction pipe is installed, the sludge extraction pipe is L-shaped, and a filter screen is fixedly installed at the bottom end of the right side of the sludge extraction pipe. The utility model can filter the river water and flow into the river through several drainage columns fixedly installed at the lower end of the silt suction pipe, thereby improving the silt cleaning efficiency.
Description
技术领域technical field
本实用新型涉及清淤设备技术领域,尤其涉及一种水利工程清淤装置。The utility model relates to the technical field of dredging equipment, in particular to a dredging device for water conservancy projects.
背景技术Background technique
水利工程是用于控制和调配自然界的地表水和地下水,从而达到除害兴利的目的而修建的工程。水利工程中存在着大量淤泥,淤泥会抬高河道水位,在下暴雨时河道水位得不到控制会从河道中漫出,对环境造成污染和人民经济带来损失,所以需要对河道淤泥定期清理,避免大量淤泥堆积。A water conservancy project is a project built to control and allocate natural surface water and groundwater, so as to achieve the purpose of eliminating harm and increasing profits. There is a lot of silt in water conservancy projects. The silt will raise the water level of the river. When the water level of the river is not controlled, it will overflow from the river, causing pollution to the environment and losses to the people's economy. Therefore, it is necessary to regularly clean up the silt in the river. Avoid large deposits of silt.
但是现有的清淤装置大多通过大功率抽水泵抽取淤泥对淤泥进行挖除,可是抽水泵对淤泥进行抽取时可能会引起管道堵塞,且淤泥中含有的碎石子可能对抽水泵造成损坏,在淤泥被抽出堆积在岸边时会对周边空气造成污染,且影响居民生活。However, most of the existing dredging devices use a high-power suction pump to extract the sludge to remove the sludge. However, when the suction pump extracts the sludge, the pipeline may be blocked, and the gravel contained in the sludge may cause damage to the suction pump. When the silt is pumped out and accumulated on the shore, it will pollute the surrounding air and affect the lives of residents.
目前,为了解决上述中存在的问题,因此,我们提出一种水利工程清淤装置。At present, in order to solve the above problems, we propose a dredging device for water conservancy projects.
实用新型内容Utility model content
本实用新型提出的一种水利工程清淤装置,解决了抽水泵清理淤泥时会淤泥中含有大量河水,在收集淤泥时还需对淤泥再次过滤和清理淤泥时淤泥堆积对空气污染和影响周边居民生活的问题。The utility model proposes a silt removal device for a water conservancy project, which solves the problem that when a pumping pump cleans the silt, the silt will contain a large amount of river water, and when collecting the silt, it is necessary to filter the silt again and clean the silt. life issues.
为了实现上述目的,本实用新型采用了如下技术方案:In order to achieve the above-mentioned purpose, the utility model adopts the following technical solutions:
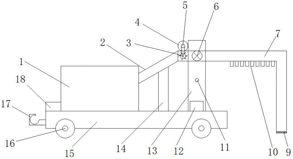
一种水利工程清淤装置,包括底座、收纳箱和抽淤管;A silt removal device for water conservancy projects, comprising a base, a storage box and a silt extraction pipe;
底座下端固定安装有车轮,车轮有四个且呈矩形阵列分布,底座左侧固定安装有牵引架,底座上端左侧固定安装有收纳箱,收纳箱右侧固定安装有支撑柱,支撑柱右侧固定安装有支撑板;Wheels are fixedly installed on the lower end of the base, four wheels are arranged in a rectangular array, a traction frame is fixedly installed on the left side of the base, a storage box is fixedly installed on the left side of the upper end of the base, a support column is fixedly installed on the right side of the storage box, and the right side of the support column is fixedly installed A support plate is fixedly installed;
支撑板上端中部固定安装有抽淤管,支撑板内部下端固定安装有蓄电池,支撑板外部中端固定安装有总开关,蓄电池和总开关电性连接,抽淤管和支撑板交叉处固定安装有吸淤泵,吸淤泵与总开关电性连接;A silt extraction pipe is fixedly installed in the upper middle of the support plate, a battery is fixedly installed at the inner lower end of the support plate, and a main switch is fixed at the outer middle end of the support plate. Sludge suction pump, which is electrically connected to the main switch;
抽淤管为L形,抽淤管右侧底端固定安装有过滤网,抽淤管另一端内部固定安装有转轮,转轮外端等距固定安装有输送板,转轮上端固定安装有电机,电机和总开关电性连接,电机输出端安装有动力主动轮,动力主动轮外端配合套装有皮带,转轮中部固定安装有连接杆,连接杆贯穿抽淤管侧壁的外端固定安装有皮带轮,抽淤管另一端固定安装有排淤管,排淤管中端固定安装在支撑柱上端,横向抽淤管右侧下端等距固定安装有若干排水柱。The silt extraction pipe is L-shaped, the bottom end of the right side of the silt extraction pipe is fixedly installed with a filter screen, the other end of the sludge extraction pipe is fixedly installed with a runner, the outer end of the runner is equidistantly installed with a conveying plate, and the upper end of the runner is fixedly installed with a runner. The motor, the motor and the main switch are electrically connected, the output end of the motor is installed with a power driving wheel, the outer end of the power driving wheel is fitted with a belt, a connecting rod is fixedly installed in the middle of the runner, and the connecting rod is fixed through the outer end of the side wall of the silt extraction pipe. A pulley is installed, a silt discharge pipe is fixedly installed at the other end of the silt suction pipe, the middle end of the silt discharge pipe is fixedly installed on the upper end of the support column, and a number of drainage columns are fixedly installed at the lower end of the right side of the lateral silt suction pipe.
优选的,排水柱内部等距开设通孔,通孔内径为1CM。Preferably, through holes are formed in the drainage column at equal intervals, and the inner diameter of the through holes is 1CM.
优选的,抽淤管贯穿支撑板固定安装在支撑板上端中部。Preferably, the silt extraction pipe is fixedly installed in the middle of the upper end of the support plate through the support plate.
优选的,收纳箱设置为密封收纳箱,收纳箱左侧下端固定安装有可密封排料管。Preferably, the storage box is configured as a sealed storage box, and a sealable discharge pipe is fixedly installed at the lower end of the left side of the storage box.
优选的,排淤管呈45度固定安装在收纳箱右侧。Preferably, the sludge discharge pipe is fixedly installed on the right side of the storage box at a 45-degree angle.
与现有技术相比,本实用新型的有益效果是:Compared with the prior art, the beneficial effects of the present utility model are:
1、本实用新型通过抽淤管下端固定安装的过滤网可以防止碎石子等硬物随着淤泥进入管道中对吸淤泵造成损坏。1. The filter screen fixedly installed at the lower end of the silt suction pipe can prevent the hard objects such as gravel and other hard objects from entering the pipeline with the silt from causing damage to the silt suction pump.
2、本实用新型通过横向抽淤管下端等距固定安装有排水管,可以将淤泥中含有的大量河水排出,方便对淤泥的进一步处理。2. In the utility model, drainage pipes are fixedly installed at the lower end of the horizontal silt suction pipes at equal distances, which can discharge a large amount of river water contained in the silt, which is convenient for further treatment of the silt.
3、本实用新型通过将收纳箱设置成密封收纳箱,在淤泥通过转轮带动输送板将淤泥送入收纳箱中,使得淤泥不堆积在河岸旁,防止清理淤泥对空气造成污染且影响周边居民生活。3. The utility model sets the storage box as a sealed storage box, and drives the conveying plate to send the sludge into the storage box through the runner, so that the sludge does not accumulate beside the river bank, preventing the cleaning of the sludge from polluting the air and affecting the surrounding residents. Life.
附图说明Description of drawings
图1为本实用新型提出的一种水利工程清淤装置的结构示意图;Fig. 1 is the structural representation of a kind of water conservancy project dredging device proposed by the utility model;
图2为本实用新型提出的一种水利工程清淤装置的排水柱结构示意图;2 is a schematic diagram of the structure of a drainage column of a water conservancy project dredging device proposed by the utility model;
图3为本实用新型提出的一种水利工程清淤装置的电机和转轮的结构示意图。3 is a schematic structural diagram of a motor and a runner of a water conservancy project dredging device proposed by the utility model.
图中:1、收纳箱;2、排淤管;3、转轮;4、电机;5动力主动轮;6、吸淤泵;7、抽淤管;8、皮带;9、过滤网;10、排水柱;11、总开关;12、蓄电池;13、支撑板;14、支撑柱;15、底座;16车轮;17、牵引架;18、可密封排料管;19、皮带轮;20、通孔;21、连接杆;22、输送板。In the picture: 1. Storage box; 2. Silt discharge pipe; 3. Runner; 4. Motor; 5. Power driving wheel; 6. Silt suction pump; 7. Silt suction pipe; 8. Belt; 9. Filter screen; 10 , drain column; 11, master switch; 12, battery; 13, support plate; 14, support column; 15, base; 16 wheels; 17, traction frame; 18, sealable discharge pipe; 19, pulley; 20, pass hole; 21, connecting rod; 22, conveying plate.
具体实施方式Detailed ways
下面将结合本实用新型实施例中的附图,对本实用新型实施例中的技术方案进行清楚、完整地描述,显然,所描述的实施例仅仅是本实用新型一部分实施例,而不是全部的实施例。The technical solutions in the embodiments of the present utility model will be clearly and completely described below with reference to the accompanying drawings in the embodiments of the present utility model. Obviously, the described embodiments are only a part of the embodiments of the present utility model, rather than all the implementations. example.
参照图1-3,一种水利工程清淤装置,包括底座15、收纳箱1和抽淤管7;1-3, a water conservancy project dredging device, including a
底座15下端固定安装有车轮16,车轮16有四个且呈矩形阵列分布,底座15左侧固定安装有牵引架17,底座15上端左侧固定安装有收纳箱1,收纳箱1右侧固定安装有支撑柱14,支撑柱14右侧固定安装有支撑板13;Wheels 16 are fixedly installed at the lower end of the
支撑板13上端中部固定安装有抽淤管7,支撑板13内部下端固定安装有蓄电池12,支撑板13外部中端固定安装有总开关11,蓄电池12和总开关11电性连接,抽淤管7和支撑板13交叉处固定安装有吸淤泵6,吸淤泵6与总开关11电性连接;A
抽淤管7为L形,抽淤管7右侧底端固定安装有过滤网9,抽淤管7另一端内部固定安装有转轮3,转轮3外端等距固定安装有输送板22,转轮3上端固定安装有电机4,电机4和总开关11电性连接,电机4输出端安装有动力主动轮5,动力主动轮5外端配合套装有皮带8,转轮3中部固定安装有连接杆21,连接杆21贯穿抽淤管7侧壁的外端固定安装有皮带轮19,抽淤管7另一端固定安装有排淤管2,排淤管2中端固定安装在支撑柱14上端,横向抽淤管7右侧下端等距固定安装有若干排水柱10。The
本实施例中(如图1和图2所示),吸淤泵6在吸附淤泥进入抽淤管中后,淤泥通过多个排水柱10时可以将淤泥中掺杂河水排出再次流入河水中,避免淤泥掺杂大量河水,方便对淤泥的再次处理,通过排水柱10内部等距开设通孔20,可以防止在排出河水时大量淤泥随着河水流出。In this embodiment (as shown in FIG. 1 and FIG. 2 ), after the
其中,横向抽淤管7右侧下端等距固定安装有若干排水柱10。Among them,
其中,排水柱10内部等距开设通孔20,通孔20内径为1CM。Wherein, through
本实施例中(如图1和图2所示),通过抽淤管7贯穿支撑板13固定安装在支撑板13上端中部,可以提高装置稳定性。In this embodiment (as shown in FIG. 1 and FIG. 2 ), the
其中,抽淤管7贯穿支撑板13固定安装在支撑板13上端中部。Wherein, the
本实施例中(如图1所示),通过将收纳箱1设置为密封收纳箱,可以在清淤过程中防止淤泥对空气造成污染,对周边居民生活造成影响。In the present embodiment (as shown in FIG. 1 ), by setting the
其中,收纳箱1设置为密封收纳箱,收纳箱1左侧下端固定安装有可密封排料管18。The
其中,排淤管2呈45度角固定安装在收纳箱1左侧。Among them, the
本实用新型使用时:通过牵引架17将装置移动到遇到清淤的河道,将抽淤管7移动到河道中,按动总开关11,吸淤泵6和电机4开始工作,吸淤泵6将通过过滤网9的淤泥吸入抽淤管7中,淤泥通过多个排水柱10将淤泥中掺杂的河水排出,再次流入河道中,通过吸淤泵6后由转轮带动的输送板22将淤泥推送入排淤管2中,在由排淤管2流入收纳箱1中,在收纳箱1装满后关闭总开关11,将收纳箱1中的淤泥通过可密封排料口18排出。When the utility model is in use: move the device to the river channel where dredging is encountered by the
以上所述,仅为本实用新型较佳的具体实施方式,但本实用新型的保护范围并不局限于此,任何熟悉本技术领域的技术人员在本实用新型揭露的技术范围内,根据本实用新型的技术方案及其实用新型构思加以等同替换或改变,都应涵盖在本实用新型的保护范围之内。The above description is only a preferred embodiment of the present invention, but the protection scope of the present invention is not limited to this. Equivalent replacement or modification of the new technical solution and its utility model concept shall be included within the protection scope of the present utility model.
Claims (5)
Priority Applications (1)
| Application Number | Priority Date | Filing Date | Title |
|---|---|---|---|
| CN201921532969.8U CN211172138U (en) | 2019-09-16 | 2019-09-16 | A water conservancy project dredging device |
Applications Claiming Priority (1)
| Application Number | Priority Date | Filing Date | Title |
|---|---|---|---|
| CN201921532969.8U CN211172138U (en) | 2019-09-16 | 2019-09-16 | A water conservancy project dredging device |
Publications (1)
| Publication Number | Publication Date |
|---|---|
| CN211172138U true CN211172138U (en) | 2020-08-04 |
Family
ID=71798446
Family Applications (1)
| Application Number | Title | Priority Date | Filing Date |
|---|---|---|---|
| CN201921532969.8U Expired - Fee Related CN211172138U (en) | 2019-09-16 | 2019-09-16 | A water conservancy project dredging device |
Country Status (1)
| Country | Link |
|---|---|
| CN (1) | CN211172138U (en) |
-
2019
- 2019-09-16 CN CN201921532969.8U patent/CN211172138U/en not_active Expired - Fee Related
Similar Documents
| Publication | Publication Date | Title |
|---|---|---|
| CN104532947B (en) | Underground open storage tank | |
| CN106930397B (en) | A kind of biological delaying basin that initial rainwater can be persistently handled within the dry spell | |
| CN211172138U (en) | A water conservancy project dredging device | |
| CN214219706U (en) | An adjustable water collection and drainage device for deep foundation pits in building construction | |
| CN110180255A (en) | A kind of wastewater recycling system | |
| CN210103602U (en) | Foundation pit dewatering system | |
| CN216041035U (en) | Dirt filtering type self-flowing water draining hole for hydropower station | |
| CN208249964U (en) | A kind of sewage treatment silt displacement device | |
| CN217340187U (en) | Sedimentation tank desilting device for sewage treatment | |
| CN204401774U (en) | Underground open type storage pond | |
| CN210163175U (en) | A scum removal device for sewage treatment | |
| CN211946377U (en) | Manhole sewage oil slick collection and treatment equipment | |
| CN208073549U (en) | A kind of mobile tunnel construction relay pump drainage water installations | |
| CN108266225A (en) | A kind of mobile tunnel construction relay pump drainage water installations | |
| WO2022204826A1 (en) | Bioreactor wastewater treatment apparatus | |
| CN218969953U (en) | River course treatment water purifier | |
| CN217174998U (en) | A silt discharge device suitable for water conservancy projects | |
| CN222008969U (en) | Foundation pit tube well dewatering structure | |
| CN212141631U (en) | Sewage treatment pond mud discharging device based on environmental protection | |
| CN221741399U (en) | A desilting device for water conservancy projects | |
| CN219793971U (en) | A deep foundation pit drainage structure | |
| CN221917530U (en) | Wastewater recovery and treatment device | |
| CN220928000U (en) | Movable dredging machine | |
| CN223607923U (en) | Hydraulic engineering quick dredging device | |
| CN218970171U (en) | Water leakage filtering device and drainage system for hydropower station |
Legal Events
| Date | Code | Title | Description |
|---|---|---|---|
| GR01 | Patent grant | ||
| GR01 | Patent grant | ||
| CF01 | Termination of patent right due to non-payment of annual fee |
Granted publication date: 20200804 |
|
| CF01 | Termination of patent right due to non-payment of annual fee |
