CN211169550U - Hoisting device for maintaining and replacing speed reducer - Google Patents
Hoisting device for maintaining and replacing speed reducer Download PDFInfo
- Publication number
- CN211169550U CN211169550U CN201921657308.8U CN201921657308U CN211169550U CN 211169550 U CN211169550 U CN 211169550U CN 201921657308 U CN201921657308 U CN 201921657308U CN 211169550 U CN211169550 U CN 211169550U
- Authority
- CN
- China
- Prior art keywords
- slide rail
- rollers
- hoisting
- reducer
- shaped frame
- Prior art date
- Legal status (The legal status is an assumption and is not a legal conclusion. Google has not performed a legal analysis and makes no representation as to the accuracy of the status listed.)
- Expired - Fee Related
Links
Images
Landscapes
- Carriers, Traveling Bodies, And Overhead Traveling Cranes (AREA)
Abstract
一种维修和更换减速机的吊装装置,属于吊装设备技术领域,用于在车间内吊装减速机。其技术方案是:两个立柱垂直焊接连接在横梁的两端,两个立柱的下端垂直焊接有底座,底座与横梁的长度方向垂直,滑轨与横梁平行,滑轨位于横梁下方,滑轨的两端与两个立柱焊接连接,滑动框为U型框架,U型框架的两侧上端分别有向内的滚轴,滚轴上安装有滚轮,两个滚轮位于滑轨的上顶面,滚轮与滑轨的上顶面为滚动配合,滑动框的U型框架的下方横杆与手拉葫芦的挂钩相连接。本实用新型的结构简单、使用方便,可以在车间或其它工作现场对减速机、电机或其它大件设备进行吊装,解决没有吊车进行吊装作业的问题,减轻了维修人员的劳动强度,提高了维修工作的效率。
A hoisting device for repairing and replacing a reducer belongs to the technical field of hoisting equipment and is used for hoisting the reducer in a workshop. The technical scheme is as follows: two vertical columns are welded and connected at both ends of the beam, the lower ends of the two columns are vertically welded with a base, the length of the base is perpendicular to the beam, the slide rail is parallel to the beam, the slide rail is located under the beam, and the slide rail is parallel to the beam. Both ends are connected with two uprights by welding. The sliding frame is a U-shaped frame. The upper ends of the two sides of the U-shaped frame are respectively provided with rollers facing inward. The rollers are installed with rollers. The two rollers are located on the top surface of the slide rail. It is in rolling fit with the upper surface of the sliding rail, and the lower cross bar of the U-shaped frame of the sliding frame is connected with the hook of the chain hoist. The utility model has the advantages of simple structure and convenient use, and can hoist the reducer, motor or other large equipment in workshops or other work sites, solve the problem of hoisting without a crane, reduce the labor intensity of maintenance personnel, and improve maintenance. work efficiency.
Description
技术领域technical field
本实用新型涉及一种吊装减速机的专用装置,属于吊装设备技术领域。The utility model relates to a special device for hoisting a reducer, belonging to the technical field of hoisting equipment.
背景技术Background technique
目前,现代化企业大多是设备化高度集中化的生产模式,减速机、电机普遍应用于各种动力传动设备中,每条生产线使用的电机或减速机都可达几十台,需要经常进行维修或更换。但是在很多车间内没有进行吊装的天车设备,只能使用手拉葫芦,而用手拉葫芦吊装减速机或电机等设备时也有很大的局限性,有些减速机或电机的上方无法勾挂手拉葫芦,不能对每台减速机或电机都进行吊装,因此需要人力进行搬运,不但占有人员,而且十分费力,给维修工作带来很大困难。有鉴于此,十分有必要设计能够方便地吊装减速机或电机的专用装置。At present, most modern enterprises are equipment-based and highly centralized production models. Reducers and motors are widely used in various power transmission equipment. Each production line uses dozens of motors or reducers, which require frequent maintenance or repair. replace. However, in many workshops, there is no crane equipment for hoisting, and only chain hoists can be used. However, there are also great limitations when hoisting equipment such as reducers or motors. Some reducers or motors cannot be hooked above. The chain hoist cannot be hoisted for every reducer or motor, so it requires manpower to carry it, which not only occupies personnel, but also is very laborious, which brings great difficulties to the maintenance work. In view of this, it is very necessary to design a special device that can easily hoist the reducer or motor.
实用新型内容Utility model content
本实用新型所要解决的技术问题是提供一种维修和更换减速机的吊装装置,这种吊装装置可以配合手拉葫芦对车间内不同位置的电机或换减速机进行吊装,使吊装工作能够适应各种环境,维修和更换减速机或电机更加方便,减轻维修人员的劳动强度,提高维修工作的效率。The technical problem to be solved by the utility model is to provide a hoisting device for repairing and replacing the reducer. The hoisting device can cooperate with the chain hoist to hoist the motors at different positions in the workshop or change the reducer, so that the hoisting work can adapt to each In this environment, it is more convenient to maintain and replace the reducer or motor, reduce the labor intensity of maintenance personnel, and improve the efficiency of maintenance work.
解决上述技术问题的技术方案是:The technical solutions to solve the above technical problems are:
一种维修和更换减速机的吊装装置,它包括横梁、立柱、底座、滑轨、滑动框,两个立柱垂直焊接连接在横梁的两端,两个立柱的下端垂直焊接有底座,底座与横梁的长度方向垂直,滑轨与横梁平行,滑轨位于横梁下方,滑轨的两端与两个立柱焊接连接,滑动框为U型框架,U型框架的两侧上端分别有向内的滚轴,滚轴上安装有滚轮,滑动框的U型框架上端的两个滚轮位于滑轨的上顶面,滚轮与滑轨的上顶面为滚动配合,滑动框的U型框架的下方横杆与手拉葫芦的挂钩相连接。A hoisting device for repairing and replacing a reducer, which includes a beam, a column, a base, a slide rail, and a sliding frame. The two columns are vertically welded and connected to both ends of the beam. The length direction of the slide rail is vertical, the slide rail is parallel to the beam, the slide rail is located under the beam, the two ends of the slide rail are welded to the two columns, the sliding frame is a U-shaped frame, and the upper ends of the two sides of the U-shaped frame are respectively provided with inward rollers , There are rollers installed on the rollers. The two rollers on the upper end of the U-shaped frame of the sliding frame are located on the top surface of the slide rail. The rollers and the top surface of the slide rail are in rolling fit. The hook of the chain hoist is connected.
上述维修和更换减速机的吊装装置,所述两个立柱的外侧分别有斜支撑杆,两个斜支撑杆的上端分别与横梁的两端焊接连接,两个斜支撑杆的下端焊接支撑座,支撑座与两个立柱下端的底座平行。In the above-mentioned hoisting device for maintenance and replacement of the reducer, the outer sides of the two vertical columns are respectively provided with inclined support rods, the upper ends of the two inclined support rods are respectively welded to the two ends of the beam, and the lower ends of the two inclined support rods are welded with support seats, The support base is parallel to the bases at the lower ends of the two uprights.
上述维修和更换减速机的吊装装置,所述横梁和滑轨之间焊接有多个拉杆,拉杆与横梁垂直,拉杆下端位于滑动框的U型框架上端的两个滚轮之间。In the above lifting device for maintenance and replacement of the reducer, a plurality of tie rods are welded between the beam and the slide rail, the tie rods are perpendicular to the beam, and the lower end of the tie rod is located between the two rollers on the upper end of the U-shaped frame of the sliding frame.
本实用新型的有益效果是:The beneficial effects of the present utility model are:
本实用新型为门型框架,滑轨安装在横梁的下方,滑动框可以通过两个滚轮在滑轨上滑动,手拉葫芦的挂钩与滑动框相连接,手拉葫芦吊起减速机或电机沿着滑轨移动,完成减速机或电机的吊装作业。The utility model is a door-shaped frame, the sliding rail is installed under the beam, the sliding frame can slide on the sliding rail through two rollers, the hook of the chain hoist is connected with the sliding frame, and the chain hoist hoists the reducer or the motor along the sliding frame. Move along the slide rail to complete the hoisting operation of the reducer or motor.
本实用新型的结构简单、使用方便,可以在车间或其它工作现场对减速机、电机或其它大件设备进行吊装,解决没有吊车进行吊装作业的问题,能够适应各种环境,使维修工作更加方便,减轻了维修人员的劳动强度,提高了维修工作的效率。The utility model has the advantages of simple structure and convenient use, can hoist the reducer, motor or other large equipment in the workshop or other work sites, solves the problem of hoisting without a crane, can adapt to various environments, and makes the maintenance work more convenient , reducing the labor intensity of maintenance personnel and improving the efficiency of maintenance work.
附图说明Description of drawings
图1是本实用新型的结构示意图。Figure 1 is a schematic structural diagram of the present invention.
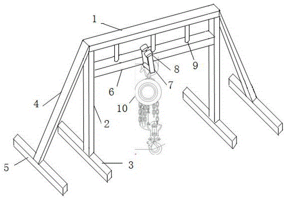
图中标记如下:横梁1、立柱2、底座3、斜支撑杆4、支撑座5、滑轨6、滑动框7、滚轮8、拉杆9、手拉葫芦10。The marks in the figure are as follows:
具体实施方式Detailed ways
本实用新型由横梁1、立柱2、底座3、斜支撑杆4、支撑座5、滑轨6、滑动框7、滚轮8、拉杆9组成。The utility model consists of a
图中显示,两个立柱2垂直焊接在横梁1的两端,两个立柱2的下端垂直焊接连接有底座3,底座3与横梁1的长度方向垂直。横梁1和立柱2组成吊装装置的主体框架,底座3可以对横梁1和立柱2进行稳定支撑,防止吊装装置发生倾倒。As shown in the figure, two
图中显示,两个立柱2的外侧分别有斜支撑杆4,两个斜支撑杆4的上端分别与横梁1的两端焊接连接,两个斜支撑杆4的下端焊接支撑座5,支撑5座与两个立柱2下端的底座3平行。斜支撑杆4和支撑座5加强了主体框架的稳定性,在吊装设备沿着横梁1进行滑动时,使横梁1和立柱2更加稳固。As shown in the figure, there are
图中显示,滑轨6和滑动框7是吊装部件。滑轨6与横梁1平行,滑轨6位于横梁1下方,滑轨6的两端与两个立柱2焊接连接。滑动框7吊在滑轨6上,滑动框7可以沿着滑轨6滑动,进行设备的吊装。As shown in the figure, the
图中显示,滑动框7为U型框架,U型框架的两侧上端分别有向内的滚轴,滚轴上安装有滚轮8,滑动框7的U型框架上端的两个滚轮8位于滑轨6的上顶面,滚轮8与滑轨6的上顶面为滚动配合,滚轮8可以沿着滑轨6的上顶面滚动,从而带动滑动框7沿着滑轨6移动。As shown in the figure, the
图中显示,滑动框7的U型框架的下方横杆与手拉葫芦10的挂钩相连接。手拉葫芦10可以吊装减速机、电机或其它设备后随着滑动框7进行移动,完成吊装作业。As shown in the figure, the lower cross bar of the U-shaped frame of the sliding
图中显示,横梁1和滑轨6之间焊接有多个拉杆9,拉杆9与横梁1垂直,拉杆9下端位于滑动框7的U型框架上端的两个滚轮8之间。拉杆9的作用是将滑轨6与横梁1相连接,增加滑轨6的强度,防止滑轨6在长时间的重负荷使用中发生变形。As shown in the figure, a plurality of
在实际使用时,还可以配置行走小车,每个行走小车由底板和两个万向车轮构成,两个行走小车分别放置在两个底座3的下方,通过行走小车推动吊装装置到吊装位置,然后移开行走小车进行吊装作业,吊装完毕后,将行走小车放置在底座3下方,再把吊装装置移走,非常方便。In actual use, a walking trolley can also be configured. Each walking trolley consists of a bottom plate and two universal wheels. The two walking trolleys are placed under the two
本实用新型的一个实施例如下:An embodiment of the present utility model is as follows:
横梁1、立柱2、底座3、斜支撑杆4、支撑座5均采用15#槽钢制作;
横梁1的长度为1800mm;The length of
立柱2的长度为1650mm;The length of
底座3的长度为700mm;The length of the
斜支撑杆4的长度为1800mm;The length of the
支撑座5的长度为700mm;The length of the
滑轨6采用方形钢管制作,滑轨6的长度为1800mm;The
滑动框7采用4.0厚钢板制作,滑动框7的高度为180mm;The sliding
滚轮8的直径为60mm;The diameter of the
拉杆9为圆钢棍,拉杆9的直径为48mm,长度为200mm。The
Claims (3)
Priority Applications (1)
| Application Number | Priority Date | Filing Date | Title |
|---|---|---|---|
| CN201921657308.8U CN211169550U (en) | 2019-09-30 | 2019-09-30 | Hoisting device for maintaining and replacing speed reducer |
Applications Claiming Priority (1)
| Application Number | Priority Date | Filing Date | Title |
|---|---|---|---|
| CN201921657308.8U CN211169550U (en) | 2019-09-30 | 2019-09-30 | Hoisting device for maintaining and replacing speed reducer |
Publications (1)
| Publication Number | Publication Date |
|---|---|
| CN211169550U true CN211169550U (en) | 2020-08-04 |
Family
ID=71807803
Family Applications (1)
| Application Number | Title | Priority Date | Filing Date |
|---|---|---|---|
| CN201921657308.8U Expired - Fee Related CN211169550U (en) | 2019-09-30 | 2019-09-30 | Hoisting device for maintaining and replacing speed reducer |
Country Status (1)
| Country | Link |
|---|---|
| CN (1) | CN211169550U (en) |
Cited By (1)
| Publication number | Priority date | Publication date | Assignee | Title |
|---|---|---|---|---|
| CN113003436A (en) * | 2021-02-26 | 2021-06-22 | 泉州芸台科技有限公司 | Prevent electric hoist of girder deformation |
-
2019
- 2019-09-30 CN CN201921657308.8U patent/CN211169550U/en not_active Expired - Fee Related
Cited By (2)
| Publication number | Priority date | Publication date | Assignee | Title |
|---|---|---|---|---|
| CN113003436A (en) * | 2021-02-26 | 2021-06-22 | 泉州芸台科技有限公司 | Prevent electric hoist of girder deformation |
| CN113003436B (en) * | 2021-02-26 | 2023-04-07 | 泉州芸台科技有限公司 | Prevent electric hoist of girder deformation |
Similar Documents
| Publication | Publication Date | Title |
|---|---|---|
| CN202785364U (en) | Movable dual-door-type mast hoisting device | |
| CN204918811U (en) | Planer -type electrophoresis automation line | |
| CN110127530A (en) | For hanging apparatus and its application method in restricted clearance workshop | |
| CN110466949A (en) | A kind of upper and lower pieces auxiliary device of large scale special-shaped workpiece | |
| CN111169958A (en) | Sleeper mould turning device | |
| CN102876873B (en) | Feeding device for inclined bottom heating furnace | |
| CN202671169U (en) | Flip tool for barrel-type workpiece | |
| CN211169550U (en) | Hoisting device for maintaining and replacing speed reducer | |
| CN205011306U (en) | Steel sheet elevating gear | |
| CN110759232A (en) | A kind of hoisting tool and hoisting method for step plate of lower support roll of four-high rolling mill | |
| CN204822911U (en) | Chain drive formula drives hoist girder conveyor entirely | |
| CN210001467U (en) | For hoisting devices in confined space workshops | |
| CN207312972U (en) | It is a kind of to rotate and traversing small-sized machine cantilever crane | |
| CN105672910B (en) | Oil pipe traction lifting Aided Machine | |
| CN106828565B (en) | Auxiliary trolley for rapidly replacing hydraulic station motor and hydraulic pump | |
| CN210479887U (en) | Upper and lower auxiliary device of large-scale special-shaped workpiece | |
| CN209721390U (en) | A replacement device for the transmission system of medium-thick plate conveying roller table | |
| CN212024571U (en) | A hoisting device for replacing the sinking roller in the cleaning section | |
| CN219546543U (en) | Movable gantry crane transporting frame | |
| CN208120595U (en) | A kind of ingot furnace packaged type is semi-automatic to take lid vehicle | |
| CN215711155U (en) | Hydraulic lifting device | |
| CN100534890C (en) | Bridge type lifting composite device for car body transportation | |
| CN222821999U (en) | Embedded track lifting device | |
| CN217780585U (en) | Subway construction is with lift portal frame | |
| CN220976312U (en) | A simple lifting and transportation device at high altitude |
Legal Events
| Date | Code | Title | Description |
|---|---|---|---|
| GR01 | Patent grant | ||
| GR01 | Patent grant | ||
| CF01 | Termination of patent right due to non-payment of annual fee | ||
| CF01 | Termination of patent right due to non-payment of annual fee |
Granted publication date: 20200804 |
