CN211133821U - A high-speed mixer - Google Patents
A high-speed mixer Download PDFInfo
- Publication number
- CN211133821U CN211133821U CN201921865366.XU CN201921865366U CN211133821U CN 211133821 U CN211133821 U CN 211133821U CN 201921865366 U CN201921865366 U CN 201921865366U CN 211133821 U CN211133821 U CN 211133821U
- Authority
- CN
- China
- Prior art keywords
- fixed
- gear
- rod
- mixing barrel
- speed mixer
- Prior art date
- Legal status (The legal status is an assumption and is not a legal conclusion. Google has not performed a legal analysis and makes no representation as to the accuracy of the status listed.)
- Expired - Fee Related
Links
Images
Landscapes
- Mixers Of The Rotary Stirring Type (AREA)
Abstract
本实用新型提供了一种高速混料机,包括机座,机座上通过支架固定有混料桶,混料桶上部具有进料口,进料口处具有阀门一,混料桶下部具有出料口,出料口处具有阀门二,混料桶上部通过轴向固定且周向转动的方式设置有转动座,转动座与一能带动其转动的动力结构相连,转动座上连接有两个定位杆,定位杆上分别固定有刮料刀,转动座上还连接有两个安装座,且安装座与定位杆交错分布,安装座上分别转动设置有主轴,且主轴呈倾斜布置,主轴下端和搅拌杆中部相连,搅拌杆两端均具有搅拌片,主轴上端和联动齿轮相连,混料桶上部还固定有辅助杆,辅助杆上固定有辅助齿轮,且辅助齿轮与联动齿轮相啮合。本实用新型具有混合快速的优点。
The utility model provides a high-speed mixing machine, comprising a machine base, a mixing barrel is fixed on the machine base through a bracket, the upper part of the mixing barrel is provided with a feeding port, the feeding port is provided with a valve 1, and the lower part of the mixing barrel is provided with an outlet There is a valve 2 at the material outlet and the material outlet. The upper part of the mixing barrel is provided with a rotating seat by means of axial fixing and circumferential rotation. The rotating seat is connected with a power structure that can drive it to rotate. The rotating seat is connected with two The positioning rod, the scraping knife is respectively fixed on the positioning rod, and the rotating seat is also connected with two mounting seats, and the mounting seats and the positioning rod are staggered. The mounting seats are respectively provided with spindles, and the spindles are arranged in an inclined manner, and the lower end of the spindle It is connected with the middle of the stirring rod. Both ends of the stirring rod are provided with stirring blades. The upper end of the main shaft is connected with the linkage gear. The upper part of the mixing barrel is also fixed with an auxiliary rod. The auxiliary rod is fixed with an auxiliary gear, and the auxiliary gear is meshed with the linkage gear. The utility model has the advantages of rapid mixing.
Description
技术领域technical field
本实用新型属于机械技术领域,涉及一种混料机,特别是一种高速混料机。The utility model belongs to the technical field of machinery, and relates to a mixer, in particular to a high-speed mixer.
背景技术Background technique
老姜,除含有姜油酮、姜酚等生理活性物质外,还含有蛋白质、多糖、维生素和多种微量元素,集营养、调味、保健于一身,具有祛寒、祛湿、暖胃、加速血液循环等多种功能。老姜茶颗粒冲剂是采用低温提纯加工工艺,保证了姜活性成份和结构不被破坏,有效提取姜的有效成分和香气,口感姜辣适中,甜而不腻,同时速溶颗粒形态与原生态天然特制,非常方便与牛奶、可乐等饮料融合成自己喜爱的多变口感,满足了便利和口感需求。老姜茶颗粒冲剂在制作过程中,需要将生姜提取液、白糖、红糖和添加剂等进行搅拌混合,这就需要用到混合设备。In addition to containing zingerone, gingerol and other physiologically active substances, old ginger also contains protein, polysaccharide, vitamins and various trace elements. It integrates nutrition, flavoring and health care. blood circulation and other functions. The old ginger tea granules are purified and processed at low temperature, which ensures that the active ingredients and structure of ginger are not damaged, and the active ingredients and aroma of ginger are effectively extracted. Specially made, it is very convenient to combine with milk, cola and other beverages into your favorite and changeable taste, which meets the needs of convenience and taste. In the production process of the old ginger tea granules, ginger extract, white sugar, brown sugar and additives need to be stirred and mixed, which requires the use of mixing equipment.
经检索,如中国专利文献公开了一种混料机【申请号:201621404287.5;公开号:CN206285773U】。这种混料机,其特征在于,包括:机体,设置在所述机体内的容纳槽,所述容纳槽的槽壁低于所述机体侧壁的高度,且所述槽壁的底部上设置有通孔;还包括设置在所述容纳槽内的转轴,以及设置在所述转轴上多个搅拌片;还包括驱动所述转轴升降的升降装置。After searching, for example, Chinese patent documents disclose a mixer [application number: 201621404287.5; publication number: CN206285773U]. This kind of mixer is characterized in that it includes: a body, a accommodating groove arranged in the body, the groove wall of the accommodating groove is lower than the height of the side wall of the body, and the bottom of the groove wall is provided with There is a through hole; it also includes a rotating shaft arranged in the accommodating groove, and a plurality of stirring blades arranged on the rotating shaft; and a lifting device for driving the rotating shaft to rise and fall.
该专利中公开的混料机虽然可实现物料的搅拌,但是,该混料机的结构过于简单,无法快速将物料混合均匀,混合速度慢,因此,设计出一种高速混料机是很有必要的。Although the mixer disclosed in the patent can realize the stirring of materials, the structure of the mixer is too simple, and it cannot quickly mix the materials evenly, and the mixing speed is slow. Therefore, it is very important to design a high-speed mixer. necessary.
发明内容SUMMARY OF THE INVENTION
本实用新型的目的是针对现有的技术存在上述问题,提出了一种高速混料机,该混料机具有混合快速的特点。The purpose of this utility model is to solve the above-mentioned problems in the existing technology, and propose a high-speed mixer, which has the characteristics of rapid mixing.
本实用新型的目的可通过下列技术方案来实现:一种高速混料机,包括机座,其特征在于,所述机座上通过支架固定有混料桶,混料桶上部具有进料口,进料口处具有阀门一,混料桶下部具有出料口,出料口处具有阀门二,混料桶上部通过轴向固定且周向转动的方式设置有转动座,转动座与一能带动其转动的动力结构相连,转动座上连接有两个定位杆,定位杆上分别固定有刮料刀,转动座上还连接有两个安装座,且安装座与定位杆交错分布,安装座上分别转动设置有主轴,且主轴呈倾斜布置,主轴下端和搅拌杆中部相连,搅拌杆两端均具有搅拌片,主轴上端和联动齿轮相连,混料桶上部还固定有辅助杆,辅助杆上固定有辅助齿轮,且辅助齿轮与联动齿轮相啮合。The purpose of this utility model can be achieved through the following technical solutions: a high-speed mixer, comprising a machine base, characterized in that a mixing bucket is fixed on the machine base through a bracket, and the upper part of the mixing bucket has a feeding port, There is a valve one at the feed port, a discharge port at the lower part of the mixing barrel, and a valve two at the discharge port. The upper part of the mixing barrel is provided with a rotating seat by means of axial fixing and circumferential rotation. The rotating power structure is connected, the rotating seat is connected with two positioning rods, the positioning rods are respectively fixed with scrapers, and the rotating seat is also connected with two mounting seats, and the mounting seats and the positioning rods are staggered. The main shafts are respectively rotated and arranged, and the main shafts are arranged in an inclined manner. The lower end of the main shaft is connected with the middle of the stirring rod. Both ends of the stirring rod are provided with stirring blades. The upper end of the main shaft is connected with the linkage gear. There is an auxiliary gear, and the auxiliary gear meshes with the linkage gear.
采用以上结构,通过动力结构带动转动座转动,转动座带动搅拌杆和刮料刀转动,刮料刀将滞留在混料桶内壁上的物料进行刮落,同时,由于转动座的转动,联动齿轮与辅助齿轮转动,辅助齿轮带动主轴转动,主轴带动搅拌杆转动,使搅拌片在转动的过程中也在绕着主轴转动,从而可将混料桶内的物料快速混合均匀,混合快速。With the above structure, the rotating base is driven to rotate by the power structure, the rotating base drives the stirring rod and the scraper to rotate, and the scraper scrapes off the material remaining on the inner wall of the mixing tank. It rotates with the auxiliary gear, the auxiliary gear drives the main shaft to rotate, and the main shaft drives the stirring rod to rotate, so that the stirring blade also rotates around the main shaft during the rotation, so that the materials in the mixing tank can be quickly mixed evenly and quickly.
所述动力结构包括安装杆、动力电机、齿圈和齿轮,齿圈固定在转动座上,安装杆固定在混料桶上,动力电机固定在安装杆上,动力电机的输出轴竖直设置,齿轮固定在动力电机的输出轴端部,且齿轮与齿圈相啮合。The power structure includes a mounting rod, a power motor, a ring gear and a gear, the ring gear is fixed on the rotating seat, the mounting rod is fixed on the mixing bucket, the power motor is fixed on the mounting rod, and the output shaft of the power motor is vertically arranged, The gear is fixed on the end of the output shaft of the power motor, and the gear meshes with the ring gear.
采用以上结构,控制动力电机的输出轴转动,动力电机的输出轴带动齿轮转动,齿轮与齿圈相啮合,齿圈使转动座转动。With the above structure, the output shaft of the power motor is controlled to rotate, the output shaft of the power motor drives the gear to rotate, the gear meshes with the ring gear, and the ring gear rotates the rotating seat.
所述混料桶和防护罩一端相铰接,防护罩另一端通过快速夹与混料桶可拆卸连接。One end of the mixing bucket and the protective cover is hinged, and the other end of the protective cover is detachably connected to the mixing bucket through a quick clip.
采用以上结构,通过防护罩可对动力电机、齿圈和齿轮等部件进行防护,避免其直接暴露在外部环境中。With the above structure, components such as the power motor, the ring gear and the gear can be protected by the protective cover, so as to prevent them from being directly exposed to the external environment.
所述防护罩上还具有把手。The protective cover also has a handle.
所述防护罩的材料为透明有机玻璃。The material of the protective cover is transparent organic glass.
采用以上材料,可方便对防护罩内部的异常情况进行查看。Using the above materials, it is convenient to check the abnormal conditions inside the protective cover.
所述机座上还具有下料机构,下料机构包括气缸、振动电机、升降座和导料板,气缸固定在机座上,且气缸位于出料口的正下方,气缸的活塞杆竖直向上,升降座固定在气缸的活塞杆端部,导料板通过弹簧固定在升降座上,振动电机固定在导料板上,导料板上还竖直固定有下料杆,且下料杆能伸入到出料口内,下料杆上还具有若干凸出的辅助部。The machine base also has a feeding mechanism, the feeding mechanism includes a cylinder, a vibration motor, a lifting seat and a material guide plate, the cylinder is fixed on the base, and the cylinder is located directly below the discharge port, and the piston rod of the cylinder is vertical Up, the lifting seat is fixed on the end of the piston rod of the cylinder, the material guide plate is fixed on the lifting seat by a spring, the vibration motor is fixed on the material guide plate, and the material guide plate is also vertically fixed with a blanking rod, and the blanking rod It can extend into the discharge port, and there are several protruding auxiliary parts on the unloading rod.
采用以上结构,控制气缸的活塞缸向上移动,气缸的活塞杆带动升降座向上移动,升降座使下料杆伸入到出料口内,控制振动电机工作,振动电机带动导料板振动,在下料杆的作用下,使出料口处的物料顺利输出到导料板处,下料方便。With the above structure, the piston cylinder of the air cylinder is controlled to move upward, the piston rod of the air cylinder drives the lift seat to move upward, the lift seat makes the blanking rod extend into the discharge port, and the vibration motor is controlled to work, and the vibration motor drives the guide plate to vibrate. Under the action of the rod, the material at the discharge port can be smoothly output to the material guide plate, which is convenient for unloading.
与现有技术相比,本高速混料机具有该优点:Compared with the prior art, the high-speed mixer has the following advantages:
本实用新型中通过动力结构带动转动座转动,转动座带动搅拌杆和刮料刀转动,刮料刀将滞留在混料桶内壁上的物料进行刮落,同时,由于转动座的转动,联动齿轮与辅助齿轮转动,辅助齿轮带动主轴转动,主轴带动搅拌杆转动,使搅拌片在转动的过程中也在绕着主轴转动,从而可将混料桶内的物料快速混合均匀,混合快速。In the utility model, the rotating base is driven to rotate by the power structure, the rotating base drives the stirring rod and the scraper to rotate, and the scraper scrapes off the materials remaining on the inner wall of the mixing bucket. It rotates with the auxiliary gear, the auxiliary gear drives the main shaft to rotate, and the main shaft drives the stirring rod to rotate, so that the stirring blade also rotates around the main shaft during the rotation, so that the materials in the mixing tank can be quickly mixed evenly and quickly.
附图说明Description of drawings
图1是本实用新型的平面结构示意图。FIG. 1 is a schematic view of the plane structure of the present invention.
图2是本实用新型中拆去部分的立体结构示意图。Fig. 2 is a three-dimensional schematic view of the dismantled part of the present utility model.
图3是本实用新型中防护罩的立体结构示意图。FIG. 3 is a schematic three-dimensional structure diagram of a protective cover in the present invention.
图4是本实用新型中导料板的立体结构示意图。FIG. 4 is a schematic three-dimensional structure diagram of a material guide plate in the present invention.
图5是本实用新型中快速夹的立体结构示意图。FIG. 5 is a schematic three-dimensional structure diagram of the quick clip in the present invention.
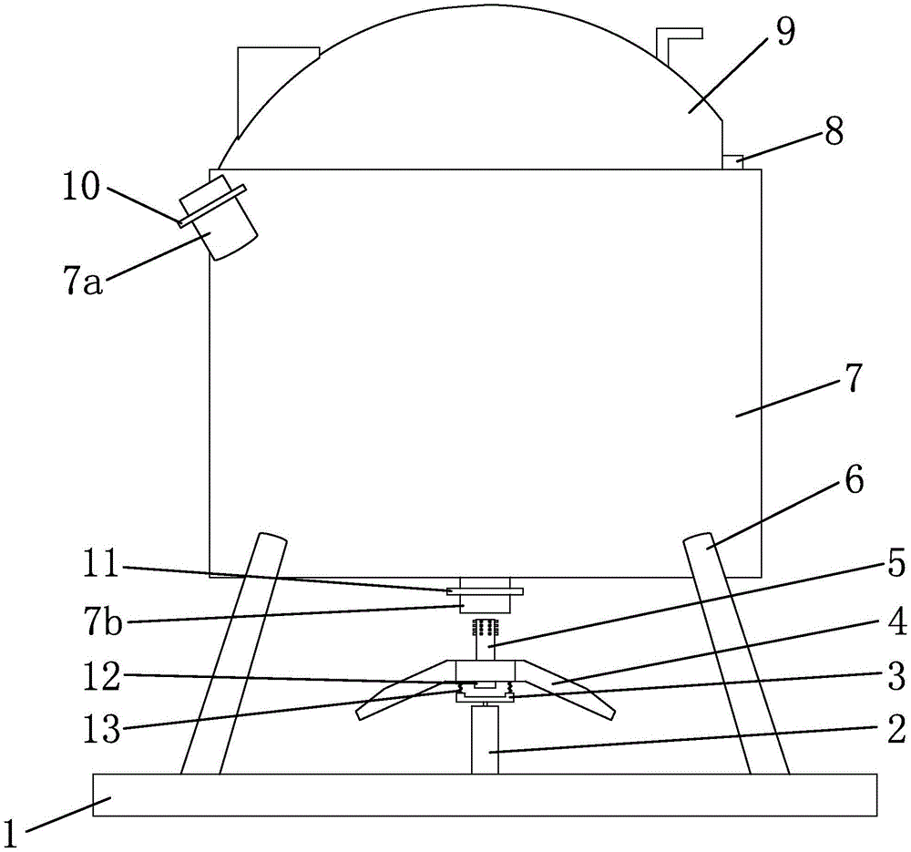
图中,1、机座;2、气缸;3、升降座;4、导料板;5、下料杆;6、支架;7、混料桶;7a、进料口;7b、出料口;8、快速夹;9、防护罩;9a、把手;10、阀门一;11、阀门二;12、振动电机;13、弹簧;14、转动座;15、辅助杆;16、齿圈;17、安装杆;18、动力电机;19、齿轮;20、辅助齿轮;21、联动齿轮;22、安装座;23、主轴;24、搅拌片;25、搅拌杆;26、刮料刀;27、定位杆。In the figure, 1, machine base; 2, air cylinder; 3, lift seat; 4, material guide plate; 5, blanking rod; 6, bracket; 7, mixing barrel; 7a, feed port; 7b, discharge port ;8, quick clamp; 9, protective cover; 9a, handle; 10, valve one; 11, valve two; 12, vibration motor; 13, spring; 14, rotating seat; 15, auxiliary rod; 16, ring gear; 17 , mounting rod; 18, power motor; 19, gear; 20, auxiliary gear; 21, linkage gear; 22, mounting seat; 23, main shaft; 24, stirring blade; 25, stirring rod; 26, scraper; 27, positioning rod.
具体实施方式Detailed ways
以下是本实用新型的具体实施例并结合附图,对本实用新型的技术方案作进一步的描述,但本实用新型并不限于这些实施例。The following are specific embodiments of the present utility model combined with the accompanying drawings to further describe the technical solutions of the present utility model, but the present utility model is not limited to these embodiments.
如图1-图5所示,本高速混料机,包括机座1,机座1上通过支架6固定有混料桶7,混料桶7上部具有进料口7a,进料口7a处具有阀门一10,混料桶7下部具有出料口7b,出料口7b处具有阀门二11,混料桶7上部通过轴向固定且周向转动的方式设置有转动座14,转动座14与一能带动其转动的动力结构相连,转动座14上连接有两个定位杆27,定位杆27上分别固定有刮料刀26,转动座14上还连接有两个安装座22,且安装座22与定位杆27交错分布,安装座22上分别转动设置有主轴23,且主轴23呈倾斜布置,主轴23下端和搅拌杆25中部相连,搅拌杆25两端均具有搅拌片24,主轴23上端和联动齿轮21相连,混料桶7上部还固定有辅助杆15,辅助杆15上固定有辅助齿轮20,且辅助齿轮20与联动齿轮21相啮合;采用该结构,控制动力电机18的输出轴转动,动力电机18的输出轴带动齿轮19转动,齿轮19与齿圈16相啮合,齿圈16使转动座14转动,转动座14带动搅拌杆25和刮料刀26转动,刮料刀26将滞留在混料桶7内壁上的物料进行刮落,同时,由于转动座14的转动,联动齿轮21与辅助齿轮20转动,辅助齿轮20带动主轴23转动,主轴23带动搅拌杆25转动,使搅拌片24在转动的过程中也在绕着主轴23转动,从而可将混料桶7内的物料快速混合均匀,混合快速。As shown in Figures 1-5, the high-speed mixer includes a
动力结构包括安装杆17、动力电机18、齿圈16和齿轮19,齿圈16固定在转动座14上,安装杆17固定在混料桶7上,动力电机18固定在安装杆17上,在本实施例中,动力电机18通过螺栓连接的方式固定在安装杆17上;动力电机18的输出轴竖直设置,齿轮19固定在动力电机18的输出轴端部,且齿轮19与齿圈16相啮合。The power structure includes a
混料桶7和防护罩9一端相铰接,防护罩9另一端通过快速夹8与混料桶7可拆卸连接;在本实施例中,快速夹8采用市场上可以买到的现有产品;采用该结构,通过防护罩9可对动力电机18、齿圈16和齿轮19等部件进行防护,避免其直接暴露在外部环境中。One end of the
防护罩9上还具有把手9a。The
防护罩9的材料为透明有机玻璃;采用该材料,可方便对防护罩9内部的异常情况进行查看。The material of the
机座1上还具有下料机构,下料机构包括气缸2、振动电机12、升降座3和导料板4,气缸2固定在机座1上,在本实施例中,气缸2通过螺栓连接的方式固定在机座1上;且气缸2位于出料口7b的正下方,气缸2的活塞杆竖直向上,升降座3固定在气缸2的活塞杆端部,导料板4通过弹簧13固定在升降座3上,振动电机12固定在导料板4上,导料板4上还竖直固定有下料杆5,且下料杆5能伸入到出料口7b内,下料杆5上还具有若干凸出的辅助部;在本实施例中,辅助部的数量为十个;采用该结构,控制气缸2的活塞缸向上移动,气缸2的活塞杆带动升降座3向上移动,升降座3使下料杆5伸入到出料口7b内,控制振动电机12工作,振动电机12带动导料板4振动,在下料杆5的作用下,使出料口7b处的物料顺利输出到导料板4处,下料方便。The
本文中所描述的具体实施例仅仅是对本实用新型精神作举例说明。本实用新型所属技术领域的技术人员可以对所描述的具体实施例做各种各样的修改或补充或采用类似的方式替代,但并不会偏离本实用新型的精神或者超越所附权利要求书所定义的范围。The specific embodiments described herein are merely illustrative of the spirit of the present invention. Those skilled in the art of the present invention can make various modifications or supplements to the described specific embodiments or replace them in similar ways, but will not deviate from the spirit of the present invention or go beyond the appended claims the defined range.
Claims (6)
Priority Applications (1)
| Application Number | Priority Date | Filing Date | Title |
|---|---|---|---|
| CN201921865366.XU CN211133821U (en) | 2019-10-31 | 2019-10-31 | A high-speed mixer |
Applications Claiming Priority (1)
| Application Number | Priority Date | Filing Date | Title |
|---|---|---|---|
| CN201921865366.XU CN211133821U (en) | 2019-10-31 | 2019-10-31 | A high-speed mixer |
Publications (1)
| Publication Number | Publication Date |
|---|---|
| CN211133821U true CN211133821U (en) | 2020-07-31 |
Family
ID=71768677
Family Applications (1)
| Application Number | Title | Priority Date | Filing Date |
|---|---|---|---|
| CN201921865366.XU Expired - Fee Related CN211133821U (en) | 2019-10-31 | 2019-10-31 | A high-speed mixer |
Country Status (1)
| Country | Link |
|---|---|
| CN (1) | CN211133821U (en) |
Cited By (1)
| Publication number | Priority date | Publication date | Assignee | Title |
|---|---|---|---|---|
| CN114698658A (en) * | 2022-04-29 | 2022-07-05 | 安徽省鑫满食品有限公司 | Health-care cake raw material turning and stirring equipment |
-
2019
- 2019-10-31 CN CN201921865366.XU patent/CN211133821U/en not_active Expired - Fee Related
Cited By (1)
| Publication number | Priority date | Publication date | Assignee | Title |
|---|---|---|---|---|
| CN114698658A (en) * | 2022-04-29 | 2022-07-05 | 安徽省鑫满食品有限公司 | Health-care cake raw material turning and stirring equipment |
Similar Documents
| Publication | Publication Date | Title |
|---|---|---|
| CN210206519U (en) | Dry powder mixer | |
| CN211133821U (en) | A high-speed mixer | |
| CN118527010A (en) | Medicament mixing device for plant extraction | |
| CN108295701A (en) | A kind of fluid efficient feed mixed stirring device | |
| CN211636661U (en) | Chicken feed crushing and mixing device | |
| CN208800239U (en) | A kind of broken agitating device of konjaku | |
| JP6058373B2 (en) | Pumpkin seed separator | |
| CN214051371U (en) | Raw material stirring device for cosmetics | |
| CN208177293U (en) | Mixing machine is used in a kind of preparation of H acid monosodium salt | |
| CN118949796A (en) | A new type of grass mixing device for animal husbandry | |
| CN218833623U (en) | A pharmaceutical traditional Chinese medicine purification device | |
| CN216910146U (en) | A kind of raw material mixing equipment for food processing | |
| CN214859264U (en) | Automatic decocting device for preparing traditional Chinese medicine solid beverage | |
| CN219836396U (en) | Mixing arrangement that animal remedy and fodder were fed | |
| CN209518182U (en) | A kind of food processing stuffing mixer | |
| CN223010397U (en) | Traditional chinese medicine dregs of a decoction interpolation device for feed preparation | |
| CN208821714U (en) | A batching tank for paper mulberry fermented feed | |
| CN219836599U (en) | A feed mixing and crushing tank | |
| CN112359632A (en) | Beating device for papermaking | |
| CN221514692U (en) | Raw materials reducing mechanism is made to olive oil | |
| CN214021236U (en) | Raw materials reducing mechanism is used in animal remedy processing | |
| CN210332895U (en) | Special agitating unit of olive pulp integration | |
| CN219328783U (en) | In-vitro reagent utility test equipment | |
| CN219290172U (en) | Traditional chinese medicine preparation is with high-efficient device of decocting medicinal herbs | |
| CN217251325U (en) | Selenium-containing fertilizer homogenizing and shearing device |
Legal Events
| Date | Code | Title | Description |
|---|---|---|---|
| GR01 | Patent grant | ||
| GR01 | Patent grant | ||
| CF01 | Termination of patent right due to non-payment of annual fee | ||
| CF01 | Termination of patent right due to non-payment of annual fee |
Granted publication date: 20200731 |
