CN211133458U - A high-efficiency and environmentally friendly air dust collection equipment for cement production workshops - Google Patents
A high-efficiency and environmentally friendly air dust collection equipment for cement production workshops Download PDFInfo
- Publication number
- CN211133458U CN211133458U CN201921949758.4U CN201921949758U CN211133458U CN 211133458 U CN211133458 U CN 211133458U CN 201921949758 U CN201921949758 U CN 201921949758U CN 211133458 U CN211133458 U CN 211133458U
- Authority
- CN
- China
- Prior art keywords
- dust
- cement production
- movable
- air
- wall
- Prior art date
- Legal status (The legal status is an assumption and is not a legal conclusion. Google has not performed a legal analysis and makes no representation as to the accuracy of the status listed.)
- Expired - Fee Related
Links
Images
Landscapes
- Filtering Of Dispersed Particles In Gases (AREA)
Abstract
本实用新型涉及粉尘收集设备技术领域,且公开了一种高效环保水泥生产车间用空气粉尘收集设备,包括底座,所述底座上端对称固定连接有固定板,两个所述固定板上端共同固定连接有支撑板,所述支撑板上安装有支撑座,所述支撑座底部安装有吸尘罩,所述吸尘罩的输入端连通有波纹管,所述波纹管的另一端连通有抽风机,所述抽风机安装在支撑板竖直侧壁上,所述抽风机的输出端连通有排气管,所述排气管的另一端连通有一侧开口的除尘箱。本实用新型能够将吸入的空气中的粉尘完全收集除去,对气体内的粉尘过滤净化效果更好,且使得抽风机的输入端高度可调,便于对不同高度的水泥生产设备附近进行除尘。
The utility model relates to the technical field of dust collection equipment, and discloses an air dust collection equipment for high-efficiency and environment-friendly cement production workshop. There is a support plate, a support seat is installed on the support plate, a dust hood is installed at the bottom of the support seat, the input end of the dust hood is connected with a corrugated pipe, and the other end of the corrugated pipe is connected with an exhaust fan, The exhaust fan is installed on the vertical side wall of the support plate, the output end of the exhaust fan is connected with an exhaust pipe, and the other end of the exhaust pipe is connected with a dust removal box with an opening on one side. The utility model can completely collect and remove the dust in the inhaled air, has better filtering and purification effect on the dust in the gas, and makes the height of the input end of the exhaust fan adjustable, which is convenient for dust removal near the cement production equipment of different heights.
Description
技术领域technical field
本实用新型涉及粉尘收集设备技术领域,尤其涉及一种高效环保水泥生产车间用空气粉尘收集设备。The utility model relates to the technical field of dust collection equipment, in particular to an air dust collection equipment for high-efficiency and environment-friendly cement production workshops.
背景技术Background technique
在水泥的生产过程中会产生较多的粉尘进入到空气中,影响空气的质量,威胁工人的身体健康。为了改善车间内空气质量,需要将车间内的粉尘清除,通常使用空气粉尘收集设备对粉尘进行收集除去。在中国专利授权公告号为CN206965369U的专利,公开了一种环保的水泥生产车间用空气粉尘收集设备,包括底板、位于所述底板上方的支架装置、设置于所述支架装置上端的框体装置、收容于所述框体装置内的过滤装置、位于所述框体装置右侧的抽气装置、位于所述过滤装置上方的刮板装置、位于所述刮板装置下方的移动板装置、位于所述移动板装置下方的电缸装置。During the production of cement, a lot of dust will be generated into the air, affecting the air quality and threatening the health of workers. In order to improve the air quality in the workshop, it is necessary to remove the dust in the workshop, usually using air dust collection equipment to collect and remove the dust. The patent with the Chinese Patent Authorization Announcement No. CN206965369U discloses an environment-friendly air dust collection device for cement production workshop, comprising a bottom plate, a bracket device located above the bottom plate, a frame device arranged on the upper end of the bracket device, The filter device accommodated in the frame device, the air extraction device located on the right side of the frame device, the scraper device located above the filter device, the moving plate device located below the scraper device, the The electric cylinder device below the moving plate device.
上述专利中的一种环保的水泥生产车间用空气粉尘收集设备存在以下不足:海绵块对气体内的粉尘过滤净化效果较差,排出的气体内还含有小颗粒粉尘,还存在一定的空气污染,且抽风机的输入端的高度不可调节,不便对不同高度的水泥生产设备附近进行除尘。An environmentally friendly air dust collection device for cement production workshop in the above-mentioned patent has the following shortcomings: the sponge block has poor filtering and purification effect on the dust in the gas, the discharged gas also contains small particles of dust, and there is a certain air pollution, In addition, the height of the input end of the exhaust fan cannot be adjusted, so it is inconvenient to remove dust near the cement production equipment of different heights.
实用新型内容Utility model content
本实用新型的目的是为了解决现有技术中空气粉尘收集设备对气体内的粉尘过滤净化效果较差,不便对不同高度的水泥生产设备附近进行除尘的问题,而提出的一种高效环保水泥生产车间用空气粉尘收集设备。The purpose of the utility model is to solve the problem that the air dust collection equipment in the prior art has poor filtering and purification effect on the dust in the gas, and it is inconvenient to remove dust near the cement production equipment of different heights. Air dust collection equipment for workshop use.
为了实现上述目的,本实用新型采用了如下技术方案:In order to achieve the above-mentioned purpose, the utility model adopts the following technical solutions:
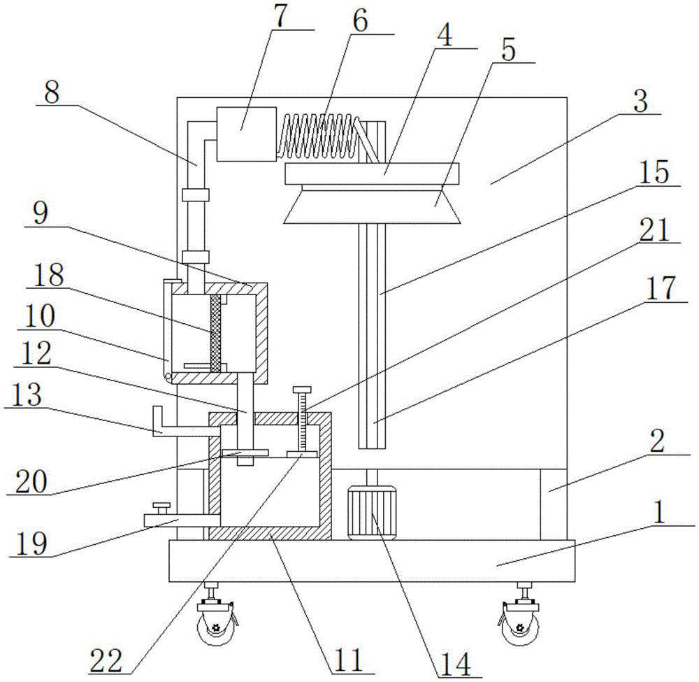
一种高效环保水泥生产车间用空气粉尘收集设备,包括底座,所述底座上端对称固定连接有固定板,两个所述固定板上端共同固定连接有支撑板,所述支撑板上安装有支撑座,所述支撑座底部安装有吸尘罩,所述吸尘罩的输入端连通有波纹管,所述波纹管的另一端连通有抽风机,所述抽风机安装在支撑板竖直侧壁上,所述抽风机的输出端连通有排气管,所述排气管的另一端连通有一侧开口的除尘箱,所述除尘箱箱口处安装有箱盖,所述除尘箱固定连接在支撑板上,所述底座上端固定连接有储水箱,所述除尘箱底部连通有排尘管,所述排尘管的另一端穿过储水箱箱壁并向水内延伸,所述储水箱箱壁上连通有L型的出气管,所述底座底部的四角处均安装有万向轮,且所述万向轮上安装有刹车片。A high-efficiency and environment-friendly air dust collection device for cement production workshop, comprising a base, a fixed plate is symmetrically connected to the upper end of the base, a support plate is fixedly connected to the upper ends of the two fixed plates, and a support seat is installed on the support plate , a dust hood is installed at the bottom of the support base, the input end of the dust hood is connected with a corrugated pipe, and the other end of the corrugated pipe is connected with an exhaust fan, and the exhaust fan is installed on the vertical side wall of the support plate The output end of the exhaust fan is connected with an exhaust pipe, and the other end of the exhaust pipe is connected with a dust removal box with an opening on one side. The upper end of the base is fixedly connected with a water storage tank, the bottom of the dust removal box is connected with a dust discharge pipe, and the other end of the dust discharge pipe passes through the water storage tank wall and extends into the water, the water storage tank wall An L-shaped air outlet pipe is communicated with the upper part, universal wheels are installed at the four corners of the bottom of the base, and brake pads are installed on the universal wheels.
优选的,所述底座上端安装有电机,所述支撑板竖直侧壁上开设有活动槽,所述活动槽内滑动连接有活动块,所述活动块内设有螺纹孔,所述活动槽相向的槽壁上通过两个轴承转动连接有螺纹杆,所述螺纹杆下端穿过轴承并向外延伸,且通过联轴器与电机的输出端连接,所述活动块通过螺纹孔与螺纹杆杆壁螺纹连接,所述活动块靠近吸尘罩的一端穿过活动槽槽口并向外延伸,且固定连接在支撑座上。Preferably, a motor is installed on the upper end of the base, a movable slot is formed on the vertical side wall of the support plate, a movable block is slidably connected in the movable slot, a threaded hole is arranged in the movable block, and the movable slot is A threaded rod is rotatably connected to the opposite groove walls through two bearings. The lower end of the threaded rod passes through the bearing and extends outward, and is connected to the output end of the motor through a coupling. The movable block is connected to the threaded rod through a threaded hole. The rod wall is threadedly connected, and one end of the movable block close to the dust hood passes through the notch of the movable slot and extends outward, and is fixedly connected to the support seat.
优选的,所述除尘箱相向的内箱壁上对称固定连接有抵块,所述除尘箱内滑动连接有过滤网,所述过滤网上固定连接有拉杆。Preferably, abutting blocks are symmetrically and fixedly connected to the opposite inner box walls of the dust removal box, a filter screen is slidably connected in the dust removal box, and a pull rod is fixedly connected to the filter screen.
优选的,所述储水箱靠近底座的箱壁上连通有排水管,所述排水管上安装有管阀。Preferably, a drainage pipe is communicated with a tank wall of the water storage tank close to the base, and a pipe valve is installed on the drainage pipe.
优选的,所述排尘管管壁上固定套接有过滤环,所述过滤环上设有若干个通孔。Preferably, a filter ring is fixedly sleeved on the wall of the dust discharge pipe, and the filter ring is provided with a plurality of through holes.
优选的,所述储水箱上箱壁上设有滑孔,且所述滑孔内滑动连接有活动杆,所述活动杆杆壁上设有刻度,所述活动杆上端穿过滑孔并向外延伸,且固定连接有限位块,所述活动杆的下端固定连接有浮台。Preferably, a sliding hole is provided on the upper tank wall of the water storage tank, and a movable rod is slidably connected in the sliding hole, a scale is provided on the rod wall of the movable rod, and the upper end of the movable rod passes through the sliding hole and goes toward the sliding hole. It extends outward and is fixedly connected with a limiting block, and the lower end of the movable rod is fixedly connected with a floating platform.
与现有技术相比,本实用新型提供了一种高效环保水泥生产车间用空气粉尘收集设备,具备以下有益效果:Compared with the prior art, the utility model provides a high-efficiency environmental protection cement production workshop with air dust collection equipment, which has the following beneficial effects:
1、该高效环保水泥生产车间用空气粉尘收集设备,通过设置支撑座、吸尘罩、波纹管、抽风机、排气管、除尘箱、储水箱、排尘管、出气管和过滤网,启动抽风机,将水泥生产设备附近的粉尘吸入吸尘罩内,并依次经过波纹管和排气管进入除尘箱内,过滤网可将空气内的大颗粒粉尘过滤,小颗粒粉尘和气体被排入储水箱内并进入水中,净化后的气体经过出气管排出,能够将吸入的空气中的粉尘完全收集除去,对气体内的粉尘过滤净化效果更好。1. This high-efficiency and environmentally friendly air dust collection equipment for cement production workshops is started by setting up support bases, dust hoods, bellows, exhaust fans, exhaust pipes, dust removal boxes, water storage tanks, dust exhaust pipes, air outlet pipes and filters. The exhaust fan sucks the dust near the cement production equipment into the dust hood, and enters the dust box through the corrugated pipe and the exhaust pipe in turn. The filter screen can filter the large particle dust in the air, and the small particle dust and gas are discharged into In the water storage tank and into the water, the purified gas is discharged through the air outlet pipe, which can completely collect and remove the dust in the inhaled air, and has a better filtering and purification effect on the dust in the gas.
2、该高效环保水泥生产车间用空气粉尘收集设备,通过设置电机、活动槽、活动块和螺纹杆,当需要调节吸尘罩的高度时,启动电机,使其正转或反转,带动活动块在活动槽内运动,使得活动块在螺纹杆上做上升或下降运动,带动支撑座和吸尘罩运动,使得抽风机的输入端高度可调,便于对不同高度的水泥生产设备附近进行除尘。2. This high-efficiency and environmentally friendly cement production workshop uses air dust collection equipment. By setting the motor, movable groove, movable block and threaded rod, when the height of the dust hood needs to be adjusted, start the motor to make it rotate forward or reverse to drive the movement. The block moves in the movable groove, so that the movable block moves up or down on the threaded rod, which drives the support base and the dust hood to move, so that the height of the input end of the exhaust fan can be adjusted, which is convenient for dust removal near the cement production equipment of different heights. .
该装置中未涉及部分均与现有技术相同或可采用现有技术加以实现,本实用新型能够将吸入的空气中的粉尘完全收集除去,对气体内的粉尘过滤净化效果更好,且使得抽风机的输入端高度可调,便于对不同高度的水泥生产设备附近进行除尘。The parts not involved in the device are the same as the existing technology or can be realized by using the existing technology. The utility model can completely collect and remove the dust in the inhaled air, and has a better filtering and purification effect on the dust in the gas, and makes the exhaust air The height of the input end of the machine is adjustable, which is convenient for dust removal near the cement production equipment of different heights.
附图说明Description of drawings
图1为本实用新型提出的一种高效环保水泥生产车间用空气粉尘收集设备的结构示意图;Fig. 1 is the structural representation of a kind of high-efficiency environmental protection cement production workshop air dust collection equipment proposed by the utility model;
图2为本实用新型提出的一种高效环保水泥生产车间用空气粉尘收集设备的侧视结构示意图。Figure 2 is a schematic side view of the structure of an air dust collecting device for a high-efficiency and environmentally friendly cement production workshop proposed by the present invention.
图中:1底座、2固定板、3支撑板、4支撑座、5吸尘罩、6波纹管、7抽风机、8排气管、9除尘箱、10箱盖、11储水箱、12排尘管、13出气管、14电机、15活动槽、16活动块、17螺纹杆、18过滤网、19排水管、20过滤环、21活动杆、22浮台。In the picture: 1 base, 2 fixed plate, 3 support plate, 4 support base, 5 dust cover, 6 corrugated pipe, 7 exhaust fan, 8 exhaust pipe, 9 dust box, 10 box cover, 11 water storage tank, 12 row Dust pipe, 13 air outlet pipe, 14 motor, 15 movable slot, 16 movable block, 17 threaded rod, 18 filter screen, 19 drain pipe, 20 filter ring, 21 movable rod, 22 floating platform.
具体实施方式Detailed ways
下面将结合本实用新型实施例中的附图,对本实用新型实施例中的技术方案进行清楚、完整地描述,显然,所描述的实施例仅仅是本实用新型一部分实施例,而不是全部的实施例。The technical solutions in the embodiments of the present utility model will be clearly and completely described below with reference to the accompanying drawings in the embodiments of the present utility model. Obviously, the described embodiments are only a part of the embodiments of the present utility model, rather than all the implementations. example.
在本实用新型的描述中,需要理解的是,术语“上”、“下”、“前”、“后”、“左”、“右”、“顶”、“底”、“内”、“外”等指示的方位或位置关系为基于附图所示的方位或位置关系,仅是为了便于描述本实用新型和简化描述,而不是指示或暗示所指的装置或元件必须具有特定的方位、以特定的方位构造和操作,因此不能理解为对本实用新型的限制。In the description of the present invention, it should be understood that the terms "upper", "lower", "front", "rear", "left", "right", "top", "bottom", "inside", The orientation or positional relationship indicated by "outside" is based on the orientation or positional relationship shown in the accompanying drawings, which is only for the convenience of describing the present invention and simplifying the description, rather than indicating or implying that the indicated device or element must have a specific orientation , are constructed and operated in a specific orientation, and therefore should not be construed as a limitation of the present invention.
参照图1-2,一种高效环保水泥生产车间用空气粉尘收集设备,包括底座1,底座1上端对称固定连接有固定板2,两个固定板2上端共同固定连接有支撑板3,支撑板3上安装有支撑座4,支撑座4底部安装有吸尘罩5,吸尘罩5的输入端连通有波纹管6,波纹管6的另一端连通有抽风机7,抽风机7安装在支撑板3竖直侧壁上,抽风机7的输出端连通有排气管8,排气管8的另一端连通有一侧开口的除尘箱9,除尘箱9箱口处安装有箱盖10,除尘箱9固定连接在支撑板3上,底座1上端固定连接有储水箱11,除尘箱9底部连通有排尘管12,排尘管12的另一端穿过储水箱11箱壁并向水内延伸,储水箱11箱壁上连通有L型的出气管13,底座1底部的四角处均安装有万向轮,且万向轮上安装有刹车片,启动抽风机7,将水泥生产设备附近的粉尘吸入吸尘罩5内,并依次经过波纹管6和排气管8进入除尘箱9内,过滤网18可将空气内的大颗粒粉尘过滤,小颗粒粉尘和气体被排入储水箱11内并进入水中,净化后的气体经过出气管13排出,能够将吸入的空气中的粉尘完全收集除去,对气体内的粉尘过滤净化效果更好。1-2, a high-efficiency environmental protection cement production workshop with air dust collection equipment, including a
底座1上端安装有电机14,支撑板3竖直侧壁上开设有活动槽15,活动槽15内滑动连接有活动块16,活动块16内设有螺纹孔,活动槽15相向的槽壁上通过两个轴承转动连接有螺纹杆17,螺纹杆17下端穿过轴承并向外延伸,且通过联轴器与电机14的输出端连接,活动块16通过螺纹孔与螺纹杆17杆壁螺纹连接,活动块16靠近吸尘罩5的一端穿过活动槽15槽口并向外延伸,且固定连接在支撑座4上,启动电机14,使其正转或反转,带动活动块16在活动槽15内运动,使得活动块16在螺纹杆17上做上升或下降运动,带动支撑座4和吸尘罩5运动,使得抽风机7的输入端高度可调,便于对不同高度的水泥生产设备附近进行除尘。A
除尘箱9相向的内箱壁上对称固定连接有抵块,除尘箱9内滑动连接有过滤网18,过滤网18上固定连接有拉杆,便于将过滤网18取出,易于过滤网18的清理。The opposite inner box walls of the
储水箱11靠近底座1的箱壁上连通有排水管19,排水管19上安装有管阀,便于储水箱11的定期换水。A
排尘管12管壁上固定套接有过滤环20,过滤环20上设有若干个通孔,气体通入水中后,会产生气泡,过滤环20可以将产生的气泡破裂。A
储水箱11上箱壁上设有滑孔,且滑孔内滑动连接有活动杆21,活动杆21杆壁上设有刻度,活动杆21上端穿过滑孔并向外延伸,且固定连接有限位块,活动杆21的下端固定连接有浮台22,可以及时的监测储水箱11内的水位,避免水经过出气管13泄露。A sliding hole is provided on the upper wall of the
本实用新型中,启动抽风机7,将水泥生产设备附近的粉尘吸入吸尘罩5内,并依次经过波纹管6和排气管8进入除尘箱9内,过滤网18可将空气内的大颗粒粉尘过滤,小颗粒粉尘和气体被排入储水箱11内并进入水中,净化后的气体经过出气管13排出,能够将吸入的空气中的粉尘完全收集除去,对气体内的粉尘过滤净化效果更好,启动电机14,使其正转或反转,带动活动块16在活动槽15内运动,使得活动块16在螺纹杆17上做上升或下降运动,带动支撑座4和吸尘罩5运动,使得抽风机7的输入端高度可调,便于对不同高度的水泥生产设备附近进行除尘。In the present utility model, the
以上所述,仅为本实用新型较佳的具体实施方式,但本实用新型的保护范围并不局限于此,任何熟悉本技术领域的技术人员在本实用新型揭露的技术范围内,根据本实用新型的技术方案及其实用新型构思加以等同替换或改变,都应涵盖在本实用新型的保护范围之内。The above description is only a preferred embodiment of the present invention, but the protection scope of the present invention is not limited to this. Equivalent replacement or modification of the new technical solution and its utility model concept shall be included within the protection scope of the present utility model.
Claims (6)
Priority Applications (1)
| Application Number | Priority Date | Filing Date | Title |
|---|---|---|---|
| CN201921949758.4U CN211133458U (en) | 2019-11-13 | 2019-11-13 | A high-efficiency and environmentally friendly air dust collection equipment for cement production workshops |
Applications Claiming Priority (1)
| Application Number | Priority Date | Filing Date | Title |
|---|---|---|---|
| CN201921949758.4U CN211133458U (en) | 2019-11-13 | 2019-11-13 | A high-efficiency and environmentally friendly air dust collection equipment for cement production workshops |
Publications (1)
| Publication Number | Publication Date |
|---|---|
| CN211133458U true CN211133458U (en) | 2020-07-31 |
Family
ID=71776287
Family Applications (1)
| Application Number | Title | Priority Date | Filing Date |
|---|---|---|---|
| CN201921949758.4U Expired - Fee Related CN211133458U (en) | 2019-11-13 | 2019-11-13 | A high-efficiency and environmentally friendly air dust collection equipment for cement production workshops |
Country Status (1)
| Country | Link |
|---|---|
| CN (1) | CN211133458U (en) |
Cited By (1)
| Publication number | Priority date | Publication date | Assignee | Title |
|---|---|---|---|---|
| CN114101266A (en) * | 2021-11-26 | 2022-03-01 | 上海仓合建筑科技有限公司 | Interior decoration dust isolation equipment |
-
2019
- 2019-11-13 CN CN201921949758.4U patent/CN211133458U/en not_active Expired - Fee Related
Cited By (1)
| Publication number | Priority date | Publication date | Assignee | Title |
|---|---|---|---|---|
| CN114101266A (en) * | 2021-11-26 | 2022-03-01 | 上海仓合建筑科技有限公司 | Interior decoration dust isolation equipment |
Similar Documents
| Publication | Publication Date | Title |
|---|---|---|
| CN108465336B (en) | Municipal administration road brick cutting dust keeper | |
| CN105169870B (en) | A kind of industrial dust collector | |
| CN205019905U (en) | Air purification and dust remover | |
| CN211133458U (en) | A high-efficiency and environmentally friendly air dust collection equipment for cement production workshops | |
| CN107638761A (en) | An environmentally friendly dust removal equipment for mechanical automation processing workshops | |
| CN216572281U (en) | An environmental protection dust removal device for construction engineering decoration | |
| CN205360947U (en) | Water dust scrubber | |
| CN105289175A (en) | Industrial waste gas purifying device | |
| CN211753680U (en) | Dust treatment device for industrial waste gas treatment | |
| CN202477556U (en) | Dust collecting device | |
| CN101976030B (en) | Dust removal machine for laser drum powder box | |
| CN216440276U (en) | Coal mine ventilation dust removal device | |
| CN209902998U (en) | Dust collecting device of shot blasting machine | |
| CN215610334U (en) | Dust collector is used in building engineering construction | |
| CN204748343U (en) | Wet -type platform of polishing | |
| CN108261923A (en) | A kind of movable type apparatus for purifying cutting liquid | |
| CN208990396U (en) | A dust suction device | |
| CN217330149U (en) | Improvement type air purifier | |
| CN114833162B (en) | Environmentally friendly dust removal equipment for construction engineering | |
| CN221131170U (en) | Filter for chemical production | |
| CN220609532U (en) | Pulse cloth bag dust collector free of box opening inspection | |
| CN206168137U (en) | Wet process water bath formula dust collector and integrated form dust pelletizing system of polishing | |
| CN220758538U (en) | Air circulation purifying equipment for ceramic production workshop | |
| CN221906194U (en) | Novel bag type dust collector | |
| CN206214965U (en) | A kind of portable steel scrap cutting flue dust collecting device |
Legal Events
| Date | Code | Title | Description |
|---|---|---|---|
| GR01 | Patent grant | ||
| GR01 | Patent grant | ||
| CF01 | Termination of patent right due to non-payment of annual fee | ||
| CF01 | Termination of patent right due to non-payment of annual fee |
Granted publication date: 20200731 Termination date: 20211113 |
