CN211119962U - A central air conditioner cooling fan bracket - Google Patents
A central air conditioner cooling fan bracket Download PDFInfo
- Publication number
- CN211119962U CN211119962U CN201922190708.9U CN201922190708U CN211119962U CN 211119962 U CN211119962 U CN 211119962U CN 201922190708 U CN201922190708 U CN 201922190708U CN 211119962 U CN211119962 U CN 211119962U
- Authority
- CN
- China
- Prior art keywords
- cooling fan
- installation
- bolts
- hanger
- central air
- Prior art date
- Legal status (The legal status is an assumption and is not a legal conclusion. Google has not performed a legal analysis and makes no representation as to the accuracy of the status listed.)
- Expired - Fee Related
Links
- 238000001816 cooling Methods 0.000 title claims abstract description 49
- 238000004378 air conditioning Methods 0.000 claims description 20
- 238000009434 installation Methods 0.000 abstract description 60
- 230000007774 longterm Effects 0.000 abstract description 4
- 238000010586 diagram Methods 0.000 description 4
- 230000005484 gravity Effects 0.000 description 4
- 230000017525 heat dissipation Effects 0.000 description 2
- 238000010438 heat treatment Methods 0.000 description 2
- 230000001681 protective effect Effects 0.000 description 2
- 230000009286 beneficial effect Effects 0.000 description 1
- 238000004891 communication Methods 0.000 description 1
- 230000007547 defect Effects 0.000 description 1
- 238000005516 engineering process Methods 0.000 description 1
- 239000007788 liquid Substances 0.000 description 1
- 238000000034 method Methods 0.000 description 1
- 230000000149 penetrating effect Effects 0.000 description 1
- 238000005057 refrigeration Methods 0.000 description 1
- 230000008016 vaporization Effects 0.000 description 1
- 238000009834 vaporization Methods 0.000 description 1
Images
Landscapes
- Other Air-Conditioning Systems (AREA)
Abstract
本实用新型公开了一种中央空调散热风机支架,包括吊架、支撑组件和横板,所述横板的两侧通过螺栓安装有底架,所述底架的顶部通过螺栓安装有连接杆,所述连接杆的顶部通过螺栓安装有顶架,所述顶架的一端焊接有固定板,所述顶架的顶部通过固定轴安装有吊架,所述底架和横板的顶部通过螺栓等距安装有挡板,所述底架的底部通过螺栓安装有支撑组件。本实用新型通过在顶架得到顶部安装有吊架,通过吊架可增加装置安装的牢固性结构,提高装置安装的牢固性,使其可对装置产生一个向上的提拉力,保证了散热风机进行安装时的牢固性,使其装置在长期的风化的作用下不容易产生松动,保证了装置安装的安全性。
The utility model discloses a support for a cooling fan of a central air conditioner, which comprises a hanger, a support assembly and a horizontal plate. A bottom frame is installed on both sides of the horizontal plate through bolts, and a connecting rod is installed on the top of the bottom frame through bolts. The top of the connecting rod is installed with a top frame through bolts, one end of the top frame is welded with a fixed plate, the top of the top frame is installed with a hanger through a fixed shaft, and the top of the bottom frame and the horizontal plate is installed with bolts, etc. A baffle is installed at the distance, and a support assembly is installed on the bottom of the chassis through bolts. In the utility model, a hanger is installed on the top of the top frame, and the hanger can increase the firmness of the device installation, improve the firmness of the device installation, so that it can generate an upward pulling force on the device, and ensure that the cooling fan is installed. The firmness of the installation makes the device not easy to loosen under the action of long-term weathering, which ensures the safety of the installation of the device.
Description
技术领域technical field
本实用新型涉及风机支架技术领域,具体为一种中央空调散热风机支架。The utility model relates to the technical field of fan brackets, in particular to a central air-conditioning cooling fan bracket.
背景技术Background technique
中央空调系统由一个或多个冷热源系统和多个空气调节系统组成,采用液体气化制冷的原理为空气调节系统提供所需冷量,用以抵消室内环境的热负荷,制热系统为空气调节系统提供所需热量,用以抵消室内环境冷暖负荷,在中央空调的正常运行中需要通过中央空调散热风机将热量排出室内,而中央空调散热风机对安装在室外,在对中央空调散热风机进行安装时需要用到支架对其进行固定安装。The central air-conditioning system consists of one or more cold and heat source systems and multiple air-conditioning systems. The principle of liquid vaporization refrigeration is used to provide the required cooling capacity for the air-conditioning system to offset the heat load of the indoor environment. The heating system is The air conditioning system provides the required heat to offset the cooling and heating load of the indoor environment. During the normal operation of the central air conditioner, the heat needs to be discharged indoors through the central air conditioning cooling fan, and the central air conditioning cooling fan is installed outdoors. When installing, you need to use a bracket to fix it.
现有的中央空调散热风机支架存在的缺陷是:The defects of the existing central air-conditioning cooling fan bracket are:
1、现有的中央空调散热风机支架在对散热风机进行安装时的牢固性较差,使其在长期的风化的作用下容易产生松动,存在一定的安全隐患;1. The existing central air-conditioning cooling fan bracket has poor firmness when installing the cooling fan, which makes it easy to loosen under the action of long-term weathering, and there are certain safety hazards;
2、现有的中央空调散热风机支架在受到散热风机重力的影响下容易产生倾斜,使其导致散热风机安装位置不在水平线上,影响散热风机安装的稳固性,为此我们提出一种中央空调散热风机支架来解决现有的问题。2. The existing central air-conditioning cooling fan bracket is prone to tilt under the influence of the gravity of the cooling fan, so that the installation position of the cooling fan is not on the horizontal line, which affects the stability of the cooling fan installation. For this reason, we propose a central air-conditioning cooling system. Fan bracket to solve the existing problem.
实用新型内容Utility model content
本实用新型的目的在于提供一种中央空调散热风机支架,以解决上述背景技术中提出的问题。The purpose of the present utility model is to provide a central air-conditioning cooling fan support, so as to solve the problems raised in the above-mentioned background technology.
为实现上述目的,本实用新型提供如下技术方案:一种中央空调散热风机支架,包括吊架、支撑组件和横板,所述横板的两侧通过螺栓安装有底架,所述底架的顶部通过螺栓安装有连接杆,所述连接杆的顶部通过螺栓安装有顶架,所述顶架的一端焊接有固定板,所述顶架的顶部通过固定轴安装有吊架,所述底架和横板的顶部通过螺栓等距安装有挡板,所述底架的底部通过螺栓安装有支撑组件。In order to achieve the above purpose, the present utility model provides the following technical solutions: a central air-conditioning cooling fan support, including a hanger, a support assembly and a horizontal plate, the two sides of the horizontal plate are installed with a chassis through bolts, and the A connecting rod is installed on the top through bolts, a top frame is installed on the top of the connecting rod through bolts, a fixing plate is welded on one end of the top frame, a hanger is installed on the top of the top frame through a fixed shaft, and the bottom frame is A baffle plate is installed equidistantly from the top of the horizontal plate through bolts, and a support assembly is installed at the bottom of the bottom frame through bolts.
优选的,所述吊架的内部安装有吊杆,吊杆的两端通过固定环安装有钢索绳,钢索绳的顶部通过螺栓安装有角件,且钢索绳的底部设有轴套。Preferably, a hanger is installed inside the hanger, the two ends of the hanger are installed with wire ropes through fixing rings, the top of the wire rope is installed with angle pieces through bolts, and the bottom of the wire rope is provided with a bushing .
优选的,所述支撑组件的内部安装有支持杆,支持杆的顶部通过轴件安装有轴架,且支持杆的底部通过轴栓安装有安装轴。Preferably, a support rod is installed inside the support assembly, a shaft bracket is installed on the top of the support rod through a shaft member, and a mounting shaft is installed on the bottom of the support rod through a shaft bolt.
优选的,所述横板的内部设有安装孔,且横板的两端焊接有安装块,且安装块的内部设有螺纹孔。Preferably, the interior of the transverse plate is provided with mounting holes, and the two ends of the transverse plate are welded with mounting blocks, and the interior of the mounting blocks are provided with threaded holes.
优选的,所述挡板的两端焊接有连接板,且挡板的内部设有通孔。Preferably, the two ends of the baffle are welded with connecting plates, and the interior of the baffle is provided with through holes.
优选的,所述底架的内部设有安装槽,且底架的一端焊接有安装板。Preferably, a mounting groove is provided inside the bottom frame, and a mounting plate is welded on one end of the bottom frame.
与现有技术相比,本实用新型的有益效果是:Compared with the prior art, the beneficial effects of the present utility model are:
1、本实用新型通过在顶架得到顶部安装有吊架,通过吊架可增加装置安装的牢固性结构,提高装置安装的牢固性,使其可对装置产生一个向上的提拉力,保证了散热风机进行安装时的牢固性,使其装置在长期的风化的作用下不容易产生松动,保证了装置安装的安全性。1. The utility model obtains a hanger installed on the top of the top frame, and the hanger can increase the firmness of the device installation, improve the firmness of the device installation, so that it can generate an upward pulling force on the device, ensuring heat dissipation. The firmness of the fan during installation makes it difficult for the device to loosen under the action of long-term weathering, which ensures the safety of the device installation.
2、本实用新型通过在底架的底部安装有支撑组件,通过支撑组件可对装置产生支持力,提高装置的受力系数,使其装置在受到散热风机重力的影响下不容易产生倾斜,保证了散热风机安装保持水平位置,提高散热风机安装的稳固性。2. In the present invention, a support component is installed at the bottom of the chassis, and the support component can generate a support force for the device, improve the force coefficient of the device, and make the device less prone to tilt under the influence of the gravity of the cooling fan, ensuring that The installation of the cooling fan is kept in a horizontal position, and the stability of the installation of the cooling fan is improved.
3、本实用新型通过在底架的内部设有安装槽,通过安装槽可便于装置安装,提高了装置安装的效率,使其便于工作人员在拆装装置时更加的方便,提高了装置的实用性。3. The utility model is provided with an installation groove inside the chassis, and the installation groove can facilitate the installation of the device, improve the installation efficiency of the device, make it more convenient for the staff to disassemble the device, and improve the practicality of the device. sex.
4、本实用新型通过安装有挡板,可增加装置的防护结构,提高装置的防护安全性,可有效防止散热风机发生侧倒的危险,保证了散热风机安装的安全性。4. The utility model can increase the protection structure of the device by installing the baffle plate, improve the protection safety of the device, can effectively prevent the danger of side fall of the cooling fan, and ensure the safety of the installation of the cooling fan.
附图说明Description of drawings
图1为本实用新型的正面结构示意图;Fig. 1 is the front structure schematic diagram of the present utility model;
图2为本实用新型的侧面结构示意图;Fig. 2 is the side structure schematic diagram of the utility model;
图3为本实用新型的支撑组件局部结构示意图;3 is a schematic diagram of the partial structure of the support assembly of the present invention;
图4为本实用新型的横板局部结构示意图。FIG. 4 is a schematic diagram of the partial structure of the horizontal plate of the present invention.
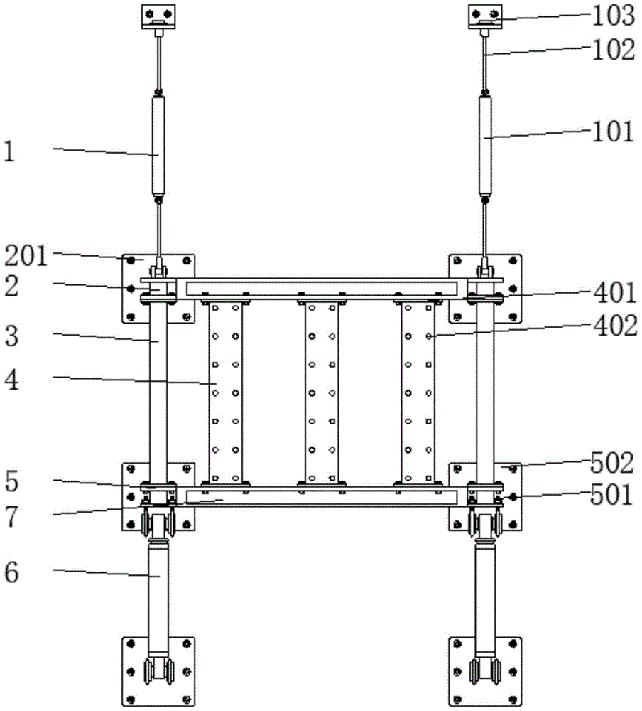
图中:1、吊架;101、吊杆;102、钢索绳;103、角件;2、顶架;201、固定板;3、连接杆;4、挡板;401、连接板;402、通孔;5、底架;501、安装槽;502、安装板;6、支撑组件;601、支持杆;602、轴件;603、轴架;604、安装轴;7、横板;701、安装孔;702、安装块。In the figure: 1, hanger; 101, boom; 102, wire rope; 103, corner piece; 2, top frame; 201, fixed plate; 3, connecting rod; 4, baffle plate; 401, connecting plate; 402 , through hole; 5, chassis; 501, installation slot; 502, installation plate; 6, support assembly; 601, support rod; 602, shaft part; 603, shaft frame; 604, installation shaft; 7, horizontal plate; 701 , mounting hole; 702, mounting block.
具体实施方式Detailed ways
下面将结合本实用新型实施例中的附图,对本实用新型实施例中的技术方案进行清楚、完整地描述,显然,所描述的实施例仅仅是本实用新型一部分实施例,而不是全部的实施例。基于本实用新型中的实施例,本领域普通技术人员在没有做出创造性劳动前提下所获得的所有其他实施例,都属于本实用新型保护的范围。The technical solutions in the embodiments of the present utility model will be clearly and completely described below with reference to the accompanying drawings in the embodiments of the present utility model. Obviously, the described embodiments are only a part of the embodiments of the present utility model, rather than all the implementations. example. Based on the embodiments of the present invention, all other embodiments obtained by those of ordinary skill in the art without creative work fall within the protection scope of the present invention.
在本实用新型的描述中,需要说明的是,术语“上”、“下”、“内”、“外”“前端”、“后端”、“两端”、“一端”、“另一端”等指示的方位或位置关系为基于附图所示的方位或位置关系,仅是为了便于描述本实用新型和简化描述,而不是指示或暗示所指的装置或元件必须具有特定的方位、以特定的方位构造和操作,因此不能理解为对本实用新型的限制。此外,术语“第一”、“第二”仅用于描述目的,而不能理解为指示或暗示相对重要性。In the description of the present invention, it should be noted that the terms "upper", "lower", "inner", "outer", "front end", "rear end", "two ends", "one end", "the other end" The orientation or positional relationship indicated by "" etc. is based on the orientation or positional relationship shown in the accompanying drawings, and is only for the convenience of describing the present invention and simplifying the description, rather than indicating or implying that the indicated device or element must have a specific orientation, so as to The specific orientation configuration and operation is therefore not to be construed as a limitation of the present invention. Furthermore, the terms "first" and "second" are used for descriptive purposes only and should not be construed to indicate or imply relative importance.
在本实用新型的描述中,需要说明的是,除非另有明确的规定和限定,术语“安装”、“设置有”、“连接”等,应做广义理解,例如“连接”,可以是固定连接,也可以是可拆卸连接,或一体地连接;可以是机械连接,也可以是电连接;可以是直接相连,也可以通过中间媒介间接相连,可以是两个元件内部的连通。对于本领域的普通技术人员而言,可以具体情况理解上述术语在本实用新型中的具体含义。In the description of the present utility model, it should be noted that, unless otherwise expressly specified and limited, the terms "installed", "provided with", "connected", etc., should be understood in a broad sense, for example, "connected" may be a fixed The connection can also be a detachable connection, or an integral connection; it can be a mechanical connection or an electrical connection; it can be a direct connection, or an indirect connection through an intermediate medium, and it can be internal communication between two components. For those of ordinary skill in the art, the specific meanings of the above terms in the present invention can be understood in specific situations.
请参阅图1-4,本实用新型提供的一种实施例:一种中央空调散热风机支架,包括吊架1、支撑组件6和横板7,横板7的两侧通过螺栓安装有底架5,横板7可为散热风机提供放置平台,保证了散热风机安装的牢固性,两组底架5可固定横板7的位置,便于将横板7固定在墙面,保证了横板7安装的牢固性,底架5的顶部通过螺栓安装有连接杆3,底架5通过连接杆3可与顶架2连接,增加顶架2和底架5连接的牢固性,连接杆3的顶部通过螺栓安装有顶架2,顶架2的内部通过螺栓安装有横板7,通过横板7可保护散热风机,防止有坠落物砸向散热风机,保证了散热风机的安全性,顶架2的一端焊接有固定板201,固定板201与螺栓配合可将顶架2牢牢地固定在墙面,保证了顶架2安装的牢固性,顶架2的顶部通过固定轴安装有吊架1,通过吊架1可增加装置安装的牢固性结构,提高装置安装的牢固性,使其可对装置产生一个向上的提拉力,保证了散热风机进行安装时的牢固性,使其装置在长期的风化的作用下不容易产生松动,保证了装置安装的安全性,底架5和横板7的顶部通过螺栓等距安装有挡板4,通过挡板4可增加装置的防护结构,提高装置的防护安全性,可有效防止散热风机发生侧倒的危险,保证了散热风机安装的安全性,底架5的底部通过螺栓安装有支撑组件6,通过支撑组件6可对装置产生支持力,提高装置的受力系数,使其装置在受到散热风机重力的影响下不容易产生倾斜,保证了散热风机安装保持水平位置,提高散热风机安装的稳固性。Please refer to Figures 1-4, an embodiment provided by the present utility model: a central air-conditioning cooling fan bracket, including a
进一步,吊架1的内部安装有吊杆101,吊杆101的两端焊接有固定环,通过吊杆101可便于连接钢索绳102,增加装置安装的效率,吊杆101的两端通过固定环安装有钢索绳102,钢索绳102具有良好的坚韧性,可提高吊架1的拉力系数,保证了装置的安装的牢固性,钢索绳102的顶部通过螺栓安装有角件103,通过角件103可与膨胀螺丝配合,便于将吊架1固定在墙面,保证装置安装的牢固性,且钢索绳102的底部设有轴套,轴套可以顶架2的顶的固定轴活动连接,便于调节吊架1的安装角度,使其可根据安装需要进行调节,提高了装置安装的灵活性。Further, a
进一步,支撑组件6的内部安装有支持杆601,支持杆601可对装置产生支持力,提高了装置安装的稳固性,支持杆601的顶部通过轴件602安装有轴架603,轴件602可与轴架603配合,便于将支持杆601固定在底架5的底部,同时也便于支持杆601角度的调节,且支持杆601的底部通过轴栓安装有安装轴604,通过安装轴604可将支持杆601固定在墙面,保证了支持杆601安装的牢固性。Further, a
进一步,横板7的内部设有安装孔701,安装孔701与螺栓配合可固定挡板4的位置,便于挡板4安装,提高了装置安装的效率,且横板7的两端焊接有安装块702,安装块702可与安装槽501配合便于横板7的安装,提高了横板7安装的效率和牢固性,且安装块702的内部设有螺纹孔,螺纹孔可与螺栓配合可将横板7牢牢地固定在底架5的内部,便于装置的安装。Further, the interior of the
进一步,挡板4的两端焊接有连接板401,连接板401的内部设有螺纹孔可便于挡板4安装,提高了挡板4安装的牢固性,且挡板4的内部设有通孔402,通孔402与螺栓配合可便于固定散热风机的位置,防止散热风机发生晃动,保证了散热风机安装的牢固性。Further, the two ends of the
进一步,底架5的内部设有安装槽501,安装槽501可为安装块702提高安装位置,可便于横板7进行安装,提高了横板7安装的效率,使其便于工作人员在拆装装置时更加的方便,提高了装置的实用性,且底架5的一端焊接有安装板502,安装板502的内部设有贯穿的膨胀螺丝,使其可便于工作人员安装装置,提高了装置的安装效率。Further, the interior of the
工作原理:使用本装置前,使用人员先对装置进行检测,确认没有问题后使用,通过吊架1可增加装置安装的牢固性结构,提高装置安装的牢固性,使其可对装置产生一个向上的提拉力,保证了散热风机进行安装时的牢固性,使其装置在长期的风化的作用下不容易产生松动,保证了装置安装的安全性,通过挡板4可增加装置的防护结构,提高装置的防护安全性,可有效防止散热风机发生侧倒的危险,保证了散热风机安装的安全性,通过支撑组件6可对装置产生支持力,提高装置的受力系数,使其装置在受到散热风机重力的影响下不容易产生倾斜,保证了散热风机安装保持水平位置,提高散热风机安装的稳固性。Working principle: Before using the device, the user should first test the device and use it after confirming that there is no problem. The
对于本领域技术人员而言,显然本实用新型不限于上述示范性实施例的细节,而且在不背离本实用新型的精神或基本特征的情况下,能够以其他的具体形式实现本实用新型。因此,无论从哪一点来看,均应将实施例看作是示范性的,而且是非限制性的,本实用新型的范围由所附权利要求而不是上述说明限定,因此旨在将落在权利要求的等同要件的含义和范围内的所有变化囊括在本实用新型内。不应将权利要求中的任何附图标记视为限制所涉及的权利要求。It will be apparent to those skilled in the art that the present invention is not limited to the details of the above-described exemplary embodiments, and that the present invention may be implemented in other specific forms without departing from the spirit or essential characteristics of the present invention. Therefore, the embodiments are to be considered in all respects as exemplary and not restrictive, and the scope of the present invention is defined by the appended claims rather than the foregoing description, and it is therefore intended that the All changes within the meaning and range of the required equivalents are embraced within the present invention. Any reference signs in the claims shall not be construed as limiting the involved claim.
Claims (6)
Priority Applications (1)
| Application Number | Priority Date | Filing Date | Title |
|---|---|---|---|
| CN201922190708.9U CN211119962U (en) | 2019-12-10 | 2019-12-10 | A central air conditioner cooling fan bracket |
Applications Claiming Priority (1)
| Application Number | Priority Date | Filing Date | Title |
|---|---|---|---|
| CN201922190708.9U CN211119962U (en) | 2019-12-10 | 2019-12-10 | A central air conditioner cooling fan bracket |
Publications (1)
| Publication Number | Publication Date |
|---|---|
| CN211119962U true CN211119962U (en) | 2020-07-28 |
Family
ID=71696064
Family Applications (1)
| Application Number | Title | Priority Date | Filing Date |
|---|---|---|---|
| CN201922190708.9U Expired - Fee Related CN211119962U (en) | 2019-12-10 | 2019-12-10 | A central air conditioner cooling fan bracket |
Country Status (1)
| Country | Link |
|---|---|
| CN (1) | CN211119962U (en) |
-
2019
- 2019-12-10 CN CN201922190708.9U patent/CN211119962U/en not_active Expired - Fee Related
Similar Documents
| Publication | Publication Date | Title |
|---|---|---|
| CN204902048U (en) | Air condensing units installing support and air conditioner | |
| US9217449B2 (en) | Outdoor unit bracket and outdoor unit comprising the same | |
| CN105485797A (en) | Steel-structure air conditioner bracket | |
| CN211119962U (en) | A central air conditioner cooling fan bracket | |
| CN207729815U (en) | A kind of steel-structure air conditioner bracket | |
| CN108910446B (en) | A blanking storage device for copper tube manufacturing equipment | |
| CN211421901U (en) | Planking supports convenient to dismouting | |
| CN211119727U (en) | Air conditioner external unit support frame capable of avoiding condensed water accumulation | |
| CN207065853U (en) | A kind of air conditioner support | |
| CN210772521U (en) | Outer quick machine bearing frame of air conditioner of installing fast fixedly | |
| CN211119731U (en) | A fixed bracket for an air conditioner host | |
| CN210920364U (en) | Pipeline spring support and hanger | |
| CN209744570U (en) | outer quick-witted fixing base of air conditioning system | |
| CN211046163U (en) | Heat radiation structure of electric distribution box | |
| CN221652925U (en) | A communication chassis structure | |
| CN215733276U (en) | Energy-saving bridge convenient to install fast | |
| CN207815534U (en) | A kind of supporting rack of central air conditioner external machine | |
| CN217159220U (en) | Air insulation type bus duct convenient to heat dissipation | |
| CN211041200U (en) | Outer quick-witted mounting bracket of domestic air conditioner | |
| CN219700925U (en) | Support convenient to equipment pluralism installation | |
| CN206727473U (en) | A kind of casing of new transmission line of electricity monitoring server | |
| CN207936351U (en) | Fan supporter and air-conditioner outdoor unit | |
| CN216844935U (en) | Mounting frame for air conditioner outdoor unit | |
| CN210981520U (en) | An environmental noise detector | |
| CN209837724U (en) | Warm grillage that rolls over that leads to of building |
Legal Events
| Date | Code | Title | Description |
|---|---|---|---|
| GR01 | Patent grant | ||
| GR01 | Patent grant | ||
| CF01 | Termination of patent right due to non-payment of annual fee |
Granted publication date: 20200728 |
|
| CF01 | Termination of patent right due to non-payment of annual fee |
