CN211105162U - Plastic film forming's calendering equipment - Google Patents
Plastic film forming's calendering equipment Download PDFInfo
- Publication number
- CN211105162U CN211105162U CN201921860108.2U CN201921860108U CN211105162U CN 211105162 U CN211105162 U CN 211105162U CN 201921860108 U CN201921860108 U CN 201921860108U CN 211105162 U CN211105162 U CN 211105162U
- Authority
- CN
- China
- Prior art keywords
- support
- rod
- cutting device
- gear
- plastic film
- Prior art date
- Legal status (The legal status is an assumption and is not a legal conclusion. Google has not performed a legal analysis and makes no representation as to the accuracy of the status listed.)
- Expired - Fee Related
Links
- 238000003490 calendering Methods 0.000 title claims abstract description 27
- 239000002985 plastic film Substances 0.000 title claims abstract description 17
- 229920006255 plastic film Polymers 0.000 title claims abstract description 17
- 238000005520 cutting process Methods 0.000 claims abstract description 48
- 230000006835 compression Effects 0.000 claims description 17
- 238000007906 compression Methods 0.000 claims description 17
- 238000003466 welding Methods 0.000 claims 2
- 238000004519 manufacturing process Methods 0.000 description 3
- 238000000034 method Methods 0.000 description 2
- 239000000203 mixture Substances 0.000 description 2
- 230000002093 peripheral effect Effects 0.000 description 2
- 239000004033 plastic Substances 0.000 description 2
- 238000003825 pressing Methods 0.000 description 2
- 230000004075 alteration Effects 0.000 description 1
- 230000009286 beneficial effect Effects 0.000 description 1
- 230000003028 elevating effect Effects 0.000 description 1
- 238000012986 modification Methods 0.000 description 1
- 230000004048 modification Effects 0.000 description 1
- 238000005096 rolling process Methods 0.000 description 1
- 238000006467 substitution reaction Methods 0.000 description 1
Images
Landscapes
- Casting Or Compression Moulding Of Plastics Or The Like (AREA)
Abstract
The utility model belongs to the technical field of calendering equipment, especially, be a fashioned calendering equipment of plastic film, including first support, second support and blade, the top of first support is provided with the bracing piece, and is welded connection between first support and the bracing piece, the inside avris of bracing piece runs through there is the control lever, and the end connection of control lever has first gear to the outside of first gear is provided with the rack, the inside of bracing piece is provided with the fixed axle, and the periphery of fixed axle runs through there is the second gear, the avris of rack is provided with the telescopic link, and is fixed connection between telescopic link and the rack, the second support mounting is in the tip of telescopic link, and is welded connection between second support and the telescopic link. This fashioned calendering equipment of plastic film is provided with the work piece that cutting device can effectual cutting below, only needs to remove when work piece length is suitable cutting device about can the fly-cutting, the simple operation, and can not contact the edge of a knife, has promoted the security greatly.
Description
Technical Field
The utility model relates to a calendering equipment technical field specifically is a fashioned calendering equipment of plastic film.
Background
A calender production line is formed by a calender and a linkage auxiliary machine thereof, is one of basic devices in the production process of plastic products, belongs to large-scale high-precision devices, has more than one hundred years of history after being applied to plastic processing, is continuously improved in the process, presents new characteristics nowadays, can greatly improve the production efficiency of people, and facilitates the processing operation.
Most of calendering equipment on the market can not conveniently cut processed products, and is difficult to flexibly adjust the height of calendering between equipment, so that the equipment can not flexibly process products, and the efficiency of processing operation is also influenced to a certain extent.
SUMMERY OF THE UTILITY MODEL
An object of the utility model is to provide a fashioned calendering equipment of plastic film to solve the most cutting process article that can not be convenient of calendering equipment on the market that proposes in the above-mentioned background art, and be difficult to the height of nimble adjusting device within a definite time calendering, make the processing product that equipment can not be nimble, also cause the problem of certain influence to the efficiency of processing operation.
In order to achieve the above object, the utility model provides a following technical scheme: a plastic film forming calendering device comprises a first support, a second support and a blade, wherein a supporting rod is arranged at the top of the first support, the first support is in welded connection with the supporting rod, a control rod penetrates through the inner side of the supporting rod, the end of the control rod is connected with a first gear, a rack is arranged on the outer side of the first gear, a fixed shaft is arranged inside the supporting rod, a second gear penetrates through the periphery of the fixed shaft, a telescopic rod is arranged on the side of the rack, the telescopic rod is fixedly connected with the rack, the second support is arranged at the end of the telescopic rod, the second support is in welded connection with the telescopic rod, a fixed groove is arranged on the side of the second support, a compression roller is connected inside the fixed groove, a cutting device penetrates through the outer side of the second support, and a rotating shaft is arranged inside the cutting device, and the periphery of pivot is connected with the track, cutting device's inside is run through threaded rod, and the bottom of threaded rod is fixed with the movable rod, the blade is installed in cutting device's bottom.
Preferably, the rack forms a lifting structure through the first gear and the support rod, and the support rod and the central axis of the telescopic rod coincide with each other.
Preferably, the second gear forms a rotating structure with the support rod through the fixed shaft, and the fixed shaft and the support rod are integrally arranged.
Preferably, the pressing roller and the second bracket form a rotating structure through a fixing groove, and the pressing roller and the second bracket are parallel to each other.
Preferably, the cutting device forms a sliding structure between the crawler belt and the second bracket, and the crawler belt forms a rotating structure between the rotating shaft and the cutting device.
Preferably, the movable rod forms a lifting structure through the threaded rod and the cutting device, and the threaded rod is in threaded connection with the cutting device.
Compared with the prior art, the beneficial effects of the utility model are that:
1. the plastic film forming calendering equipment is provided with a first support, a control rod can be rotated to drive a first gear at one end to rotate, a peripheral rack is made to move up and down on the periphery of the first gear, a telescopic rod is made to lift and move in a supporting rod, so that the height of a second support is adjusted, the distance between compression rollers can be conveniently adjusted through the device, the processing height of the equipment can be flexibly adjusted, the equipment can meet different processing conditions, a second gear is arranged on one side of the rack, the gear is fixed in the supporting rod through a fixing shaft and can rotate according to the movement of the rack, the telescopic rod is effectively assisted to do telescopic motion, the lifting track is fixed, the telescopic rod is stabilized, and the lifting adjustment and the subsequent processing of the equipment can be more stable and safer;
2. the plastic film forming calendering equipment is provided with the compression rollers, the compression rollers are fixed on the two supports through the fixing grooves and are provided with a plurality of compression rollers, the compression rollers are used as main components of the calendering equipment and can be effectively and stably fixed on the equipment, subsequent processing operation is more stable and safe, then the inner crawler belt of the compression rollers can be clamped and rotated with the clamping teeth on the second support through the push-pull cutting device during processing, the cutting device can conveniently and horizontally adjust the position on the second support, the device can effectively cut processed products below the processed products, when the length of the processed products is proper, the processed products can be quickly cut only by moving the cutting device leftwards and rightwards, the operation is convenient and fast, the cutting edges cannot be contacted, and the;
3. this fashioned calendering equipment of plastic film is provided with the blade, can adjust the height of blade according to the position of the work piece of bottom, through rotating the threaded rod, makes its inside rotatory lift in cutting device, can drive the movable rod lift adjustment height of bottom to the altitude mixture control of bottom blade, the work piece cutting of the different situation of effectual satisfaction more convenient makes the operation more convenient, and the better various processing demands of satisfying.
Drawings
FIG. 1 is a schematic view of the front view of the internal structure of the present invention;
FIG. 2 is a schematic view of the elevation inside structure of the elevating rod of the present invention;
FIG. 3 is a schematic view of the connecting structure between the cutting device and the second bracket according to the present invention;
fig. 4 is a schematic view of the front-view internal connection structure of the cutting device of the present invention.
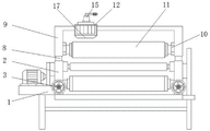
In the figure: 1. a first bracket; 2. a support bar; 3. a control lever; 4. a first gear; 5. a rack; 6. a fixed shaft; 7. a second gear; 8. a telescopic rod; 9. a second bracket; 10. fixing grooves; 11. a compression roller; 12. a cutting device; 13. a rotating shaft; 14. a crawler belt; 15. a threaded rod; 16. a movable rod; 17. a blade.
Detailed Description
The technical solutions in the embodiments of the present invention will be described clearly and completely with reference to the accompanying drawings in the embodiments of the present invention, and it is obvious that the described embodiments are only some embodiments of the present invention, not all embodiments. Based on the embodiments in the present invention, all other embodiments obtained by a person skilled in the art without creative work belong to the protection scope of the present invention.
Referring to fig. 1-4, the present invention provides a technical solution: a plastic film forming calendering device comprises a first support 1, a support rod 2, a control rod 3, a first gear 4, a rack 5, a fixed shaft 6, a second gear 7, a telescopic rod 8, a second support 9, a fixed groove 10, a press roller 11, a cutting device 12, a rotating shaft 13, a crawler 14, a threaded rod 15, a movable rod 16 and a blade 17, wherein the support rod 2 is arranged at the top of the first support 1, the first support 1 is in welded connection with the support rod 2, the control rod 3 penetrates through the inner side of the support rod 2, the end part of the control rod 3 is connected with the first gear 4, the rack 5 is arranged on the outer side of the first gear 4, the rack 5 forms a lifting structure through the first gear 4 and the support rod 2, the central axes of the support rod 2 and the telescopic rod 8 are coincident with each other, so as to adjust the height of the second support 9, the device can conveniently adjust the distance between the press rollers 11, the processing height of the equipment can be flexibly adjusted, so that the equipment can meet different processing conditions, a fixed shaft 6 is arranged in a supporting rod 2, a second gear 7 penetrates through the periphery of the fixed shaft 6, the second gear 7 forms a rotating structure through the fixed shaft 6 and the supporting rod 2, the fixed shaft 6 and the supporting rod 2 are integrally arranged, an effective auxiliary telescopic rod 8 makes telescopic motion, the telescopic rod 8 is stabilized by fixing the lifting track, the telescopic rod 8 is arranged at the side of a safety rack 5, so that the lifting adjustment and the subsequent processing of the equipment can be more stable, the telescopic rod 8 is fixedly connected with the rack 5, a second support 9 is arranged at the end part of the telescopic rod 8, the second support 9 is in welded connection with the telescopic rod 8, a fixed groove side 10 is arranged at the side of the second support 9, a compression roller 11 is connected inside the fixed groove 10, and the compression roller 11 and the second support 9 form a rotating structure through, the compression roller 11 and the second support 9 are parallel to each other, and are used as main components of calendering equipment, the compression roller can be effectively and stably fixed on the equipment, so that a cutting device 12 penetrates through the outer side of the second support 9 more stably and safely for subsequent processing operation, a rotating shaft 13 is arranged inside the cutting device 12, a crawler 14 is connected to the periphery of the rotating shaft 13, the cutting device 12 forms a sliding structure with the second support 9 through the crawler 14, and the crawler 14 forms a rotating structure with the cutting device 12 through the rotating shaft 13, so that the cutting device 12 can conveniently adjust the position on the second support 9 in the left and right directions, the device can effectively cut a processed product below, when the length of the processed product is proper, the processed product can be quickly cut only by moving the cutting device 12 left and right, the operation is convenient, the cutting edge cannot be contacted, and a threaded rod 15 penetrates through the inside of the safety cutting device 12 is greatly improved, and the bottom of threaded rod 15 is fixed with movable rod 16, and movable rod 16 passes through and constitutes elevation structure between threaded rod 15 and the cutting device 12, and is threaded connection between threaded rod 15 and the cutting device 12 to the altitude mixture control of bottom blade 17, the work piece cutting of the different conditions of more convenient effectual satisfying makes the operation more convenient, and the better various processing demands of satisfying, blade 17 installs in the bottom of cutting device 12.
The working principle is as follows: for the rolling equipment, firstly, the first gear 4 at one end can be driven to rotate by rotating the control rod 3, so that the peripheral rack 5 can move up and down on the periphery of the first gear 4, the telescopic rod 8 can move up and down in the supporting rod 2, and the height of the second bracket 9 can be adjusted, the device can conveniently adjust the distance between the compression rollers 11, flexibly adjust the processing height of the equipment, and ensure that the equipment can meet different processing conditions, and the second gear 7 is arranged at one side of the rack 5, the gear is fixed in the supporting rod 2 through the fixing shaft 6, can rotate according to the movement of the rack 5 when in use, effectively assist the telescopic rod 8 to do telescopic motion, stabilize the telescopic rod 8 by fixing the lifting track, so that the lifting adjustment and the subsequent processing of the equipment can be more stable and safe, and then a plurality of compression rollers 11 are fixed on the two brackets through the fixing grooves 10, as the main component of the calendering equipment, can be effectively and stably fixed on the equipment, make the subsequent processing operation more stable and safe, later can make its internal track 14 and latch on the second support 9 mutually block and rotate through pushing and pulling the cutting device 12, make the cutting device 12 can be convenient and fast to control the position on the second support 9, the apparatus can cut the work below effectively, only need to move the cutting device 12 left and right to cut fast when the work length is suitable, easy to operate, and will not contact the edge of a knife, has greatly promoted the security, can adjust the height of the blade 17 according to the position of the work of the bottom finally, through rotating the threaded rod 15, make it rotate and go up and down in the inside of the cutting device 12, can drive the movable rod 16 of the bottom to go up and down to adjust the height, in order to facilitate the height adjustment of the blade 17 of the bottom, the more convenient effectual processing product cutting that satisfies the different conditions of convenience makes the operation more convenient, and the better various processing demands of satisfying just so accomplishes the use of whole calendering equipment.
Although embodiments of the present invention have been shown and described, it will be appreciated by those skilled in the art that changes, modifications, substitutions and alterations can be made in these embodiments without departing from the principles and spirit of the invention, the scope of which is defined in the appended claims and their equivalents.
Claims (6)
1. A calendering equipment for plastic film forming comprises a first bracket (1), a second bracket (9) and a blade (17), and is characterized in that: the top of the first support (1) is provided with a support rod (2), the first support (1) is connected with the support rod (2) in a welding mode, a control rod (3) penetrates through the inner side of the support rod (2), the end of the control rod (3) is connected with a first gear (4), a rack (5) is arranged on the outer side of the first gear (4), a fixed shaft (6) is arranged inside the support rod (2), a second gear (7) penetrates through the periphery of the fixed shaft (6), a telescopic rod (8) is arranged on the side of the rack (5), the telescopic rod (8) is fixedly connected with the rack (5), the second support (9) is installed at the end of the telescopic rod (8), the second support (9) is connected with the telescopic rod (8) in a welding mode, a fixed groove (10) is arranged on the side of the second support (9), and the internally connected of fixed slot (10) has compression roller (11), cutting device (12) has been run through in the outside of second support (9), and the inside of cutting device (12) is provided with pivot (13) to the periphery of pivot (13) is connected with track (14), threaded rod (15) has been run through in the inside of cutting device (12), and the bottom of threaded rod (15) is fixed with movable rod (16), blade (17) are installed in the bottom of cutting device (12).
2. The calendering apparatus for forming a plastic film according to claim 1, wherein: the rack (5) forms a lifting structure between the first gear (4) and the support rod (2), and the support rod (2) and the central axis of the telescopic rod (8) coincide with each other.
3. The calendering apparatus for forming a plastic film according to claim 1, wherein: the second gear (7) forms a rotating structure with the support rod (2) through the fixed shaft (6), and the fixed shaft (6) and the support rod (2) are integrally arranged.
4. The calendering apparatus for forming a plastic film according to claim 1, wherein: the compression roller (11) and the second support (9) form a rotating structure through the fixing groove (10), and the compression roller (11) and the second support (9) are parallel to each other.
5. The calendering apparatus for forming a plastic film according to claim 1, wherein: the cutting device (12) forms a sliding structure with the second bracket (9) through the crawler belt (14), and the crawler belt (14) forms a rotating structure with the cutting device (12) through the rotating shaft (13).
6. The calendering apparatus for forming a plastic film according to claim 1, wherein: the movable rod (16) forms a lifting structure with the cutting device (12) through the threaded rod (15), and the threaded rod (15) is in threaded connection with the cutting device (12).
Priority Applications (1)
| Application Number | Priority Date | Filing Date | Title |
|---|---|---|---|
| CN201921860108.2U CN211105162U (en) | 2019-10-31 | 2019-10-31 | Plastic film forming's calendering equipment |
Applications Claiming Priority (1)
| Application Number | Priority Date | Filing Date | Title |
|---|---|---|---|
| CN201921860108.2U CN211105162U (en) | 2019-10-31 | 2019-10-31 | Plastic film forming's calendering equipment |
Publications (1)
| Publication Number | Publication Date |
|---|---|
| CN211105162U true CN211105162U (en) | 2020-07-28 |
Family
ID=71686341
Family Applications (1)
| Application Number | Title | Priority Date | Filing Date |
|---|---|---|---|
| CN201921860108.2U Expired - Fee Related CN211105162U (en) | 2019-10-31 | 2019-10-31 | Plastic film forming's calendering equipment |
Country Status (1)
| Country | Link |
|---|---|
| CN (1) | CN211105162U (en) |
Cited By (1)
| Publication number | Priority date | Publication date | Assignee | Title |
|---|---|---|---|---|
| CN118456750A (en) * | 2024-07-09 | 2024-08-09 | 泰兴市华捷新材料有限公司 | Compression roller assembly of Teflon belt press |
-
2019
- 2019-10-31 CN CN201921860108.2U patent/CN211105162U/en not_active Expired - Fee Related
Cited By (1)
| Publication number | Priority date | Publication date | Assignee | Title |
|---|---|---|---|---|
| CN118456750A (en) * | 2024-07-09 | 2024-08-09 | 泰兴市华捷新材料有限公司 | Compression roller assembly of Teflon belt press |
Similar Documents
| Publication | Publication Date | Title |
|---|---|---|
| CN203805041U (en) | Liftable cutting device | |
| CN115780879B (en) | Clamping device for silicon steel sheet oblique shearing machine | |
| CN203901751U (en) | Cutting device of tire cord fabric yarn cutting machine | |
| US20200147704A1 (en) | Online cutting device for wheel spinning flash | |
| CN211105162U (en) | Plastic film forming's calendering equipment | |
| CN114043324B (en) | Stepping type multi-station centerless roller cylindrical grinding machine | |
| CN207900327U (en) | A kind of corrosion-proof steel pipe processing top pressure cutter device | |
| CN208629148U (en) | A kind of abrasive belt plate edge polisher | |
| CN211890961U (en) | Trimming device is used in plastic products production | |
| CN221417012U (en) | Quartz tube cutting machine | |
| CN220563909U (en) | Plastic film cutting device | |
| CN209716251U (en) | A kind of novel shaping machine | |
| CN206085131U (en) | Equipment is tailor to fenestrated membrane width adjustable fixed length | |
| CN217046746U (en) | Laser drilling and cutting device for pipes | |
| CN213959581U (en) | A fully automatic wire stripping machine with wire limit mechanism | |
| CN214349981U (en) | Panel cutting device who facilitates use | |
| CN211256454U (en) | Spinning production is with tailorring device | |
| CN211491699U (en) | Multifunctional cut-off machine | |
| CN210254478U (en) | Steel pipe cutting machine | |
| CN106239577A (en) | A kind of fenestrated membrane broad-adjustable fixed length cutting equipment | |
| CN207983450U (en) | A kind of cutting means of truncation plastic floor | |
| CN205167134U (en) | Peeler cam becomes sword door gear | |
| CN214556871U (en) | Metal plate bending conveying frame | |
| CN220433268U (en) | Prevent cutting device for production of fold's knitting product | |
| CN220099074U (en) | Leather product cutting machine |
Legal Events
| Date | Code | Title | Description |
|---|---|---|---|
| GR01 | Patent grant | ||
| GR01 | Patent grant | ||
| CF01 | Termination of patent right due to non-payment of annual fee |
Granted publication date: 20200728 |
|
| CF01 | Termination of patent right due to non-payment of annual fee |