CN211091455U - A forestry insect trapping device - Google Patents
A forestry insect trapping device Download PDFInfo
- Publication number
- CN211091455U CN211091455U CN201921849727.1U CN201921849727U CN211091455U CN 211091455 U CN211091455 U CN 211091455U CN 201921849727 U CN201921849727 U CN 201921849727U CN 211091455 U CN211091455 U CN 211091455U
- Authority
- CN
- China
- Prior art keywords
- insect trapping
- insect
- box
- solar cell
- trapping
- Prior art date
- Legal status (The legal status is an assumption and is not a legal conclusion. Google has not performed a legal analysis and makes no representation as to the accuracy of the status listed.)
- Expired - Fee Related
Links
- 241000238631 Hexapoda Species 0.000 title claims abstract description 98
- 230000002093 peripheral effect Effects 0.000 claims abstract description 7
- 230000005611 electricity Effects 0.000 claims 1
- 230000001568 sexual effect Effects 0.000 claims 1
- 230000000694 effects Effects 0.000 abstract description 5
- 238000009434 installation Methods 0.000 abstract description 2
- 241000607479 Yersinia pestis Species 0.000 description 5
- 230000006378 damage Effects 0.000 description 3
- 238000000034 method Methods 0.000 description 3
- 241001531327 Hyphantria cunea Species 0.000 description 2
- 230000009286 beneficial effect Effects 0.000 description 2
- 239000003795 chemical substances by application Substances 0.000 description 2
- 201000010099 disease Diseases 0.000 description 2
- 208000037265 diseases, disorders, signs and symptoms Diseases 0.000 description 2
- 238000005516 engineering process Methods 0.000 description 2
- 239000000077 insect repellent Substances 0.000 description 2
- 239000000575 pesticide Substances 0.000 description 2
- 230000008569 process Effects 0.000 description 2
- 238000012545 processing Methods 0.000 description 2
- 239000003570 air Substances 0.000 description 1
- 238000004458 analytical method Methods 0.000 description 1
- 230000000903 blocking effect Effects 0.000 description 1
- 238000004891 communication Methods 0.000 description 1
- 238000013461 design Methods 0.000 description 1
- 238000011161 development Methods 0.000 description 1
- 238000010586 diagram Methods 0.000 description 1
- 239000003814 drug Substances 0.000 description 1
- 229940079593 drug Drugs 0.000 description 1
- 230000036541 health Effects 0.000 description 1
- 238000007726 management method Methods 0.000 description 1
- 238000004519 manufacturing process Methods 0.000 description 1
- 238000012986 modification Methods 0.000 description 1
- 230000004048 modification Effects 0.000 description 1
- 230000001681 protective effect Effects 0.000 description 1
- 239000002689 soil Substances 0.000 description 1
- 238000005507 spraying Methods 0.000 description 1
- XLYOFNOQVPJJNP-UHFFFAOYSA-N water Substances O XLYOFNOQVPJJNP-UHFFFAOYSA-N 0.000 description 1
Images
Landscapes
- Catching Or Destruction (AREA)
Abstract
本实用新型公开了一种林业用捕虫设备,其中,包括捕虫箱体,所述捕虫箱体顶端设有太阳能电池板,所述捕虫箱体与太阳能电池板之间连接有支撑架,所述太阳能电池板周侧设有摄像头,所述支撑架内侧设有蓄电池,所述蓄电池的一侧设置有控制装置;通过设置的诱虫灯和诱虫发味器,实现了光线和气味的双重诱虫,使得诱虫效果更好,电动机上的扇叶能更好的使诱虫发味器发挥作用;通过设置的集虫盒活动安装易于集中处理;通过设置的摄像头和电子鼻,实现了对害虫种类数据的采集功能;太阳能电池板不仅用于吸收太阳能,还起到了挡雨的作用;该实用新型大大提高了捕虫设备的适用环境和整体性能,实用简单,安全可靠,使用寿命长,易于推广。
The utility model discloses a forestry insect trapping device, which comprises an insect trapping box body, a solar cell panel is arranged at the top of the insect trapping box body, a support frame is connected between the insect trapping box body and the solar cell panel, and the solar cell A camera is arranged on the peripheral side of the battery plate, a battery is arranged on the inner side of the support frame, and a control device is arranged on one side of the battery; the insect trapping lamp and the insect trapping smell generator are provided to realize the double trapping of light and smell. , so that the effect of attracting insects is better, and the fan blades on the motor can better make the insect trapping and smelling device play a role; it is easy to centrally handle the installation of the insect collecting box through the set; The collection function of type data; the solar panel is not only used to absorb solar energy, but also plays the role of rain protection; the utility model greatly improves the applicable environment and overall performance of the insect trapping equipment, and is simple and practical, safe and reliable, with long service life and easy to popularize. .
Description
技术领域technical field
本实用新型涉及林业捕虫技术领域,具体的说,尤其涉及一种林业用捕虫设备。The utility model relates to the technical field of forestry insect trapping, in particular to a forestry insect trapping device.
背景技术Background technique
林业是指保护生态环境保持生态平衡,培育和保护森林以取得木材和其他林产品、利用林木的自然特性以发挥防护作用的生产部门,是国民经济的重要组成部分之一。林业在人和生物圈中,通过先进的科学技术和管理手段,从事培育、保护、利用森林资源,充分森林的多种效益,且能持续经营森林资源,促进人口、经济、社会、环境和资源协调发展的基础性产业和社会公益事业。Forestry refers to the production sector that protects the ecological environment to maintain ecological balance, cultivates and protects forests to obtain timber and other forest products, and utilizes the natural characteristics of forests to play a protective role. It is one of the important components of the national economy. Forestry, in the human and biosphere, engages in the cultivation, protection and utilization of forest resources through advanced science and technology and management methods, and fully utilizes the various benefits of forests. Development of basic industries and social welfare undertakings.
近年来,虫害相当严重,影响了林业和人们的生活环境,尤其是美国白蛾的危害,美国白蛾的繁殖速度很快,其生长繁殖迅速,对树木的危害十分严重,很难消灭掉,单纯的采用药物消灭,会带来生态环境大面积污染,对人体造成很大的伤害,但是目前为止人们使用的各种驱虫灯或者驱虫药来捕杀害虫,效果并不明显,且使用农药喷杀,这样不仅污染空气、水源和土壤,还会危害人体健康,农药的过度使用对植被的生长也存在巨大的限制作用,甚至会令植被死亡。In recent years, insect pests have been quite serious, affecting forestry and people's living environment, especially the harm of American white moth. American white moth breeds very fast, and its growth and reproduction are very fast. The damage to trees is very serious, and it is difficult to eliminate. Simply using drugs to eliminate it will bring about large-scale pollution of the ecological environment and cause great harm to the human body. However, the various insect repellent lamps or insect repellents that people have used so far to catch and kill insects have no obvious effect, and pesticides are used. Spraying and killing will not only pollute the air, water and soil, but also endanger human health. The excessive use of pesticides also has a huge restriction on the growth of vegetation, and may even cause vegetation to die.
实用新型内容Utility model content
本实用新型的目的在于提供一种林业用捕虫设备,以解决上述背景技术中提出的问题。The purpose of the present invention is to provide a forestry insect trapping device to solve the problems raised in the above background technology.
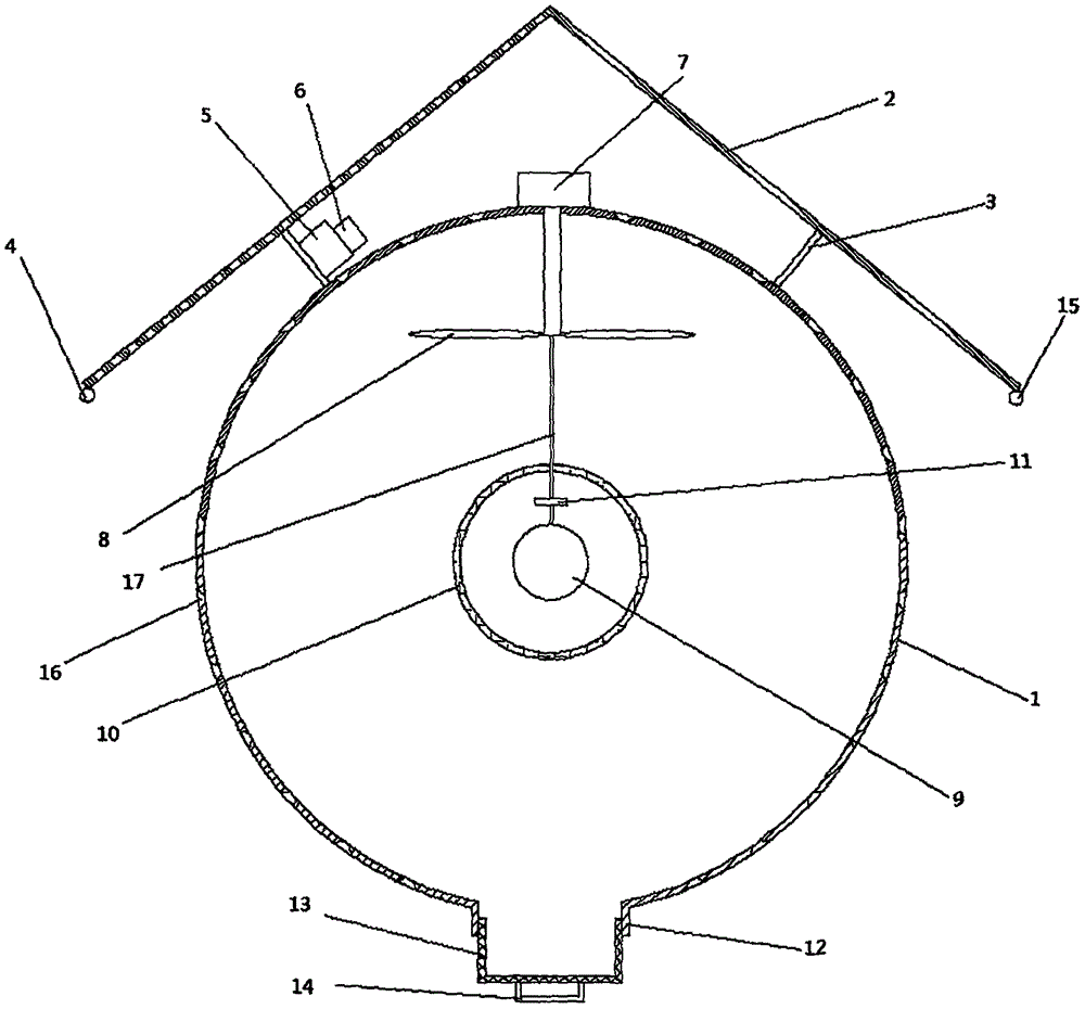
为实现上述目的,本实用新型提供如下技术方案:一种林业用捕虫设备,其中,包括捕虫箱体,所述捕虫箱体顶端设有太阳能电池板,所述捕虫箱体与太阳能电池板之间连接有支撑架,所述太阳能电池板周侧设有摄像头,所述支撑架内侧设有蓄电池,所述蓄电池的一侧设置有控制装置,所述支撑架之间的捕虫箱体顶端上设有电动机,所述电动机的输出轴穿过捕虫箱体一端连接有扇叶,所述扇叶下端的电动机的输出轴上设有连接线,所述连接线远离扇叶的一端设有诱虫灯,所述诱虫灯外侧周向设有电网,所述诱虫灯上侧的连接线上设有诱虫发味器,所述捕虫箱体底部外侧设置有固定环,所述固定环内设置有螺纹,且通过螺纹连接有集虫盒,所述集虫盒底部设置有把手。In order to achieve the above purpose, the present invention provides the following technical solutions: a forestry insect trapping device, which includes an insect trapping box, a solar cell panel is arranged on the top of the insect trapping box, and a space between the insect trapping box and the solar cell panel is A support frame is connected, a camera is arranged on the peripheral side of the solar panel, a battery is arranged on the inner side of the support frame, a control device is arranged on one side of the battery, and the top of the insect trapping box between the support frames is provided with The motor, the output shaft of the motor is connected with a fan blade through one end of the insect trapping box, the output shaft of the motor at the lower end of the fan blade is provided with a connecting wire, and the end of the connecting wire away from the fan blade is provided with an insect trapping lamp, The outer side of the insect trapping lamp is provided with a power grid in the circumferential direction, the connecting line on the upper side of the insect trapping lamp is provided with an insect trapping odor generator, the outer side of the bottom of the insect trapping box is provided with a fixing ring, and the fixing ring is provided with a thread. And the worm collecting box is connected with the thread, and the bottom of the worm collecting box is provided with a handle.
优选的,所述太阳能电池板周侧还设置有电子鼻,所述太阳能电池板呈锥体状。Preferably, an electronic nose is further arranged on the peripheral side of the solar cell panel, and the solar cell panel is in the shape of a cone.
优选的,所述捕虫箱体和电网均呈球体状。Preferably, both the insect trapping box and the grid are spherical.
优选的,所述电子鼻、摄像头、控制装置、太阳能电池板、电动机、电网、诱虫灯、诱虫发味器和电池电性连接。Preferably, the electronic nose, the camera, the control device, the solar panel, the electric motor, the power grid, the insect trap, the insect trap, and the battery are electrically connected.
优选的,所述捕虫箱体周向设有进虫孔,且进虫孔为外大内小设计。Preferably, the insect trapping box is provided with an insect inlet hole in the circumferential direction, and the insect inlet hole is designed to be large on the outside and small on the inside.
有益效果:与现有技术相比,本实用新型的有益效果是:通过设置的诱虫灯和诱虫发味器,实现了光线和气味的双重诱虫,使得诱虫效果更好,电动机上的扇叶能更好的使诱虫发味器发挥作用;通过设置的集虫盒活动安装易于集中处理;通过设置的摄像头和电子鼻,实现了对害虫种类数据的采集功能;太阳能电池板不仅用于吸收太阳能,还起到了挡雨的作用;该实用新型大大提高了捕虫设备的适用环境和整体性能,实用简单,安全可靠,使用寿命长,易于推广。Beneficial effects: Compared with the prior art, the beneficial effects of the present utility model are: through the set insect trapping lamp and the insect trapping smell generator, the double trapping of light and smell is realized, so that the trapping effect is better, and the motor is installed on the motor. The unique fan blade can make the insect trap and smell device play a better role; it is easy to centralize processing through the installed insect collecting box; through the installed camera and electronic nose, the collection function of pest species data is realized; the solar panel not only The utility model is used for absorbing solar energy and also plays the role of blocking rain; the utility model greatly improves the applicable environment and overall performance of the insect trapping equipment, is practical, simple, safe and reliable, has a long service life, and is easy to popularize.
附图说明Description of drawings
图1为本实用新型提出的一种林业用捕虫设备的结构示意图。FIG. 1 is a schematic structural diagram of a forestry insect trapping device proposed by the utility model.
具体实施方式Detailed ways
下面结合具体实施方式对本专利的技术方案作进一步详细地说明。The technical solution of the present patent will be described in further detail below in conjunction with specific embodiments.
实施例Example
请参阅图1,本实用新型实施例中,一种林业用捕虫设备,其中,包括捕虫箱体1,所述捕虫箱体1顶端设有太阳能电池板2,所述捕虫箱体1与太阳能电池板2之间连接有支撑架3,所述太阳能电池板2周侧设有摄像头4,所述支撑架3内侧设有蓄电池5,所述蓄电池5的一侧设置有控制装置6,所述支撑架3之间的捕虫箱体1顶端上设有电动机7,所述电动机7的输出轴穿过捕虫箱体1一端连接有扇叶8,所述扇叶8下端的电动机7的输出轴上设有连接线17,所述连接线17远离扇叶8的一端设有诱虫灯9,所述诱虫灯9外侧周向设有电网10,所述诱虫灯9上侧的连接线17上设有诱虫发味器11,此处,电动机7带动扇叶8转动,便于诱虫发味器11挥发,带动诱虫灯9转动,有利于吸引飞虫,把电动机7的转速设置较慢些,使其不会影响飞虫正常进入捕虫箱体1内;所述捕虫箱体1底部外侧设置有固定环12,所述固定环12内设置有螺纹,且通过螺纹连接有集虫盒13,所述集虫盒13底部设置有把手14。Referring to FIG. 1 , in an embodiment of the present invention, a forestry insect trapping device includes an insect trapping box 1 , a top of the insect trapping box 1 is provided with a solar panel 2 , and the insect trapping box 1 and the solar cells A support frame 3 is connected between the panels 2, a
进一步的说,所述太阳能电池板2周侧还设置有电子鼻15,所述太阳能电池板2呈锥体状。Further, an
进一步的说,所述捕虫箱体1和电网10均呈球体状。Further, the insect trapping box 1 and the
进一步的说,所述电子鼻15、摄像头4、控制装置6、电动机7、太阳能电池板2、电网10、诱虫灯9、诱虫发味器11和电池5电性连接。Further, the
进一步的说,所述捕虫箱体1周向设有进虫孔16,且进虫孔16为外大内小设计,此设计是为了防止进到捕虫箱体1内的飞虫逃出。Furthermore, the insect trapping box 1 is provided with an
工作过程:work process:
首先向诱虫发味器11装入诱虫药剂,诱虫药剂可以根据季节或病害种类任意选择,通过诱虫灯9和诱虫发味器11的作用把害虫吸引进入到壳体内,电动机7上的扇叶8能更好的使诱虫发味器11发挥作用,通过电网10对害虫进行电击,电击死掉的害虫落入集虫盒13内,通过集虫盒13拆卸清理死虫;通过在太阳能电池板2周侧设置的摄像头4和电子鼻15对害虫的种类数据进行采集,采集的数据通过通讯装置传送到网络,林业管理人员或科研人员通过采集的害虫数据对林业状况和林业病害进行分析。First, put the insect attracting agent into the insect
上述工作过程中,通过设置的诱虫灯和诱虫发味器,实现了光线和气味的双重诱虫,使得诱虫效果更好,电动机上的扇叶能更好的使诱虫发味器发挥作用;通过设置的集虫盒活动安装易于集中处理;通过设置的摄像头和电子鼻,实现了对害虫种类数据的采集功能;太阳能电池板不仅用于吸收太阳能,还起到了挡雨的作用;该实用新型大大提高了捕虫设备的适用环境和整体性能,实用简单,安全可靠,使用寿命长,易于推广。In the above working process, the double lure of light and smell is realized by setting the trap light and the trap smelling device, which makes the trapping effect better, and the fan blade on the motor can make the trapping smell device better. It can play a role; it is easy to centralize processing through the installation of the set insect box; through the set camera and electronic nose, the collection function of pest species data is realized; the solar panel is not only used to absorb solar energy, but also plays the role of rain protection; The utility model greatly improves the applicable environment and overall performance of the insect trapping equipment, is simple in practice, safe and reliable, has a long service life and is easy to popularize.
以上的仅是本实用新型的优选实施方式,应当指出,对于本领域的技术人员来说,在不脱离本实用新型构思的前提下,还可以作出若干变形和改进,这些也应该视为本实用新型的保护范围,这些都不会影响本实用新型实施的效果和专利的实用性。The above are only the preferred embodiments of the present utility model. It should be pointed out that for those skilled in the art, some modifications and improvements can be made without departing from the concept of the present utility model. These should also be regarded as the present utility model. The scope of protection of the new model will not affect the effect of the implementation of the present utility model and the practicability of the patent.
Claims (4)
Priority Applications (1)
| Application Number | Priority Date | Filing Date | Title |
|---|---|---|---|
| CN201921849727.1U CN211091455U (en) | 2019-10-23 | 2019-10-23 | A forestry insect trapping device |
Applications Claiming Priority (1)
| Application Number | Priority Date | Filing Date | Title |
|---|---|---|---|
| CN201921849727.1U CN211091455U (en) | 2019-10-23 | 2019-10-23 | A forestry insect trapping device |
Publications (1)
| Publication Number | Publication Date |
|---|---|
| CN211091455U true CN211091455U (en) | 2020-07-28 |
Family
ID=71712605
Family Applications (1)
| Application Number | Title | Priority Date | Filing Date |
|---|---|---|---|
| CN201921849727.1U Expired - Fee Related CN211091455U (en) | 2019-10-23 | 2019-10-23 | A forestry insect trapping device |
Country Status (1)
| Country | Link |
|---|---|
| CN (1) | CN211091455U (en) |
Cited By (3)
| Publication number | Priority date | Publication date | Assignee | Title |
|---|---|---|---|---|
| CN113994848A (en) * | 2021-09-18 | 2022-02-01 | 严花勤 | Edible fungus greenhouse with complementary edible fungus growth and photovoltaic power generation |
| CN114128704A (en) * | 2021-12-09 | 2022-03-04 | 班玉峰 | But forestry maintenance of automatic identification pest is with expelling parasite equipment |
| CN119325961A (en) * | 2024-12-12 | 2025-01-21 | 新疆慧尔农业集团股份有限公司 | A monitoring device for winter wheat disease and insect pest control |
-
2019
- 2019-10-23 CN CN201921849727.1U patent/CN211091455U/en not_active Expired - Fee Related
Cited By (4)
| Publication number | Priority date | Publication date | Assignee | Title |
|---|---|---|---|---|
| CN113994848A (en) * | 2021-09-18 | 2022-02-01 | 严花勤 | Edible fungus greenhouse with complementary edible fungus growth and photovoltaic power generation |
| CN114128704A (en) * | 2021-12-09 | 2022-03-04 | 班玉峰 | But forestry maintenance of automatic identification pest is with expelling parasite equipment |
| CN114128704B (en) * | 2021-12-09 | 2023-04-07 | 班玉峰 | But forestry maintenance of automatic identification pest is with expelling parasite equipment |
| CN119325961A (en) * | 2024-12-12 | 2025-01-21 | 新疆慧尔农业集团股份有限公司 | A monitoring device for winter wheat disease and insect pest control |
Similar Documents
| Publication | Publication Date | Title |
|---|---|---|
| CN211091455U (en) | A forestry insect trapping device | |
| CN108013009B (en) | Farmland environmental protection pest control device with insect corpse handles structure based on solar energy | |
| CN205682248U (en) | A kind of solar energy forestry insect-killing device | |
| CN207151695U (en) | A kind of forestry pest-catching device | |
| CN204811602U (en) | Compound solar energy insecticidal lamp that shakes frequently | |
| CN203775976U (en) | Multifunctional insect catcher | |
| CN207561218U (en) | A kind of multifunctional theater pest-catching device | |
| CN204682288U (en) | One is lured the enemy in formula ultraviolet rays collection insect killing device | |
| CN205884471U (en) | Agricultural catching device | |
| CN201928852U (en) | Portable solar energy desinsectization lamp | |
| CN207219908U (en) | A kind of control of insect case | |
| CN207897764U (en) | A kind of device of physics insect-killing trapping | |
| CN207428275U (en) | A kind of novel and multifunctional forestry pest-catching device | |
| CN207491873U (en) | Winged insect killer | |
| CN201550519U (en) | Novel anti-theft wind energy deinsectization device | |
| CN206333237U (en) | A solar insecticidal lamp | |
| CN205180140U (en) | Be applied to novel multi -functional trapper that agricultural pests were traped | |
| CN202340658U (en) | Electrified wire netting insecticidal lamp with multi-traps | |
| CN211861575U (en) | Open-air collection box of insect | |
| CN203167866U (en) | Sucking-blowing type fly killing lamp | |
| CN214758736U (en) | Midge trapper for monitoring vectors | |
| CN208228153U (en) | A kind of injurious forest-insect trapper | |
| CN201976633U (en) | Catching tool for flying pests | |
| CN218043378U (en) | Forestry technique is with novel insect trap | |
| CN219288531U (en) | Insect prevention device convenient to clearance |
Legal Events
| Date | Code | Title | Description |
|---|---|---|---|
| GR01 | Patent grant | ||
| GR01 | Patent grant | ||
| CF01 | Termination of patent right due to non-payment of annual fee | ||
| CF01 | Termination of patent right due to non-payment of annual fee |
Granted publication date: 20200728 |
