CN211090358U - A multifunctional network control box - Google Patents
A multifunctional network control box Download PDFInfo
- Publication number
- CN211090358U CN211090358U CN201921210056.4U CN201921210056U CN211090358U CN 211090358 U CN211090358 U CN 211090358U CN 201921210056 U CN201921210056 U CN 201921210056U CN 211090358 U CN211090358 U CN 211090358U
- Authority
- CN
- China
- Prior art keywords
- network control
- control box
- air
- main body
- air inlet
- Prior art date
- Legal status (The legal status is an assumption and is not a legal conclusion. Google has not performed a legal analysis and makes no representation as to the accuracy of the status listed.)
- Expired - Fee Related
Links
Images
Landscapes
- Drying Of Solid Materials (AREA)
Abstract
本实用新型涉及网络控制箱领域,具体公开了一种多功能网络控制箱,针对现有的网络控制箱散热不畅的问题,现提出如下方案,其包括网络控制箱主体,所述网络控制箱主体的外侧设置有冷却环形管,且冷却环形管固定连接在网络控制箱主体的表面,所述网络控制箱主体的底部固定连接有出风箱,且出风箱内安装有风机,所述出风箱的两侧分别连接有风管,且风管的另一端活动穿过冷却环形管,并延伸至网络控制箱主体的表面,所述网络控制箱主体的表面固定连接有进风箱。本实用新型通过在网络控制箱的外侧设置可注水的冷却环形管,可将内部循环的空气通过注满水的冷却环形管,可对空气进行降温,然后在注入网络控制箱内。
The utility model relates to the field of network control boxes, and specifically discloses a multifunctional network control box. Aiming at the problem of poor heat dissipation of the existing network control boxes, the following scheme is proposed, which comprises a network control box main body, the network control box The outer side of the main body is provided with a cooling annular pipe, and the cooling annular pipe is fixedly connected to the surface of the main body of the network control box. An air outlet box is fixedly connected to the bottom of the main body of the network control box, and a fan is installed in the air outlet box. The two sides are respectively connected with air ducts, and the other end of the air duct movably passes through the cooling annular pipe and extends to the surface of the main body of the network control box, and the surface of the main body of the network control box is fixedly connected with the air inlet box. In the utility model, a cooling annular pipe that can be filled with water is arranged on the outside of the network control box, the air circulating inside can pass through the cooling annular pipe filled with water, and the air can be cooled, and then injected into the network control box.
Description
技术领域technical field
本实用新型涉及网络控制箱领域,尤其涉及一种多功能网络控制箱。The utility model relates to the field of network control boxes, in particular to a multifunctional network control box.
背景技术Background technique
随着信息技术的发展,计算机网络逐渐开始普及并作用于人们生活、工作的各个方面,计算机网络功能的发挥建立在计算计网络设备的基础之上,而计算机网络设备需要计算机网络控制箱作为载体,传统的加算计网络控制箱往往结构简单,功能单一,散热不畅,为此,我们急需提出一种多功能网络控制箱,来解决上述问题。With the development of information technology, computer networks have gradually begun to popularize and act on all aspects of people's lives and work. The performance of computer network functions is based on computer network equipment, and computer network equipment requires computer network control boxes as carriers. , The traditional plus computing network control box is often simple in structure, single function, poor heat dissipation, for this reason, we urgently need to propose a multi-functional network control box to solve the above problems.
实用新型内容Utility model content
本实用新型提出的一种多功能网络控制箱,解决了网络控制箱散热不畅的问题。The multifunctional network control box proposed by the utility model solves the problem of poor heat dissipation of the network control box.
为了实现上述目的,本实用新型采用了如下技术方案:In order to achieve the above-mentioned purpose, the utility model adopts the following technical solutions:
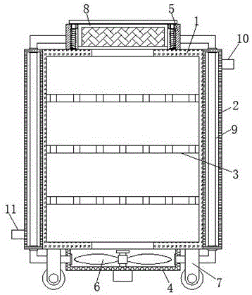
一种多功能网络控制箱,包括网络控制箱主体,所述网络控制箱主体的外侧设置有冷却环形管,且冷却环形管固定连接在网络控制箱主体的表面,所述网络控制箱主体的底部固定连接有出风箱,且出风箱内安装有风机,所述出风箱的两侧分别连接有风管,且风管的另一端活动穿过冷却环形管,并延伸至网络控制箱主体的表面,所述网络控制箱主体的表面固定连接有进风箱,且风管上远离出风箱的一端固定连接在进风箱的两侧,所述进风箱内活动设置有定位框,且定位框的一端固定连接有拉板,所述定位框内设置有干燥剂,所述拉板上固定连接有支撑轴,且支撑轴的一端活动插入进风箱。A multifunctional network control box, comprising a network control box main body, a cooling annular pipe is arranged on the outside of the network control box main body, and the cooling annular pipe is fixedly connected to the surface of the network control box main body, and the bottom of the network control box main body is An air outlet box is fixedly connected, and a fan is installed in the air outlet box. Air ducts are respectively connected on both sides of the air outlet box, and the other end of the air duct moves through the cooling annular pipe and extends to the surface of the main body of the network control box. An air inlet box is fixedly connected to the surface of the main body of the network control box, and one end of the air duct away from the air outlet box is fixedly connected to both sides of the air inlet box. A positioning frame is movably arranged in the air inlet box, and one end of the positioning frame is fixedly connected. There is a pull plate, a desiccant is arranged in the positioning frame, a support shaft is fixedly connected to the pull plate, and one end of the support shaft is movably inserted into the air inlet box.
优选的,所述网络控制箱主体的底部安装有移动轮。Preferably, a moving wheel is installed on the bottom of the main body of the network control box.
优选的,所述网络控制箱主体的两端分别开设有风口,且风口分别连通进风箱和出风箱,所述定位框设置在风口的表面,所述定位框为矩形结构。Preferably, two ends of the main body of the network control box are respectively provided with air outlets, and the air outlets are respectively connected to the air inlet box and the air outlet box, the positioning frame is arranged on the surface of the air outlet, and the positioning frame has a rectangular structure.
优选的,所述网络控制箱主体内安装有多组分隔板,且分隔板的表面开设有通孔。Preferably, a plurality of groups of partition plates are installed in the main body of the network control box, and the surfaces of the partition plates are provided with through holes.
优选的,所述冷却环形管的表面分别连接有进水管和出水管。Preferably, the surface of the cooling annular pipe is respectively connected with a water inlet pipe and a water outlet pipe.
优选的,所述支撑轴上插入进风箱的一端固定连接有限位环,且支撑轴的表面活动缠绕有支撑弹簧。Preferably, one end of the support shaft inserted into the air inlet box is fixedly connected to a limiting ring, and a support spring is movably wound on the surface of the support shaft.
本实用新型中:In this utility model:
1、本实用新型通过在网络控制箱的外侧设置可注水的冷却环形管,可将内部循环的空气通过注满水的冷却环形管,可对空气进行降温,然后在注入网络控制箱内。1. In the present invention, a cooling annular pipe that can be filled with water is arranged on the outside of the network control box, so that the air circulating inside can pass through the cooling annular pipe filled with water, and the air can be cooled, and then injected into the network control box.
2、本实用新型通过在进风的时候,在进风箱内设置定位框,并且在定位框内填充了干燥剂,可对内部的空气进行干燥,保证网络设备的正常使用,而且本装置的底部还设置有移动轮,可方便移动,使网络控制箱更加多功能。2. The present utility model can dry the air inside by setting a positioning frame in the air inlet box and filling the positioning frame with a desiccant when the air is in It is also equipped with moving wheels, which can be moved easily and make the network control box more multifunctional.
附图说明Description of drawings
图1为一种多功能网络控制箱的结构示意图。FIG. 1 is a schematic structural diagram of a multifunctional network control box.
图2为图1所示网络控制箱的定位框的结构示意图。FIG. 2 is a schematic structural diagram of a positioning frame of the network control box shown in FIG. 1 .
图3为图1所示网络控制箱的进风箱的结构示意图。FIG. 3 is a schematic structural diagram of an air inlet box of the network control box shown in FIG. 1 .
图中标号:1网络控制箱主体、2冷却环形管、3分隔板、4出风箱、5进风箱、6风机、7移动轮、8定位框、9风管、10进水管、11出水管、12干燥剂、13支撑轴、14支撑弹簧、15拉板。Labels in the figure: 1 main body of network control box, 2 cooling ring pipe, 3 partition plate, 4 air outlet, 5 air inlet box, 6 fan, 7 moving wheel, 8 positioning frame, 9 air pipe, 10 water inlet pipe, 11 water outlet pipe , 12 desiccant, 13 support shaft, 14 support spring, 15 pull plate.
具体实施方式Detailed ways
下面将结合本实用新型实施例中的附图,对本实用新型实施例中的技术方案进行清楚、完整地描述,显然,所描述的实施例仅仅是本实用新型一部分实施例,而不是全部的实施例。The technical solutions in the embodiments of the present utility model will be clearly and completely described below with reference to the accompanying drawings in the embodiments of the present utility model. Obviously, the described embodiments are only a part of the embodiments of the present utility model, rather than all the implementations. example.
参照图1-3,一种多功能网络控制箱,包括网络控制箱主体1,网络控制箱主体1的外侧设置有冷却环形管2,且冷却环形管2固定连接在网络控制箱主体1的表面,网络控制箱主体1的底部固定连接有出风箱4,且出风箱4内安装有风机6,出风箱4的两侧分别连接有风管9,且风管9的另一端活动穿过冷却环形管2,并延伸至网络控制箱主体1的表面,网络控制箱主体1的表面固定连接有进风箱5,且风管9上远离出风箱4的一端固定连接在进风箱5的两侧,进风箱5内活动设置有定位框8,且定位框8的一端固定连接有拉板15,定位框8内设置有干燥剂12,拉板15上固定连接有支撑轴13,且支撑轴13的一端活动插入进风箱5,网络控制箱主体1的底部安装有移动轮7,网络控制箱主体1的两端分别开设有风口,且风口分别连通进风箱5和出风箱4,定位框8设置在风口的表面,定位框8为矩形结构,网络控制箱主体1内安装有多组分隔板3,且分隔板3的表面开设有通孔,冷却环形管2的表面分别连接有进水管10和出水管11,支撑轴13上插入进风箱5的一端固定连接有限位环,且支撑轴13的表面活动缠绕有支撑弹簧14。1-3, a multifunctional network control box includes a network control box main body 1, a cooling
在本实用新型的描述中,需要理解的是,术语“中心”、“纵向”、“横向”、“长度”、“宽度”、“厚度”、“上”、“下”、“前”、“后”、“左”、“右”、“竖直”、“水平”、“顶”、“底”、“内”、“外”、“顺时针”、“逆时针”等指示的方位或位置关系为基于附图所示的方位或位置关系,仅是为了便于描述本实用新型和简化描述,而不是指示或暗示所指的设备或元件必须具有特定的方位、以特定的方位构造和操作,因此不能理解为对本实用新型的限制。In the description of the present invention, it should be understood that the terms "center", "longitudinal", "lateral", "length", "width", "thickness", "upper", "lower", "front", "Back", "Left", "Right", "Vertical", "Horizontal", "Top", "Bottom", "Inner", "Outer", "Clockwise", "Counterclockwise" etc. Or the positional relationship is based on the orientation or positional relationship shown in the accompanying drawings, which is only for the convenience of describing the present invention and simplifying the description, rather than indicating or implying that the referred device or element must have a specific orientation, be constructed in a specific orientation and operation, so it cannot be construed as a limitation to the present invention.
此外,术语“第一”、“第二”仅用于描述目的,而不能理解为指示或暗示相对重要性或者隐含指明所指示的技术特征的数量。由此,限定有“第一”、“第二”的特征可以明示或者隐含地包括一个或者更多个该特征。在本实用新型的描述中,“多个”的含义是两个或两个以上,除非另有明确具体的限定。In addition, the terms "first" and "second" are only used for descriptive purposes, and should not be construed as indicating or implying relative importance or implying the number of indicated technical features. Thus, a feature defined as "first" or "second" may expressly or implicitly include one or more of that feature. In the description of the present invention, "plurality" means two or more, unless otherwise expressly and specifically defined.
工作原理:使用本装置时,从进水管10向冷却环形管2内灌水,然后启动风机6,使风机6内将网络控制箱主体1内的热空气抽出,然后通过风管9向进风箱5内传输,在传输的时候,风管9通过灌满水的冷却环形管2,将空气冷却,然后进入进风箱5内后,通过定位框8内的干燥剂12进行干燥,然后在排至网络控制箱主体1内,完成内部的空气循环,并且对网络控制箱主体1内的空气进行了干燥,保证内部设备的正常运行,可通过向外拉动拉板15,带出定位框8,更换定位框8内的干燥剂12,拉板15在支撑轴13上支撑弹簧14的支撑下,始终贴合在进风箱5的表面。Working principle: When using this device, pour water into the cooling
以上所述,仅为本实用新型较佳的具体实施方式,但本实用新型的保护范围并不局限于此,任何熟悉本技术领域的技术人员在本实用新型揭露的技术范围内,根据本实用新型的技术方案及其实用新型构思加以等同替换或改变,都应涵盖在本实用新型的保护范围之内。The above description is only a preferred embodiment of the present invention, but the protection scope of the present invention is not limited to this. Equivalent replacement or modification of the new technical solution and its utility model concept shall be included within the protection scope of the present utility model.
Claims (6)
Priority Applications (1)
| Application Number | Priority Date | Filing Date | Title |
|---|---|---|---|
| CN201921210056.4U CN211090358U (en) | 2019-07-30 | 2019-07-30 | A multifunctional network control box |
Applications Claiming Priority (1)
| Application Number | Priority Date | Filing Date | Title |
|---|---|---|---|
| CN201921210056.4U CN211090358U (en) | 2019-07-30 | 2019-07-30 | A multifunctional network control box |
Publications (1)
| Publication Number | Publication Date |
|---|---|
| CN211090358U true CN211090358U (en) | 2020-07-24 |
Family
ID=71630823
Family Applications (1)
| Application Number | Title | Priority Date | Filing Date |
|---|---|---|---|
| CN201921210056.4U Expired - Fee Related CN211090358U (en) | 2019-07-30 | 2019-07-30 | A multifunctional network control box |
Country Status (1)
| Country | Link |
|---|---|
| CN (1) | CN211090358U (en) |
Cited By (1)
| Publication number | Priority date | Publication date | Assignee | Title |
|---|---|---|---|---|
| CN112930053A (en) * | 2021-01-26 | 2021-06-08 | 江西师范大学 | Placement device of server for block chain power internet |
-
2019
- 2019-07-30 CN CN201921210056.4U patent/CN211090358U/en not_active Expired - Fee Related
Cited By (2)
| Publication number | Priority date | Publication date | Assignee | Title |
|---|---|---|---|---|
| CN112930053A (en) * | 2021-01-26 | 2021-06-08 | 江西师范大学 | Placement device of server for block chain power internet |
| CN112930053B (en) * | 2021-01-26 | 2022-04-22 | 江西师范大学 | A placement device for a blockchain power internet server |
Similar Documents
| Publication | Publication Date | Title |
|---|---|---|
| CN206833349U (en) | A kind of novel computer cabinet heat abstractor | |
| CN211090358U (en) | A multifunctional network control box | |
| CN209083706U (en) | A kind of hydraulic oil container | |
| CN110048190B (en) | Heat dissipation system for power battery | |
| CN206585455U (en) | A high-voltage inverter device with integrated air-water cooling and heat dissipation equipment inside | |
| CN205845642U (en) | There is the high-power transformer of high-efficiency heat radiation structure | |
| CN206862164U (en) | Car heat dissipating double-fuselage that is a kind of dust-proof and being easy to deashing | |
| CN211977646U (en) | Efficient heat pipe | |
| CN212623897U (en) | A computer based on artificial intelligence data processing | |
| CN214311633U (en) | Big data is protection equipment for host computer | |
| CN209298305U (en) | A kind of battery pack assembly and vehicle for vehicle | |
| CN220453989U (en) | Condenser capable of efficiently radiating heat | |
| CN209659338U (en) | A kind of network switch convenient for assembling | |
| CN207922820U (en) | Lost foam casting coating baking room temperature control equipment | |
| CN209994744U (en) | Smart city interaction equipment based on Internet of things | |
| CN210725831U (en) | Data cabinet for urban transformer substation | |
| CN207198741U (en) | A kind of dustproof case | |
| CN208110489U (en) | A kind of computer cabinet dust guard | |
| CN207529769U (en) | A kind of heat dissipating device of transformer | |
| CN221727297U (en) | A conveniently connected stackable energy storage device | |
| CN206962845U (en) | An energy-saving switch | |
| CN207589385U (en) | A kind of diesel generating set radiating structure of frequency converter | |
| CN207625952U (en) | A kind of Internet of Things logistics electronic information harvester | |
| CN212515692U (en) | A cooling device for a big data all-in-one machine | |
| CN215187967U (en) | 5G network access equipment |
Legal Events
| Date | Code | Title | Description |
|---|---|---|---|
| GR01 | Patent grant | ||
| GR01 | Patent grant | ||
| CF01 | Termination of patent right due to non-payment of annual fee |
Granted publication date: 20200724 |
|
| CF01 | Termination of patent right due to non-payment of annual fee |
