CN211083084U - Dismantle convenient locking gallows - Google Patents
Dismantle convenient locking gallows Download PDFInfo
- Publication number
- CN211083084U CN211083084U CN201921334556.9U CN201921334556U CN211083084U CN 211083084 U CN211083084 U CN 211083084U CN 201921334556 U CN201921334556 U CN 201921334556U CN 211083084 U CN211083084 U CN 211083084U
- Authority
- CN
- China
- Prior art keywords
- hole
- rod
- plate
- moving block
- spring
- Prior art date
- Legal status (The legal status is an assumption and is not a legal conclusion. Google has not performed a legal analysis and makes no representation as to the accuracy of the status listed.)
- Expired - Fee Related
Links
Images
Landscapes
- Supports For Pipes And Cables (AREA)
Abstract
本实用新型公开了一种拆卸方便防松支吊架,该拆卸方便防松支吊架包括框体,该支吊架对管道进行固定时,先将管道放到第一管卡的卡槽内,然后通过紧固装置对第一移动块进行移动,将第二管卡移动到需要的位置后,然后将锁紧装置插入第六通孔内,给活动杆施加外力,移动杆移动,将第二移动块推送到第四通孔b内部,然后将螺杆另一端和螺栓螺纹连接,通过使用装置,可以防止锁紧装置发生松动,增加支吊架使用的稳定性,第二管卡可以移动通过限位装置和紧固装置对第二管卡进行固定,限位装置中第二弹簧的设置,防止管道在工作过程中受外力或者其他因素影响,管道位置发生移动,从而影响管道的使用寿命。
The utility model discloses an easy-to-remove anti-loosening support and hanger. The easy-to-remove anti-loosening support hanger comprises a frame body. When the support and hanger fixes a pipeline, the pipeline is firstly placed in a clamping groove of a first pipe clamp. , and then move the first moving block through the fastening device, move the second pipe clamp to the required position, then insert the locking device into the sixth through hole, apply an external force to the movable rod, move the moving rod, move the first The second moving block is pushed into the fourth through hole b, and then the other end of the screw rod is threadedly connected with the bolt. By using the device, the locking device can be prevented from loosening, and the stability of the support and hanger can be increased. The second pipe clip can be moved through The limiting device and the fastening device fix the second pipe clamp, and the setting of the second spring in the limiting device prevents the pipeline from being affected by external force or other factors during the working process, and the position of the pipeline is moved, thereby affecting the service life of the pipeline.
Description
技术领域technical field
本发明属于支吊架技术领域,具体为一种拆卸方便防松支吊架。The invention belongs to the technical field of a support and hanger, in particular to an anti-loosening support and hanger that is easy to disassemble.
背景技术Background technique
支吊架作为一种综合性施工体系,在建筑工程项目中是一种常见的支撑系统,管道广泛运用在各个行业内,建筑工人对管道进行安装时,建筑工人通常使用支吊架对管道进行支撑,支吊架尤其是抗震支吊架可以防止管道在震动时发生形变,从而保护管道,但是实际生活中,管道的口径不一,同一个支吊架不能对不同口径的管道进行固定,导致支吊架的实用性能降低,并且现有的抗震支吊架对管道不能够全方位进行抗震,导致管道的使用寿命降低,在管道固定夹对管道进行固定时,管道固定夹上的锁紧装置受外部晃动等因素影响,导致锁紧装置松动,导致管道固定夹对管道固定发生松动,导致管道的使用安全性能降低。As a comprehensive construction system, the support and hanger is a common support system in construction projects. The pipeline is widely used in various industries. When the construction workers install the pipeline, they usually use the support and hanger to carry out the pipeline. Supports, supports and hangers, especially anti-seismic supports and hangers, can prevent the deformation of the pipeline during vibration, thereby protecting the pipeline. However, in real life, the diameters of the pipelines are different, and the same support and hanger cannot fix the pipes of different diameters, resulting in The practical performance of the support and hanger is reduced, and the existing anti-seismic support and hanger cannot resist earthquakes in all directions to the pipeline, resulting in a reduction in the service life of the pipeline. Affected by external shaking and other factors, the locking device is loosened, which leads to the loosening of the pipe fixing clip to the pipe, which reduces the safety performance of the pipe.
发明内容SUMMARY OF THE INVENTION
本发明的目的在于提供一种拆卸方便防松支吊架,以解决上述背景技术中提出的同一个支吊架不能对不同口径的管道进行固定,导致支吊架的实用性能降低,并且现有的抗震支吊架对管道不能够全方位进行抗震,导致管道的使用寿命降低,在管道固定夹对管道进行固定时,管道固定夹上的锁紧装置受外部晃动等因素影响,导致锁紧装置松动,导致管道固定夹对管道固定发生松动,导致管道的使用安全性能降低问题。The purpose of the present invention is to provide an anti-loosening support and hanger that is easy to disassemble, so as to solve the problem that the same support and hanger proposed in the above-mentioned background technology cannot fix pipes of different diameters, resulting in a reduction in the practical performance of the support and hanger, and the existing The anti-seismic support and hanger of the pipeline can not be fully seismically resistant to the pipeline, which will reduce the service life of the pipeline. When the pipeline fixing clips are used to fix the pipeline, the locking device on the pipeline fixing clip is affected by external shaking and other factors, resulting in the locking device. Looseness will lead to the loosening of the pipe fixing clip to the pipe, resulting in the problem of reducing the safety performance of the pipe.
为实现上述目的,本发明提供如下技术方案:一种拆卸方便防松支吊架,包括框体,框体包括支撑板和底板,支撑板设有两个,两个支撑板分别与结构体和底板垂直固定连接,底板上侧设有第一管卡和第二管卡,第一管卡和第二管卡远离底板一侧均设有锁紧耳板,第一管卡和第二管卡相装配并套设于管道外部,两个锁紧耳板通过锁紧装置固定连接,底板上表面设有凹型槽,凹型槽位于第一管卡一侧,第二管卡和凹型槽滑动连接,凹型槽侧面设有减震装置,第一管卡和底板固定连接,靠近第二管卡的支撑板和第二管卡之间通过限位装置连接。In order to achieve the above purpose, the present invention provides the following technical solutions: an easy-to-remove anti-loosening support hanger, comprising a frame body, the frame body includes a support plate and a bottom plate, two support plates are provided, and the two support plates are respectively connected with the structure body and the bottom plate. The bottom plate is vertically fixed and connected. The upper side of the bottom plate is provided with a first tube clip and a second tube clip. The first tube clip and the second tube clip are provided with locking lugs on the side away from the bottom plate. The first tube clip and the second tube clip are provided with locking lugs. The two locking lugs are fixedly connected by a locking device, the upper surface of the bottom plate is provided with a concave groove, the concave groove is located on one side of the first pipe clamp, and the second pipe clamp and the concave groove are slidably connected, A shock absorbing device is arranged on the side of the concave groove, the first tube clip is fixedly connected with the bottom plate, and the support plate close to the second tube clip and the second tube clip are connected by a limiting device.
作为优化,减震装置包括固定板、第一弹簧、第一固定块和限位板,底板上侧设有第一凹槽,两个第一凹槽位于第二管卡两侧,减震装置位于第一凹槽内,固定板和远离凹型槽的第一凹槽侧面固定连接,固定板另一侧设有第二凹槽,第二凹槽内插入限位板,限位板另一侧和第一固定块固定连接,固定板和第一固定块之间设有第一弹簧,第一弹簧位于限位板外部,第一固定块和凹型槽侧面接触。As an optimization, the damping device includes a fixing plate, a first spring, a first fixing block and a limiting plate. The upper side of the bottom plate is provided with a first groove, and the two first grooves are located on both sides of the second pipe clamp. Located in the first groove, the fixing plate is fixedly connected to the side of the first groove away from the concave groove, the other side of the fixing plate is provided with a second groove, the limit plate is inserted into the second groove, and the other side of the limit plate is It is fixedly connected with the first fixing block, a first spring is arranged between the fixing plate and the first fixing block, the first spring is located outside the limiting plate, and the first fixing block is in contact with the side surface of the concave groove.
作为优化,限位装置包括限位框、第一移动块和推杆,限位框和框体内侧面固定连接,限位框内设有第一移动块,第一移动块两端和限位框内部两侧接触,推杆一侧和第一移动块固定连接,推杆另一侧和第二管卡侧面连接,第一移动块和靠近推杆一侧的限位框之间设有第二弹簧,框体侧面设有第一通孔,第一通孔内部设有内螺纹,第一通孔和紧固装置螺纹连接,远离推杆的第一移动块的一侧和紧固装置一端接触,紧固装置例如可以选用螺栓。As an optimization, the limiting device includes a limiting frame, a first moving block and a push rod. The limiting frame is fixedly connected to the inner side of the frame. A first moving block is arranged in the limiting frame, and both ends of the first moving block are connected to the limiting frame. The two sides of the inside are in contact, one side of the push rod is fixedly connected with the first moving block, the other side of the push rod is connected with the side of the second tube clamp, and a second The spring, the side of the frame is provided with a first through hole, the inside of the first through hole is provided with an internal thread, the first through hole is threadedly connected with the fastening device, and the side of the first moving block away from the push rod is in contact with one end of the fastening device , the fastening device such as bolts can be used.
作为优化,锁紧耳板侧面设有贯穿本体的第六通孔,锁紧耳板侧面设有第五通孔,第五通孔和第六通孔连通,第五通孔内壁设有内螺纹,第五通孔螺纹连接有移动杆,移动杆一端设置为弧形,移动杆靠近螺帽一端设有外螺纹,移动杆靠近螺帽一端设有蝶形螺帽。As an optimization, the side of the locking lug plate is provided with a sixth through hole penetrating the body, the side of the locking lug plate is provided with a fifth through hole, the fifth through hole and the sixth through hole are connected, and the inner wall of the fifth through hole is provided with an internal thread The fifth through hole is threadedly connected with a moving rod, one end of the moving rod is arc-shaped, one end of the moving rod close to the nut is provided with an external thread, and one end of the moving rod close to the nut is provided with a butterfly nut.
作为优化,锁紧装置包括螺帽和螺杆,螺帽和螺杆一端焊接,螺杆为中空结构,螺杆分别插入第一管卡和第二管卡上的第六通孔,螺杆另一端螺纹连接有螺母,螺杆内壁设有防护套,螺帽侧面设有第二通孔,第二通孔上插入活动杆,活动杆上设有活塞,活动杆贯穿螺杆,活塞和防护套滑动连接,活动杆侧面对称设有第二固定块,每对第二固定块设有两组及以上,第二固定块侧面设有第三通孔,第三通孔内插入第二移动块,第二移动块远离第二固定块一侧形状为弧形,第二移动块内部设有第四通孔a,第四通孔a内设有限位杆,限位杆贯穿第三通孔并插入活动杆内侧,第三通孔内部设有第三弹簧,第三弹簧位于限位杆外部,螺杆侧面设有第四通孔b,第四通孔b和第五通孔连通,每个第二移动块插入位置对应的第四通孔b。As an optimization, the locking device includes a nut and a threaded rod. One end of the nut and the threaded rod is welded. The threaded rod is a hollow structure. , the inner wall of the screw is provided with a protective sleeve, the side of the nut is provided with a second through hole, the movable rod is inserted into the second through hole, the movable rod is provided with a piston, the movable rod passes through the screw, the piston and the protective sleeve are slidably connected, and the side of the movable rod is symmetrical A second fixing block is provided, and each pair of second fixing blocks is provided with two or more groups. The side of the second fixing block is provided with a third through hole, and the second moving block is inserted into the third through hole, and the second moving block is far away from the second The shape of one side of the fixed block is arc-shaped, a fourth through hole a is arranged inside the second moving block, a limit rod is arranged in the fourth through hole a, the limit rod passes through the third through hole and is inserted into the inner side of the movable rod, and the third through hole is inserted into the movable rod. There is a third spring inside the hole, the third spring is located outside the limit rod, the side of the screw rod is provided with a fourth through hole b, the fourth through hole b is connected with the fifth through hole, and each second moving block is inserted into the corresponding second moving block. Four through holes b.
作为优化,减震装置中的第一弹簧、第一固定块、限位板和第二凹槽均设有两个及以上。As an optimization, there are two or more first springs, first fixing blocks, limiting plates and second grooves in the shock absorbing device.
作为优化,第二移动块远离第二固定块一侧的形状为半圆球形。As an optimization, the shape of the side of the second moving block away from the second fixed block is hemispherical.
作为优化,底板上侧设有两对第一管卡和第二管卡。As an optimization, two pairs of first tube clips and second tube clips are provided on the upper side of the bottom plate.
与现有技术相比,本发明的有益效果是:Compared with the prior art, the beneficial effects of the present invention are:
1、第一管卡固定设置,根据管道的大小,第二管卡可以移动到合适的位置,通过限位装置和紧固装置对第二管卡进行固定,从而对管道进行固定,限位装置中第二弹簧的设置,防止管道在工作过程中受外力或者其他因素影响,管道位置发生移动,从而影响管道的使用寿命;1. The first pipe clamp is fixed. According to the size of the pipe, the second pipe clamp can be moved to a suitable position, and the second pipe clamp is fixed by the limit device and the fastening device, so as to fix the pipe, and the limit device The setting of the second spring in the middle prevents the pipeline from being affected by external force or other factors during the working process, and the position of the pipeline is moved, thus affecting the service life of the pipeline;
2、第一管卡和第二管卡中的锁紧耳板通过锁紧装置进行固定,锁紧装置的设置,防止螺杆和外部螺母受外力影响,发生松动,导致第一管卡和第二管卡扣合不牢靠,从而影响管道的稳定性;2. The locking lugs in the first tube clip and the second tube clip are fixed by the locking device. The setting of the locking device prevents the screw and the external nut from being affected by external force and loosening, resulting in the first tube clip and the second tube clip. The pipe buckle is not reliable, thus affecting the stability of the pipe;
3、减震装置的设置,结构简单,适用性强,可以对和减震装置接触的第二管卡进行多角度的减震,从而实现对第一管卡和管道的多角度减震,从而降低第二管卡、第一管卡和管道受外界因素的影响,发生形变或者损坏现象,增加装置的使用寿命。3. The setting of the shock absorbing device has a simple structure and strong applicability, and can perform multi-angle shock absorbing on the second pipe clamp that is in contact with the shock absorbing device, so as to realize the multi-angle shock absorbing of the first pipe card and the pipeline, thereby It can reduce the deformation or damage of the second tube clip, the first tube clip and the pipeline due to the influence of external factors, and increase the service life of the device.
附图说明Description of drawings
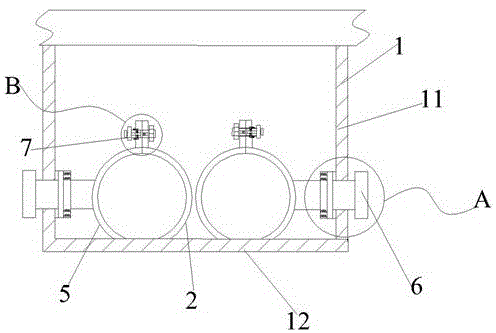
图1为本发明一种拆卸方便防松支吊架整体结构示意图;Fig. 1 is a schematic diagram of the overall structure of an easy-to-remove anti-loosening support hanger of the present invention;
图2为本发明图1中A的放大图;Fig. 2 is the enlarged view of A in Fig. 1 of the present invention;
图3为本发明图1中B的放大图;Fig. 3 is the enlarged view of B in Fig. 1 of the present invention;
图4为本发明底板的俯视图;Fig. 4 is the top view of the bottom plate of the present invention;
图5为本发明锁紧装置的结构示意图。FIG. 5 is a schematic structural diagram of the locking device of the present invention.
图中:1-框体、11-支撑板、12-底板、13-第一凹槽、2-第一管卡、21- 锁紧耳板、211-第五通孔、212-移动杆、213-蝶形螺帽、3-凹型槽、4-减震装置、41-固定板、42-第一弹簧、43-第一固定块、44-限位板、45-第二凹槽、 5-第二管卡、6-限位装置、61-限位框、62-第一移动块、63-推杆、64-第二弹簧、7-锁紧装置、71-螺帽、711-第二通孔、72-螺杆、721-防护套、8-紧固装置、9-活动杆、91-活塞、92-第二固定块、921-第三通孔、93-第二移动块、931-第四通孔a、94-第三弹簧、95-限位杆、96-第四通孔b。In the figure: 1-frame body, 11-support plate, 12-bottom plate, 13-first groove, 2-first pipe clip, 21-locking lug plate, 211-fifth through hole, 212-moving rod, 213-wing nut, 3-concave groove, 4-shock absorber, 41-fixing plate, 42-first spring, 43-first fixing block, 44-limiting plate, 45-second groove, 5 -Second pipe clamp, 6-Limiting device, 61-Limiting frame, 62-First moving block, 63-Push rod, 64-Second spring, 7-Locking device, 71-Nut, 711-Secondary spring Two through holes, 72-screw, 721-protective sleeve, 8-fastening device, 9-active rod, 91-piston, 92-second fixing block, 921-third through-hole, 93-second moving block, 931 - Fourth through hole a, 94 - third spring, 95 - limit rod, 96 - fourth through hole b.
具体实施方式Detailed ways
下面将结合本发明实施例中的附图,对本发明实施例中的技术方案进行清楚、完整地描述,显然,所描述的实施例仅仅是本发明一部分实施例,而不是全部的实施例。基于本发明中的实施例,本领域普通技术人员在没有做出创造性劳动前提下所获得的所有其他实施例,都属于本发明保护的范围。The technical solutions in the embodiments of the present invention will be clearly and completely described below with reference to the accompanying drawings in the embodiments of the present invention. Obviously, the described embodiments are only a part of the embodiments of the present invention, but not all of the embodiments. Based on the embodiments of the present invention, all other embodiments obtained by those of ordinary skill in the art without creative efforts shall fall within the protection scope of the present invention.
请参阅图1-5,本发明提供一种技术方案:一种拆卸方便防松支吊架,包括框体1,框体1包括支撑板11和底板12,支撑板11设有两个,两个支撑板11分别与结构体和底板12垂直固定连接,底板12上侧设有第一管卡2和第二管卡5,第一管卡2和第二管卡5远离底板12一侧均设有锁紧耳板21,第一管卡2和第二管卡5相装配并套设于管道外部,两个锁紧耳板21通过锁紧装置7固定连接,底板12上表面设有凹型槽3,凹型槽3位于第一管卡2 一侧,第二管卡5和凹型槽3滑动连接,凹型槽3侧面设有减震装置4,第一管卡2和底板12固定连接,靠近第二管卡5的支撑板11和第二管卡5之间通过限位装置6连接。1-5, the present invention provides a technical solution: an anti-loosening support and hanger that is easy to disassemble, including a
减震装置4包括固定板41、第一弹簧42、第一固定块43和限位板44,底板12上侧设有第一凹槽13,两个第一凹槽13位于第二管卡5两侧,减震装置4位于第一凹槽13内,固定板41和远离凹型槽3的第一凹槽13侧面固定连接,固定板41另一侧设有第二凹槽45,第二凹槽45内插入限位板44,限位板44另一侧和第一固定块43固定连接,固定板41和第一固定块43之间设有第一弹簧42,第一弹簧42位于限位板44外部,第一固定块43和凹型槽3侧面接触。The
限位装置6包括限位框61、第一移动块62和推杆63,限位框61和框体 1内侧面固定连接,限位框61内设有第一移动块62,第一移动块62两端和限位框61内部两侧接触,推杆63一侧和第一移动块62固定连接,推杆63 另一侧和第二管卡5侧面连接,第一移动块62和靠近推杆63一侧的限位框 61之间设有第二弹簧64,框体1侧面设有第一通孔14,第一通孔14内部设有内螺纹,第一通孔14和紧固装置8螺纹连接,远离推杆63的第一移动块 62的一侧和紧固装置8一端接触。The
锁紧耳板21侧面设有贯穿本体的第六通孔,锁紧耳板21侧面设有第五通孔211,第五通孔211和第六通孔连通,第五通孔211内壁设有内螺纹,第五通孔211螺纹连接有移动杆212,移动杆212一端设置为弧形,移动杆212 靠近螺帽71一端设有外螺纹,移动杆212靠近螺帽71一端设有蝶形螺帽213。The side of the locking
锁紧装置7包括螺帽71和螺杆72,螺帽71和螺杆72一端焊接,螺杆 72为中空结构,螺杆72分别插入第一管卡2和第二管卡5上的第六通孔,螺杆72另一端螺纹连接有螺母,螺杆72内壁设有防护套721,螺帽71侧面设有第二通孔711,第二通孔711上插入活动杆9,活动杆9上设有活塞91,活动杆9贯穿螺杆72,活塞91和防护套721滑动连接,活动杆9侧面对称设有第二固定块92,每对第二固定块92设有两组及以上,第二固定块92侧面设有第三通孔921,第三通孔921内插入第二移动块93,第二移动块93远离第二固定块92一侧形状为弧形,第二移动块93内部设有第四通孔a931,第四通孔a931内设有限位杆95,限位杆95贯穿第三通孔921并插入活动杆9内侧,第三通孔921内部设有第三弹簧94,第三弹簧94位于限位杆95外部,螺杆72侧面设有第四通孔b96,第四通孔b96和第五通孔211连通,每个第二移动块93插入位置对应的第四通孔b96。The
减震装置4中的第一弹簧42、第一固定块43、限位板44和第二凹槽45 均设有两个及以上。There are two or more
第二移动块93远离第二固定块92一侧的形状为半圆球形。The shape of the side of the second moving
底板12上侧设有两对第一管卡2和第二管卡5。Two pairs of
工作原理:一种拆卸方便防松支吊架,该拆卸方便防松支吊架包括框体1,该支吊架对管道进行固定时,先将管道放到第一管卡2的卡槽内,然后通过紧固装置8对第一移动块62进行移动,将第二管卡5移动到需要的位置后,紧固装置8停止转动,将锁紧装置7插入第六通孔内,给活动杆9施加外力,移动杆9移动,第二移动块93移动到第四通孔b96处时,被压缩的第三弹簧 94发生形变,将第二移动块93推送到第四通孔b96内部,然后将螺杆72另一端和螺栓螺纹连接,通过使用装置,可以进一步防止锁紧装置7发生松动,增加支吊架使用的稳定性。Working principle: an easy-to-remove anti-loosening support and hanger, the easy-to-remove anti-loosening support and hanger includes a
需要说明的是,在本文中,诸如第一和第二等之类的关系术语仅仅用来将一个实体或者操作与另一个实体或操作区分开来,而不一定要求或者暗示这些实体或操作之间存在任何这种实际的关系或者顺序。而且,术语“包括”、“包含”或者其任何其他变体意在涵盖非排他性的包含,从而使得包括一系列要素的过程、方法、物品或者设备不仅包括那些要素,而且还包括没有明确列出的其他要素,或者是还包括为这种过程、方法、物品或者设备所固有的要素。It should be noted that, in this document, relational terms such as first and second are only used to distinguish one entity or operation from another entity or operation, and do not necessarily require or imply any relationship between these entities or operations. any such actual relationship or sequence exists. Moreover, the terms "comprising", "comprising" or any other variation thereof are intended to encompass a non-exclusive inclusion such that a process, method, article or device that includes a list of elements includes not only those elements, but also includes not explicitly listed or other elements inherent to such a process, method, article or apparatus.
尽管已经示出和描述了本发明的实施例,对于本领域的普通技术人员而言,可以理解在不脱离本发明的原理和精神的情况下可以对这些实施例进行多种变化、修改、替换和变型,本发明的范围由所附权利要求及其等同物限定。Although embodiments of the present invention have been shown and described, it will be understood by those skilled in the art that various changes, modifications, and substitutions can be made in these embodiments without departing from the principle and spirit of the invention and modifications, the scope of the present invention is defined by the appended claims and their equivalents.
Claims (8)
Priority Applications (1)
| Application Number | Priority Date | Filing Date | Title |
|---|---|---|---|
| CN201921334556.9U CN211083084U (en) | 2019-08-16 | 2019-08-16 | Dismantle convenient locking gallows |
Applications Claiming Priority (1)
| Application Number | Priority Date | Filing Date | Title |
|---|---|---|---|
| CN201921334556.9U CN211083084U (en) | 2019-08-16 | 2019-08-16 | Dismantle convenient locking gallows |
Publications (1)
| Publication Number | Publication Date |
|---|---|
| CN211083084U true CN211083084U (en) | 2020-07-24 |
Family
ID=71640843
Family Applications (1)
| Application Number | Title | Priority Date | Filing Date |
|---|---|---|---|
| CN201921334556.9U Expired - Fee Related CN211083084U (en) | 2019-08-16 | 2019-08-16 | Dismantle convenient locking gallows |
Country Status (1)
| Country | Link |
|---|---|
| CN (1) | CN211083084U (en) |
Cited By (1)
| Publication number | Priority date | Publication date | Assignee | Title |
|---|---|---|---|---|
| CN110486534A (en) * | 2019-08-16 | 2019-11-22 | 镇江市云鹏电器有限公司 | A kind of locking suspension and support of convenient disassembly |
-
2019
- 2019-08-16 CN CN201921334556.9U patent/CN211083084U/en not_active Expired - Fee Related
Cited By (1)
| Publication number | Priority date | Publication date | Assignee | Title |
|---|---|---|---|---|
| CN110486534A (en) * | 2019-08-16 | 2019-11-22 | 镇江市云鹏电器有限公司 | A kind of locking suspension and support of convenient disassembly |
Similar Documents
| Publication | Publication Date | Title |
|---|---|---|
| CN206143948U (en) | Anti -seismic support | |
| CN211083103U (en) | Anti-seismic fixed support hanger | |
| CN211083084U (en) | Dismantle convenient locking gallows | |
| CN110486534A (en) | A kind of locking suspension and support of convenient disassembly | |
| CN104901253B (en) | A kind of slidingtype electrical equipment gold utensil | |
| CN207634833U (en) | A kind of petroleum pipeline sealing twin adapter attachment device | |
| CN215173175U (en) | An adjustable screw jacking device with a universal ball head | |
| CN208058143U (en) | A kind of buffer gear for para-seismic support | |
| CN209398938U (en) | A multifunctional anti-seismic support and hanger | |
| CN111609219A (en) | A kind of building seismic support hanger hinge | |
| CN208442395U (en) | A kind of antidetonation water pipe list hangs Bidirectional supporting | |
| CN110410611A (en) | A friction-tuned shock-absorbing device for a building pipeline structure | |
| CN206568037U (en) | Mercury vapourmeter and its propclip | |
| CN215616190U (en) | A corrugated expansion joint fixture | |
| CN211649305U (en) | Hanger rod and fastening device for anti-seismic support hanger | |
| CN211951713U (en) | Connecting device for anti-seismic support and hanger | |
| CN223794797U (en) | Anti-seismic bracket connecting piece | |
| CN209671755U (en) | A kind of pipeline fixing device | |
| CN216131501U (en) | Anti-seismic support and hanger with locking function | |
| CN219796365U (en) | Damping support and hanger for pipeline | |
| CN209213207U (en) | A kind of novel mounting suspension for multi-connected machine cryogen pipeline | |
| CN221348205U (en) | Building construction drainage pipeline clamp | |
| CN208668275U (en) | An anti-falling beam device | |
| CN223105486U (en) | A kind of petroleum engineering pipeline support and hanger | |
| CN210600454U (en) | Multi-direction shock attenuation gallows |
Legal Events
| Date | Code | Title | Description |
|---|---|---|---|
| GR01 | Patent grant | ||
| GR01 | Patent grant | ||
| CF01 | Termination of patent right due to non-payment of annual fee |
Granted publication date: 20200724 |
|
| CF01 | Termination of patent right due to non-payment of annual fee |
