CN211071427U - 一种杆类坯料夹紧拉伸模具 - Google Patents

一种杆类坯料夹紧拉伸模具 Download PDF

Info

Publication number
CN211071427U
CN211071427U CN201921687408.5U CN201921687408U CN211071427U CN 211071427 U CN211071427 U CN 211071427U CN 201921687408 U CN201921687408 U CN 201921687408U CN 211071427 U CN211071427 U CN 211071427U
Authority
CN
China
Prior art keywords
clamp
movable
raw material
die
opening
Prior art date
Legal status (The legal status is an assumption and is not a legal conclusion. Google has not performed a legal analysis and makes no representation as to the accuracy of the status listed.)
Expired - Fee Related
Application number
CN201921687408.5U
Other languages
English (en)
Inventor
苏超
熊佳乐
丁子浩
曾缘园
葛李龙
Current Assignee (The listed assignees may be inaccurate. Google has not performed a legal analysis and makes no representation or warranty as to the accuracy of the list.)
Hunan Jingzhuan Automation Technology Co ltd
Original Assignee
Hunan Jingzhuan Automation Technology Co ltd
Priority date (The priority date is an assumption and is not a legal conclusion. Google has not performed a legal analysis and makes no representation as to the accuracy of the date listed.)
Filing date
Publication date
Application filed by Hunan Jingzhuan Automation Technology Co ltd filed Critical Hunan Jingzhuan Automation Technology Co ltd
Priority to CN201921687408.5U priority Critical patent/CN211071427U/zh
Application granted granted Critical
Publication of CN211071427U publication Critical patent/CN211071427U/zh
Expired - Fee Related legal-status Critical Current
Anticipated expiration legal-status Critical

Links

Images

Landscapes

  • Forging (AREA)

Abstract

本实用新型属于五金工具制造技术领域,具体涉及一种杆类坯料夹紧拉伸模具,包括定模板和动模板,定模板内表面设有第一夹具和第二夹具,动模板内表面设有第三夹具和第四夹具,第一夹具上活动设有第一定模,第二夹具上活动设有第一动模,第三夹具上活动设有第二动模,第四夹具上活动设有第二定模,第一定模与第一动模通过第一开合装置配合实现对原料棒一端的定型,第二定模与第二动模通过第二开合装置配合实现对原料棒另一端的定型。本实用新型结构简单,操作方便,通过夹具的配合,实现对原料棒两端的夹紧和脱落,动模板向外移动,实现对原料棒的拉伸,自动化程度高,省时省力,坯料拉伸过程中安全隐患小,生产效率高。

Description

一种杆类坯料夹紧拉伸模具
技术领域
本实用新型属于五金工具制造技术领域,尤其是涉及一种杆类坯料夹紧拉伸模具。
背景技术
杆类五金工具是一类五金工具的统称,它们外形结构近似杆类,大多通过两头设有的特殊结构工作,中间的手持部细长,例如单头扳手、双头扳手、呆扳手、梅花扳手等。
对于成熟的五金工具,售价较低,如何提高加工工艺,提升产品质量以及减少加工成本是所有加工厂商的重要目标,而在杆类五金工具加工中如何实现高效坯料拉伸是高效生产的必要保障。
现有的杆类五金工具制作工序,大多以圆钢为原料,通过圆钢下料、墩头加温、坯料拉伸、再进行机械切削,磨削而成,工序繁多,工效低。其中的坯料拉伸为整个工序的重中之重,锻造不好,原材料消耗大,能耗高。
现有的坯料拉伸方法,大多是工作人员通过气锤、液压锤进行人工锻压,自动化程度低,费时费力,且锻造过程中,噪音大,危险系数高,生产效率低。
少部分通过液压机安装坯料拉伸模具,采用液压机与坯料拉伸模具的配合对原料进行坯料拉伸,但现有的坯料拉伸模具功能单一,一套坯料拉伸模具只能制造一种产品。若想生成多种产品,需制作多套坯料拉伸模具,每套坯料拉伸模具需要与之配套的液压机,占地面积大,生产成本高;若多套坯料拉伸模具使用一台液压机,则需要频繁的更换模具,费时费力,生产效率低,不适合推广应用。
实用新型内容
本实用新型要解决的问题是提供一种坯料拉伸模具;尤其是结构简单、操作方便、占地面积小、应用范围广、成本低、效率高的一种杆类坯料夹紧拉伸模具。
为解决上述技术问题,本实用新型采用的一个技术方案是:一种杆类坯料夹紧拉伸模具,包括定模板和动模板,所述定模板与所述动模板平行设置,所述定模板内表面设有第一夹具和第二夹具,所述动模板内表面设有第三夹具和第四夹具,所述第二夹具通过第一开合装置连接所述定模板,所述第三夹具通过第二开合装置连接所述动模板,所述第一夹具上活动设有第一定模,所述第二夹具上活动设有第一动模,所述第三夹具上活动设有第二动模,所述第四夹具上活动设有第二定模,所述第一定模与所述第一动模通过所述第一开合装置配合实现对原料棒一端的定型,所述第二定模与所述第二动模通过所述第二开合装置配合实现对所述原料棒另一端的定型。
进一步的,所述定模板与所述动模板之间设有导柱。
进一步的,所述第一定模和所述第一动模上分别设有所述原料棒头部定型凹槽。
进一步的,所述第二定模和所述第二动模上分别设有所述原料棒尾部定型凹槽。
进一步的,所述头部定型凹槽和所述尾部定型凹槽分别为多个。
进一步的,多个所述头部定型凹槽和多个所述尾部定型凹槽分别包括多种规格。
进一步的,所述第一开合装置包括第一连接板,所述第一连接板横截面呈L形,所述第一连接板纵截面呈U形,所述第二夹具置于所述第一连接板的U形凹槽内,所述定模板置于所述第一连接板的L形内,所述第一连接板与所述定模板平行一面端部设有连接孔,所述第一连接板与所述定模板垂直一面设有第一伸缩杆,所述第二夹具靠近所述第一夹具一端与所述第二夹具靠近所述定模板一端相交处设有连接透孔,所述连接孔与所述连接透孔通过旋转轴连接,所述第二夹具远离所述第一夹具一端连接所述第一伸缩杆,所述第一伸缩杆与所述旋转轴使所述第一夹具与所述第二夹具具有两种状态,
第一状态下,所述第一伸缩杆收缩,所述第二夹具沿所述旋转轴向远离所述第一夹具方向转动,所述第一夹具与所述第二夹具之间的间隙增大,方便所述原料棒脱离;
第二状态下,所述第一伸缩杆伸长,所述第二夹具沿所述旋转轴向靠近所述第一夹具方向转动,所述第一夹具与所述第二夹具之间的间隙减小,实现所述原料棒夹紧。
进一步的,所述第二开合装置与所述第一开合装置结构相同。
进一步的,所述动模板外表面连接驱动装置。
进一步的,所述动模板的运动行程设置多种规格。
本实用新型具有的优点和积极效果是:
1、本实用新型结构简单,操作方便,通过第一夹具与第二夹具的配合,实现对原料棒头部的夹紧,通过第三夹具与第四夹具配合,实现对原料棒尾部的夹紧,动模板向外移动,实现对原料棒的拉伸,拉伸完成后,通过夹具的相互配合,实现原料棒的脱离,自动化程度高,省时省力,坯料拉伸过程中安全隐患小,生产效率高。
2、本实用新型通过在定模和动模上设置定型凹槽,可在对原料棒进行拉伸的同时,对原料棒两端进行定型,定型凹槽具有多种规格,可定型两端,也可定型一端,可定型为板型,也可定型为球形,可定型一根,也可定型多根。应用范围广,实用性强,适合推广应用。
3、本实用新型将定模和动模活动设置在夹具上,方便维修更换。且定模、动模结构简单,制作成本低,安装方便,可根据加工件的要求,对定型模具的定型样式、定型数量随时调整,生产成本低,应用范围广。
4、本实用新型通过开合装置,实现对原料棒的上料、夹紧、卸料等一系列工序,开合装置可调节相对夹具之间的间隙,适用于多种规格的原料棒,同时便于定模及动模的安装,提高了生产效率,且应用范围广,实用性强。
5、本实用新型通过在定模板和动模板之间设置导柱,便于控制动模板的行程方向,使其沿着导柱做直线运动,便于提高原料棒的拉伸精度,提高了生产效率,能效小。
6、本实用新型通过调节动模板的往复行程,实现对原料棒拉伸长度的控制,可设置多种规格,适用多种长度的杆类五金工具制坯,结构简单,操作方便,生产成本低,应用范围广,生产效率高。
附图说明
图1是本实用新型实施例的整体结构示意图。
图2是本实用新型实施例的头部定型模具结构示意图。
图3是本实用新型实施例的尾部定型模具结构示意图。
图4是本实用新型实施例的第一工作状态图。
图5是本实用新型实施例的第二工作状态图。
图6是本实用新型实施例的第四工作状态图。
图7是本实用新型实施例的开合装置结构示意图。
图8是本实用新型实施例的开合装置第一工作状态图。
图9是本实用新型实施例的开合装置第二工作状态图。
附图标号说明:
1、驱动装置 2、第二开合装置 3、动模板
4、第三夹具 5、第二动模 6、原料棒
7、第二夹具 8、第一动模 9、定模板
10、第一开合装置 11、第一夹具 12、第一定模
13、导柱 14、第二定模 15、第四夹具
16、头部定型凹槽 17、第一连接板 18、U形凹槽
19、连接孔 20、第一伸缩杆 21、连接透孔
22、尾部定型凹槽。
具体实施方式
下面将结合附图对本实用新型的技术方案进行清楚、完整地描述,显然,所描述的实施例是本实用新型一部分实施例,而不是全部的实施例。基于本实用新型中的实施例,本领域普通技术人员在没有做出创造性劳动前提下所获得的所有其他实施例,都属于本实用新型保护的范围。
在本实用新型的描述中,需要说明的是,术语“中心”、“上”、“下”、“左”、“右”、“竖直”、“水平”、“内”、“外”等指示的方位或位置关系为基于附图所示的方位或位置关系,仅是为了便于描述本实用新型和简化描述,而不是指示或暗示所指的装置或元件必须具有特定的方位、以特定的方位构造和操作,因此不能理解为对本实用新型的限制。此外,术语“第一”、“第二”、“第三”仅用于描述目的,而不能理解为指示或暗示相对重要性。
在本实用新型的描述中,需要说明的是,除非另有明确的规定和限定,术语“安装”、“相连”、“连接”应做广义理解,例如,可以是固定连接,也可以是可拆卸连接,或一体地连接;可以是机械连接,也可以是电连接;可以是直接相连,也可以通过中间媒介间接相连,可以是两个元件内部的连通。对于本领域的普通技术人员而言,可以具体情况理解上述术语在本实用新型中的具体含义。
以下结合附图具体说明本实用新型提供的一种杆类坯料夹紧拉伸模具。
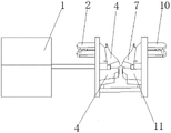
如图1所示,一种杆类坯料夹紧拉伸模具,包括定模板9和动模板3,定模板9与动模板3平行设置。定模板9内表面设有第一夹具11和第二夹具7,动模板3内表面设有第三夹具4和第四夹具15。第二夹具7通过第一开合装置10连接定模板9,第三夹具4通过第二开合装置2连接动模板3。
第一夹具11上活动设有第一定模12,第二夹具7上活动设有第一动模8。第三夹具4上活动设有第二动模5,第四夹具15上活动设有第二定模14。将定模和动模活动设置在夹具上,方便维修更换。且定模、动模结构简单,制作成本低,安装方便,可根据加工件的要求,对定型模具的定型样式、定型数量随时调整,生产成本低,应用范围广。第一定模12与第一动模8通过第一开合装置10配合实现对原料棒6一端的定型,第二定模14与第二动模5通过第二开合装置2配合实现对原料棒6另一端的定型。
优选的,定模板9与动模板3之间设有导柱13,导柱13便于控制动模板3的行程方向,使动模板3沿着导柱13相对定模板9做直线运动,便于提高原料棒6的拉伸精度,提高了生产效率,能效小。
优选的,如图2、图3所示,第一定模12和第一动模8上分别设有原料棒6头部定型凹槽16,头部定型凹槽16可对原料棒6的头部在拉伸过程中进行定型。第二定模14和第二动模5上分别设有原料棒6尾部定型凹槽22,尾部定型凹槽22可对原料棒6的尾部在拉伸过程中进行定型。头部定型凹槽16和尾部定型凹槽22分别为多个。多个头部定型凹槽16和多个尾部定型凹槽22分别包括多种规格。可定型原料棒6两端,也可只定型原料棒6一端,可定型为板型,也可定型为球形,可定型一根,也可定型多根。应用范围广,实用性强,适合推广应用。
如图1所示,动模板3外表面连接驱动装置1。驱动装置1驱动动模板3沿着原料棒6中轴线方向做直线往复运动。驱动装置1和第一开合装置10及第二开合装置2配合,使第一夹具11、第二夹具7、第三夹具4和第四夹具15具有四种静止状态。
如图4所示,第一状态下,驱动装置1处于近位,定模板9与动模板3之间的间隙最小,第一开合装置10和第二开合装置2打开,第一夹具11与第二夹具7之间的间隙打开到最大,第三夹具4与第四夹具15之间的间隙同样打开到最大。定模板9上的夹具与动模板3上的夹具之间的间隙小于原料棒6长度,第一夹具11与第二夹具7之间的间隙大于原料棒6直径,第三夹具4与第四夹具15之间的间隙也大于原料棒6的直径。此时,方便原料棒6放置到夹具装置上。
如图5所示,第二状态下,驱动装置1处于近位,定模板9与动模板3之间的间隙最小,第一开合装置10和第二开合装置2关闭,第一夹具11与第二夹具7之间的间隙最小,第三夹具4与第四夹具15之间的间隙同样闭合到最小。定模板9上的夹具与动模板3上的夹具之间的间隙小于原料棒6长度,第一夹具11与第二夹具7之间的间隙小于原料棒6直径,第三夹具4与第四夹具15之间的间隙也小于原料棒6的直径。此时,原料棒6夹紧在夹具装置上。
如图1所示,第三状态下,驱动装置1处于远位,定模板9与动模板3之间的间隙最大,第一开合装置10和第二开合装置2关闭,第一夹具11与第二夹具7之间的间隙最小,第三夹具4与第四夹具15之间的间隙同样闭合到最小。定模板9上的夹具与动模板3上的夹具之间的间隙大于原料棒6长度,第一夹具11与第二夹具7之间的间隙小于原料棒6直径,第三夹具4与第四夹具15之间的间隙也小于原料棒6的直径。此时,原料棒6夹紧在夹具装置上被拉伸。
如图6所示,第四状态下,驱动装置1处于远位,定模板9与动模板3之间的间隙最大,第一开合装置10和第二开合装置2打开,第一夹具11与第二夹具7之间的间隙最大,第三夹具4与第四夹具15之间的间隙同样打开到最大。定模板9上的夹具与动模板3上的夹具之间的间隙大于原料棒6长度,第一夹具11与第二夹具7之间的间隙大于原料棒6直径,第三夹具4与第四夹具15之间的间隙也大于原料棒6的直径。此时,方便被拉伸后的原料棒6从夹具装置上脱离。
以上四种状态交替循环变化,实现原料棒6的拉伸制坯。
优选的,驱动装置1上设有行程开关,行程开关控制驱动装置1的往复距离。也可设置限位装置,限制驱动装置1的往复行程,从而控制动模板3的往复行程,实现对原料棒6拉伸长度的控制。动模板3的运动行程设置多种规格,适用多种长度的杆类五金工具制坯,结构简单,操作方便,生产成本低,应用范围广,生产效率高。
驱动装置1为驱动动模板3往复运动的装置,驱动装置1可以为驱动电机,也可以为液压杆,液压杆连接动模板3,液压杆可以为一根,也可以为多根。
开合装置为实现第二夹具7与第三夹具4运动,使得相对的第一夹具11与第二夹具7或第三夹具4与第四夹具15之间间隙尺寸变化的装置,实现对原料棒6的上料、夹紧、卸料等一系列工序,开合装置可调节相对夹具之间的间隙,适用于多种规格的原料棒6,同时便于定型模具的安装。
开合装置可具有多种结构,本实施例提供的结构,第一开合装置10与第二开合装置2结构相同。如图7所示,第一开合装置10包括第一连接板17,第一连接板17横截面呈L形,第一连接板17纵截面呈U形。第二夹具7置于第一连接板17的U形凹槽18内,定模板9置于第一连接板17的L形内。第一连接板17与定模板9平行一面端部设有连接孔19,第一连接板17与定模板9垂直一面设有第一伸缩杆20。第二夹具7靠近第一夹具11一端与第二夹具7靠近定模板9一端相交处设有连接透孔21,连接孔19与连接透孔21通过旋转轴连接。第二夹具7远离第一夹具11一端连接第一伸缩杆20,第一伸缩杆20与旋转轴使第一夹具11与第二夹具7具有两种状态。
如图8所示,第一状态下,第一伸缩杆20收缩,第二夹具7沿旋转轴向远离第一夹具11方向转动,第一夹具11与第二夹具7之间的间隙增大,方便原料棒6的夹紧与脱落。
如图9所示,第二状态下,第一伸缩杆20伸长,第二夹具7沿旋转轴向靠近第一夹具11方向转动,第一夹具11与第二夹具7之间的间隙减小,实现原料棒6夹紧。
本实用新型的工作原理是:
将坯料拔长模具的动模板3连接驱动装置1,将加热后的原料棒6运送到夹具装置上。
驱动装置1驱动动模板3向远离定模板9的方向运动,动模板3套着导柱13做直线运动,动模板3在行程距离内做直线往复运动。动模板3在移动过程中,第三夹具4和第四夹具15夹紧原料棒6一端做拉伸运动,待直线运动停止后,第一开合装置10与第二开合装置2打开,被拉伸的原料棒6从夹具装置上脱落。
第一开合装置10及第二开合装置2一直处于打开状态,驱动装置1驱动动模板3向靠近定模板9的方向运动,动模板3套着导柱13做直线运动,当动模板3移动到最开始的位置时,直线运动停止。
重复上述步骤,可连续完成制坯工作。
第一开合装置10及第二开合装置2的工作原理如下:
第一伸缩杆20收缩,第二夹具7沿旋转轴向远离第一夹具11方向转动,第一定模12与第一动模8之间的间隙增大,间隙大于原料棒6的直径,实现第一开合装置10的打开。
第一伸缩杆20伸长,第二夹具7沿旋转轴向靠近第一夹具11方向转动,第一定模12与第一动模8之间的间隙减小,间隙小于原料棒6的直径,实现第一开合装置10的关闭。
本实用新型具有的优点和积极效果是:
1、本实用新型结构简单,操作方便,通过第一夹具与第二夹具的配合,实现对原料棒头部的夹紧,通过第三夹具与第四夹具配合,实现对原料棒尾部的夹紧,动模板向外移动,实现对原料棒的拉伸,拉伸完成后,通过夹具的相互配合,实现原料棒的脱离,自动化程度高,省时省力,坯料拉伸过程中安全隐患小,生产效率高。
2、本实用新型通过在定模和动模上设置定型凹槽,可在对原料棒进行拉伸的同时,对原料棒两端进行定型,定型凹槽具有多种规格,可定型两端,也可定型一端,可定型为板型,也可定型为球形,可定型一根,也可定型多根。应用范围广,实用性强,适合推广应用。
3、本实用新型将定模和动模活动设置在夹具上,方便维修更换。且定模、动模结构简单,制作成本低,安装方便,可根据加工件的要求,对定型模具的定型样式、定型数量随时调整,生产成本低,应用范围广。
4、本实用新型通过开合装置,实现对原料棒的上料、夹紧、卸料等一系列工序,开合装置可调节相对夹具之间的间隙,适用于多种规格的原料棒,同时便于定模及动模的安装,提高了生产效率,且应用范围广,实用性强。
5、本实用新型通过在定模板和动模板之间设置导柱,便于控制动模板的行程方向,使其沿着导柱做直线运动,便于提高原料棒的拉伸精度,提高了生产效率,能效小。
6、本实用新型通过调节动模板的往复行程,实现对原料棒拉伸长度的控制,可设置多种规格,适用多种长度的杆类五金工具制坯,结构简单,操作方便,生产成本低,应用范围广,生产效率高。
以上所述仅为本实用新型的实施方式,并非因此限制本实用新型的专利范围,凡是利用本实用新型说明书及附图内容所作的等效结构或等效流程变换,或直接或间接运用在其他相关的技术领域,均同理包括在本实用新型的专利保护范围内。

Claims (10)

1.一种杆类坯料夹紧拉伸模具,包括定模板和动模板,其特征在于:所述定模板与所述动模板平行设置,所述定模板内表面设有第一夹具和第二夹具,所述动模板内表面设有第三夹具和第四夹具,所述第二夹具通过第一开合装置连接所述定模板,所述第三夹具通过第二开合装置连接所述动模板,所述第一夹具上活动设有第一定模,所述第二夹具上活动设有第一动模,所述第三夹具上活动设有第二动模,所述第四夹具上活动设有第二定模,所述第一定模与所述第一动模通过所述第一开合装置配合实现对原料棒一端的定型,所述第二定模与所述第二动模通过所述第二开合装置配合实现对所述原料棒另一端的定型。
2.根据权利要求1所述的一种杆类坯料夹紧拉伸模具,其特征在于:所述定模板与所述动模板之间设有导柱。
3.根据权利要求1或2所述的一种杆类坯料夹紧拉伸模具,其特征在于:所述第一定模和所述第一动模上分别设有所述原料棒头部定型凹槽。
4.根据权利要求3所述的一种杆类坯料夹紧拉伸模具,其特征在于:所述第二定模和所述第二动模上分别设有所述原料棒尾部定型凹槽。
5.根据权利要求4所述的一种杆类坯料夹紧拉伸模具,其特征在于:所述头部定型凹槽和所述尾部定型凹槽分别为多个。
6.根据权利要求5所述的一种杆类坯料夹紧拉伸模具,其特征在于:多个所述头部定型凹槽和多个所述尾部定型凹槽分别包括多种规格。
7.根据权利要求1至2或4至6任一所述的一种杆类坯料夹紧拉伸模具,其特征在于:所述第一开合装置包括第一连接板,所述第一连接板横截面呈L形,所述第一连接板纵截面呈U形,所述第二夹具置于所述第一连接板的U形凹槽内,所述定模板置于所述第一连接板的L形内,所述第一连接板与所述定模板平行一面端部设有连接孔,所述第一连接板与所述定模板垂直一面设有第一伸缩杆,所述第二夹具靠近所述第一夹具一端与所述第二夹具靠近所述定模板一端相交处设有连接透孔,所述连接孔与所述连接透孔通过旋转轴连接,所述第二夹具远离所述第一夹具一端连接所述第一伸缩杆,所述第一伸缩杆与所述旋转轴使所述第一夹具与所述第二夹具具有两种状态,
第一状态下,所述第一伸缩杆收缩,所述第二夹具沿所述旋转轴向远离所述第一夹具方向转动,所述第一夹具与所述第二夹具之间的间隙增大,方便所述原料棒脱离;
第二状态下,所述第一伸缩杆伸长,所述第二夹具沿所述旋转轴向靠近所述第一夹具方向转动,所述第一夹具与所述第二夹具之间的间隙减小,实现所述原料棒夹紧。
8.根据权利要求7所述的一种杆类坯料夹紧拉伸模具,其特征在于:所述第二开合装置与所述第一开合装置结构相同。
9.根据权利要求1或2或4或5或6或8任一所述的一种杆类坯料夹紧拉伸模具,其特征在于:所述动模板外表面连接驱动装置。
10.根据权利要求9所述的一种杆类坯料夹紧拉伸模具,其特征在于:所述动模板的运动行程设置多种规格。
CN201921687408.5U 2019-10-10 2019-10-10 一种杆类坯料夹紧拉伸模具 Expired - Fee Related CN211071427U (zh)

Priority Applications (1)

Application Number Priority Date Filing Date Title
CN201921687408.5U CN211071427U (zh) 2019-10-10 2019-10-10 一种杆类坯料夹紧拉伸模具

Applications Claiming Priority (1)

Application Number Priority Date Filing Date Title
CN201921687408.5U CN211071427U (zh) 2019-10-10 2019-10-10 一种杆类坯料夹紧拉伸模具

Publications (1)

Publication Number Publication Date
CN211071427U true CN211071427U (zh) 2020-07-24

Family

ID=71635585

Family Applications (1)

Application Number Title Priority Date Filing Date
CN201921687408.5U Expired - Fee Related CN211071427U (zh) 2019-10-10 2019-10-10 一种杆类坯料夹紧拉伸模具

Country Status (1)

Country Link
CN (1) CN211071427U (zh)

Cited By (1)

* Cited by examiner, † Cited by third party
Publication number Priority date Publication date Assignee Title
CN110666020A (zh) * 2019-10-10 2020-01-10 湖南精专自动化技术有限公司 一种杆类坯料拉伸锻造机

Cited By (1)

* Cited by examiner, † Cited by third party
Publication number Priority date Publication date Assignee Title
CN110666020A (zh) * 2019-10-10 2020-01-10 湖南精专自动化技术有限公司 一种杆类坯料拉伸锻造机

Similar Documents

Publication Publication Date Title
CN214353788U (zh) 一种可用在精密耐磨注塑件上冲切的模具
CN211071427U (zh) 一种杆类坯料夹紧拉伸模具
CN210816921U (zh) 一种杆类坯料拉伸锻造机
CN210816920U (zh) 一种杆类坯料液压夹紧拉伸锻造机
CN210816922U (zh) 一种杆类坯料楔形模夹紧拉伸锻造机
CN213495790U (zh) 一种汽车钢板材用的辅助自动折弯装置
CN109500246A (zh) 一种数码配件加工用模具
CN202079145U (zh) 数控冲床
CN2595475Y (zh) 型材成型机
CN220261771U (zh) 一种管盖一体成型注塑模具装置
CN208866268U (zh) 一种可互嵌式调整型面单点集成对压模具
CN208146915U (zh) 烧结钕铁硼自动压机的压杆
CN110666020A (zh) 一种杆类坯料拉伸锻造机
CN205110612U (zh) 一种拧管机尾座
CN209903807U (zh) 一种电动型双色注塑模具装置
CN208814880U (zh) 一种带有三瓣式成型模具的制瓶机转盘
CN209021018U (zh) 一种边切模具压料机构
CN208912988U (zh) 一种金属板料加工动力电池箱体的无模渐进成形夹具
CN223222239U (zh) 一种便于调节的折弯装置
CN108262909B (zh) 聚氨酯制品的浇筑成型装置及浇筑成型方法
CN217802995U (zh) 一种全自动叶轮模具
CN205021972U (zh) 一种用于旋转式吹瓶机的伺服电机拉伸机构
CN223405732U (zh) 铝板折弯的角度微调装置
CN220637605U (zh) 一种模具加工用定位装置
CN219704267U (zh) 一种铣床辅助定位模具

Legal Events

Date Code Title Description
GR01 Patent grant
GR01 Patent grant
EE01 Entry into force of recordation of patent licensing contract

Assignee: Hunan keluheng Intelligent Technology Co.,Ltd.

Assignor: HUNAN JINGZHUAN AUTOMATION TECHNOLOGY Co.,Ltd.

Contract record no.: X2023980047648

Denomination of utility model: A clamping and stretching mold for rod billets

Granted publication date: 20200724

License type: Common License

Record date: 20231122

EE01 Entry into force of recordation of patent licensing contract
CF01 Termination of patent right due to non-payment of annual fee

Granted publication date: 20200724

CF01 Termination of patent right due to non-payment of annual fee