CN211069071U - A still with a liftable stirring device - Google Patents
A still with a liftable stirring device Download PDFInfo
- Publication number
- CN211069071U CN211069071U CN201921539756.8U CN201921539756U CN211069071U CN 211069071 U CN211069071 U CN 211069071U CN 201921539756 U CN201921539756 U CN 201921539756U CN 211069071 U CN211069071 U CN 211069071U
- Authority
- CN
- China
- Prior art keywords
- rod
- mounting frame
- still
- rotating drum
- stirring
- Prior art date
- Legal status (The legal status is an assumption and is not a legal conclusion. Google has not performed a legal analysis and makes no representation as to the accuracy of the status listed.)
- Expired - Fee Related
Links
Images
Landscapes
- Vaporization, Distillation, Condensation, Sublimation, And Cold Traps (AREA)
Abstract
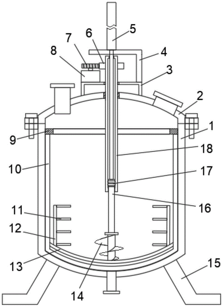
本实用新型公开了一种带可升降搅拌装置的蒸馏釜,包括釜体及连接在其上端的釜盖,所述釜盖上端固定连接有第一安装架,所述釜盖上端竖直贯穿设有与其转动连接的转筒,所述转筒的上端贯穿第一安装架并向上延伸,所述第一安装架上设有与转筒连接的驱动机构,所述第一安装架上端固定连接有第二安装架,所述第二安装架的上端固定安装有电动伸缩杆,所述电动伸缩杆的伸缩端贯穿第二安装架、转筒并延伸至转筒内,所述转筒内滑动连接有滑塞,所述电动伸缩杆的伸缩端转动连接在滑塞上。本实用新型可通过升降调节搅拌件位于釜体内相对位置,以更好地对釜体内不同高度的物料进行搅拌,提高搅拌效果,且并不会扰乱釜体内的环境。
The utility model discloses a distillation still with a liftable stirring device, which comprises a still body and a still cover connected at the upper end thereof. There is a rotating drum rotatably connected with it, the upper end of the rotating drum penetrates the first mounting frame and extends upward, the first mounting frame is provided with a driving mechanism connected with the rotating drum, and the upper end of the first mounting frame is fixedly connected with a A second installation frame, the upper end of the second installation frame is fixedly installed with an electric telescopic rod, the telescopic end of the electric telescopic rod penetrates the second installation frame, the rotating drum and extends into the rotating drum, and the rotating drum is slidably connected There is a sliding plug, and the telescopic end of the electric telescopic rod is rotatably connected to the sliding plug. The utility model can adjust the relative positions of the stirring pieces in the kettle body by lifting and lowering, so as to better stir materials of different heights in the kettle body, improve the stirring effect, and will not disturb the environment in the kettle body.
Description
技术领域technical field
本实用新型涉及蒸馏釜技术领域,尤其涉及一种带可升降搅拌装置的蒸馏釜。The utility model relates to the technical field of distillation stills, in particular to a distillation still with a liftable stirring device.
背景技术Background technique
蒸馏釜主要是为解决现有的蒸馏釜在生产过程中当物料中含有固状物及高沸点物时需间断检修清理的问题而设计的。它包括蒸馏釜壳体,上封头等部件优点是可随时排出固状物及高沸点物,无须间断检修清理,保证生产连续进行。The distillation kettle is mainly designed to solve the problem of intermittent maintenance and cleaning when the material contains solids and high-boiling substances in the production process of the existing distillation kettle. It includes the still body shell, the upper sealing head and other components. The advantage is that the solids and high-boiling substances can be discharged at any time, and there is no need for intermittent maintenance and cleaning to ensure continuous production.
但是,现有的蒸馏釜其搅拌装置仅仅是将普通的搅拌叶固定在搅拌轴上,因而只能搅动釜体内相对固定位置,不能根据实际需要对搅拌装置进行升降,即不能根据物料多少灵活调节搅拌装置相对釜体内高度,搅拌效果较差。However, the stirring device of the existing distillation still only fixes the ordinary stirring blade on the stirring shaft, so it can only stir the relative fixed position in the still body, and cannot lift and lower the stirring device according to actual needs, that is, it cannot be flexibly adjusted according to the amount of materials. The stirring device is relatively high in the kettle body, and the stirring effect is poor.
实用新型内容Utility model content
本实用新型的目的是为了解决现有技术中存在的缺点,而提出的一种带可升降搅拌装置的蒸馏釜。The purpose of the utility model is to solve the shortcomings of the prior art, and propose a distillation still with a liftable stirring device.
为了实现上述目的,本实用新型采用了如下技术方案:In order to achieve the above-mentioned purpose, the utility model adopts the following technical solutions:
一种带可升降搅拌装置的蒸馏釜,包括釜体及连接在其上端的釜盖,所述釜盖上端固定连接有第一安装架,所述釜盖上端竖直贯穿设有与其转动连接的转筒,所述转筒的上端贯穿第一安装架并向上延伸,所述第一安装架上设有与转筒连接的驱动机构,所述第一安装架上端固定连接有第二安装架,所述第二安装架的上端固定安装有电动伸缩杆,所述电动伸缩杆的伸缩端贯穿第二安装架、转筒并延伸至转筒内,所述转筒内滑动连接有滑塞,所述电动伸缩杆的伸缩端转动连接在滑塞上,所述滑塞的下端固定连接有活动杆,所述活动杆的下端贯穿转筒并固定连接有转动杆,所述活动杆上固定套接有翻料旋叶,所述转动杆上设有两个搅拌件,所述釜体底部设有支撑腿。A distillation still with a liftable stirring device, comprising a still body and a still cover connected to its upper end, the upper end of the still cover is fixedly connected with a first mounting frame, and the upper end of the still cover is vertically penetrated with a rotatable connection therewith. a rotating drum, the upper end of the rotating drum penetrates the first installation frame and extends upward, the first installation frame is provided with a driving mechanism connected with the rotating drum, and the upper end of the first installation frame is fixedly connected with a second installation frame, The upper end of the second mounting frame is fixedly installed with an electric telescopic rod, and the telescopic end of the electric telescopic rod penetrates the second mounting frame and the rotating drum and extends into the rotating drum. A sliding plug is slidably connected in the rotating drum, so the The telescopic end of the electric telescopic rod is rotatably connected to the sliding plug, the lower end of the sliding plug is fixedly connected with a movable rod, the lower end of the movable rod penetrates the rotating drum and is fixedly connected with a rotating rod, and the movable rod is fixedly sleeved There are turning blades, the rotating rod is provided with two stirring pieces, and the bottom of the kettle body is provided with supporting legs.
优选地,所述驱动机构包括固定连接在第一安装架上端的电机,所述电机输出轴末端固定连接有驱动轮,所述转筒位于第一安装架上方的侧壁上固定套接有从动轮,且从动轮与驱动轮啮合。Preferably, the driving mechanism includes a motor fixedly connected to the upper end of the first mounting frame, the end of the motor output shaft is fixedly connected with a driving wheel, and the side wall of the drum above the first mounting frame is fixedly sleeved with a drive wheel. The driven wheel is engaged with the driving wheel.
优选地,所述搅拌件包括固定连接在转动杆上的竖搅拌杆,所述竖搅拌杆上等间距设有多个横搅拌杆。Preferably, the stirring member includes a vertical stirring rod fixedly connected to the rotating rod, and a plurality of horizontal stirring rods are arranged on the vertical stirring rod at equal intervals.
优选地,所述釜体内设有刮杆,且刮杆呈U型结构,所述釜体的内部固定连接有与刮杆上端相抵的限位环,所述刮杆相对的两个内侧壁上均设有限位滑槽,所述转动杆的两端分别滑动连接在两个限位滑槽内。Preferably, a scraper rod is provided in the kettle body, and the scraper rod has a U-shaped structure. The inner part of the kettle body is fixedly connected with a limit ring that abuts against the upper end of the scraper rod. Each is provided with a limit chute, and the two ends of the rotating rod are respectively slidably connected in the two limit chute.
优选地,所述转动杆的端部与限位滑槽为相互配合的T型结构。Preferably, the end of the rotating rod and the limit chute are T-shaped structures that cooperate with each other.
优选地,所述横搅拌杆与竖搅拌杆一体成型。Preferably, the horizontal stirring rod and the vertical stirring rod are integrally formed.
本实用新型的有益效果:The beneficial effects of the present utility model:
通过设置电动伸缩杆、滑塞、转筒、活动杆、搅拌件,通过启动电动伸缩杆,即可使得带动滑塞在转筒内移动,即可带动活动杆上下移动,进而调节转动杆的位置,即可调节搅拌件位于釜体内相对位置,以更好地对釜体内不同高度的物料进行搅拌,提高搅拌效果。By arranging the electric telescopic rod, sliding plug, rotating drum, movable rod, and stirring piece, and by starting the electric telescopic rod, the sliding plug can be driven to move in the rotating drum, and the movable rod can be driven to move up and down, and then the position of the rotating rod can be adjusted. , you can adjust the relative position of the stirring member in the kettle body, so as to better stir the materials of different heights in the kettle body and improve the stirring effect.
通过设置滑塞,即可实现有效隔离,进而在实现升降搅拌的同时,并不会扰乱釜体内的环境。By setting the sliding plug, effective isolation can be achieved, so that the environment in the kettle is not disturbed while the lifting and stirring are realized.
附图说明Description of drawings
图1为本实用新型提出的一种带可升降搅拌装置的蒸馏釜的结构示意图;Fig. 1 is the structural representation of a kind of still kettle with liftable stirring device proposed by the utility model;
图2为本实用新型提出的一种带可升降搅拌装置的蒸馏釜的限位滑槽与转动杆端部的结构示意图。2 is a schematic structural diagram of the limit chute and the end of the rotating rod of a distillation kettle with a liftable stirring device proposed by the utility model.
图中:1釜体、2釜盖、3第一安装架、4第二安装架、5电动伸缩杆、6从动轮、7驱动轮、8电机、9限位环、10刮杆、11横搅拌杆、12竖搅拌杆、13转动杆、14翻料旋叶、15支撑腿、16活动杆、17滑塞、18转筒、19限位滑槽。In the picture: 1 kettle body, 2 kettle cover, 3 first installation frame, 4 second installation frame, 5 electric telescopic rod, 6 driven wheel, 7 driving wheel, 8 motor, 9 limit ring, 10 scraper, 11 horizontal Stirring rod, 12 vertical stirring rod, 13 rotating rod, 14 turning blade, 15 supporting leg, 16 movable rod, 17 sliding plug, 18 rotating drum, 19 limit chute.
具体实施方式Detailed ways
下面将结合本实用新型实施例中的附图,对本实用新型实施例中的技术方案进行清楚、完整地描述,显然,所描述的实施例仅仅是本实用新型一部分实施例,而不是全部的实施例。The technical solutions in the embodiments of the present utility model will be clearly and completely described below with reference to the accompanying drawings in the embodiments of the present utility model. Obviously, the described embodiments are only a part of the embodiments of the present utility model, rather than all the implementations. example.
在本实用新型的描述中,需要理解的是,术语“上”、“下”、“前”、“后”、“左”、“右”、“顶”、“底”、“内”、“外”等指示的方位或位置关系为基于附图所示的方位或位置关系,仅是为了便于描述本实用新型和简化描述,而不是指示或暗示所指的装置或元件必须具有特定的方位、以特定的方位构造和操作,因此不能理解为对本实用新型的限制。In the description of the present invention, it should be understood that the terms "upper", "lower", "front", "rear", "left", "right", "top", "bottom", "inside", The orientation or positional relationship indicated by "outside" is based on the orientation or positional relationship shown in the accompanying drawings, which is only for the convenience of describing the present invention and simplifying the description, rather than indicating or implying that the indicated device or element must have a specific orientation , are constructed and operated in a specific orientation, and therefore should not be construed as a limitation of the present invention.
参照图1-2,一种带可升降搅拌装置的蒸馏釜,包括釜体1及连接在其上端的釜盖2,釜盖2上端固定连接有第一安装架3,釜盖2上端竖直贯穿设有与其转动连接的转筒18,转筒18与釜盖2连接处使用密封轴承连接,转筒18的上端贯穿第一安装架3并向上延伸,第一安装架3上设有与转筒18连接的驱动机构,第一安装架3上端固定连接有第二安装架4,第二安装架4的上端固定安装有电动伸缩杆5,电动伸缩杆5的伸缩端贯穿第二安装架4、转筒18并延伸至转筒18内,转筒18内滑动连接有滑塞17,电动伸缩杆5的伸缩端转动连接在滑塞17上,滑塞17的下端固定连接有活动杆16,活动杆16的下端贯穿转筒18并固定连接有转动杆13,活动杆16上固定套接有翻料旋叶14,转动杆13上设有两个搅拌件,釜体1底部设有支撑腿15。Referring to Figure 1-2, a distillation kettle with a liftable stirring device includes a
本实用新型中,驱动机构包括固定连接在第一安装架3上端的电机8,电机8输出轴末端固定连接有驱动轮7,转筒18位于第一安装架3上方的侧壁上固定套接有从动轮6,且从动轮6与驱动轮7啮合。In the present invention, the driving mechanism includes a
具体的,搅拌件包括固定连接在转动杆13上的竖搅拌杆12,竖搅拌杆12上等间距设有多个横搅拌杆11,横搅拌杆11与竖搅拌杆12一体成型。Specifically, the stirring member includes a
具体的,釜体1内设有刮杆10,且刮杆10呈U型结构,釜体1的内部固定连接有与刮杆10上端相抵的限位环9,刮杆10相对的两个内侧壁上均设有限位滑槽19,转动杆13的两端分别滑动连接在两个限位滑槽19内,转动杆13转动时,即可带动刮杆10转动,进而对釜体1内壁进行刮料,避免物料粘黏内壁,进而提高搅拌效果。Specifically, a
具体的,转动杆13的端部与限位滑槽19为相互配合的T型结构,使得转动杆13在上下移动时,通过同样可以带动刮杆10转动。Specifically, the end of the rotating
本实用新型使用时,启动电机8,驱动驱动轮7转动,由于驱动轮7与从动轮6啮合,即可带动活动杆16转动,进而带动转动杆13、搅拌件转动,进行搅拌,启动电动伸缩杆5,即可使得带动滑塞17在转筒18内移动,即可带动活动杆16上下移动,进而调节转动杆13的位置,即可调节搅拌件位于釜体1内相对位置,以更好地对釜体1内不同高度的物料进行搅拌,提高搅拌效果。When the utility model is in use, start the
通过设置滑塞17,即可实现有效隔离,进而在实现升降搅拌的同时,并不会扰乱釜体1内的环境。By arranging the sliding
以上,仅为本实用新型较佳的具体实施方式,但本实用新型的保护范围并不局限于此,任何熟悉本技术领域的技术人员在本实用新型揭露的技术范围内,根据本实用新型的技术方案及其实用新型构思加以等同替换或改变,都应涵盖在本实用新型的保护范围之内。The above are only the preferred specific embodiments of the present invention, but the protection scope of the present invention is not limited thereto. Equivalent replacement or modification of the technical solution and its utility model concept shall be included within the protection scope of the present utility model.
Claims (6)
Priority Applications (1)
| Application Number | Priority Date | Filing Date | Title |
|---|---|---|---|
| CN201921539756.8U CN211069071U (en) | 2019-09-17 | 2019-09-17 | A still with a liftable stirring device |
Applications Claiming Priority (1)
| Application Number | Priority Date | Filing Date | Title |
|---|---|---|---|
| CN201921539756.8U CN211069071U (en) | 2019-09-17 | 2019-09-17 | A still with a liftable stirring device |
Publications (1)
| Publication Number | Publication Date |
|---|---|
| CN211069071U true CN211069071U (en) | 2020-07-24 |
Family
ID=71621595
Family Applications (1)
| Application Number | Title | Priority Date | Filing Date |
|---|---|---|---|
| CN201921539756.8U Expired - Fee Related CN211069071U (en) | 2019-09-17 | 2019-09-17 | A still with a liftable stirring device |
Country Status (1)
| Country | Link |
|---|---|
| CN (1) | CN211069071U (en) |
Cited By (3)
| Publication number | Priority date | Publication date | Assignee | Title |
|---|---|---|---|---|
| CN112169741A (en) * | 2020-11-16 | 2021-01-05 | 杭州重力脚轮科技有限公司 | Polyurethane stirring reaction kettle |
| CN112386933A (en) * | 2021-01-19 | 2021-02-23 | 潍坊惠米农业科技发展有限公司 | Distillation still with buffer function |
| CN119909399A (en) * | 2025-04-03 | 2025-05-02 | 盘锦鑫海源生物科技有限公司 | A distillation kettle for producing vegetable oleic acid |
-
2019
- 2019-09-17 CN CN201921539756.8U patent/CN211069071U/en not_active Expired - Fee Related
Cited By (5)
| Publication number | Priority date | Publication date | Assignee | Title |
|---|---|---|---|---|
| CN112169741A (en) * | 2020-11-16 | 2021-01-05 | 杭州重力脚轮科技有限公司 | Polyurethane stirring reaction kettle |
| CN112169741B (en) * | 2020-11-16 | 2022-03-22 | 杭州重力脚轮科技有限公司 | Polyurethane stirring reaction kettle |
| CN112386933A (en) * | 2021-01-19 | 2021-02-23 | 潍坊惠米农业科技发展有限公司 | Distillation still with buffer function |
| CN119909399A (en) * | 2025-04-03 | 2025-05-02 | 盘锦鑫海源生物科技有限公司 | A distillation kettle for producing vegetable oleic acid |
| CN119909399B (en) * | 2025-04-03 | 2025-06-13 | 盘锦鑫海源生物科技有限公司 | A stills for vegetable oil acid production |
Similar Documents
| Publication | Publication Date | Title |
|---|---|---|
| CN211069071U (en) | A still with a liftable stirring device | |
| CN211771266U (en) | Biogas fermentation tank top dross shell breaking device | |
| CN216825765U (en) | Mixer with dust removal function | |
| CN206701256U (en) | A kind of middle and primary schools' teaching chemical reaction teaching aid | |
| CN210496033U (en) | Rabbling mechanism and industrial chemicals mixing arrangement | |
| CN211384831U (en) | Fixing device of vacuum homogeneous emulsifying machine | |
| CN211286234U (en) | Automatic lifting ceiling | |
| CN211382747U (en) | A kind of medicine frying machine for production of traditional Chinese medicine pieces | |
| CN209549282U (en) | A kind of energy-saving agitating device of water-repellent paint | |
| CN219136750U (en) | Fermentation cylinder is used in microbial agent production | |
| CN216935991U (en) | A kind of reaction kettle for uniform mixing of plasticizer solution | |
| CN208145846U (en) | Mixing apparatus is used in polysaccharide injection production | |
| CN214862860U (en) | A agitating unit for producing silicone adhesive | |
| CN211109120U (en) | Industrial chemicals canning equipment | |
| CN215654930U (en) | Continuous synthesis system of ethyl acetoacetate | |
| CN207042479U (en) | A kind of novel ester kettle | |
| CN210966236U (en) | A kind of washing device for preparing Grignard alcohol | |
| CN221561784U (en) | Environment-friendly size mixing device | |
| CN215027849U (en) | High-efficient syrup agitating unit | |
| CN215462142U (en) | Agitating unit of extraction tank | |
| CN219168208U (en) | Chemical production is with high-efficient mixing arrangement | |
| CN219744626U (en) | Silica gel vacuum mixer | |
| CN215992657U (en) | Toona sinensis sauce stewing device | |
| CN204263356U (en) | A kind of small-sized cement agitating device efficiently | |
| CN206157117U (en) | Household wine making device |
Legal Events
| Date | Code | Title | Description |
|---|---|---|---|
| GR01 | Patent grant | ||
| GR01 | Patent grant | ||
| TR01 | Transfer of patent right | ||
| TR01 | Transfer of patent right |
Effective date of registration: 20230913 Address after: 344000 Zone C, industrial park, Jinxi County, Fuzhou City, Jiangxi Province Patentee after: JIANGXI SPICE CHEMICAL INDUSTRIAL Co.,Ltd. Address before: 344800 Zone C, Jinxi Industrial Park, Fuzhou City, Jiangxi Province Patentee before: Jiangxi Xinyuan flavor Co.,Ltd. |
|
| CF01 | Termination of patent right due to non-payment of annual fee | ||
| CF01 | Termination of patent right due to non-payment of annual fee |
Granted publication date: 20200724 |
