CN211066851U - Medical femoral artery compression tourniquet - Google Patents
Medical femoral artery compression tourniquet Download PDFInfo
- Publication number
- CN211066851U CN211066851U CN201721154989.7U CN201721154989U CN211066851U CN 211066851 U CN211066851 U CN 211066851U CN 201721154989 U CN201721154989 U CN 201721154989U CN 211066851 U CN211066851 U CN 211066851U
- Authority
- CN
- China
- Prior art keywords
- compression
- air inlet
- inflatable balloon
- femoral artery
- air bag
- Prior art date
- Legal status (The legal status is an assumption and is not a legal conclusion. Google has not performed a legal analysis and makes no representation as to the accuracy of the status listed.)
- Expired - Fee Related
Links
- 230000006835 compression Effects 0.000 title claims abstract description 39
- 238000007906 compression Methods 0.000 title claims abstract description 39
- 210000001105 femoral artery Anatomy 0.000 title claims abstract description 18
- 230000002439 hemostatic effect Effects 0.000 claims abstract description 6
- 238000007789 sealing Methods 0.000 claims description 9
- 239000003292 glue Substances 0.000 claims 2
- 230000000149 penetrating effect Effects 0.000 claims 2
- 230000008719 thickening Effects 0.000 claims 1
- 150000003839 salts Chemical class 0.000 abstract description 8
- 238000006073 displacement reaction Methods 0.000 abstract description 5
- 208000035965 Postoperative Complications Diseases 0.000 abstract description 3
- 230000017074 necrotic cell death Effects 0.000 abstract description 3
- 230000037380 skin damage Effects 0.000 abstract description 3
- 230000002708 enhancing effect Effects 0.000 abstract 1
- 210000001624 hip Anatomy 0.000 description 12
- 210000002414 leg Anatomy 0.000 description 10
- 238000000034 method Methods 0.000 description 7
- 239000010410 layer Substances 0.000 description 6
- 210000000689 upper leg Anatomy 0.000 description 6
- 230000023597 hemostasis Effects 0.000 description 4
- 239000002390 adhesive tape Substances 0.000 description 3
- 208000003251 Pruritus Diseases 0.000 description 2
- 239000012790 adhesive layer Substances 0.000 description 2
- 230000017531 blood circulation Effects 0.000 description 2
- 238000010586 diagram Methods 0.000 description 2
- 230000007803 itching Effects 0.000 description 2
- 208000024891 symptom Diseases 0.000 description 2
- 238000002560 therapeutic procedure Methods 0.000 description 2
- 230000002792 vascular Effects 0.000 description 2
- 230000000172 allergic effect Effects 0.000 description 1
- 208000010668 atopic eczema Diseases 0.000 description 1
- 238000001266 bandaging Methods 0.000 description 1
- 230000000740 bleeding effect Effects 0.000 description 1
- 201000010099 disease Diseases 0.000 description 1
- 208000037265 diseases, disorders, signs and symptoms Diseases 0.000 description 1
- 239000003814 drug Substances 0.000 description 1
- 238000002697 interventional radiology Methods 0.000 description 1
- 239000007779 soft material Substances 0.000 description 1
- 230000008961 swelling Effects 0.000 description 1
- 238000004804 winding Methods 0.000 description 1
Images
Landscapes
- Surgical Instruments (AREA)
Abstract
本实用新型公开了一种医用股动脉压迫止血带,包括条形宽带以及分别设置于条形宽带两端相互粘合的宽带魔术粘,在条形宽带的下表面中部设置有软质压迫气囊,压迫气囊的下表面上涂覆有止血敷料层,在压迫气囊上分别连通有进气软管和硬质排气管;进气软管的外端密封连通有充气球囊,在充气球囊与进气软管的连接处设置有第一单向进气阀,在充气球囊的侧壁上开设有带第二单向进气阀的进气口;硬质排气管的外端活动扣合有密封端盖。本实用新型优点在于结构简单,绑固简便,省时省力,无需使用盐袋,减轻压迫止血带的重量,增强稳定性,避免发生移位;同时不会出现绑扎过紧局部皮肤破损或坏死等现象,避免术后并发症的发生。
The utility model discloses a medical femoral artery compression tourniquet. The lower surface of the compression air bag is coated with a hemostatic dressing layer, and an air intake hose and a hard exhaust pipe are respectively connected to the compression air bag; the outer end of the air intake hose is sealed and connected with an inflatable balloon, which is connected to the air bag. A first one-way intake valve is arranged at the connection of the intake hose, and an air inlet with a second one-way intake valve is opened on the side wall of the inflatable balloon; the outer end of the hard exhaust pipe is movable buckle Comes with sealed end caps. The utility model has the advantages of simple structure, simple and convenient binding, saving time and labor, no need to use a salt bag, reducing the weight of the compression tourniquet, enhancing the stability, and avoiding displacement; at the same time, local skin damage or necrosis will not occur if the binding is too tight. phenomenon to avoid postoperative complications.
Description
技术领域technical field
本实用新型涉及医疗器械,尤其是涉及一种方便穿戴的医用股动脉压迫止血带。The utility model relates to medical equipment, in particular to a medical femoral artery compression tourniquet which is convenient to wear.
背景技术Background technique
介入放射学在其应用领域具有广阔的发展空间,被誉为二十一世纪的医学。介入治疗以其微创、有效、低风险等优点已在临床疾病治疗中得到广泛应用。血管穿刺介入技术是介入治疗的主要技术之一,同时由于股动脉内径大、血液循环不容易受损、技术容易掌握、可根据需要置入较大鞘管等优点已成为血管性介入技术中常选的穿刺部位。Interventional radiology has a broad development space in its application field, and is known as the medicine of the 21st century. Interventional therapy has been widely used in clinical disease treatment due to its advantages of minimally invasive, effective and low risk. Vascular puncture intervention technique is one of the main techniques of interventional therapy. At the same time, due to the large inner diameter of the femoral artery, the blood circulation is not easily damaged, the technique is easy to master, and a larger sheath can be inserted as needed, etc., it has become a common choice for vascular interventional techniques. puncture site.
由于股动脉血流量大、流速快,因此经股动脉穿刺介入术后,需进行压迫止血;现有医院中常用的股动脉压迫止血方法,是通过粘布带或纱布将一盐袋绑固于股动脉穿刺点处,进行压迫止血;由于股动脉穿刺点位于病患大腿根处,其穿刺位置较为特殊,因此对穿刺点的压迫及盐袋的绑固常规均用8字形包扎法或交叉包扎法,这两种包扎法操作均非常繁琐、费时费力;并且盐袋较沉,其稳定性差,容易发生移位,导致穿刺部位无压迫或压迫力度不够,致使再次出血;当粘布带或纱布缠绕过紧(为防止盐袋发生位移)时,虽能防止盐袋发生位移,但穿刺部位又容易出现局部皮肤破损或坏死等现象,导致术后并发症;另外还有一部分患者对粘布带的粘胶层过敏,长时间贴皮肤绑扎会导致绑扎部位出现红肿、瘙痒等症状,引起病患的不适。Due to the large blood flow and fast flow rate of the femoral artery, compression hemostasis is required after puncture of the femoral artery. The femoral artery hemostasis method commonly used in hospitals is to tie a salt bag with adhesive tape or gauze. At the puncture point of the femoral artery, hemostasis is performed by compression; since the puncture point of the femoral artery is located at the root of the patient's thigh, the puncture position is special, so the compression of the puncture point and the binding of the salt bag are routinely performed with figure-8 dressing or cross dressing. The operation of these two bandaging methods is very cumbersome, time-consuming and labor-intensive; and the salt bag is heavy, its stability is poor, and it is prone to displacement, resulting in no compression or insufficient compression at the puncture site, resulting in re-bleeding; when the adhesive tape or gauze When the winding is too tight (to prevent the displacement of the salt bag), although the displacement of the salt bag can be prevented, the puncture site is prone to local skin damage or necrosis, resulting in postoperative complications; The adhesive layer is allergic, and sticking to the skin for a long time will cause redness, swelling, itching and other symptoms at the binding site, causing discomfort to the patient.
发明内容SUMMARY OF THE INVENTION
本实用新型目的在于提供一种结构简单,绑固简便的医用股动脉压迫止血带。The purpose of the utility model is to provide a medical femoral artery compression tourniquet with simple structure and convenient binding.
为实现上述目的,本实用新型可采取下述技术方案:To achieve the above object, the utility model can take the following technical solutions:
本实用新型所述的医用股动脉压迫止血带,包括条形宽带以及分别设置于所述条形宽带两端相互粘合的宽带魔术粘,在所述条形宽带的下表面中部设置有软质压迫气囊,所述压迫气囊的下表面上涂覆有止血敷料层,在压迫气囊上分别连通有进气软管和硬质排气管;所述进气软管的外端密封连通有充气球囊,在所述充气球囊与所述进气软管的连接处设置有第一单向进气阀,在充气球囊的侧壁上开设有带第二单向进气阀的进气口;所述硬质排气管的外端活动扣合有密封端盖。The medical femoral artery compression tourniquet according to the present invention comprises a strip-shaped wide band and a wide-band magic tape respectively arranged at both ends of the strip-shaped wide band to be bonded to each other, and a soft material is arranged in the middle of the lower surface of the strip-shaped wide band. A compression air bag, the lower surface of the compression air bag is coated with a hemostatic dressing layer, and an air intake hose and a hard exhaust pipe are respectively connected to the compression air bag; the outer end of the air intake hose is sealed and connected with an inflatable ball The air bag is provided with a first one-way air intake valve at the connection between the inflatable air bag and the air intake hose, and an air inlet with a second one-way air intake valve is opened on the side wall of the inflatable air bag. ; The outer end of the hard exhaust pipe is movably buckled with a sealing end cover.
在所述条形宽带的侧边上固连有两条外端带套环的辅助连接带,其中一所述套环内活动穿设有腰部固定带,另一套环内活动穿设有腿部固定带;所述腰部固定带的两端分别设置有相互粘合的腰部魔术粘,所述腿部固定带的两端分别设置有相互粘合的腿部魔术粘。Two auxiliary connecting belts with loops at the outer ends are fixedly connected to the side edges of the strip-shaped wide band. One of the loops is movably provided with a waist fixing belt, and the other loop is movably provided with legs. The two ends of the waist fixing belt are respectively provided with mutually bonded waist magic sticks, and the two ends of the leg fixing belts are respectively provided with mutually bonded leg magic sticks.
位于所述压迫气囊上方的所述条形宽带上表面贴附有加厚层。A thickened layer is attached to the upper surface of the strip-shaped wide band above the compression air bag.
所述充气球囊为椭圆形结构,所述进气软管与椭圆形的充气球囊一端相连通,所述进气口位于椭圆形的充气球囊另一端处。The inflatable balloon has an oval structure, the air inlet hose is communicated with one end of the oval inflatable balloon, and the air inlet is located at the other end of the oval inflatable balloon.
所述密封端盖通过软质连接臂固连于所述硬质排气管外壁上。The sealing end cap is fixedly connected to the outer wall of the hard exhaust pipe through a soft connecting arm.
本实用新型优点在于结构简单,绑固简便。将条形宽带绑固于大腿根部,软质压迫气囊上涂覆有止血敷料层的下表面对准穿刺点,通过挤压充气球囊使外部空气进入压迫气囊内,压迫气囊膨胀实现对穿刺点的压迫,操作方便,省时省力,且无需使用盐袋,减轻压迫止血带的重量,增强稳定性,避免发生移位;同时能够根据病患的具体情况进行充气或放气,不会出现绑扎过紧局部皮肤破损或坏死等现象,避免术后并发症的发生;另外有效避免了粘布带的粘胶层长时间贴敷于人体皮肤,防止绑扎部位出现红肿、瘙痒等不适症状。The utility model has the advantages of simple structure and convenient binding. The strip-shaped broadband is fastened to the root of the thigh, and the lower surface of the soft compression air bag coated with the hemostatic dressing layer is aligned with the puncture point. It is easy to operate, saves time and effort, and does not need to use a salt bag, reduces the weight of the compression tourniquet, enhances stability, and avoids displacement; at the same time, it can be inflated or deflated according to the specific conditions of the patient, and there will be no binding. Too tight local skin damage or necrosis to avoid postoperative complications; in addition, it effectively avoids the adhesive layer of the adhesive tape being applied to the human skin for a long time, preventing redness, itching and other uncomfortable symptoms at the binding site.
附图说明Description of drawings
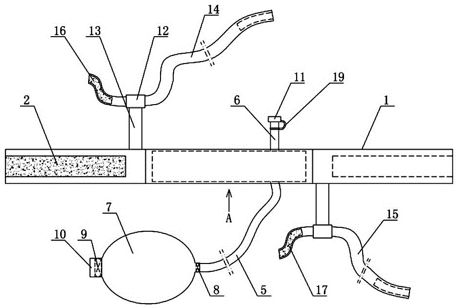
图1是本实用新型的结构示意图。Figure 1 is a schematic structural diagram of the present invention.
图2是图1中条形宽带的A向视图。FIG. 2 is an A-direction view of the strip-shaped broadband of FIG. 1 .
图3是本实用新型的使用状态图。Figure 3 is a state diagram of the utility model in use.
具体实施方式Detailed ways
如图1、2所示,本实用新型所述的医用股动脉压迫止血带,包括条形宽带1,在条形宽带1的两端分别设置有相互粘合的宽带魔术粘2,宽带魔术粘2分设于条形宽带1的上、下两侧,在条形宽带1的下表面中部设置有软质压迫气囊3,压迫气囊3的四边与条形宽带1下表面相固连,使充满气的压迫气囊3呈中部向下凸起状,更好的适配人体大腿根部结构;压迫气囊3的下表面上涂覆有止血敷料层4,止血敷料层4能够代替盐袋,快速、有效的止血;在压迫气囊3上分别连通有进气软管5和硬质排气管6,进气软管5的外端密封连通有椭圆形结构的充气球囊7,方便按压充气;进气软管5与椭圆形的充气球囊7一端相连通,在进气软管5与充气球囊7的连接处设置有向压迫气囊3内进气的第一单向进气阀8,与第一单向进气阀8相对的充气球囊7侧壁上开设有带第二单向进气阀9的进气口10;在硬质排气管6的外端活动扣合有密封端盖11,防止气体流出,同时使用完后也能轻松打开密封端盖11,将气体排出;为防止密封端盖11丢失,在密封端盖11上固连有软质连接臂19,软质连接臂19的外端与硬质排气管6外壁相固连。As shown in Figures 1 and 2, the medical femoral artery compression tourniquet of the present invention includes a strip-shaped wide band 1, and the two ends of the strip-shaped wide band 1 are respectively provided with a wide
为进一步防止条形宽带1滑脱,在条形宽带1的侧边上固连有两条外端带套环12的辅助连接带13,两辅助连接带13分别设置于条形宽带1的上、下侧边上,位于条形宽带1上方的套环12内活动穿设有腰部固定带14,位于条形宽带1下方的套环12内活动穿设有腿部固定带15,使条形宽带1固定于穿刺部大腿上时,腰部固定带14刚好位于病人腰部位置处,而腿部固定带15刚好位于另一条大腿根部位置处;腰部固定带14的两端分别设置有相互粘合的腰部魔术粘16,腿部固定带15的两端分别设置有相互粘合的腿部魔术粘17,腰部魔术粘16分设于腰部固定带14的上、下两侧,腿部魔术粘17分设于腿部固定带15的上、下两侧。另外,为增强条形宽带1的压固力,位于压迫气囊3上方的条形宽带1上表面贴附有加厚层18。In order to further prevent the strip-shaped broadband 1 from slipping off, two auxiliary connecting
使用时(如图3所示),首先将条形宽带1绑固于股动脉穿刺的大腿根部,压迫气囊3与穿刺点对准,穿刺点及周围的皮肤被止血敷料层4覆盖;然后挤压充气球囊7,使外部的空气经进气口10吸入充气球囊7内,再经进气软管5送入压迫气囊3内,将压迫气囊3吹起,顶压穿刺点,完成对股动脉穿刺点的持续压迫止血;使用完成后,打开密封端盖11便能将压迫气囊3内的气体轻松排出。在使用过程中,还可将腰部固定带14和腿部固定带15分别绑固于人体的腰部和腿部,有效防止条形宽带1滑脱。When using (as shown in Figure 3), firstly fasten the strip-shaped broadband 1 to the thigh root of the femoral artery puncture, align the
Claims (4)
Priority Applications (1)
| Application Number | Priority Date | Filing Date | Title |
|---|---|---|---|
| CN201721154989.7U CN211066851U (en) | 2017-09-11 | 2017-09-11 | Medical femoral artery compression tourniquet |
Applications Claiming Priority (1)
| Application Number | Priority Date | Filing Date | Title |
|---|---|---|---|
| CN201721154989.7U CN211066851U (en) | 2017-09-11 | 2017-09-11 | Medical femoral artery compression tourniquet |
Publications (1)
| Publication Number | Publication Date |
|---|---|
| CN211066851U true CN211066851U (en) | 2020-07-24 |
Family
ID=71620561
Family Applications (1)
| Application Number | Title | Priority Date | Filing Date |
|---|---|---|---|
| CN201721154989.7U Expired - Fee Related CN211066851U (en) | 2017-09-11 | 2017-09-11 | Medical femoral artery compression tourniquet |
Country Status (1)
| Country | Link |
|---|---|
| CN (1) | CN211066851U (en) |
-
2017
- 2017-09-11 CN CN201721154989.7U patent/CN211066851U/en not_active Expired - Fee Related
Similar Documents
| Publication | Publication Date | Title |
|---|---|---|
| CN204364064U (en) | Carotid compressing haemostat | |
| CN106725704B (en) | Radial artery compression hemostat | |
| CN206482627U (en) | A kind of nursing in operating room compression tourniquet | |
| CN206239459U (en) | A kind of pressurizing abdominal belt of medical transcutaneous aspiration biopsy of liver lesions | |
| CN206576912U (en) | A kind of radial artery compression hemostat | |
| CN205758816U (en) | Gasbag-type compressing adhesive bandage | |
| CN211066851U (en) | Medical femoral artery compression tourniquet | |
| CN205658948U (en) | Gasbag type radial artery tourniquet | |
| CN202875426U (en) | Air pocket with air bag | |
| CN217219121U (en) | A new type of emergency limb trauma hemostatic device | |
| CN216777357U (en) | An inflatable compression applicator | |
| CN210843824U (en) | A kind of hemostasis and pain relief chest belt | |
| CN215606047U (en) | Thyroid gland postoperative incision hemostasis by compression device | |
| CN206548568U (en) | A kind of point of puncture hemostasis instrument | |
| CN211962128U (en) | Waist inflatable femoral artery compression hemostat | |
| CN204618576U (en) | A kind of medical neck root elastic fore device | |
| CN221180535U (en) | Inflatable hemostatic bandage for hip joint postoperative | |
| CN107854207A (en) | Aid in knee joint cavity drawing liquid airbag apparatus | |
| CN107970054A (en) | A kind of femoral artery puncture point inflates press-down type tourniquet | |
| CN216985030U (en) | Distal end radial artery puncture hemostasis by compression ware | |
| CN212574919U (en) | A radial artery hemostat | |
| CN206007311U (en) | A kind of intelligent arteria femoralis compression hemostat | |
| CN219230009U (en) | Improved pneumatic hemostatic cuff device | |
| CN221750637U (en) | Pressure fixing bandage for inguinal after interventional operation | |
| CN218528827U (en) | Compression device |
Legal Events
| Date | Code | Title | Description |
|---|---|---|---|
| GR01 | Patent grant | ||
| GR01 | Patent grant | ||
| CF01 | Termination of patent right due to non-payment of annual fee |
Granted publication date: 20200724 Termination date: 20210911 |
|
| CF01 | Termination of patent right due to non-payment of annual fee |
