CN211056633U - Novel stacking type elevator - Google Patents
Novel stacking type elevator Download PDFInfo
- Publication number
- CN211056633U CN211056633U CN201921995033.9U CN201921995033U CN211056633U CN 211056633 U CN211056633 U CN 211056633U CN 201921995033 U CN201921995033 U CN 201921995033U CN 211056633 U CN211056633 U CN 211056633U
- Authority
- CN
- China
- Prior art keywords
- support
- sliding rail
- box
- sets
- slide rail
- Prior art date
- Legal status (The legal status is an assumption and is not a legal conclusion. Google has not performed a legal analysis and makes no representation as to the accuracy of the status listed.)
- Active
Links
- 229910000831 Steel Inorganic materials 0.000 claims abstract description 5
- 239000010959 steel Substances 0.000 claims abstract description 5
- 238000000034 method Methods 0.000 description 3
- 238000010586 diagram Methods 0.000 description 2
- 230000009286 beneficial effect Effects 0.000 description 1
- 230000007547 defect Effects 0.000 description 1
- 238000007689 inspection Methods 0.000 description 1
- 238000012986 modification Methods 0.000 description 1
- 230000004048 modification Effects 0.000 description 1
- 239000011435 rock Substances 0.000 description 1
Images
Landscapes
- Types And Forms Of Lifts (AREA)
Abstract
The utility model discloses a novel stacking type elevator, which comprises a horizontal slide rail, the ends of the two sides of the horizontal slide rail are fixedly connected with a limiting block, the top of the horizontal slide rail is slidably connected with a sliding support, one side of the sliding support is provided with a driving device, the outer surface of the top of the sliding support is fixedly provided with a vertical slide rail, the outer wall of one side of the vertical slide rail is fixedly connected with a support, the top of the support is fixedly provided with a rotating motor, the output shaft concentric axis of the rotating motor is provided with a lifting pulley, the outer side of the lifting pulley is wound with a steel cable, the side of the vertical slide rail far away from the support is slidably connected with a platform, in the utility model, by arranging a hydraulic cylinder and other devices, the telescopic rod of the hydraulic cylinder is fixedly connected with the bottom of the box body, the box body, when guaranteeing that the goods can not drop, also easy uninstallation goods is worth wideling popularize.
Description
Technical Field
The utility model relates to a stacker crane technical field especially relates to a novel stack lift.
Background
The stacker crane is a special crane which uses a fork or a string rod as a fetching device to grab, carry and stack or pick and place unit goods from a high-rise goods shelf in a warehouse, a workshop and the like, is storage equipment, is also called a stacker, is the most important hoisting and transporting equipment in a stereoscopic warehouse, is a mark representing the characteristics of the stereoscopic warehouse, and mainly has the function of running back and forth in a channel of the stereoscopic warehouse to store goods at a goods shelf at a road junction of a roadway or take out goods in the goods shelf to convey the goods to the road junction of the roadway. At present, a stacking elevator for hoisting goods, lift platform have the ability of fixed goods basically, because can take place to rock at lift in-process lift platform, if unfixed goods leads to the goods to drop at the lift in-process easily, nevertheless go up and down to the appointed place still need the manual work untie fixed subassembly and take out the goods, this process is more consuming time and consuming power.
SUMMERY OF THE UTILITY MODEL
The utility model aims at solving the defects existing in the prior art and providing a novel stacking type elevator.
In order to achieve the above purpose, the utility model adopts the following technical scheme: a novel stacking type elevator comprises a horizontal sliding rail, wherein the tail ends of two sides of the horizontal sliding rail are fixedly connected with limit blocks, the top of the horizontal sliding rail is slidably connected with a sliding support, one side of the sliding support is provided with a driving device, the outer surface of the top of the sliding support is fixedly provided with a vertical sliding rail, the outer wall of one side of the vertical sliding rail is fixedly connected with a support, the top of the support is fixedly provided with a rotating motor, the concentric axis of the output shaft of the rotating motor is provided with a lifting pulley, the outer side of the lifting pulley is wound with a steel cable, one side of the vertical sliding rail, away from the support, is slidably connected with a platform, the position of one side of the platform, corresponding to the vertical sliding rail, is fixedly connected with a sliding block, the platform is, two sets of the inside swing joint of bracing piece has two sets of removable pins, be provided with fixing device on the removable pin concentric axis, two sets of be provided with the box between the removable pin, terminal and the box bottom fixed connection in telescopic link top of pneumatic cylinder, box top swing joint has the case lid, be provided with the hinge between case lid and the box, the inside fixed mounting of box has the hydro-cylinder, the telescopic link and the case lid top inner wall fixed connection of hydro-cylinder.
As a further description of the above technical solution:
and sliding grooves are formed in the horizontal sliding rail and the vertical sliding rail respectively corresponding to the sliding support and the sliding block.
As a further description of the above technical solution:
the quantity of stopper is two sets of, and two sets of stoppers are symmetrical about the central axis of horizontal slide rail.
As a further description of the above technical solution:
and an output shaft of the rotating motor penetrates through the inside of the vertical sliding rail and is fixedly connected with the lifting pulley.
As a further description of the above technical solution:
and a through hole is formed in the vertical sliding rail at a position corresponding to the rotating motor.
As a further description of the above technical solution:
the number of the oil cylinders is two, and the two groups of oil cylinders are symmetrical about the central axis of the box body.
The utility model discloses following beneficial effect has:
1. the utility model provides a novel stack lift compares with traditional device, through setting up devices such as two sets of hydro-cylinders and case lid, can place the goods in the case, can take out the case goods through the hydro-cylinder jack-up when reacing the appointed place, the device simple structure, convenient and practical.
2. The device compares with traditional device, and its structure and design all have great innovation and improvement, and through setting up devices such as pneumatic cylinder, the telescopic link and the bottom half fixed connection of box of pneumatic cylinder, the box can rotate, cooperatees the goods in with the box through the flexible hydro-cylinder of telescopic link inside with the box and pours out, when guaranteeing that the goods can not drop, also unloads the goods easily, is worth wideling popularize.
Drawings
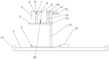
Fig. 1 is a front view structural diagram of a novel stacking elevator provided by the utility model;
FIG. 2 is a schematic view of a connection structure of a support rod and a box body;
fig. 3 is a schematic diagram of the internal structure of the box body.
Illustration of the drawings:
1. a horizontal slide rail; 2. a sliding support; 3. a platform; 4. a box body; 5. a box cover; 6. a fixing device; 7. a movable pin; 8. a support bar; 9. a hinge; 10. a lifting pulley; 11. rotating the motor; 12. a support; 13. a steel cord; 14. a slider; 15. a vertical slide rail; 16. a drive device; 17. a limiting block; 18. An oil cylinder; 19. and a hydraulic cylinder.
Detailed Description
The technical solutions in the embodiments of the present invention will be described clearly and completely with reference to the accompanying drawings in the embodiments of the present invention, and it is obvious that the described embodiments are only some embodiments of the present invention, not all embodiments. Based on the embodiments in the present invention, all other embodiments obtained by a person skilled in the art without creative work belong to the protection scope of the present invention.
In the description of the present invention, it should be noted that the terms "center", "upper", "lower", "left", "right", "vertical", "horizontal", "inner", "outer", and the like indicate orientations or positional relationships based on the orientations or positional relationships shown in the drawings, and are only for convenience of description and simplification of description, but do not indicate or imply that the device or element referred to must have a specific orientation, be constructed and operated in a specific orientation, and thus, should not be construed as limiting the present invention; the terms "first," "second," and "third" are used for descriptive purposes only and are not to be construed as indicating or implying relative importance, and furthermore, unless otherwise explicitly stated or limited, the terms "mounted," "connected," and "connected" are to be construed broadly and may be, for example, fixedly connected, detachably connected, or integrally connected; can be mechanically or electrically connected; they may be connected directly or indirectly through intervening media, or they may be interconnected between two elements. The specific meaning of the above terms in the present invention can be understood in specific cases to those skilled in the art.
Referring to fig. 1-3, the present invention provides an embodiment: a novel stacking type elevator comprises a horizontal sliding rail 1, limiting blocks 17 are fixedly connected at the tail ends of two sides of the horizontal sliding rail 1, a sliding support 2 is slidably connected at the top of the horizontal sliding rail 1, a driving device 16 is arranged at one side of the sliding support 2, a vertical sliding rail 15 is fixedly arranged on the outer surface of the top of the sliding support 2, a support 12 is fixedly connected with the outer wall of one side of the vertical sliding rail 15, a rotating motor 11 is fixedly arranged at the top of the support 12, a lifting pulley 10 is arranged on the concentric axis of an output shaft of the rotating motor 11, a steel cable 13 is wound at the outer side of the lifting pulley 10, a platform 3 is slidably connected at one side of the vertical sliding rail 15 away from the support 12, a slide block 14 is fixedly connected at one side of the platform 3 corresponding to the vertical sliding rail 15, the platform 3 is, two sets of 8 inside swing joint of bracing pieces have two sets of removable pins 7, are provided with fixing device 6 on the 7 concentric axis of removable pin, are provided with box 4 between two sets of removable pins 7, and the telescopic link top end and the 4 bottom of box fixed connection of pneumatic cylinder 19, 4 top swing joint of box have case lid 5, are provided with hinge 9 between case lid 5 and the box 4, and the inside fixed mounting of box 4 has hydro-cylinder 18, and the telescopic link of hydro- cylinder 18 and 5 top inner walls of case lid are fixed connection mutually.
Inside and the vertical slide rail 15 of horizontal slide rail 1 inside respectively with slide support 2 and the corresponding position of slider 14 and all seted up the spout, be convenient for slide support 2 and platform 3 slide, the quantity of stopper 17 is two sets of, two sets of stoppers 17 are symmetrical about the central axis of horizontal slide rail 1, 2 strokes of slide support are injectd, the output shaft of rotating motor 11 runs through in the inside and promotion pulley 10 looks fixed connection of vertical slide rail 15, be convenient for drive promotion pulley 10 and rotate, the through-hole has been seted up with the corresponding position of rotating motor 11 in the inside of vertical slide rail 15, the output shaft of being convenient for rotate motor 11 is connected with promotion pulley 10, the quantity of hydro-cylinder 18 is two sets of, two sets of hydro-cylinder 18 are symmetrical about the central axis of box 4, be convenient.
The working principle is as follows: the utility model provides a novel stack lift has great improvement innovation with traditional device, put into box 4 by the workman with the goods that need place, the inspection starts drive arrangement 16 after being errorless and drives to slide support 2 and slide to the assigned position, start rotating motor 11 and drive lifting pulley 10 and rotate, the shrink that drives cable wire 13 slides platform 3 to the assigned height, aim at conveyer, through control pneumatic cylinder 19 with box 4 toward conveyer lopsidedness, the inside hydro-cylinder 18 of simultaneous control box 4 backs down case lid 5, on conveyer again with the inside goods slope of box 4, it can to reset box 4 and case lid 5 again.
Finally, it should be noted that: although the present invention has been described in detail with reference to the foregoing embodiments, it will be apparent to those skilled in the art that modifications and variations can be made in the embodiments or in part of the technical features of the embodiments without departing from the spirit and the scope of the invention.
Claims (6)
1. The utility model provides a novel stack formula lift, includes horizontal slide rail (1), its characterized in that: the end of each side of the horizontal sliding rail (1) is fixedly connected with a limiting block (17), the top of the horizontal sliding rail (1) is connected with a sliding support (2) in a sliding manner, one side of the sliding support (2) is provided with a driving device (16), the outer surface of the top of the sliding support (2) is fixedly provided with a vertical sliding rail (15), the outer wall of one side of the vertical sliding rail (15) is fixedly connected with a support (12), the top of the support (12) is fixedly provided with a rotating motor (11), an output shaft concentric axis of the rotating motor (11) is provided with a lifting pulley (10), the outer side of the lifting pulley (10) is wound with a steel cable (13), one side of the vertical sliding rail (15) far away from the support (12) is connected with a platform (3) in a sliding manner, one side of the platform (3) is fixedly connected with a sliding block (14), platform (3) top fixed mounting has pneumatic cylinder (19), platform (3) top just is located pneumatic cylinder (19) one side fixed mounting has two sets of bracing pieces (8), and is two sets of bracing piece (8) inside swing joint has two sets of removable pin (7), be provided with fixing device (6), two sets of on removable pin (7) concentric axis be provided with box (4) between removable pin (7), the terminal and box (4) bottom fixed connection in telescopic link top of pneumatic cylinder (19), box (4) top swing joint has case lid (5), be provided with hinge (9) between case lid (5) and box (4), box (4) inside fixed mounting has hydro-cylinder (18), the telescopic link and case lid (5) top inner wall fixed connection of hydro-cylinder (18).
2. The new stacker lift according to claim 1, wherein: and sliding grooves are formed in the horizontal sliding rail (1) and the vertical sliding rail (15) respectively corresponding to the sliding support (2) and the sliding block (14).
3. The new stacker lift according to claim 1, wherein: the quantity of stopper (17) is two sets of, and two sets of stoppers (17) are symmetrical about the central axis of horizontal slide rail (1).
4. The new stacker lift according to claim 1, wherein: an output shaft of the rotating motor (11) penetrates through the inside of the vertical sliding rail (15) and is fixedly connected with the lifting pulley (10).
5. The new stacker lift according to claim 1, wherein: and a through hole is formed in the vertical sliding rail (15) at a position corresponding to the rotating motor (11).
6. The new stacker lift according to claim 1, wherein: the number of the oil cylinders (18) is two, and the two groups of oil cylinders (18) are symmetrical about the central axis of the box body (4).
Priority Applications (1)
| Application Number | Priority Date | Filing Date | Title |
|---|---|---|---|
| CN201921995033.9U CN211056633U (en) | 2019-11-19 | 2019-11-19 | Novel stacking type elevator |
Applications Claiming Priority (1)
| Application Number | Priority Date | Filing Date | Title |
|---|---|---|---|
| CN201921995033.9U CN211056633U (en) | 2019-11-19 | 2019-11-19 | Novel stacking type elevator |
Publications (1)
| Publication Number | Publication Date |
|---|---|
| CN211056633U true CN211056633U (en) | 2020-07-21 |
Family
ID=71589969
Family Applications (1)
| Application Number | Title | Priority Date | Filing Date |
|---|---|---|---|
| CN201921995033.9U Active CN211056633U (en) | 2019-11-19 | 2019-11-19 | Novel stacking type elevator |
Country Status (1)
| Country | Link |
|---|---|
| CN (1) | CN211056633U (en) |
-
2019
- 2019-11-19 CN CN201921995033.9U patent/CN211056633U/en active Active
Similar Documents
| Publication | Publication Date | Title |
|---|---|---|
| CN113060657A (en) | Green construction is with assembled floor hoist and mount positioner | |
| CN112573398A (en) | Hoist device that building engineering used | |
| CN205472491U (en) | Prevent forklift fork that goods dropped | |
| CN211056633U (en) | Novel stacking type elevator | |
| CN210527528U (en) | Vertical lifting container | |
| CN109160265B (en) | Box body taking and placing manipulator for intelligent manufacturing | |
| CN115806233A (en) | A kind of steel bar hoisting device and hoisting method thereof | |
| CN203974642U (en) | Truck-mounted crane automatic loading and unloading fortune brick car | |
| CN209321789U (en) | A kind of stacking machine material receiving horizontal holding device | |
| CN214828499U (en) | Portal crane for building | |
| CN215756208U (en) | Double-bucket balanced type tunnel stacker for storage warehouse | |
| CN221070767U (en) | Auxiliary mechanical arm for lifting liquid nitrogen tank or liquid nitrogen tank lifting barrel | |
| CN215854773U (en) | Engineering machine tool structure hangs commentaries on classics device | |
| CN214989743U (en) | Steel mould hoist and mount transfer device for road construction | |
| CN205500619U (en) | Vapour is repaiied with portable jack -up shallow | |
| CN210619566U (en) | Device capable of automatically lifting and conveying tray | |
| CN207418155U (en) | A kind of architectural engineering draft gear | |
| CN208308363U (en) | Piler | |
| CN210438108U (en) | Limiting and fixing structure for mobile dock leveler | |
| CN210682482U (en) | Stacking device | |
| CN209986465U (en) | A machine of shifting for upset of heavy box | |
| CN217676663U (en) | Single-upright-column stacker and three-dimensional warehouse | |
| CN215402888U (en) | A electronic piling car for storage material piles up | |
| CN208394716U (en) | A kind of piler for Electropolating hangers bracket | |
| CN212924189U (en) | Automatic hoist device of commodity circulation |
Legal Events
| Date | Code | Title | Description |
|---|---|---|---|
| GR01 | Patent grant | ||
| GR01 | Patent grant | ||
| CP03 | Change of name, title or address |
Address after: 251400 No. 1, South Zone, Botong Industrial Park, Huihe street, Jiyang District, Jinan City, Shandong Province Patentee after: Jinding (Shandong) Machinery Group Co.,Ltd. Address before: 251400 south of hydraulic lifting platform Industrial Park, Huihe Town, Jiyang District, Jinan City, Shandong Province Patentee before: Jinan Jinding Machinery Group Co.,Ltd. |
|
| CP03 | Change of name, title or address |