CN211035615U - Rubber sewage treatment system - Google Patents
Rubber sewage treatment system Download PDFInfo
- Publication number
- CN211035615U CN211035615U CN201921928895.XU CN201921928895U CN211035615U CN 211035615 U CN211035615 U CN 211035615U CN 201921928895 U CN201921928895 U CN 201921928895U CN 211035615 U CN211035615 U CN 211035615U
- Authority
- CN
- China
- Prior art keywords
- box body
- box
- fixedly connected
- inner cavity
- sewage treatment
- Prior art date
- Legal status (The legal status is an assumption and is not a legal conclusion. Google has not performed a legal analysis and makes no representation as to the accuracy of the status listed.)
- Expired - Fee Related
Links
- 239000010865 sewage Substances 0.000 title claims abstract description 28
- 239000007788 liquid Substances 0.000 claims abstract description 24
- OKTJSMMVPCPJKN-UHFFFAOYSA-N Carbon Chemical compound [C] OKTJSMMVPCPJKN-UHFFFAOYSA-N 0.000 claims abstract description 20
- 239000000428 dust Substances 0.000 claims abstract description 19
- 239000002245 particle Substances 0.000 claims abstract description 11
- 238000003756 stirring Methods 0.000 claims abstract description 10
- 230000002070 germicidal effect Effects 0.000 claims description 8
- 230000001681 protective effect Effects 0.000 claims description 5
- 238000007789 sealing Methods 0.000 claims description 3
- 239000002351 wastewater Substances 0.000 description 7
- 238000004140 cleaning Methods 0.000 description 4
- 238000005189 flocculation Methods 0.000 description 4
- 230000016615 flocculation Effects 0.000 description 4
- 238000006386 neutralization reaction Methods 0.000 description 4
- 239000012535 impurity Substances 0.000 description 3
- 238000009434 installation Methods 0.000 description 3
- 238000000034 method Methods 0.000 description 3
- IJGRMHOSHXDMSA-UHFFFAOYSA-N Atomic nitrogen Chemical compound N#N IJGRMHOSHXDMSA-UHFFFAOYSA-N 0.000 description 2
- 238000006243 chemical reaction Methods 0.000 description 2
- 238000012986 modification Methods 0.000 description 2
- 230000004048 modification Effects 0.000 description 2
- QGZKDVFQNNGYKY-UHFFFAOYSA-N Ammonia Chemical class N QGZKDVFQNNGYKY-UHFFFAOYSA-N 0.000 description 1
- 230000009286 beneficial effect Effects 0.000 description 1
- 239000003153 chemical reaction reagent Substances 0.000 description 1
- 238000004891 communication Methods 0.000 description 1
- 238000010586 diagram Methods 0.000 description 1
- 238000002474 experimental method Methods 0.000 description 1
- 238000000605 extraction Methods 0.000 description 1
- 238000004519 manufacturing process Methods 0.000 description 1
- 239000012528 membrane Substances 0.000 description 1
- 239000011859 microparticle Substances 0.000 description 1
- 229910052757 nitrogen Inorganic materials 0.000 description 1
- 238000001556 precipitation Methods 0.000 description 1
- 238000010057 rubber processing Methods 0.000 description 1
- 238000010092 rubber production Methods 0.000 description 1
- 239000013049 sediment Substances 0.000 description 1
- 238000001179 sorption measurement Methods 0.000 description 1
Images
Landscapes
- Water Treatment By Sorption (AREA)
Abstract
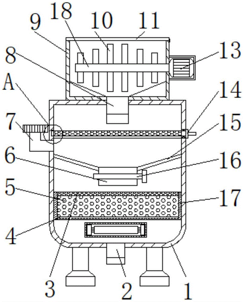
本实用新型公开了橡胶污水处理系统,包括第一箱体,所述第一箱体的顶部固定连接有第二箱体,所述第二箱体顶部的右侧活动连接有箱盖,所述第二箱体的右侧固定连接有电机,所述电机的输出端固定连接有转轴,所述转轴的左侧贯穿至第二箱体的内腔。本实用新型通过设置第一箱体、第二出液阀、微孔滤网、生物膜、活性炭颗粒、排液管、进料管、第一出液阀、第二箱体、搅拌杆、箱盖、防尘滤网、电机、限位座、漏斗、防水电磁阀、框体、转轴、箱门、控制器、支撑板和限位槽的配合使用,解决了现有的橡胶污水处理系统对污水进行处理后通常不便于将其中的滤网等部件拆卸清洗,使得其使用寿命受到影响,给使用者的使用带来了不便的问题。
The utility model discloses a rubber sewage treatment system, comprising a first box body, a second box body is fixedly connected to the top of the first box body, a box cover is movably connected to the right side of the top of the second box body, and the A motor is fixedly connected to the right side of the second box body, an output end of the motor is fixedly connected to a rotating shaft, and the left side of the rotating shaft penetrates into the inner cavity of the second box body. The utility model is provided with a first box body, a second liquid outlet valve, a microporous filter screen, a biofilm, activated carbon particles, a liquid discharge pipe, a feeding pipe, a first liquid outlet valve, a second box body, a stirring rod, a box The use of cover, dust filter, motor, limit seat, funnel, waterproof solenoid valve, frame, shaft, box door, controller, support plate and limit groove solves the problem of existing rubber sewage treatment systems. After the sewage is treated, it is usually inconvenient to disassemble and clean the filter screen and other components therein, which affects its service life and brings inconvenience to users.
Description
技术领域technical field
本实用新型涉及污水处理技术领域,具体为橡胶污水处理系统。The utility model relates to the technical field of sewage treatment, in particular to a rubber sewage treatment system.
背景技术Background technique
胶厂废水是指轮胎厂、轮胎修理厂、橡胶工业制品厂及再生橡胶厂生产过程中排出的废水。Rubber factory wastewater refers to the wastewater discharged from the production process of tire factories, tire repair factories, rubber industrial products factories and recycled rubber factories.
在橡胶生产加工的过程中,常会产生较多的橡胶废水,容易对环境造成污染,因此需要使用到橡胶污水处理系统对其进行处理,现有的橡胶污水处理系统对污水进行处理后通常不便于将其中的滤网等部件拆卸清洗,使得其使用寿命受到影响,给使用者的使用带来了不便。In the process of rubber production and processing, a lot of rubber waste water is often generated, which is easy to pollute the environment. Therefore, it is necessary to use a rubber sewage treatment system to treat it. The existing rubber sewage treatment system is usually inconvenient to treat the sewage. Dismantling and cleaning the filter screen and other components therein will affect the service life of the filter and bring inconvenience to the user.
实用新型内容Utility model content
本实用新型的目的在于提供橡胶污水处理系统,具备便于对滤网等部件进行拆卸清洗的优点,解决了现有的橡胶污水处理系统对污水进行处理后通常不便于将其中的滤网等部件拆卸清洗,使得其使用寿命受到影响,给使用者的使用带来了不便的问题。The purpose of the utility model is to provide a rubber sewage treatment system, which has the advantage of being convenient for disassembling and cleaning components such as filters, and solves the problem that the existing rubber sewage treatment systems are usually inconvenient to disassemble the filters and other components after treating the sewage. Cleaning will affect its service life and bring inconvenience to users.
为实现上述目的,本实用新型提供如下技术方案:橡胶污水处理系统,包括第一箱体,所述第一箱体的顶部固定连接有第二箱体,所述第二箱体顶部的右侧活动连接有箱盖,所述第二箱体的右侧固定连接有电机,所述电机的输出端固定连接有转轴,所述转轴的左侧贯穿至第二箱体的内腔,所述转轴表面的顶部和表面的底部均固定连接有搅拌杆,所述第二箱体的底部连通有第一出液阀,所述第一出液阀的底部贯穿至第一箱体的内腔,所述第一箱体内腔的左侧开设有限位槽,所述第一箱体的左侧连通有进料管,所述第一箱体的内腔设置有支撑板,所述支撑板的左侧延伸至限位槽的内腔并与限位槽的内腔活动连接,所述支撑板的右侧贯穿至第一箱体的外侧并固定连接有限位座,所述支撑板的顶部贯穿安装有防尘滤网,所述第一箱体的内腔固定连接有漏斗,所述漏斗的底部连通有排液管,所述排液管的表面固定安装有防尘电磁阀,所述第一箱体的内腔且位于漏斗的底部固定连接有框体,所述框体的顶部贯穿安装有微孔滤网,所述框体的底部贯穿安装有生物膜,所述框体的内腔填充有活性炭颗粒,所述第一箱体底部的中心处连通有第二出液阀,所述第一箱体正表面的左侧活动连接有箱门,所述第一箱体正表面顶部的右侧固定连接有控制器。In order to achieve the above purpose, the present invention provides the following technical solutions: a rubber sewage treatment system, including a first box body, a second box body is fixedly connected to the top of the first box body, and the right side of the top of the second box body is A box cover is movably connected, a motor is fixedly connected to the right side of the second box body, a rotating shaft is fixedly connected to the output end of the motor, and the left side of the rotating shaft penetrates into the inner cavity of the second box body, and the rotating shaft The top of the surface and the bottom of the surface are fixedly connected with a stirring rod, the bottom of the second box body is connected with a first liquid outlet valve, and the bottom of the first liquid outlet valve penetrates to the inner cavity of the first box body, so The left side of the inner cavity of the first box is provided with a limiting groove, the left side of the first box is connected with a feeding pipe, the inner cavity of the first box is provided with a support plate, and the left side of the support plate is It extends to the inner cavity of the limit slot and is movably connected with the inner cavity of the limit slot, the right side of the support plate penetrates to the outside of the first box body and is fixedly connected to the limit seat, and the top of the support plate is penetrated and installed with A dust filter screen, a funnel is fixedly connected to the inner cavity of the first box, a drain pipe is connected to the bottom of the funnel, and a dust-proof solenoid valve is fixedly installed on the surface of the drain pipe. The inner cavity of the body and the bottom of the funnel are fixedly connected with a frame body, a microporous filter screen is installed through the top of the frame body, a biofilm is installed through the bottom of the frame body, and the inner cavity of the frame body is filled with Activated carbon particles, a second liquid outlet valve is connected to the center of the bottom of the first box body, a box door is movably connected to the left side of the front surface of the first box body, and a right side of the top surface of the first box body is connected A controller is fixedly connected.
优选的,所述第一箱体的左侧与箱门的左侧通过第一铰链活动连接,所述箱门正表面的右侧固定连接有第一把手。Preferably, the left side of the first box body is movably connected to the left side of the box door through a first hinge, and the right side of the front surface of the box door is fixedly connected with a first handle.
优选的,所述箱盖的右侧与第二箱体顶部的连接处通过第二铰链活动连接,所述限位座的右侧固定连接有第二把手。Preferably, the connection between the right side of the box cover and the top of the second box body is movably connected through a second hinge, and the right side of the limiting seat is fixedly connected with a second handle.
优选的,所述第二箱体的右侧且位于电机的外侧固定连接有保护罩,所述转轴的表面与第二箱体内壁的连接处做密封处理。Preferably, a protective cover is fixedly connected to the right side of the second box body and is located outside the motor, and the connection between the surface of the rotating shaft and the inner wall of the second box body is sealed.
优选的,所述第一箱体底部的四角均固定连接有支撑腿,支撑腿的底部固定连接有支撑座,支撑座的底部开设有防滑纹。Preferably, the four corners of the bottom of the first box are fixedly connected with support legs, the bottoms of the support legs are fixedly connected with a support seat, and the bottom of the support seat is provided with anti-skid lines.
优选的,所述第一箱体内腔后侧的底部固定连接有紫外线杀菌灯,所述第一箱体内腔的后侧且位于紫外线杀菌灯的外侧固定连接有密封罩。Preferably, an ultraviolet germicidal lamp is fixedly connected to the bottom of the rear side of the inner cavity of the first box, and a sealing cover is fixedly connected to the rear side of the inner cavity of the first box and located outside the ultraviolet germicidal lamp.
优选的,所述第一箱体的内腔且位于支撑板的底部固定连接有导杆,所述支撑板的表面与第一箱体内壁的连接处做密封处理。Preferably, a guide rod is fixedly connected to the inner cavity of the first box and located at the bottom of the support plate, and the connection between the surface of the support plate and the inner wall of the first box is sealed.
优选的,所述进料管表面的顶部活动套设有防尘盖,所述进料管表面的顶部和防尘盖内壁的连接处螺纹连接,所述箱门正表面的顶部和第二箱体正表面的顶部均贯穿安装有观察镜。Preferably, the top movable sleeve on the surface of the feeding pipe is provided with a dust cover, the top of the surface of the feeding pipe and the connection of the inner wall of the dust cover are threadedly connected, and the top of the front surface of the box door is connected to the second box. An observation mirror is installed through the top of the front surface of the body.
与现有技术相比,本实用新型的有益效果如下:Compared with the prior art, the beneficial effects of the present utility model are as follows:
1、本实用新型通过设置第一箱体、第二出液阀、微孔滤网、生物膜、活性炭颗粒、排液管、进料管、第一出液阀、第二箱体、搅拌杆、箱盖、防尘滤网、电机、限位座、漏斗、防水电磁阀、框体、转轴、箱门、控制器、支撑板和限位槽的配合使用,解决了现有的橡胶污水处理系统对污水进行处理后通常不便于将其中的滤网等部件拆卸清洗,使得其使用寿命受到影响,给使用者的使用带来了不便的问题。1. The utility model is equipped with a first box body, a second liquid outlet valve, a microporous filter screen, a biofilm, activated carbon particles, a liquid discharge pipe, a feeding pipe, a first liquid outlet valve, a second box body, and a stirring rod. , box cover, dust filter, motor, limit seat, funnel, waterproof solenoid valve, frame, rotating shaft, box door, controller, support plate and limit groove are used together to solve the existing rubber sewage treatment. After the sewage is treated by the system, it is usually inconvenient to disassemble and clean the filter screen and other components, which affects its service life and brings inconvenience to users.
2、本实用新型通过设置支撑腿,能够对第一箱体进行平衡支撑,通过设置支撑座,能够将增大支持腿与地面之间的摩擦力,通过设置防滑纹,能够增大支撑座与地面之间的摩擦力,通过设置防尘盖,能够避免外界灰尘等杂志进入第一箱体的内腔,通过设置观察镜,能够便于使用者对酸碱中和反应以及絮凝反应的进程进行观察,通过设置保护罩,能够对电机进行保护,通过设置密封罩,能够对紫外线杀菌灯进行保护,通过设置限位槽,能够便于支撑板的安装和使用,通过设置导杆,能够便于支撑板的抽出和安装。2. The utility model can balance the support of the first box by setting the support legs, by setting the support base, it can increase the friction force between the support legs and the ground, and by setting the anti-skid pattern, it can increase the relationship between the support base and the ground. The friction between the ground, by setting the dust cover, can prevent the external dust and other magazines from entering the inner cavity of the first box, and by setting the observation mirror, it is convenient for the user to observe the process of the acid-base neutralization reaction and the flocculation reaction. , The motor can be protected by setting the protective cover, the ultraviolet germicidal lamp can be protected by setting the sealing cover, the installation and use of the support plate can be facilitated by setting the limit groove, and the installation and use of the support plate can be facilitated by setting the guide rod. Extract and install.
附图说明Description of drawings
图1为本实用新型结构示意图;Fig. 1 is the structural representation of the utility model;
图2为本实用新型局部结构的主视示意图;Fig. 2 is the front view schematic diagram of the partial structure of the present utility model;
图3为本实用新型图1中A的放大图。FIG. 3 is an enlarged view of A in FIG. 1 of the present utility model.
图中:1第一箱体、2第二出液阀、3微孔滤网、4生物膜、5活性炭颗粒、6排液管、7进料管、8第一出液阀、9第二箱体、10搅拌杆、11箱盖、12防尘滤网、13电机、14限位座、15漏斗、16防水电磁阀、17框体、18转轴、19箱门、20控制器、21支撑板、22限位槽。In the picture: 1 first box, 2 second outlet valve, 3 microporous filter, 4 biofilm, 5 activated carbon particles, 6 drain pipe, 7 feed pipe, 8 first outlet valve, 9 second Box, 10 stirring rod, 11 box cover, 12 dust filter, 13 motor, 14 limit seat, 15 funnel, 16 waterproof solenoid valve, 17 box, 18 shaft, 19 box door, 20 controller, 21 support plate, 22 limit slots.
具体实施方式Detailed ways
下面将结合本实用新型实施例中的附图,对本实用新型实施例中的技术方案进行清楚、完整地描述,显然,所描述的实施例仅仅是本实用新型一部分实施例,而不是全部的实施例。基于本实用新型中的实施例,本领域普通技术人员在没有做出创造性劳动前提下所获得的所有其他实施例,都属于本实用新型保护的范围。The technical solutions in the embodiments of the present utility model will be clearly and completely described below with reference to the accompanying drawings in the embodiments of the present utility model. Obviously, the described embodiments are only a part of the embodiments of the present utility model, rather than all the implementations. example. Based on the embodiments of the present invention, all other embodiments obtained by those of ordinary skill in the art without creative work fall within the protection scope of the present invention.
在实用新型的描述中,需要说明的是,术语“上”、“下”、“内”、“外”“前端”、“后端”、“两端”、“一端”、“另一端”等指示的方位或位置关系为基于附图所示的方位或位置关系,仅是为了便于描述本实用新型和简化描述,而不是指示或暗示所指的装置或元件必须具有特定的方位、以特定的方位构造和操作,因此不能理解为对本实用新型的限制。此外,术语“第一”、“第二”仅用于描述目的,而不能理解为指示或暗示相对重要性。In the description of the utility model, it should be noted that the terms "upper", "lower", "inner", "outer", "front end", "rear end", "two ends", "one end" and "the other end" The orientation or positional relationship indicated by etc. is based on the orientation or positional relationship shown in the accompanying drawings, which is only for the convenience of describing the present invention and simplifying the description, rather than indicating or implying that the referred device or element must have a specific orientation, with a specific orientation. Therefore, it should not be construed as a limitation on the present invention. Furthermore, the terms "first" and "second" are used for descriptive purposes only and should not be construed to indicate or imply relative importance.
在实用新型的描述中,需要说明的是,除非另有明确的规定和限定,术语“安装”、“设置有”、“连接”等,应做广义理解,例如“连接”,可以是固定连接,也可以是可拆卸连接,或一体地连接;可以是机械连接,也可以是电连接;可以是直接相连,也可以通过中间媒介间接相连,可以是两个元件内部的连通。对于本领域的普通技术人员而言,可以具体情况理解上述术语在本实用新型中的具体含义。In the description of the utility model, it should be noted that, unless otherwise expressly specified and limited, the terms "installed", "provided with", "connected", etc., should be understood in a broad sense, for example, "connected" may be a fixed connection It can also be a detachable connection or an integral connection; it can be a mechanical connection or an electrical connection; it can be a direct connection, or an indirect connection through an intermediate medium, or the internal communication between the two components. For those of ordinary skill in the art, the specific meanings of the above terms in the present invention can be understood in specific situations.
本实用新型中的第一箱体1、第二出液阀2、微孔滤网3、生物膜4、活性炭颗粒5、排液管6、进料管7、第一出液阀8、第二箱体9、搅拌杆10、箱盖11、防尘滤网12、电机13、限位座14、漏斗15、防水电磁阀16、框体17、转轴18、箱门19、控制器20、支撑板21和限位槽22等部件均为通用标准件或本领域技术人员知晓的部件,其结构和原理都为本领域技术人员均可通过技术手册得知或通过常规实验方法获知。In the utility model, the
请参阅图1-3,橡胶污水处理系统,包括第一箱体1,第一箱体1底部的四角均固定连接有支撑腿,通过设置支撑腿,能够对第一箱体1进行平衡支撑,支撑腿的底部固定连接有支撑座,通过设置支撑座,能够将增大支持腿与地面之间的摩擦力,支撑座的底部开设有防滑纹,通过设置防滑纹,能够增大支撑座与地面之间的摩擦力,第一箱体1内腔后侧的底部固定连接有紫外线杀菌灯,第一箱体1内腔的后侧且位于紫外线杀菌灯的外侧固定连接有密封罩,通过设置密封罩,能够对紫外线杀菌灯进行保护,第一箱体1的顶部固定连接有第二箱体9,第二箱体9顶部的右侧活动连接有箱盖11,箱盖11的右侧与第二箱体9顶部的连接处通过第二铰链活动连接,限位座14的右侧固定连接有第二把手,第二箱体9的右侧固定连接有电机13,第二箱体9的右侧且位于电机13的外侧固定连接有保护罩,通过设置保护罩,能够对电机13进行保护,电机13的输出端固定连接有转轴18,转轴18的左侧贯穿至第二箱体9的内腔,转轴18的表面与第二箱体9内壁的连接处做密封处理,转轴18表面的顶部和表面的底部均固定连接有搅拌杆10,第二箱体9的底部连通有第一出液阀8,第一出液阀8的底部贯穿至第一箱体1的内腔,第一箱体1内腔的左侧开设有限位槽22,通过设置限位槽22,能够便于支撑板21的安装和使用,第一箱体1的左侧连通有进料管7,进料管7表面的顶部活动套设有防尘盖,进料管7表面的顶部和防尘盖内壁的连接处螺纹连接,通过设置防尘盖,能够避免外界灰尘等杂志进入第一箱体1的内腔,第一箱体1的内腔设置有支撑板21,第一箱体1的内腔且位于支撑板21的底部固定连接有导杆,通过设置导杆,能够便于支撑板21的抽出和安装,支撑板21的表面与第一箱体1内壁的连接处做密封处理,支撑板21的左侧延伸至限位槽22的内腔并与限位槽22的内腔活动连接,支撑板21的右侧贯穿至第一箱体1的外侧并固定连接有限位座14,支撑板21的顶部贯穿安装有防尘滤网12,第一箱体1的内腔固定连接有漏斗15,漏斗15的底部连通有排液管6,排液管6的表面固定安装有防尘电磁阀16,第一箱体1的内腔且位于漏斗15的底部固定连接有框体17,框体17的顶部贯穿安装有微孔滤网3,框体17的底部贯穿安装有生物膜4,框体17的内腔填充有活性炭颗粒5,第一箱体1底部的中心处连通有第二出液阀2,第一箱体1正表面的左侧活动连接有箱门19,第一箱体1的左侧与箱门19的左侧通过第一铰链活动连接,箱门19正表面的右侧固定连接有第一把手,第一箱体1正表面顶部的右侧固定连接有控制器20,箱门19正表面的顶部和第二箱体9正表面的顶部均贯穿安装有观察镜,通过设置观察镜,能够便于使用者对酸碱中和反应以及絮凝反应的进程进行观察。Please refer to Figure 1-3. The rubber sewage treatment system includes a
使用时,使用者打开箱盖11将橡胶污水注入第二箱体9的内腔,然后根据测得的PH值来向第二箱体9的内腔注入适量的酸碱中和试剂,然后闭合箱盖11,通过控制器20启动电机13,电机13的输出端通过转轴18带动搅拌杆10对第二箱体9内腔的废水进行搅拌,以加快酸碱中和反应速率,然后通过控制器20启动第一出液阀8,将中和后废水排至第一箱体1的内腔,然后经第一箱体1过滤去除其中的大颗粒杂质,然后旋开防尘盖,将絮凝剂注入第一箱体1的内腔,然后通过观察镜观察第一箱体1内腔的絮凝状况,等絮凝结束后,通过控制器20打开防尘电磁阀16,絮凝后的沉淀以及废水经排液管6导流至框体17的顶部,沉淀被微孔滤网3拦在微孔滤网3的顶部,废水进入框体17的内腔,然后经活性炭吸附去除其中的微型颗粒杂质,最后经生物膜去除其中含量浓度较高的氮氨化合物,然后经紫外线杀菌灯杀菌消毒后,经第二出液阀2排出,当需要对滤网等部件进行拆卸清洗时,使用者通过第二把手带动限位座14将支撑板21从第一箱体1的内腔抽出进行清洗,然后通过第一把手打开箱门,对微孔滤网3、活性炭颗粒5以及生物膜4进行清洗更换。When in use, the user opens the
综上所述:该橡胶污水处理系统,通过设置第一箱体1、第二出液阀2、微孔滤网3、生物膜4、活性炭颗粒5、排液管6、进料管7、第一出液阀8、第二箱体9、搅拌杆10、箱盖11、防尘滤网12、电机13、限位座14、漏斗15、防水电磁阀16、框体17、转轴18、箱门19、控制器20、支撑板21和限位槽22的配合使用,解决了现有的橡胶污水处理系统对污水进行处理后通常不便于将其中的滤网等部件拆卸清洗,使得其使用寿命受到影响,给使用者的使用带来了不便的问题。To sum up: the rubber sewage treatment system, by setting the
尽管已经示出和描述了本实用新型的实施例,对于本领域的普通技术人员而言,可以理解在不脱离本实用新型的原理和精神的情况下可以对这些实施例进行多种变化、修改、替换和变型,本实用新型的范围由所附权利要求及其等同物限定。Although the embodiments of the present invention have been shown and described, it will be understood by those skilled in the art that various changes and modifications can be made to these embodiments without departing from the principles and spirit of the present invention , alternatives and modifications, the scope of the present invention is defined by the appended claims and their equivalents.
Claims (8)
Priority Applications (1)
| Application Number | Priority Date | Filing Date | Title |
|---|---|---|---|
| CN201921928895.XU CN211035615U (en) | 2019-11-11 | 2019-11-11 | Rubber sewage treatment system |
Applications Claiming Priority (1)
| Application Number | Priority Date | Filing Date | Title |
|---|---|---|---|
| CN201921928895.XU CN211035615U (en) | 2019-11-11 | 2019-11-11 | Rubber sewage treatment system |
Publications (1)
| Publication Number | Publication Date |
|---|---|
| CN211035615U true CN211035615U (en) | 2020-07-17 |
Family
ID=71538909
Family Applications (1)
| Application Number | Title | Priority Date | Filing Date |
|---|---|---|---|
| CN201921928895.XU Expired - Fee Related CN211035615U (en) | 2019-11-11 | 2019-11-11 | Rubber sewage treatment system |
Country Status (1)
| Country | Link |
|---|---|
| CN (1) | CN211035615U (en) |
-
2019
- 2019-11-11 CN CN201921928895.XU patent/CN211035615U/en not_active Expired - Fee Related
Similar Documents
| Publication | Publication Date | Title |
|---|---|---|
| CN208038179U (en) | Energy-saving sewage-treatment plant | |
| CN210945181U (en) | Toxic industrial wastewater treatment equipment | |
| CN211035615U (en) | Rubber sewage treatment system | |
| CN211497319U (en) | Multistage purification device of chemical sewage | |
| CN212770222U (en) | Domestic sewage treatment device | |
| CN212404288U (en) | Impurity treatment device for metal rust removal | |
| CN211570344U (en) | An efficient treatment device for drinking water | |
| CN205528144U (en) | Medical treatment type waste water treatment equipment | |
| CN209974390U (en) | Sewage flocculation sedimentation mechanism | |
| CN210215102U (en) | Water treatment facilities convenient to it is clean | |
| CN209052485U (en) | A kind of integrated sewage treating apparatus | |
| CN213202642U (en) | Machining sewage treatment plant | |
| CN214088153U (en) | Sewage treatment equipment for municipal environmental protection engineering | |
| CN205360753U (en) | Sewage treatment device's granule filtering device | |
| CN212016880U (en) | Sewage purification filters uses device convenient to clearance | |
| CN206289100U (en) | A kind of sewage disposal system | |
| CN211339093U (en) | Waste water environmental protection processing apparatus | |
| CN211078705U (en) | A circulating sewage treatment equipment | |
| CN209668978U (en) | A kind of municipal wastewater processing unit | |
| CN207451856U (en) | A kind of packaged type waste water treatment box | |
| CN208500626U (en) | A kind of wastewater from chemical industry purification recovery device | |
| CN208200703U (en) | A kind of bio-pharmaceuticals factory sewage-treatment plant | |
| CN207276347U (en) | A kind of novel sewage treatment unit | |
| CN209113604U (en) | A kind of integrated sewage disposal device | |
| CN205857363U (en) | A kind of household sewage processes reuse means |
Legal Events
| Date | Code | Title | Description |
|---|---|---|---|
| GR01 | Patent grant | ||
| GR01 | Patent grant | ||
| CF01 | Termination of patent right due to non-payment of annual fee | ||
| CF01 | Termination of patent right due to non-payment of annual fee |
Granted publication date: 20200717 |
