CN211032241U - Emergency electric energy storage and power supply device - Google Patents
Emergency electric energy storage and power supply device Download PDFInfo
- Publication number
- CN211032241U CN211032241U CN202021089271.6U CN202021089271U CN211032241U CN 211032241 U CN211032241 U CN 211032241U CN 202021089271 U CN202021089271 U CN 202021089271U CN 211032241 U CN211032241 U CN 211032241U
- Authority
- CN
- China
- Prior art keywords
- arm
- seat
- power supply
- energy storage
- fixed
- Prior art date
- Legal status (The legal status is an assumption and is not a legal conclusion. Google has not performed a legal analysis and makes no representation as to the accuracy of the status listed.)
- Expired - Fee Related
Links
- 238000004146 energy storage Methods 0.000 title claims abstract description 23
- 230000035939 shock Effects 0.000 claims abstract description 7
- 238000003825 pressing Methods 0.000 claims abstract description 3
- 238000004804 winding Methods 0.000 claims description 16
- 229910000831 Steel Inorganic materials 0.000 claims description 10
- 239000010959 steel Substances 0.000 claims description 10
- 238000013016 damping Methods 0.000 claims description 8
- 230000005540 biological transmission Effects 0.000 claims description 3
- 230000000694 effects Effects 0.000 abstract description 5
- 238000000034 method Methods 0.000 description 6
- 238000010586 diagram Methods 0.000 description 3
- 238000003860 storage Methods 0.000 description 2
- 230000009286 beneficial effect Effects 0.000 description 1
- 230000000903 blocking effect Effects 0.000 description 1
- 238000005516 engineering process Methods 0.000 description 1
- 238000004519 manufacturing process Methods 0.000 description 1
Images
Classifications
-
- Y—GENERAL TAGGING OF NEW TECHNOLOGICAL DEVELOPMENTS; GENERAL TAGGING OF CROSS-SECTIONAL TECHNOLOGIES SPANNING OVER SEVERAL SECTIONS OF THE IPC; TECHNICAL SUBJECTS COVERED BY FORMER USPC CROSS-REFERENCE ART COLLECTIONS [XRACs] AND DIGESTS
- Y02—TECHNOLOGIES OR APPLICATIONS FOR MITIGATION OR ADAPTATION AGAINST CLIMATE CHANGE
- Y02T—CLIMATE CHANGE MITIGATION TECHNOLOGIES RELATED TO TRANSPORTATION
- Y02T10/00—Road transport of goods or passengers
- Y02T10/60—Other road transportation technologies with climate change mitigation effect
- Y02T10/70—Energy storage systems for electromobility, e.g. batteries
-
- Y—GENERAL TAGGING OF NEW TECHNOLOGICAL DEVELOPMENTS; GENERAL TAGGING OF CROSS-SECTIONAL TECHNOLOGIES SPANNING OVER SEVERAL SECTIONS OF THE IPC; TECHNICAL SUBJECTS COVERED BY FORMER USPC CROSS-REFERENCE ART COLLECTIONS [XRACs] AND DIGESTS
- Y02—TECHNOLOGIES OR APPLICATIONS FOR MITIGATION OR ADAPTATION AGAINST CLIMATE CHANGE
- Y02T—CLIMATE CHANGE MITIGATION TECHNOLOGIES RELATED TO TRANSPORTATION
- Y02T10/00—Road transport of goods or passengers
- Y02T10/60—Other road transportation technologies with climate change mitigation effect
- Y02T10/7072—Electromobility specific charging systems or methods for batteries, ultracapacitors, supercapacitors or double-layer capacitors
Landscapes
- Load-Engaging Elements For Cranes (AREA)
Abstract
The utility model discloses an emergent electric energy storage and power supply unit, including removing seat and power body, it is L shapes to remove the seat, remove the top of seat and install clamping mechanism, clamping mechanism is used for pressing from both sides tight power body, the side of removing the seat is installed hoist mechanism, install on the hoist mechanism and snatch the mechanism, it is used for snatching the power main part to snatch the mechanism, remove the bottom of seat and install shock attenuation moving mechanism the utility model discloses have good shock attenuation effect, it is very convenient to install and remove of power body, and what simultaneously can be convenient removes the appointed position with power body, need not artifical transport, efficient and convenient operation.
Description
Technical Field
The utility model relates to an emergency power source technical field especially relates to an emergent electric energy storage and power supply unit.
Background
The pure electric vehicle adopts a single storage battery as an energy storage power source, and the storage battery is used as the energy storage power source, and the battery provides electric energy for the motor to drive the motor to run, so that the vehicle is pushed to run. Along with the development of science and technology, electric automobile also begins to put into production gradually to drive the use, and electric automobile great drawback is just that duration is not enough, and need longer time to charge, when the car appears electric power exhaustion on highway, need emergency power supply to carry out electric power supply to it, current emergency power supply is bulky, inconvenient staff moves it to high-speed highway car side from the rescue car, and when the highway condition of blocking up, the rescue car can't be close to, we propose an emergent electric energy storage and power supply unit to such problem.
SUMMERY OF THE UTILITY MODEL
The utility model aims at solving the shortcoming that exists among the prior art, and the emergent electric energy storage and power supply unit who proposes.
In order to achieve the above purpose, the utility model adopts the following technical scheme:
the utility model provides an emergent electric energy storage and power supply unit, is including removing seat and power body, it is L shapes to remove the seat, clamping mechanism is installed at the top of removing the seat, clamping mechanism is used for pressing from both sides tight power body, the hoist mechanism is installed to the side of removing the seat, install on the hoist mechanism and snatch the mechanism, it is used for snatching the power main part to snatch the mechanism, the shock attenuation moving mechanism is installed to the bottom of removing the seat.
Preferably, clamping mechanism is including placing the case, place the case and fix at the top that removes the seat, the inside of placing the case is fixed with the fixing base, power body has been placed on the fixing base, place the side of case and install first pneumatic cylinder, the piston rod of first pneumatic cylinder runs through and places the case and is connected with arm clamping component, arm clamping component centre gripping is at power body's side.
Preferably, the clamping arm assembly comprises a sleeve, the sleeve is fixed to a piston rod of the first hydraulic cylinder, a slidable first clamping block is connected to the interior of the sleeve through a first spring, the first clamping block is clamped on the side edge of the power supply body, sliding blocks are fixed to two sides of the first clamping block, and the sliding blocks are slidably mounted on the inner wall of the sleeve.
Preferably, hoist mechanism includes second pneumatic cylinder, first armed lever, second pneumatic cylinder, first armed lever all articulate the side at the removal seat, the piston rod of second pneumatic cylinder articulates the side at first armed lever, the inside slip of first armed lever has cup jointed the second armed lever, the side of second armed lever is fixed with the rack, first motor is installed to the side of first armed lever, fixed cover has connect the gear on the output shaft of first motor.
Preferably, a through hole is formed in the side edge of the first arm rod, the gear is located in the through hole, and the gear is in meshing transmission with the rack.
Preferably, the grabbing mechanism comprises a winch and a guide wheel, the winch and the guide wheel are both installed on the second arm rod, a winding drum is installed on an output shaft of the winch, a mounting seat is connected to the winding drum through a steel wire rope, the guide wheel is wound around the steel wire rope, a second motor is installed on the side edge of the mounting seat, an output shaft of the second motor is inserted into the mounting seat and connected with a lead screw, and two second clamping blocks are sleeved on the lead screw through threads in opposite rotating directions.
Preferably, the damping moving mechanism comprises a fixed column, the fixed column is fixed at the bottom of the moving seat, the mounting plate is sleeved on the fixed column in a sliding mode, the second springs are sleeved on the upper side and the lower side of the fixed column, the upper side and the lower side of the mounting plate are located, nuts are sleeved on the fixed column through threads, and the idler wheels are installed at the bottom of the mounting plate.
Compared with the prior art, the beneficial effects of the utility model are that:
1. in the utility model, the second spring can be used for damping in the walking process, so that the damage of vibration to the power supply body in the moving process is reduced;
2. in the utility model, the power body is placed at the top of the fixed seat, then the first hydraulic cylinder clamps the power body through the first clamping block, the arranged first spring realizes flexible clamping, reduces clamping damage to the power body and has protection function;
3. in the utility model, the winding drum is driven by the winding engine to rotate, the winding drum can drive the mounting seat to lift or descend through the steel wire rope, the lead screw is driven to rotate through the second motor, and the lead screw drives the two second clamping blocks to clamp the power supply body; the first motor drives the gear to rotate, the second arm rod can be driven to move through the meshing between the gear and the rack, and the first arm rod can be driven to swing through the second hydraulic cylinder, so that the power supply body can be conveniently moved to a specified position without manual carrying, and the operation is quick and convenient;
4. the utility model discloses have good shock attenuation effect, it is very convenient to installing and removing of power body, simultaneously can be convenient remove appointed position with power body, need not artifical transport, efficient and convenient operation.
Drawings
Fig. 1 is a schematic structural view of an emergency electric energy storage and power supply device according to the present invention;
fig. 2 is a schematic structural diagram of a clamping mechanism of an emergency electrical energy storage and power supply device according to the present invention;
fig. 3 is a schematic structural view of a clamping arm assembly of the emergency electric energy storage and power supply device according to the present invention;
fig. 4 is a schematic structural diagram of a lifting mechanism of an emergency electrical energy storage and power supply device according to the present invention;
fig. 5 is a schematic structural diagram of a grabbing mechanism of the emergency electric energy storage and power supply device according to the present invention;
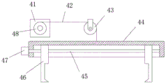
fig. 6 is the utility model provides an emergent electric energy storage and power supply unit's shock attenuation moving mechanism's schematic structure.
In the figure: the device comprises a moving seat 1, a clamping mechanism 2, a placing box 21, a fixed seat 22, a clamping arm assembly 23, a sleeve 231, a first spring 232, a sliding block 233, a first clamping block 234, a first hydraulic cylinder 24, a power supply body 25, a lifting mechanism 3, a second hydraulic cylinder 31, a first arm 32, a second arm 33, a first motor 34, a gear 35, a rack 36, a grabbing mechanism 4, a winch 41, a steel wire rope 42, a guide wheel 43, a mounting seat 44, a lead screw 45, a second clamping block 46, a second motor 47, a winding drum 48, a damping moving mechanism 5, a mounting plate 51, a fixing column 52, a second spring 53, a nut 54 and a roller 55.
Detailed Description
The technical solutions in the embodiments of the present invention will be described clearly and completely with reference to the accompanying drawings in the embodiments of the present invention, and it is obvious that the described embodiments are only some embodiments of the present invention, not all embodiments.
Referring to fig. 1-6, an emergency electric energy storage and power supply device comprises a movable seat 1 and a power body 25, wherein the movable seat 1 is L-shaped, a clamping mechanism 2 is installed at the top of the movable seat 1, a lifting mechanism 3 is installed on the side edge of the movable seat 1, a grabbing mechanism 4 is installed on the lifting mechanism 3, and a damping moving mechanism 5 is installed at the bottom of the movable seat 1;
the clamping mechanism 2 comprises a placing box 21, the placing box 21 is fixed at the top of the moving seat 1, a fixed seat 22 is fixed inside the placing box 21, a power supply body 25 is placed on the fixed seat 22, a first hydraulic cylinder 24 is installed on the side of the placing box 21, a piston rod of the first hydraulic cylinder 24 penetrates through the placing box 21 and is connected with a clamping arm assembly 23, the clamping arm assembly 23 is clamped at the side of the power supply body 25, the clamping arm assembly 23 comprises a sleeve 231, the sleeve 231 is fixed with the piston rod of the first hydraulic cylinder 24, the inside of the sleeve 231 is connected with a slidable first clamping block 234 through a first spring 232, the first clamping block 234 is clamped at the side of the power supply body 25, two sides of the first clamping block 234 are both fixed with sliders 233, and the sliders are slidably installed on the inner wall; the power supply body 25 is placed at the top of the fixed seat 22, then the first hydraulic cylinder 24 clamps the power supply body 25 through the first clamping block 234, and the arranged first spring 232 realizes flexible clamping, so that clamping damage to the power supply body 25 is reduced, and a protection effect is achieved;
the lifting mechanism 3 comprises a second hydraulic cylinder 31 and a first arm lever 32, the second hydraulic cylinder 31 and the first arm lever 32 are hinged to the side edge of the movable seat 1, a piston rod of the second hydraulic cylinder 31 is hinged to the side edge of the first arm lever 32, a second arm lever 33 is sleeved in the first arm lever 32 in a sliding mode, a rack 36 is fixed to the side edge of the second arm lever 33, a first motor 34 is installed on the side edge of the first arm lever 32, a gear 35 is fixedly sleeved on an output shaft of the first motor 34, a through hole is formed in the side edge of the first arm lever 32, the gear 35 is located in the through hole, and the gear 35 is in meshing transmission with the rack 36; the first motor 34 drives the gear 35 to rotate, the second arm 33 can be driven to move through the meshing between the gear 35 and the rack 36, and the first arm 32 can be driven to swing through the second hydraulic cylinder 31, so that the power supply body 25 can be conveniently moved to a specified position without manual carrying, and the operation is quick and convenient;
the grabbing mechanism 4 comprises a winch 41 and a guide wheel 43, the winch 41 and the guide wheel 43 are both mounted on the second arm rod 33, a winding drum 48 is mounted on an output shaft of the winch 41, the winding drum 48 is connected with a mounting seat 44 through a steel wire rope 42, the steel wire rope 42 bypasses the guide wheel 43, a second motor 47 is mounted on the side edge of the mounting seat 44, an output shaft of the second motor 47 is inserted into the mounting seat 44 and connected with a screw rod 45, and two second clamping blocks 46 are sleeved on the screw rod 45 through threads with opposite rotating directions; the winding drum 41 drives the winding drum 48 to rotate, the winding drum 48 can drive the mounting seat 44 to lift or descend through the steel wire rope 42, the lead screw 45 is driven to rotate through the second motor 47, and the lead screw 45 drives the two second clamping blocks 46 to clamp the power supply body 25;
the damping moving mechanism 5 comprises a fixed column 52, the fixed column 52 is fixed at the bottom of the moving seat 1, a mounting plate 51 is sleeved on the fixed column 52 in a sliding mode, second springs 53 are sleeved on the fixed column 52 and positioned on the upper side and the lower side of the mounting plate 51, nuts 54 are sleeved on the fixed column 52 through threads, and a roller 55 is mounted at the bottom of the mounting plate 51; the second spring 53 can be used for damping in the walking process, so that the damage of vibration to the power supply body 25 in the moving process is reduced.
The working principle is as follows: in the utility model, the second spring 53 can be used for damping in the walking process, so that the damage of vibration to the power supply body 25 in the moving process is reduced; the power supply body 25 is placed at the top of the fixed seat 22, then the first hydraulic cylinder 24 clamps the power supply body 25 through the first clamping block 234, and the arranged first spring 232 realizes flexible clamping, so that clamping damage to the power supply body 25 is reduced, and a protection effect is achieved; the winding drum 41 drives the winding drum 48 to rotate, the winding drum 48 can drive the mounting seat 44 to lift or descend through the steel wire rope 42, the lead screw 45 is driven to rotate through the second motor 47, and the lead screw 45 drives the two second clamping blocks 46 to clamp the power supply body 25; the first motor 34 drives the gear 35 to rotate, the second arm 33 can be driven to move through the meshing between the gear 35 and the rack 36, and the first arm 32 can be driven to swing through the second hydraulic cylinder 31, so that the power supply body 25 can be conveniently moved to a specified position without manual carrying, and the operation is quick and convenient;
the utility model discloses have good shock attenuation effect, it is very convenient to installing and removing of power body 25, simultaneously can be convenient remove appointed position with power body 25, need not artifical transport, efficient and convenient operation.
The above, only be the concrete implementation of the preferred embodiment of the present invention, but the protection scope of the present invention is not limited thereto, and any person skilled in the art is in the technical scope of the present invention, according to the technical solution of the present invention and the utility model, the concept of which is equivalent to replace or change, should be covered within the protection scope of the present invention.
Claims (7)
1. The utility model provides an emergent electric energy storage and power supply unit, is including removing seat (1) and power body (25), its characterized in that, it is L shape to remove seat (1), clamping mechanism (2) are installed at the top of removing seat (1), clamping mechanism (2) are used for pressing from both sides tight power body (25), hoist mechanism (3) are installed to the side of removing seat (1), install on hoist mechanism (3) and snatch mechanism (4), snatch mechanism (4) and be used for snatching power body (25), shock attenuation moving mechanism (5) are installed to the bottom of removing seat (1).
2. The emergency electric energy storage and supply device according to claim 1, wherein the clamping mechanism (2) comprises a placing box (21), the placing box (21) is fixed on the top of the movable base (1), a fixed base (22) is fixed inside the placing box (21), a power supply body (25) is placed on the fixed base (22), a first hydraulic cylinder (24) is installed on one side of the placing box (21), a piston rod of the first hydraulic cylinder (24) penetrates through the placing box (21) and is connected with a clamping arm assembly (23), and the clamping arm assembly (23) is clamped on one side of the power supply body (25).
3. The emergency electrical energy storage and supply device according to claim 2, wherein the clamping arm assembly (23) comprises a sleeve (231), the sleeve (231) is fixed to the piston rod of the first hydraulic cylinder (24), a first slidable clamping block (234) is connected to the inside of the sleeve (231) through a first spring (232), the first clamping block (234) is clamped to the side of the power supply body (25), sliding blocks (233) are fixed to both sides of the first clamping block (234), and the sliding blocks (233) are slidably mounted on the inner wall of the sleeve (231).
4. The emergency electric energy storage and supply device according to claim 1, wherein the lifting mechanism (3) comprises a second hydraulic cylinder (31) and a first arm (32), the second hydraulic cylinder (31) and the first arm (32) are both hinged to the side of the movable base (1), a piston rod of the second hydraulic cylinder (31) is hinged to the side of the first arm (32), a second arm (33) is slidably sleeved inside the first arm (32), a rack (36) is fixed to the side of the second arm (33), a first motor (34) is installed to the side of the first arm (32), and a gear (35) is fixedly sleeved on an output shaft of the first motor (34).
5. The emergency electrical energy storage and supply device according to claim 4, wherein the first arm (32) has a through hole at a side thereof, the gear (35) is located in the through hole, and the gear (35) is in meshing transmission with the rack (36).
6. The emergency electric energy storage and supply device according to claim 4, wherein the grabbing mechanism (4) comprises a winch (41) and a guide wheel (43), the winch (41) and the guide wheel (43) are both mounted on the second arm lever (33), a winding drum (48) is mounted on an output shaft of the winch (41), the winding drum (48) is connected with a mounting seat (44) through a steel wire rope (42), the steel wire rope (42) bypasses the guide wheel (43), a second motor (47) is mounted on a side edge of the mounting seat (44), an output shaft of the second motor (47) is inserted into the mounting seat (44) and connected with a lead screw (45), and two second clamping blocks (46) are sleeved on the lead screw (45) through threads with opposite rotation directions.
7. The emergency electric energy storage and power supply device according to claim 1, wherein the damping moving mechanism (5) comprises a fixed column (52), the fixed column (52) is fixed at the bottom of the moving seat (1), a mounting plate (51) is slidably sleeved on the fixed column (52), second springs (53) are sleeved on the fixed column (52) and positioned on the upper side and the lower side of the mounting plate (51), nuts (54) are sleeved on the fixed column (52) through threads, and rollers (55) are mounted at the bottom of the mounting plate (51).
Priority Applications (1)
| Application Number | Priority Date | Filing Date | Title |
|---|---|---|---|
| CN202021089271.6U CN211032241U (en) | 2020-06-15 | 2020-06-15 | Emergency electric energy storage and power supply device |
Applications Claiming Priority (1)
| Application Number | Priority Date | Filing Date | Title |
|---|---|---|---|
| CN202021089271.6U CN211032241U (en) | 2020-06-15 | 2020-06-15 | Emergency electric energy storage and power supply device |
Publications (1)
| Publication Number | Publication Date |
|---|---|
| CN211032241U true CN211032241U (en) | 2020-07-17 |
Family
ID=71565445
Family Applications (1)
| Application Number | Title | Priority Date | Filing Date |
|---|---|---|---|
| CN202021089271.6U Expired - Fee Related CN211032241U (en) | 2020-06-15 | 2020-06-15 | Emergency electric energy storage and power supply device |
Country Status (1)
| Country | Link |
|---|---|
| CN (1) | CN211032241U (en) |
Cited By (1)
| Publication number | Priority date | Publication date | Assignee | Title |
|---|---|---|---|---|
| CN116891123A (en) * | 2023-09-11 | 2023-10-17 | 山西建投建筑产业有限公司 | Semi-automatic conveying equipment for conveying plates |
-
2020
- 2020-06-15 CN CN202021089271.6U patent/CN211032241U/en not_active Expired - Fee Related
Cited By (2)
| Publication number | Priority date | Publication date | Assignee | Title |
|---|---|---|---|---|
| CN116891123A (en) * | 2023-09-11 | 2023-10-17 | 山西建投建筑产业有限公司 | Semi-automatic conveying equipment for conveying plates |
| CN116891123B (en) * | 2023-09-11 | 2023-11-28 | 山西建投建筑产业有限公司 | Semi-automatic conveying equipment for conveying plates |
Similar Documents
| Publication | Publication Date | Title |
|---|---|---|
| CN106364464B (en) | Battery replacing device | |
| CN211032241U (en) | Emergency electric energy storage and power supply device | |
| CN112338946B (en) | Friction roller type grabbing device and method | |
| CN111807249A (en) | New energy automobile maintains and uses check out test set platform | |
| CN112757959B (en) | Battery replacement mechanical arm and battery replacement method | |
| CN221367393U (en) | A launching device for underwater robot | |
| CN221397061U (en) | Automobile winch capable of automatically cleaning steel rope | |
| CN209127920U (en) | A kind of scrap iron factory plain type lifting appliance | |
| CN211338604U (en) | Hoisting accessory of power equipment maintenance usefulness | |
| CN215626384U (en) | General dish heart upset hoist of aviation parts machining | |
| CN207700794U (en) | Clamp arm, clamp assemblies and the carrier using the clamp assemblies | |
| CN216636218U (en) | Mobile power station | |
| CN213356714U (en) | Bridge crane's detection device that skids | |
| CN212893565U (en) | A lifting device for automobile mold processing | |
| CN210555449U (en) | Electric drive retractable device for towing winch | |
| CN213037372U (en) | Electric motor car wheel hub hangs gets conveyer | |
| CN214397165U (en) | High-efficient salvage equipment of underwater vehicle | |
| CN208327217U (en) | A kind of more power drive cucurbits | |
| CN222389534U (en) | Maintenance device for road lighting engineering | |
| CN218783163U (en) | Carrying mechanism with bottom support for battery pack | |
| CN223253014U (en) | New energy battery base handling device | |
| CN210768019U (en) | Embrace formula of clamp intelligence car carrier | |
| CN221176513U (en) | Assembly rack for battery box of new energy automobile | |
| CN223280178U (en) | A grabbing device for a wheel hub depalletizing and stacking robot | |
| CN221397022U (en) | Hoisting device for road rescue car |
Legal Events
| Date | Code | Title | Description |
|---|---|---|---|
| GR01 | Patent grant | ||
| GR01 | Patent grant | ||
| CF01 | Termination of patent right due to non-payment of annual fee |
Granted publication date: 20200717 Termination date: 20210615 |
|
| CF01 | Termination of patent right due to non-payment of annual fee |