CN211016436U - A highway billboard - Google Patents
A highway billboard Download PDFInfo
- Publication number
- CN211016436U CN211016436U CN201922066154.1U CN201922066154U CN211016436U CN 211016436 U CN211016436 U CN 211016436U CN 201922066154 U CN201922066154 U CN 201922066154U CN 211016436 U CN211016436 U CN 211016436U
- Authority
- CN
- China
- Prior art keywords
- fixedly connected
- advertising
- battery box
- rod
- motor
- Prior art date
- Legal status (The legal status is an assumption and is not a legal conclusion. Google has not performed a legal analysis and makes no representation as to the accuracy of the status listed.)
- Expired - Fee Related
Links
- 230000001681 protective effect Effects 0.000 claims description 22
- 239000000463 material Substances 0.000 claims description 5
- 229920003023 plastic Polymers 0.000 claims description 3
- 238000004146 energy storage Methods 0.000 claims 1
- 230000000149 penetrating effect Effects 0.000 claims 1
- 239000004744 fabric Substances 0.000 abstract description 23
- 238000000034 method Methods 0.000 description 3
- 230000005611 electricity Effects 0.000 description 2
- 238000012986 modification Methods 0.000 description 2
- 230000004048 modification Effects 0.000 description 2
- 230000009286 beneficial effect Effects 0.000 description 1
- 238000004891 communication Methods 0.000 description 1
- 238000010586 diagram Methods 0.000 description 1
- 238000002474 experimental method Methods 0.000 description 1
- 238000010248 power generation Methods 0.000 description 1
Images
Landscapes
- Illuminated Signs And Luminous Advertising (AREA)
Abstract
本实用新型公开了一种高速公路广告牌,包括底座,所述底座顶部的左右两侧和前后两侧均贯穿设置有第一螺栓,所述底座顶部的中心处固定连接有立柱,所述立柱表面底部的左右两侧和前后两侧均固定连接有固定杆,所述固定杆远离立柱的一端通过转轴活动连接有支腿,所述支腿远离固定杆的一端通过转轴活动连接有支撑板,所述立柱内腔的底部固定连接有电机,所述电机的输出轴固定连接有螺纹杆。本实用具备便于使用的优点,解决了现有的高速公路广告牌不便于使用,工作人员需要在高空进行更换广告布,安全性低,对广告布的防护性差,下雨时容易腐蚀广告布,不能够利用太阳能发电,广告牌的稳定性差的问题。
The utility model discloses an expressway billboard, which comprises a base, first bolts are arranged through the left and right sides and the front and rear sides of the top of the base, and a column is fixedly connected at the center of the top of the base. The left and right sides and the front and rear sides of the bottom of the surface are fixedly connected with fixed rods, one end of the fixed rod away from the column is movably connected with a support leg through a rotating shaft, and one end of the support leg away from the fixed rod is movably connected with a support plate through the rotating shaft, A motor is fixedly connected to the bottom of the inner cavity of the column, and a threaded rod is fixedly connected to the output shaft of the motor. The utility model has the advantages of being easy to use, and solves the problem that the existing highway billboards are inconvenient to use, and the staff needs to replace the advertising cloth at high altitude, which has low safety, poor protection to the advertising cloth, and is easy to corrode the advertising cloth when it rains. Solar power cannot be used, and the stability of the billboard is poor.
Description
技术领域technical field
本实用新型涉及高速公路广告牌技术领域,具体为一种高速公路广告牌。The utility model relates to the technical field of highway billboards, in particular to a highway billboard.
背景技术Background technique
高速公路高炮广告媒体是户外广告形式的一种表现形式,也称作擎天柱广告媒体,也有称作单立柱高炮媒体,普遍称作高炮,主要分布在公路以及机场,包括高速公路、城市公路、交通枢纽处等主要路地段。Highway anti-aircraft artillery advertising media is a form of outdoor advertising, also known as Optimus Prime advertising media, also known as single-column anti-aircraft artillery media, commonly known as anti-aircraft artillery, mainly distributed on highways and airports, including highways , urban highways, transportation hubs and other main road areas.
现有的高速公路广告牌不便于使用,工作人员需要在高空进行更换广告布,安全性低,对广告布的防护性差,下雨时容易腐蚀广告布,不能够利用太阳能发电,广告牌的稳定性差。The existing highway billboards are inconvenient to use, and the staff needs to replace the billboards at high altitude, which is low in safety and has poor protection for the billboards. Bad sex.
实用新型内容Utility model content
本实用新型的目的在于提供一种高速公路广告牌,具备便于使用的优点,解决了现有的高速公路广告牌不便于使用,工作人员需要在高空进行更换广告布,安全性低,对广告布的防护性差,下雨时容易腐蚀广告布,不能够利用太阳能发电,广告牌的稳定性差的问题。The purpose of the utility model is to provide a highway billboard, which has the advantages of being easy to use, and solves the problem that the existing highway billboard is inconvenient to use, and the staff needs to replace the advertising cloth at high altitude, and the safety is low. The protection is poor, the advertising cloth is easy to corrode when it rains, cannot use solar energy to generate electricity, and the stability of the billboard is poor.
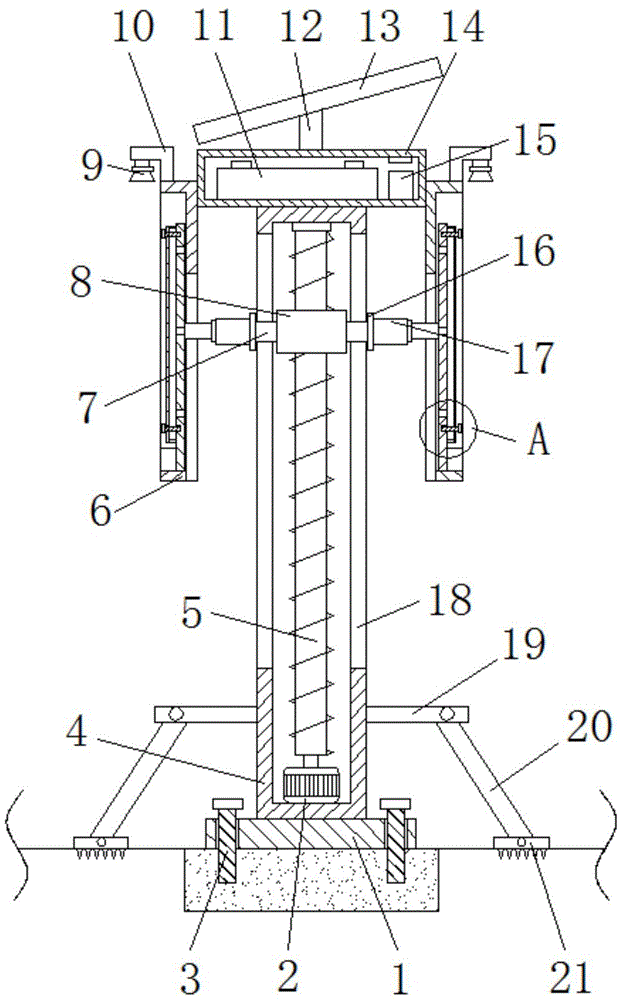
为实现上述目的,本实用新型提供如下技术方案:一种高速公路广告牌,包括底座,所述底座顶部的左右两侧和前后两侧均贯穿设置有第一螺栓,所述底座顶部的中心处固定连接有立柱,所述立柱表面底部的左右两侧和前后两侧均固定连接有固定杆,所述固定杆远离立柱的一端通过转轴活动连接有支腿,所述支腿远离固定杆的一端通过转轴活动连接有支撑板,所述立柱内腔的底部固定连接有电机,所述电机的输出轴固定连接有螺纹杆,所述螺纹杆表面的顶部螺纹套设有螺纹套,所述螺纹套的两侧均固定连接有滑杆,所述立柱的两侧均开设有滑槽,所述滑杆的表面与滑槽的内壁活动连接,所述滑杆相反的一侧延伸至立柱的两侧并固定连接有连接板,所述连接板相反一侧的前后两侧均固定连接有电动伸缩杆,所述立柱的顶部固定连接有蓄电池箱,所述蓄电池箱两侧的底部均固定连接有固定座,所述固定座相对的一侧均开设有滑动腔,所述电动伸缩杆相反的一侧贯穿滑动腔并固定连接有广告板,所述固定座内壁的底部固定连接有限位板,所述广告板位于固定座与限位板相对的一侧,所述广告板相反的一侧设置有保护壳,所述保护壳相反一侧的顶部和底部均贯穿至设置有第二螺栓,所述第二螺栓相对的一侧贯穿至广告板相反的一侧,所述固定座的顶部固定连接有固定架,所述固定架的底部固定安装有照明灯,所述蓄电池箱内腔底部的左侧固定连接有蓄电池,所述蓄电池箱内腔底部的右侧固定连接有逆变器,所述蓄电池箱的顶部固定连接有支撑杆,所述支撑杆的顶部固定连接有太阳能板。In order to achieve the above purpose, the present utility model provides the following technical solutions: a highway billboard, comprising a base, the left and right sides and the front and rear sides of the top of the base are provided with first bolts, and the center of the top of the base is provided with first bolts. A column is fixedly connected, and a fixing rod is fixedly connected to the left and right sides and the front and rear sides of the bottom of the surface of the column. The end of the fixing rod away from the column is movably connected with a leg through a rotating shaft, and the end of the leg is away from the fixing rod. A support plate is movably connected through the rotating shaft, a motor is fixedly connected to the bottom of the inner cavity of the column, a threaded rod is fixedly connected to the output shaft of the motor, and a threaded sleeve is provided on the top of the surface of the threaded rod. Both sides are fixedly connected with sliding rods, and both sides of the column are provided with sliding grooves, the surface of the sliding rod is movably connected with the inner wall of the sliding groove, and the opposite side of the sliding rod extends to both sides of the column And a connecting plate is fixedly connected, the front and rear sides of the opposite side of the connecting plate are fixedly connected with electric telescopic rods, the top of the column is fixedly connected with a battery box, and the bottoms of both sides of the battery box are fixedly connected with a fixed battery box. The opposite side of the fixed seat is provided with a sliding cavity, the opposite side of the electric telescopic rod penetrates the sliding cavity and is fixedly connected with an advertising board, and the bottom of the inner wall of the fixed seat is fixedly connected with a limit plate, the The advertising board is located on the opposite side of the fixing base and the limiting plate, a protective shell is provided on the opposite side of the advertising board, and the top and bottom of the opposite side of the protective shell are penetrated to the second bolts, the first The opposite side of the two bolts penetrates to the opposite side of the advertising board, the top of the fixing base is fixedly connected with a fixing frame, the bottom of the fixing frame is fixedly installed with a lighting lamp, and the left side of the bottom of the inner cavity of the battery box is fixed A battery is connected, an inverter is fixedly connected to the bottom of the inner cavity of the battery box, a support rod is fixedly connected to the top of the battery box, and a solar panel is fixedly connected to the top of the support rod.
优选的,所述撑板的底部固定连接有固定齿,且固定齿的底部贯穿至地面内,所述广告板位于保护壳的内腔,所述保护壳的材料为透明塑料材料。Preferably, the bottom of the support plate is fixedly connected with fixing teeth, and the bottom of the fixing teeth penetrates into the ground, the advertising board is located in the inner cavity of the protective shell, and the material of the protective shell is a transparent plastic material.
优选的,所述第一螺栓的底部贯穿至地基内,所述照明灯的数量为四个且位于广告板的顶部。Preferably, the bottom of the first bolt penetrates into the foundation, and the number of the lighting lamps is four and is located on the top of the advertising board.
优选的,所述广告板相反一侧表面的顶部、中端和底部均开设有固定孔,且固定孔的数量为若干个。Preferably, the top, the middle end and the bottom of the surface on the opposite side of the advertising board are provided with fixing holes, and the number of fixing holes is several.
优选的,所述蓄电池箱内腔顶部的右侧固定安装有控制器,且控制器的信号输出端与蓄电池、照明灯、电动伸缩杆和电机的信号输入端电性连接。Preferably, a controller is fixedly installed on the right side of the top of the inner cavity of the battery box, and the signal output end of the controller is electrically connected with the signal input end of the battery, the lighting lamp, the electric telescopic rod and the motor.
优选的,所述太阳能板的输出端与蓄电池的输入端电性连接,所述蓄电池的输出端与逆变器的输入端电性连接,所述逆变器的输出端与照明灯、电机和电动伸缩杆的输入端电性连接。Preferably, the output end of the solar panel is electrically connected to the input end of the battery, the output end of the battery is electrically connected to the input end of the inverter, and the output end of the inverter is electrically connected to the lighting lamp, the motor and the The input end of the electric telescopic rod is electrically connected.
与现有技术相比,本实用新型的有益效果如下:Compared with the prior art, the beneficial effects of the present utility model are as follows:
1、本实用新型通过底座、电机、第一螺栓、立柱、螺纹杆、固定座、滑杆、螺纹套、蓄电池、太阳能板、控制器、逆变器、连接板、电动伸缩杆、滑槽、固定杆、支腿、支撑板、广告板、滑动腔、保护壳、第二螺栓和限位板的配合使用,解决了现有的高速公路广告牌不便于使用,工作人员需要在高空进行更换广告布,安全性低,对广告布的防护性差,下雨时容易腐蚀广告布,不能够利用太阳能发电,广告牌的稳定性差的问题。1. The utility model adopts the base, the motor, the first bolt, the column, the threaded rod, the fixed seat, the sliding rod, the threaded sleeve, the battery, the solar panel, the controller, the inverter, the connecting plate, the electric telescopic rod, the chute, The use of fixed rod, outrigger, support plate, advertising board, sliding cavity, protective shell, second bolt and limit plate solves the problem that the existing highway billboards are inconvenient to use, and the staff needs to replace the advertisements at high altitudes Cloth, low safety, poor protection of advertising cloth, easy to corrode the advertising cloth when it rains, unable to use solar energy to generate electricity, and poor stability of the billboard.
2、本实用新型通过限位板和固定座的配合使用,能够便于使广告板更稳定,通过支腿和支撑板的配合使用,能够便于防止立柱倾斜,通过设置第一螺栓,能够便于把立柱固定在地基上,通过电机、螺纹杆和螺纹套的配合使用,能够便于降下广告板进行更换广告布,通过设置照明灯,能够便于在夜间照明广告布,通过设置保护壳,能够便于保护广告布,通过设置太阳能板,能够便于收集太阳能,通过设置固定孔,能够便于把广告布固定在广告板上,通过电动伸缩杆和滑动腔的配合使用,能够便于取出广告板,通过设置第二螺栓,能够便于固定保护壳,通过滑槽和滑杆的配合使用,能够便于对螺纹套进行限位避免其在移动的过程中旋转。2. The utility model can easily make the advertising board more stable through the cooperation of the limit plate and the fixed seat, and can easily prevent the column from tilting through the cooperation of the outrigger and the support plate. Fixed on the foundation, through the cooperation of the motor, the threaded rod and the threaded sleeve, the advertising board can be easily lowered to replace the advertising cloth. By setting the lighting lamp, it is convenient to illuminate the advertising cloth at night, and by setting the protective shell, it can be convenient to protect the advertising cloth. , by setting the solar panel, it is easy to collect solar energy, by setting the fixing hole, it is easy to fix the advertising cloth on the advertising board, and by using the electric telescopic rod and the sliding cavity, the advertising board can be easily taken out, and by setting the second bolt, The protective shell can be easily fixed, and the threaded sleeve can be easily limited to prevent the threaded sleeve from rotating during the moving process through the cooperative use of the sliding groove and the sliding rod.
附图说明Description of drawings
图1为本实用新型结构示意图;Fig. 1 is the structural representation of the utility model;
图2为本实用新型主视结构示意图;Fig. 2 is the front view structure schematic diagram of the utility model;
图3为本实用新型俯视剖视示意图;3 is a schematic top view of the utility model;
图4为本实用新型图1中A的局部结构放大示意图。FIG. 4 is an enlarged schematic view of the partial structure of A in FIG. 1 of the present invention.
图中:1底座、2电机、3第一螺栓、4立柱、5螺纹杆、6固定座、7滑杆、8螺纹套、9照明灯、10固定架、11蓄电池、12支撑杆、13太阳能板、14蓄电池箱、15逆变器、16连接板、17电动伸缩杆、18滑槽、19固定杆、20支腿、21支撑板、22广告板、23滑动腔、24保护壳、25第二螺栓、26限位板。In the picture: 1 base, 2 motor, 3 first bolt, 4 column, 5 threaded rod, 6 fixed seat, 7 sliding rod, 8 threaded sleeve, 9 lighting, 10 fixed frame, 11 battery, 12 support rod, 13 solar energy Plate, 14 battery box, 15 inverter, 16 connecting plate, 17 electric telescopic pole, 18 chute, 19 fixed pole, 20 outrigger, 21 supporting plate, 22 advertising plate, 23 sliding cavity, 24 protective shell, 25 Two bolts, 26 limit plates.
具体实施方式Detailed ways
下面将结合本实用新型实施例中的附图,对本实用新型实施例中的技术方案进行清楚、完整地描述,显然,所描述的实施例仅仅是本实用新型一部分实施例,而不是全部的实施例。基于本实用新型中的实施例,本领域普通技术人员在没有做出创造性劳动前提下所获得的所有其他实施例,都属于本实用新型保护的范围。The technical solutions in the embodiments of the present utility model will be clearly and completely described below with reference to the accompanying drawings in the embodiments of the present utility model. Obviously, the described embodiments are only a part of the embodiments of the present utility model, rather than all the implementations. example. Based on the embodiments of the present invention, all other embodiments obtained by those of ordinary skill in the art without creative work fall within the protection scope of the present invention.
在实用新型的描述中,需要说明的是,术语“上”、“下”、“内”、“外”“前端”、“后端”、“两端”、“一端”、“另一端”等指示的方位或位置关系为基于附图所示的方位或位置关系,仅是为了便于描述本实用新型和简化描述,而不是指示或暗示所指的装置或元件必须具有特定的方位、以特定的方位构造和操作,因此不能理解为对本实用新型的限制。此外,术语“第一”、“第二”仅用于描述目的,而不能理解为指示或暗示相对重要性。In the description of the utility model, it should be noted that the terms "upper", "lower", "inner", "outer", "front end", "rear end", "two ends", "one end" and "the other end" The orientation or positional relationship indicated by etc. is based on the orientation or positional relationship shown in the accompanying drawings, which is only for the convenience of describing the present invention and simplifying the description, rather than indicating or implying that the referred device or element must have a specific orientation, with a specific orientation. Therefore, it should not be construed as a limitation on the present invention. Furthermore, the terms "first" and "second" are used for descriptive purposes only and should not be construed to indicate or imply relative importance.
在实用新型的描述中,需要说明的是,除非另有明确的规定和限定,术语“安装”、“设置有”、“连接”等,应做广义理解,例如“连接”,可以是固定连接,也可以是可拆卸连接,或一体地连接;可以是机械连接,也可以是电连接;可以是直接相连,也可以通过中间媒介间接相连,可以是两个元件内部的连通。对于本领域的普通技术人员而言,可以具体情况理解上述术语在本实用新型中的具体含义。In the description of the utility model, it should be noted that, unless otherwise expressly specified and limited, the terms "installed", "provided with", "connected", etc., should be understood in a broad sense, for example, "connected" may be a fixed connection It can also be a detachable connection or an integral connection; it can be a mechanical connection or an electrical connection; it can be a direct connection, or an indirect connection through an intermediate medium, or the internal communication between the two components. For those of ordinary skill in the art, the specific meanings of the above terms in the present invention can be understood in specific situations.
本实用新型的底座1、电机2、第一螺栓3、立柱4、螺纹杆5、固定座6、滑杆7、螺纹套8、照明灯9、固定架10、蓄电池11、支撑杆12、太阳能板13、逆变器15、连接板16、电动伸缩杆17、固定杆19、支腿20、支撑板21、广告板22、保护壳24、第二螺栓25和限位板26部件均为通用标准件或本领域技术人员知晓的部件,其结构和原理都为本技术人员均可通过技术手册得知或通过常规实验方法获知。The
请参阅图1-4,一种高速公路广告牌,包括底座1,底座1顶部的左右两侧和前后两侧均贯穿设置有第一螺栓3,通过设置第一螺栓3,能够便于把立柱4固定在地基上,第一螺栓3的底部贯穿至地基内,底座1顶部的中心处固定连接有立柱4,立柱4表面底部的左右两侧和前后两侧均固定连接有固定杆19,固定杆19远离立柱4的一端通过转轴活动连接有支腿20,支腿20远离固定杆19的一端通过转轴活动连接有支撑板21,通过支腿20和支撑板21的配合使用,能够便于防止立柱4倾斜,支撑板21的底部固定连接有固定齿,且固定齿的底部贯穿至地面内,立柱4内腔的底部固定连接有电机2,电机2的输出轴固定连接有螺纹杆5,螺纹杆5表面的顶部螺纹套设有螺纹套8,通过电机2、螺纹杆5和螺纹套8的配合使用,能够便于降下广告板22进行更换广告布,螺纹套8的两侧均固定连接有滑杆7,立柱4的两侧均开设有滑槽18,滑杆7的表面与滑槽18的内壁活动连接,通过滑槽18和滑杆7的配合使用,能够便于对螺纹套8进行限位避免其在移动的过程中旋转,滑杆7相反的一侧延伸至立柱4的两侧并固定连接有连接板16,连接板16相反一侧的前后两侧均固定连接有电动伸缩杆17,立柱4的顶部固定连接有蓄电池箱14,蓄电池箱14两侧的底部均固定连接有固定座6,固定座6相对的一侧均开设有滑动腔23,电动伸缩杆17相反的一侧贯穿滑动腔23并固定连接有广告板22,通过电动伸缩杆17和滑动腔23的配合使用,能够便于取出广告板22,广告板22相反一侧表面的顶部、中端和底部均开设有固定孔,且固定孔的数量为若干个,通过设置固定孔,能够便于把广告布固定在广告板22上,固定座6内壁的底部固定连接有限位板26,广告板22位于固定座6与限位板26相对的一侧,通过限位板26和固定座6的配合使用,能够便于使广告板22更稳定,广告板22相反的一侧设置有保护壳24,通过设置保护壳24,能够便于保护广告布,广告板22位于保护壳24的内腔,保护壳24的材料为透明塑料材料,保护壳24相反一侧的顶部和底部均贯穿至设置有第二螺栓25,通过设置第二螺栓25,能够便于固定保护壳24,第二螺栓25相对的一侧贯穿至广告板22相反的一侧,固定座6的顶部固定连接有固定架10,固定架10的底部固定安装有照明灯9,通过设置照明灯9,能够便于在夜间照明广告布,照明灯9的数量为四个且位于广告板22的顶部,蓄电池箱14内腔底部的左侧固定连接有蓄电池11,蓄电池箱14内腔底部的右侧固定连接有逆变器15,蓄电池箱14内腔顶部的右侧固定安装有控制器,且控制器的信号输出端与蓄电池11、照明灯9、电动伸缩杆17和电机2的信号输入端电性连接,蓄电池箱14的顶部固定连接有支撑杆12,支撑杆12的顶部固定连接有太阳能板13,通过设置太阳能板13,能够便于收集太阳能,太阳能板13的输出端与蓄电池11的输入端电性连接,蓄电池11的输出端与逆变器15的输入端电性连接,逆变器15的输出端与照明灯9、电机2和电动伸缩杆17的输入端电性连接,通过底座1、电机2、第一螺栓3、立柱4、螺纹杆5、固定座6、滑杆7、螺纹套8、蓄电池11、太阳能板13、逆变器15、连接板16、电动伸缩杆17、滑槽18、固定杆19、支腿20、支撑板21、广告板22、滑动腔23、保护壳24、第二螺栓25和限位板26的配合使用,解决了现有的高速公路广告牌不便于使用,工作人员需要在高空进行更换广告布,安全性低,对广告布的防护性差,下雨时容易腐蚀广告布,不能够利用太阳能发电,广告牌的稳定性差的问题。Please refer to Fig. 1-4, a highway billboard includes a
使用时,通过控制器控制电机2和电动伸缩杆17工作,电机2正向旋转带动螺纹杆5旋转,螺纹杆5带动螺纹套8向上移动,螺纹套8带动电动伸缩杆17和广告板22向上移动,广告板22向上移动至限位板26的顶部,启动电动伸缩杆17,电动伸缩杆17带动广告板22移动至限位板26的外部,电机2反向旋转,带动广告板22向下移动,通过固定孔把广告布固定在广告板22上,通过转动第二螺栓25固定保护壳24,固定完毕后,电机2和电动伸缩杆17带动广告板22复位,通过太阳能板13把太阳能转换为电能收集在蓄电池11内,通过逆变器15把直流电转换为交流电为电机2、电动伸缩杆17和照明灯9供电,在夜间时,通过控制器控制照明灯9开启,在夜间照明广告布。When in use, the controller controls the
综上所述:该高速公路广告牌,通过底座1、电机2、第一螺栓3、立柱4、螺纹杆5、固定座6、滑杆7、螺纹套8、蓄电池11、太阳能板13、逆变器15、连接板16、电动伸缩杆17、滑槽18、固定杆19、支腿20、支撑板21、广告板22、滑动腔23、保护壳24、第二螺栓25和限位板26的配合使用,解决了现有的高速公路广告牌不便于使用,工作人员需要在高空进行更换广告布,安全性低,对广告布的防护性差,下雨时容易腐蚀广告布,不能够利用太阳能发电,广告牌的稳定性差的问题。To sum up: the highway billboard, through the
尽管已经示出和描述了本实用新型的实施例,对于本领域的普通技术人员而言,可以理解在不脱离本实用新型的原理和精神的情况下可以对这些实施例进行多种变化、修改、替换和变型,本实用新型的范围由所附权利要求及其等同物限定。Although the embodiments of the present invention have been shown and described, it will be understood by those skilled in the art that various changes and modifications can be made to these embodiments without departing from the principles and spirit of the present invention , alternatives and modifications, the scope of the present invention is defined by the appended claims and their equivalents.
Claims (6)
Priority Applications (1)
| Application Number | Priority Date | Filing Date | Title |
|---|---|---|---|
| CN201922066154.1U CN211016436U (en) | 2019-11-26 | 2019-11-26 | A highway billboard |
Applications Claiming Priority (1)
| Application Number | Priority Date | Filing Date | Title |
|---|---|---|---|
| CN201922066154.1U CN211016436U (en) | 2019-11-26 | 2019-11-26 | A highway billboard |
Publications (1)
| Publication Number | Publication Date |
|---|---|
| CN211016436U true CN211016436U (en) | 2020-07-14 |
Family
ID=71508002
Family Applications (1)
| Application Number | Title | Priority Date | Filing Date |
|---|---|---|---|
| CN201922066154.1U Expired - Fee Related CN211016436U (en) | 2019-11-26 | 2019-11-26 | A highway billboard |
Country Status (1)
| Country | Link |
|---|---|
| CN (1) | CN211016436U (en) |
Cited By (2)
| Publication number | Priority date | Publication date | Assignee | Title |
|---|---|---|---|---|
| CN112863398A (en) * | 2021-01-18 | 2021-05-28 | 谢建川 | New forms of energy highway bill-board convenient to installation |
| CN115346436A (en) * | 2022-07-19 | 2022-11-15 | 上海奕齐影业集团有限公司 | Advertisement design display device based on internet |
-
2019
- 2019-11-26 CN CN201922066154.1U patent/CN211016436U/en not_active Expired - Fee Related
Cited By (2)
| Publication number | Priority date | Publication date | Assignee | Title |
|---|---|---|---|---|
| CN112863398A (en) * | 2021-01-18 | 2021-05-28 | 谢建川 | New forms of energy highway bill-board convenient to installation |
| CN115346436A (en) * | 2022-07-19 | 2022-11-15 | 上海奕齐影业集团有限公司 | Advertisement design display device based on internet |
Similar Documents
| Publication | Publication Date | Title |
|---|---|---|
| CN211016436U (en) | A highway billboard | |
| CN210066567U (en) | Multidirectional indication guideboard | |
| CN210636325U (en) | Warning sign convenient to fold and fix for municipal road maintenance | |
| CN211242624U (en) | A high-stable performance drawing display stand for exhibition and space environment design | |
| CN210004288U (en) | telescopic solar street lamp with good energy-saving performance | |
| CN221746821U (en) | A knowledge display and publicity device for public health popularization | |
| CN212084443U (en) | An ideological and political teaching display device | |
| CN213303484U (en) | Safety warning device for electrical equipment convenient to adjust | |
| CN213904698U (en) | Territorial space planning model | |
| CN211780750U (en) | Energy-saving environment-friendly street lamp | |
| CN212896008U (en) | Landscape construction warning fence | |
| CN212103756U (en) | A warning device for communication engineering construction | |
| CN222883230U (en) | A display device for land planning | |
| CN222335220U (en) | Rotatable wisdom garden lamp | |
| CN222482922U (en) | Movable advertisement design propaganda device | |
| CN219476292U (en) | Flood control warning sign for municipal works | |
| CN212005503U (en) | A photovoltaic powered street light with billboard | |
| CN219342919U (en) | Temporary warning device | |
| CN220604273U (en) | Guide board for outdoor travel | |
| CN220269308U (en) | Municipal street lamp | |
| CN220152647U (en) | High-regulation energy-saving landscape lamp | |
| CN221507683U (en) | Steel construction advertisement column convenient to change | |
| CN212185985U (en) | A new type of adjustable municipal landscape flower stand | |
| CN219693176U (en) | An efficient heat dissipation lighting street lamp for smart communities | |
| CN210865513U (en) | City view facility propaganda frame with adjustable |
Legal Events
| Date | Code | Title | Description |
|---|---|---|---|
| GR01 | Patent grant | ||
| GR01 | Patent grant | ||
| TR01 | Transfer of patent right | ||
| TR01 | Transfer of patent right |
Effective date of registration: 20200914 Address after: 056000 Caowei Avenue, Linzhang County, Handan City, Hebei Province Patentee after: Hebei Xiangda Road and Bridge Engineering Co.,Ltd. Address before: No. 1002, 10th floor, building 1, No. 530, middle section of Tianfu Avenue, high tech Zone, Chengdu, Sichuan 610000 Patentee before: Sichuan xingchuangtai Information Technology Co.,Ltd. |
|
| CF01 | Termination of patent right due to non-payment of annual fee | ||
| CF01 | Termination of patent right due to non-payment of annual fee |
Granted publication date: 20200714 |
