CN210995523U - Solar panel cleaning device - Google Patents
Solar panel cleaning device Download PDFInfo
- Publication number
- CN210995523U CN210995523U CN201921970976.6U CN201921970976U CN210995523U CN 210995523 U CN210995523 U CN 210995523U CN 201921970976 U CN201921970976 U CN 201921970976U CN 210995523 U CN210995523 U CN 210995523U
- Authority
- CN
- China
- Prior art keywords
- solar panel
- main body
- walking
- motor
- cleaning device
- Prior art date
- Legal status (The legal status is an assumption and is not a legal conclusion. Google has not performed a legal analysis and makes no representation as to the accuracy of the status listed.)
- Active
Links
Images
Classifications
-
- Y—GENERAL TAGGING OF NEW TECHNOLOGICAL DEVELOPMENTS; GENERAL TAGGING OF CROSS-SECTIONAL TECHNOLOGIES SPANNING OVER SEVERAL SECTIONS OF THE IPC; TECHNICAL SUBJECTS COVERED BY FORMER USPC CROSS-REFERENCE ART COLLECTIONS [XRACs] AND DIGESTS
- Y02—TECHNOLOGIES OR APPLICATIONS FOR MITIGATION OR ADAPTATION AGAINST CLIMATE CHANGE
- Y02E—REDUCTION OF GREENHOUSE GAS [GHG] EMISSIONS, RELATED TO ENERGY GENERATION, TRANSMISSION OR DISTRIBUTION
- Y02E10/00—Energy generation through renewable energy sources
- Y02E10/50—Photovoltaic [PV] energy
Landscapes
- Cleaning In General (AREA)
- Photovoltaic Devices (AREA)
Abstract
一种太阳能板清洁装置,包括框架主体、行走机构、喷淋机构和清洁机构;框架主体的两端均设置有行走机构,框架主体的周围布置有喷淋机构,清洁机构设置在框架主体的内部和两侧;本实用新型装置通过底部的两个滚筒刷转速相同,但是转向不同的方式来减小滚筒刷清洁时对装置移动时的影响,并且两个滚筒刷通过转向不同的旋转方式相较于转向相同的方式清洁的效率大大增加。
A solar panel cleaning device includes a frame body, a walking mechanism, a spraying mechanism and a cleaning mechanism; both ends of the frame body are provided with a walking mechanism, a spray mechanism is arranged around the frame body, and the cleaning mechanism is arranged inside the frame body and both sides; the device of the present utility model reduces the influence of the cleaning of the roller brush on the movement of the device through the same rotation speed of the two roller brushes at the bottom, but turns in different ways, and the two roller brushes are compared by turning in different rotation modes. The efficiency of cleaning is greatly increased by switching to the same method.
Description
技术领域technical field
本实用新型属于太阳能板清洁技术领域,特别涉及一种太阳能板清洁装置。The utility model belongs to the technical field of solar panel cleaning, in particular to a solar panel cleaning device.
背景技术Background technique
太阳能板清洁装置主要用在大型光伏发电站或者小型家用太阳能发电板中需要定期擦拭来保持洁净的工作面。由于太阳能板长期裸露在室外自然环境中会有大量的尘埃附着在太阳能板上,一些酸碱性较强的灰尘会侵蚀太阳能电池板的表面降低面板玻璃的透光率,灰尘也会影响太阳能板表面的散热导致光电转换效率降低,从而严重影响太阳能的发电效率和太阳能板的使用寿命。因此需要用清洁装置来去除太阳能发电板表面附着的灰尘和小颗粒杂物,使太阳能板保持较高的发电功率。The solar panel cleaning device is mainly used in large photovoltaic power stations or small household solar power panels that need to be wiped regularly to maintain a clean working surface. Since the solar panel is exposed to the outdoor natural environment for a long time, a large amount of dust will adhere to the solar panel. Some dust with strong acid and alkali will erode the surface of the solar panel and reduce the light transmittance of the panel glass. Dust will also affect the solar panel. The heat dissipation on the surface reduces the photoelectric conversion efficiency, which seriously affects the power generation efficiency of solar energy and the service life of the solar panel. Therefore, it is necessary to use a cleaning device to remove the dust and small particles attached to the surface of the solar power generation panel, so that the solar panel can maintain a high power generation power.
现有的太阳能发电板大多数用人工清洗,这不但造成人力的浪费并且工作效率很低。一些家用太阳能板放置的位置较高,采用人工清洗的方式具有一定的危险性。市面上主要有装有导轨的滚筒上下式运动和大型滚筒刷连接车辆式两种太阳能板清洁设备;装有导轨的滚筒上下式运动装置由于其结构复杂、实现自动控制的方式困难、装置的故障率高和成本过于昂贵等缺点而应用的较少。车载滚筒刷式清洁装置通过驾驶员控制着滚筒刷与太阳能板的距离,极易使太阳能板被滚筒刷损坏或者由于其间距过大而达不到清洁效果,从而在使用上造成的一定的局限性。Most of the existing solar power panels are cleaned manually, which not only results in a waste of manpower, but also has low work efficiency. Some household solar panels are placed in high positions, and it is dangerous to use manual cleaning. There are mainly two types of solar panel cleaning equipment on the market: the roller up and down movement with guide rails and the large roller brush connected vehicle type; the roller up and down movement device with guide rails is complicated in structure, difficult to realize automatic control, and the failure of the device. Due to the disadvantages of high rate and high cost, it is rarely used. The vehicle-mounted roller brush cleaning device controls the distance between the roller brush and the solar panel through the driver, which can easily cause the solar panel to be damaged by the roller brush or fail to achieve the cleaning effect due to the excessive distance between the roller brushes, thus causing certain limitations in use. sex.
实用新型内容Utility model content
本实用新型的目的在于提供一种太阳能板清洁装置,以解决上述问题。The purpose of the present invention is to provide a solar panel cleaning device to solve the above problems.
为实现上述目的,本实用新型采用以下技术方案:To achieve the above object, the utility model adopts the following technical solutions:
一种太阳能板清洁装置,包括框架主体、行走机构、喷淋机构和清洁机构;框架主体的两端均设置有行走机构,框架主体的周围布置有喷淋机构,清洁机构设置在框架主体的内部和两侧;A solar panel cleaning device includes a frame body, a walking mechanism, a spraying mechanism and a cleaning mechanism; both ends of the frame body are provided with a walking mechanism, a spray mechanism is arranged around the frame body, and the cleaning mechanism is arranged inside the frame body and both sides;
行走机构包括行走机构支架、蜗轮蜗杆减速电机、蜗轮蜗杆减速电机支架和行走轮;两个行走机构支架分别设置在框架主体的两端,行走机构支架的两端分别通过蜗轮蜗杆减速电机支架固定设置有蜗轮蜗杆减速电机,蜗轮蜗杆减速电机的输出端连接行走轮;框架主体通过行走机构架在太阳能板上;框架主体一端的行走机构的行走轮与太阳能板顶端表面垂直相切;另一端的行走机构的行走轮与太阳能板表面垂直相切。The traveling mechanism includes a traveling mechanism bracket, a worm gear motor, a worm gear motor bracket and a traveling wheel; the two traveling mechanism brackets are respectively arranged at both ends of the frame body, and the two ends of the traveling mechanism bracket are respectively fixed by the worm gear and worm gear motor brackets. There is a worm gear motor, and the output end of the worm gear motor is connected to the traveling wheel; the frame body is mounted on the solar panel through the traveling mechanism; the traveling wheel of the traveling mechanism at one end of the frame body is perpendicular to the top surface of the solar panel; The walking wheel of the mechanism is perpendicular to the surface of the solar panel.
进一步的,蜗轮蜗杆减速电机的输出端通过六角联轴器与行走轮连接。Further, the output end of the worm gear motor is connected with the traveling wheel through a hexagonal coupling.
进一步的,喷淋机构包括管道、管支架和喷头;管道通过管支架设置在框架主体的两侧,管道上等间距设置有孔,孔上设置有喷头;管道的一端封闭一端开口,开口的一端汇聚到进水口,进水口连接水源。Further, the spraying mechanism includes a pipe, a pipe support and a spray head; the pipe is arranged on both sides of the frame body through the pipe support, the pipes are provided with holes at equal intervals, and the holes are provided with spray heads; one end of the pipe is closed and one end is open, and one end is open. Converged to the water inlet, and the water inlet is connected to the water source.
进一步的,清洁机构包括滚筒刷、直流减速电机、刷条和直流减速电机支架;若干滚筒刷平行设置在主体框架的内部,直流减速电机通过直流减速电机支架固定在框架主体的端部,直流减速电机的输出端连接滚筒刷的端部。Further, the cleaning mechanism includes a roller brush, a DC gear motor, a brush bar and a DC gear motor bracket; a number of roller brushes are arranged in parallel inside the main frame, the DC gear motor is fixed on the end of the frame body through the DC gear motor bracket, and the DC gear is reduced. The output end of the motor is connected to the end of the roller brush.
进一步的,直流减速电机通过联轴器与滚筒刷连接。Further, the DC gear motor is connected with the roller brush through a coupling.
进一步的,框架主体上设置有控制器,控制器连接蜗轮蜗杆减速电机和直流减速电机。Further, the frame body is provided with a controller, and the controller is connected to the worm gear motor and the DC gear motor.
进一步的,太阳能板通过太阳能板支架支撑,太阳能板支架的两个端部均设置有光电传感器挡板,行走机构上设置有光电传感器。Further, the solar panel is supported by a solar panel bracket, both ends of the solar panel bracket are provided with photoelectric sensor baffles, and the traveling mechanism is provided with a photoelectric sensor.
与现有技术相比,本实用新型有以下技术效果:Compared with the prior art, the utility model has the following technical effects:
(A)本实用新型依靠太阳能板清洁装置中行走机构上、下两部分的行走轮独特的安装方式,可以使清洁装置在不需要导轨的条件下在太阳板上稳定运动。(A) The utility model relies on the unique installation method of the traveling wheels of the upper and lower parts of the traveling mechanism in the solar panel cleaning device, so that the cleaning device can move stably on the solar panel without the need for guide rails.
(B)本实用新型依靠光电开关和单片机的作用使整个清洁装置到达太阳能板的边缘位置时能够自动识别,并且到达边缘位置后单片机控制往相反的方向运动,无需人工控制。(B) The utility model relies on the function of the photoelectric switch and the single-chip microcomputer to automatically identify the entire cleaning device when it reaches the edge position of the solar panel, and the single-chip microcomputer controls the movement in the opposite direction after reaching the edge position without manual control.
(C)本实用新型装置通过输入管道直接连接水龙头的供水方式,使得机构大大简化。(C) The water supply mode of the device of the present invention is directly connected to the faucet through the input pipe, which greatly simplifies the mechanism.
(D)本实用新型装置通过底部的两个滚筒刷转速相同,但是转向不同的方式来减小滚筒刷清洁时对装置移动时的影响,并且两个滚筒刷通过转向不同的旋转方式相较于转向相同的方式清洁的效率大大增加。(D) The device of the present utility model reduces the influence on the movement of the device when the roller brushes are cleaned by the same rotation speed of the two roller brushes at the bottom, but turns in different ways, and the two roller brushes are rotated by turning different rotation methods. The efficiency of cleaning is greatly increased by switching to the same method.
(E)本实用新型的结构简单、使用方便、效率高并且成本低廉。(E) The utility model has the advantages of simple structure, convenient use, high efficiency and low cost.
附图说明Description of drawings
图1是本实用新型的正视结构示意图。Fig. 1 is the front view structure schematic diagram of the utility model.
图2是本实用新型的侧视结构示意图。Figure 2 is a schematic side view of the structure of the present invention.
图3是本实用新型的俯视结构示意图。FIG. 3 is a schematic top view of the structure of the present invention.
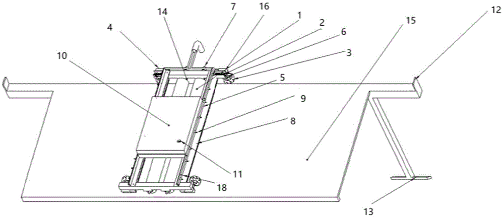
其中:1-滚筒刷,2-光电传感器,3-行走轮,4-涡轮蜗杆减速电机,5-管道,6-六角联轴器,7-直流减速电机,8-长条刷,9-喷头,10-控制器,11-电源开关,12-光电传感器挡板,13-太阳能板支架,14-联轴器,15-太阳板,16-涡轮蜗杆电机支架、17-直流减速电机支架、18-管支架、19-带底座轴承Among them: 1- roller brush, 2- photoelectric sensor, 3- traveling wheel, 4- worm gear motor, 5- pipe, 6- hexagonal coupling, 7- DC gear motor, 8- long brush, 9- nozzle , 10-controller, 11-power switch, 12-photoelectric sensor baffle, 13-solar panel bracket, 14-coupling, 15-solar panel, 16-turbine worm motor bracket, 17-DC gear motor bracket, 18 - Tube support, 19- with base bearing
具体实施方式Detailed ways
以下结合附图对本实用新型进一步说明:Below in conjunction with accompanying drawing, the utility model is further described:
请参阅图1至图3,一种太阳能板清洁装置,包括框架主体、行走机构、喷淋机构和清洁机构;框架主体的两端均设置有行走机构,框架主体的周围布置有喷淋机构,清洁机构设置在框架主体的内部和两侧;1 to 3, a solar panel cleaning device includes a frame body, a walking mechanism, a spraying mechanism and a cleaning mechanism; both ends of the frame body are provided with a walking mechanism, and a spray mechanism is arranged around the frame body, The cleaning mechanism is arranged inside and on both sides of the frame body;
行走机构包括行走机构支架、蜗轮蜗杆减速电机4、蜗轮蜗杆减速电机支架16和行走轮3;两个行走机构支架分别设置在框架主体的两端,行走机构支架的两端分别通过蜗轮蜗杆减速电机支架16固定设置有蜗轮蜗杆减速电机4,蜗轮蜗杆减速电机4的输出端连接行走轮3;框架主体通过行走机构架在太阳能板上;框架主体一端的行走机构的行走轮与太阳能板顶端表面垂直相切;另一端的行走机构的行走轮与太阳能板表面垂直相切。The traveling mechanism includes a traveling mechanism bracket, a worm gear motor 4, a worm
蜗轮蜗杆减速电机4的输出端通过六角联轴器与行走轮3连接。The output end of the worm gear motor 4 is connected with the
喷淋机构包括管道5、管支架18和喷头9;管道5通过管支架18设置在框架主体的两侧,管道5上等间距设置有孔,孔上设置有喷头9;管道5的一端封闭一端开口,开口的一端汇聚到进水口,进水口连接水源。The spray mechanism includes a
清洁机构包括滚筒刷1、直流减速电机7、刷条8和直流减速电机支架17;若干滚筒刷1平行设置在主体框架的内部,直流减速电机7通过直流减速电机支架17固定在框架主体的端部,直流减速电机7的输出端连接滚筒刷1的端部。The cleaning mechanism includes a roller brush 1, a
直流减速电机7通过联轴器14与滚筒刷1连接。The DC geared
框架主体上设置有控制器,控制器连接蜗轮蜗杆减速电机4和直流减速电机7。The frame body is provided with a controller, and the controller is connected to the worm gear motor 4 and the
太阳能板通过太阳能板支架支撑,太阳能板支架的两个端部均设置有光电传感器挡板12,行走机构上设置有光电传感器2。The solar panel is supported by a solar panel bracket, both ends of the solar panel bracket are provided with
一种太阳能板清洁装置的清洁方法,包括以下步骤:A cleaning method for a solar panel cleaning device, comprising the following steps:
步骤1,行走机构上端的两个行走轮借助清洁装置本身的重力使整个装置挂在太阳能板顶端的边框表面,启动装置,行走机构带动装置在太阳能板上行走;Step 1, the two walking wheels on the upper end of the walking mechanism make the whole device hang on the frame surface of the top of the solar panel by the gravity of the cleaning device itself, start the device, and the walking mechanism drives the device to walk on the solar panel;
步骤2,当太阳能板清洗装置运动到太阳能板边缘时光电传感器感应到太阳能板两侧边缘的挡板,并发出信号传到控制器使清理装置往相反的方向运动,当到达另一侧的边缘时另一端的挡板使相应的光电传感器发出信号传送到中央处理器来使清理装置往相反的方向运动,如此不断反复运动。Step 2, when the solar panel cleaning device moves to the edge of the solar panel, the photoelectric sensor senses the baffles on both sides of the solar panel, and sends a signal to the controller to make the cleaning device move in the opposite direction, when it reaches the edge of the other side At the same time, the baffle at the other end makes the corresponding photoelectric sensor send a signal to the central processing unit to make the cleaning device move in the opposite direction, and so on.
步骤3,将管道的进水口连接水龙头等供水装置并通过喷头对太阳能板表面进行清洗;同时启动直流减速电机,装置两侧的长条刷用来清除表面较大杂质,通过减速电机带动滚筒刷朝相反的方向转动使滚筒刷对太阳能表面进行清洗。Step 3: Connect the water inlet of the pipeline to a water supply device such as a faucet and clean the surface of the solar panel through the nozzle; at the same time, start the DC gear motor, the long brushes on both sides of the device are used to remove large impurities on the surface, and the roller brush is driven by the gear motor. Turning in the opposite direction allows the roller brush to clean the solar surface.
如图1至图3所示,本实例给出一种自动控制式太阳能板清洗装置及方法。As shown in FIG. 1 to FIG. 3 , this example provides an automatic control type solar panel cleaning device and method.
本实用新型是一种自动控制式太阳能板清洗装置包括中央控制系统、感应装置、行走机构和清洁系统;The utility model relates to an automatic control type solar panel cleaning device, which comprises a central control system, an induction device, a walking mechanism and a cleaning system;
行走机构包括行走轮4、六角联轴器6、涡轮蜗杆减速电机4、涡轮蜗杆电机支架16,行走机构的上半部分通过涡轮蜗杆电机支架16使涡轮蜗杆减速电机4固定在太阳能板清洁装置顶端的两端。涡轮蜗杆减速电机4通过六角联轴器6连接行走轮3使轮底与太阳能板15顶端表面垂直相切。行走机构的下半部分由两个涡轮蜗杆电机支架16将两个涡轮蜗杆减速电机4固定在太阳能板清洁装置下部机架的两端,使支架16和支架连接的面与太阳能板16平行。由于涡轮蜗杆减速电机支架16的放置的位置使行走机构下方的行走轮4与太阳能板15表面垂直相切。The traveling mechanism includes a traveling wheel 4, a hexagonal coupling 6, a worm gear motor 4, and a worm
清洁系统包括滚筒刷1、管道5、管支架18、直流减速电机7、长条刷8、喷头9、联轴器14、直流减速电机支架17。长条刷8固定在太阳能板清洗装置的两侧并且使其刷毛与太阳能板15表面接触。通过管支架18将管道5固定在太阳能板清洁装置周围,同时喷头9按一定的距离固定在管道上调整角度是喷头9喷出的水能均匀的喷到太阳能板15上。滚筒刷1通过带底座轴承19固定在太阳能清洁装置底端并且通过联轴器14与直流减速电机7连接。直流减速电机支架17将直流减速电机7固定在太阳能清洁装置支架顶端。The cleaning system includes a roller brush 1 , a
中央控制系统由单片机、电机控制板组成。The central control system consists of single chip microcomputer and motor control board.
感应装置为电感应器。The sensing device is an electric inductor.
本实用新型的工作过程如下所示:The working process of the present utility model is as follows:
安装有所述自动控制的太阳能板清洁装置在进行作业时,先按下电源开关11使整个机构供电,当太阳能板清洁装置的光电传感器2感应到光电传感器挡板12时产生信号并传输的中央控制系统10,由中央控制系统10控制清洁装置往未感应到光电传感器挡板12的一端运动,如果电源开关11打开而清洁装置未感应到光电传感器挡板12时,则中央控制系统默认往左端运动。行走机构工作时四个行走轮3同时朝一个方向运动并且控制行走轮3的转速相同。由于清洁装置的重力的作用和行走轮3底部的摩擦力的作用使行走机构的上部分行走轮3在太阳能板15边框的顶端平稳的运动不发生侧滑,同时与行走机构的下半部分的行走轮3配合则使整个清洁装置与太阳能板15的表面保持平行。When the solar panel cleaning device installed with the automatic control is in operation, first press the
在运动的同时用水龙头或者其他供水系统往管道5供水使喷头9向太阳能板15表面喷水清洗,由直流减速电机控制的滚筒刷1沿着不同的方向转动。当整个装置运动到一定距离时光电传感器2会向控制器10发送信号从而使其往相反的方向运动,如此反复循环通过关闭电源按钮11使太阳能板清洁装置停止运动。While moving, water is supplied to the
Claims (7)
Priority Applications (1)
| Application Number | Priority Date | Filing Date | Title |
|---|---|---|---|
| CN201921970976.6U CN210995523U (en) | 2019-11-14 | 2019-11-14 | Solar panel cleaning device |
Applications Claiming Priority (1)
| Application Number | Priority Date | Filing Date | Title |
|---|---|---|---|
| CN201921970976.6U CN210995523U (en) | 2019-11-14 | 2019-11-14 | Solar panel cleaning device |
Publications (1)
| Publication Number | Publication Date |
|---|---|
| CN210995523U true CN210995523U (en) | 2020-07-14 |
Family
ID=71502253
Family Applications (1)
| Application Number | Title | Priority Date | Filing Date |
|---|---|---|---|
| CN201921970976.6U Active CN210995523U (en) | 2019-11-14 | 2019-11-14 | Solar panel cleaning device |
Country Status (1)
| Country | Link |
|---|---|
| CN (1) | CN210995523U (en) |
Cited By (1)
| Publication number | Priority date | Publication date | Assignee | Title |
|---|---|---|---|---|
| CN110813860A (en) * | 2019-11-14 | 2020-02-21 | 长安大学 | Solar panel cleaning device and cleaning method |
-
2019
- 2019-11-14 CN CN201921970976.6U patent/CN210995523U/en active Active
Cited By (1)
| Publication number | Priority date | Publication date | Assignee | Title |
|---|---|---|---|---|
| CN110813860A (en) * | 2019-11-14 | 2020-02-21 | 长安大学 | Solar panel cleaning device and cleaning method |
Similar Documents
| Publication | Publication Date | Title |
|---|---|---|
| CN103350084B (en) | Solar cell panel cleaning system in photovoltaic power station | |
| CN206392457U (en) | A kind of solar energy photovoltaic panel automatic flushing device | |
| CN205732099U (en) | Surface, solar energy photovoltaic panel roof waste water filtering circulation cleaning system | |
| CN105817450B (en) | A kind of wiping wire terminal automatic sweeping machine | |
| CN206392479U (en) | A kind of photovoltaic cleaning device | |
| CN202581897U (en) | Solar water heater cleaning device | |
| CN106230373A (en) | A kind of photovoltaic power generation equipment | |
| CN203803866U (en) | Solar cell panel automatic cleaning device | |
| KR20190007857A (en) | Solar Photovoltaic Panel Cleaning Apparatus | |
| CN111151486A (en) | A mobile solar photovoltaic power generation panel cleaning device | |
| CN210995523U (en) | Solar panel cleaning device | |
| CN211802586U (en) | Movable cleaner for solar photovoltaic power generation panel | |
| CN219683352U (en) | Wireless remote control high-altitude track cleaning device | |
| CN212397436U (en) | Solar cell panel belt cleaning device | |
| CN206585506U (en) | Solar energy photovoltaic TRT | |
| CN110813860A (en) | Solar panel cleaning device and cleaning method | |
| CN203896280U (en) | Automatically-controlled evaporation cooling and cleaning device for photovoltaic plate | |
| CN208415580U (en) | A kind of energy-saving and environment-friendly building glass curtain wall | |
| CN207288118U (en) | A kind of photovoltaic panel cleaning equipment | |
| CN222547436U (en) | Photovoltaic panel cleaning vehicle | |
| CN205868974U (en) | Photovoltaic array intelligence cleaning device | |
| CN113680732A (en) | Self-cleaning device for LED street lamp | |
| CN218998012U (en) | Photovoltaic power generation device with snow removing function | |
| CN108551317B (en) | Automatic solar cell panel device that cleans | |
| CN203044379U (en) | Automatic cleaning machine of solar energy trough heat collector |
Legal Events
| Date | Code | Title | Description |
|---|---|---|---|
| GR01 | Patent grant | ||
| GR01 | Patent grant | ||
| EE01 | Entry into force of recordation of patent licensing contract |
Assignee: XI'AN XIANLIN ENERGY TECHNOLOGY Co.,Ltd. Assignor: CHANG'AN University Contract record no.: X2024980010756 Denomination of utility model: A solar panel cleaning device Granted publication date: 20200714 License type: Common License Record date: 20240726 |
|
| EE01 | Entry into force of recordation of patent licensing contract |
