CN210967536U - 一种用于锂电池装配的压焊装置 - Google Patents
一种用于锂电池装配的压焊装置 Download PDFInfo
- Publication number
- CN210967536U CN210967536U CN201921568415.3U CN201921568415U CN210967536U CN 210967536 U CN210967536 U CN 210967536U CN 201921568415 U CN201921568415 U CN 201921568415U CN 210967536 U CN210967536 U CN 210967536U
- Authority
- CN
- China
- Prior art keywords
- fixed mounting
- lithium battery
- pressure welding
- rotating shaft
- battery assembly
- Prior art date
- Legal status (The legal status is an assumption and is not a legal conclusion. Google has not performed a legal analysis and makes no representation as to the accuracy of the status listed.)
- Expired - Fee Related
Links
- 229910052744 lithium Inorganic materials 0.000 title claims abstract description 38
- WHXSMMKQMYFTQS-UHFFFAOYSA-N Lithium Chemical compound [Li] WHXSMMKQMYFTQS-UHFFFAOYSA-N 0.000 title claims abstract description 33
- 238000003466 welding Methods 0.000 title claims abstract description 25
- 230000006378 damage Effects 0.000 abstract description 5
- 238000009434 installation Methods 0.000 abstract description 3
- 208000027418 Wounds and injury Diseases 0.000 abstract description 2
- 208000014674 injury Diseases 0.000 abstract description 2
- 238000000034 method Methods 0.000 description 4
- 230000009471 action Effects 0.000 description 3
- 230000008569 process Effects 0.000 description 2
- 239000000243 solution Substances 0.000 description 2
- 229910000733 Li alloy Inorganic materials 0.000 description 1
- 230000004075 alteration Effects 0.000 description 1
- 230000009286 beneficial effect Effects 0.000 description 1
- 238000010586 diagram Methods 0.000 description 1
- 239000001989 lithium alloy Substances 0.000 description 1
- 230000007246 mechanism Effects 0.000 description 1
- 230000004048 modification Effects 0.000 description 1
- 238000012986 modification Methods 0.000 description 1
- 239000007773 negative electrode material Substances 0.000 description 1
- 239000011255 nonaqueous electrolyte Substances 0.000 description 1
- 239000000126 substance Substances 0.000 description 1
- 238000006467 substitution reaction Methods 0.000 description 1
Images
Landscapes
- Secondary Cells (AREA)
- Battery Electrode And Active Subsutance (AREA)
Abstract
本实用新型公开了一种用于锂电池装配的压焊装置,包括底座、机架和压焊机,所述机架固定安装于底座上端,所述压焊机固定安装于机架顶端靠近轴心处,所述底座顶端靠近轴心处固定安装有操作台,所述操作台外壁一侧通过螺栓固定安装有电机,所述电机动力输出端贯穿操作台且固定连接有转轴,所述转轴外部两侧固定安装有涡轮杆,所述转轴外部靠近轴心处固定安装有主动齿轮;本实用新型通过安装的夹持板,不仅方便人们对锂电池帽盖的夹持固定,还能防止因人工过度用力对锂电池盖帽造成损坏,可有效提高工作效率,通过安装的放置台,可有效避免夹持板对手指造成伤害,提高了该装置的使用安全性,同时也能更进一步降低劳动强度,自动化程度高。
Description
技术领域
本实用新型涉及锂电池装配技术领域,具体为一种用于锂电池装配的压焊装置。
背景技术
“锂电池”,是一类由锂金属或锂合金为负极材料、使用非水电解质溶液的电池。1912年锂金属电池最早由Gilbert N. Lewis提出并研究。20世纪70年代时,M. S.Whittingham提出并开始研究锂离子电池。由于锂金属的化学特性非常活泼,使得锂金属的加工、保存、使用,对环境要求非常高。随着科学技术的发展,现在锂电池已经成为了主流。锂电池大致可分为两类:锂金属电池和锂离子电池。锂离子电池不含有金属态的锂,并且是可以充电的。可充电电池的第五代产品锂金属电池在1996年诞生,其安全性、比容量、自放电率和性能价格比均优于锂离子电池。由于其自身的高技术要求限制,现在只有少数几个国家的公司在生产这种锂金属电池,盖帽在现有的锂电池中起到一个重要的组成部件,一般在锂电池的装配中,盖帽中的顶盖与底盖之间的压焊为一个重要的加工工序。
但是,目前市场上多数的压焊机功能性都比较单一,使用起来也非常不便,传统的压焊机在使用时,锂电池盖帽的夹紧固定大多采用人工转动夹紧,容易导致用力过度对锂电池盖帽造成损坏,同时也不便于人们的操作,就算有相关的夹紧机构,还需要人工手持盖帽,将盖帽放在夹持板之间,等待夹持板的夹持,在这当中,也容易出现夹持板夹到手指的情况,安全系数较低。
实用新型内容
本实用新型的目的在于提供一种用于锂电池装配的压焊装置,以解决上述背景技术中提出的问题。
为实现上述目的,本实用新型提供如下技术方案:一种用于锂电池装配的压焊装置,包括底座、机架和压焊机,所述机架固定安装于底座上端,所述压焊机固定安装于机架顶端靠近轴心处,所述底座顶端靠近轴心处固定安装有操作台,所述操作台外壁一侧通过螺栓固定安装有电机,所述电机动力输出端贯穿操作台且固定连接有转轴,所述转轴外部两侧固定安装有涡轮杆,所述转轴外部靠近轴心处固定安装有主动齿轮,所述操作台内部位于转轴上方处固定安装有支撑板,所述支撑板表面开设有滑槽和滑套,且滑套位于滑槽内侧,所述滑槽内部滑动安装有二号移动杆,所述二号移动杆顶端固定安装有夹持板,所述滑套内部滑动安装有一号移动杆,所述一号移动杆顶端固定安装有放置台。
优选的,所述一号移动杆底端延伸至主动齿轮一侧,所述一号移动杆远离主动齿轮的一侧设置有从动齿轮,且从动齿轮通过转动轴与操作台转动连接,所述一号移动杆外壁两侧固定安装有外齿,其中两组所述二号移动杆底端分别延伸至其中两组所述涡轮杆一侧。
优选的,所述夹持板一侧表面粘连有橡胶垫,所述压焊机底端固定安装有焊头。
优选的,所述转轴另一端通过轴承座转动安装于操作台内壁一侧。
优选的,所述一号移动杆通过外齿均与主动齿轮和从动齿轮啮合连接。
优选的,所述二号移动杆与涡轮杆啮合连接。
与现有技术相比,本实用新型的有益效果是:
1、本实用新型通过安装的夹持板,在实际使用时,电机正向转动可带动转轴进行转动,转轴则带动涡轮杆和主动齿轮进行转动,涡轮杆使得与之啮合的二号移动杆向左右两端移动,则带动夹持板张开,同时主动齿轮配合上从动齿轮可带动一号移动杆向上端移动,当夹持板打开时,一号移动杆则能将放置台顶出,然后停止电机的工作,将锂电池盖帽放置于夹持板之间的放置台上,再控制电机进行反向转动,涡轮杆的转动使得二号移动杆向中心移动,同时主动齿轮配合上从动齿轮可带动一号移动杆向下端移动,则能带动放置台向下移动,当放置台移动至夹持板下方时,夹持板则能刚好将锂电池盖帽夹住,同时电机可停止工作,不仅方便人们对锂电池帽盖的夹持固定,还能防止因人工过度用力对锂电池盖帽造成损坏,可有效提高工作效率。
2、本实用新型通过安装的放置台,在实际使用时,只需将锂电池盖帽放在放置台上即可将手收回,不需要人工手持帽盖等待夹持板的夹持,可有效避免夹持板对手指造成伤害,提高了该装置的使用安全性,同时也能更进一步降低劳动强度,自动化程度高。
附图说明
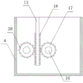
图1为本实用新型的整体结构示意图;
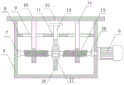
图2为本实用新型的操作台内部结构示意图;
图3为本实用新型的夹持状态结构示意图;
图4为本实用新型的夹持板结构示意图;
图5为本实用新型的操作台内部侧视图。
图中:1-底座;2-机架;3-压焊机;4-操作台;5-焊头;6-电机;7-轴承座;8-支撑板;9-滑槽;10-夹持板;11-滑套;12-橡胶垫;13-一号移动杆;14-二号移动杆;15-涡轮杆;16-转轴;17-主动齿轮;18-外齿;19-放置台;20-从动齿轮。
具体实施方式
下面将结合本实用新型实施例中的附图,对本实用新型实施例中的技术方案进行清楚、完整地描述,显然,所描述的实施例仅仅是本实用新型一部分实施例,而不是全部的实施例。基于本实用新型中的实施例,本领域普通技术人员在没有做出创造性劳动前提下所获得的所有其他实施例,都属于本实用新型保护的范围。
请参阅图1-5,本实用新型提供一种技术方案:一种用于锂电池装配的压焊装置,包括底座1、机架2和压焊机3,所述机架2固定安装于底座1上端,所述压焊机3固定安装于机架2顶端靠近轴心处,所述底座1顶端靠近轴心处固定安装有操作台4,所述操作台4外壁一侧通过螺栓固定安装有电机6,所述电机6动力输出端贯穿操作台4且固定连接有转轴16,所述转轴16外部两侧固定安装有涡轮杆15,所述转轴16外部靠近轴心处固定安装有主动齿轮17,所述操作台4内部位于转轴16上方处固定安装有支撑板8,所述支撑板8表面开设有滑槽9和滑套11,且滑套11位于滑槽9内侧,所述滑槽9内部滑动安装有二号移动杆14,滑槽9可对二号移动杆14起到支撑作用,所述二号移动杆14顶端固定安装有夹持板10,所述滑套11内部滑动安装有一号移动杆13,滑套11可对一号移动杆13起到支撑作用,所述一号移动杆13顶端固定安装有放置台19。其中,所述一号移动杆13底端延伸至主动齿轮17一侧,所述一号移动杆13远离主动齿轮17的一侧设置有从动齿轮20,且从动齿轮20通过转动轴与操作台4转动连接,所述一号移动杆13外壁两侧固定安装有外齿18,其中两组所述二号移动杆14底端分别延伸至其中两组所述涡轮杆15一侧,使用时,电机6正向转动可带动转轴16进行转动,转轴16则带动涡轮杆15和主动齿轮17进行转动,涡轮杆15使得与之啮合的二号移动杆14向左右两端移动,则带动夹持板10张开,同时主动齿轮17配合上从动齿轮20可带动一号移动杆13向上端移动,当夹持板10打开时,一号移动杆13则能将放置台19顶出,然后停止电机6的工作,将锂电池盖帽放置于夹持板10之间的放置台19上,再控制电机6进行反向转动,涡轮杆15的转动使得二号移动杆14向中心移动,同时主动齿轮17配合上从动齿轮20可带动一号移动杆13向下端移动,则能带动放置台19向下移动,当放置台19移动至夹持板10下方时,夹持板10则能刚好将锂电池盖帽夹住,同时电机6可停止工作,不仅方便人们对锂电池帽盖的夹持固定,还能防止因人工过度用力对锂电池盖帽造成损坏,可有效提高工作效率。
其中,所述夹持板10一侧表面粘连有橡胶垫12,可增大夹持板10与帽盖之间的摩擦力,提高夹持的稳定性,同时也能避免对帽盖造成的磨损,所述压焊机3底端固定安装有焊头5,可通过焊头5对帽盖进行压焊作业。
其中,所述转轴16另一端通过轴承座7转动安装于操作台4内壁一侧,可对转轴16起到支撑固定作用。
工作原理:在使用时,电机6正向转动可带动转轴16进行转动,转轴16则带动涡轮杆15和主动齿轮17进行转动,涡轮杆15使得与之啮合的二号移动杆14向左右两端移动,则带动夹持板10张开,同时主动齿轮17配合上从动齿轮20可带动一号移动杆13向上端移动,当夹持板10打开时,一号移动杆13则能将放置台19顶出,然后停止电机6的工作,将锂电池盖帽放置于夹持板10之间的放置台19上,再控制电机6进行反向转动,涡轮杆15的转动使得二号移动杆14向中心移动,同时主动齿轮17配合上从动齿轮20可带动一号移动杆13向下端移动,则能带动放置台19向下移动,当放置台19移动至夹持板10下方时,夹持板10则能刚好将锂电池盖帽夹住,同时电机6可停止工作,然后再通过焊头5对锂电池盖帽进行压焊。
需要说明的是,在本文中,诸如第一和第二等之类的关系术语仅仅用来将一个实体或者操作与另一个实体或操作区分开来,而不一定要求或者暗示这些实体或操作之间存在任何这种实际的关系或者顺序。而且,术语“包括”、“包含”或者其任何其他变体意在涵盖非排他性的包含,从而使得包括一系列要素的过程、方法、物品或者设备不仅包括那些要素,而且还包括没有明确列出的其他要素,或者是还包括为这种过程、方法、物品或者设备所固有的要素。
尽管已经示出和描述了本实用新型的实施例,对于本领域的普通技术人员而言,可以理解在不脱离本实用新型的原理和精神的情况下可以对这些实施例进行多种变化、修改、替换和变型,本实用新型的范围由所附权利要求及其等同物限定。
Claims (6)
1.一种用于锂电池装配的压焊装置,包括底座(1)、机架(2)和压焊机(3),所述机架(2)固定安装于底座(1)上端,所述压焊机(3)固定安装于机架(2)顶端靠近轴心处,其特征在于:所述底座(1)顶端靠近轴心处固定安装有操作台(4),所述操作台(4)外壁一侧通过螺栓固定安装有电机(6),所述电机(6)动力输出端贯穿操作台(4)且固定连接有转轴(16),所述转轴(16)外部两侧固定安装有涡轮杆(15),所述转轴(16)外部靠近轴心处固定安装有主动齿轮(17),所述操作台(4)内部位于转轴(16)上方处固定安装有支撑板(8),所述支撑板(8)表面开设有滑槽(9)和滑套(11),且滑套(11)位于滑槽(9)内侧,所述滑槽(9)内部滑动安装有二号移动杆(14),所述二号移动杆(14)顶端固定安装有夹持板(10),所述滑套(11)内部滑动安装有一号移动杆(13),所述一号移动杆(13)顶端固定安装有放置台(19)。
2.根据权利要求1所述的一种用于锂电池装配的压焊装置,其特征在于:所述一号移动杆(13)底端延伸至主动齿轮(17)一侧,所述一号移动杆(13)远离主动齿轮(17)的一侧设置有从动齿轮(20),且从动齿轮(20)通过转动轴与操作台(4)转动连接,所述一号移动杆(13)外壁两侧固定安装有外齿(18),其中两组所述二号移动杆(14)底端分别延伸至其中两组所述涡轮杆(15)一侧。
3.根据权利要求1所述的一种用于锂电池装配的压焊装置,其特征在于:所述夹持板(10)一侧表面粘连有橡胶垫(12),所述压焊机(3)底端固定安装有焊头(5)。
4.根据权利要求1所述的一种用于锂电池装配的压焊装置,其特征在于:所述转轴(16)另一端通过轴承座(7)转动安装于操作台(4)内壁一侧。
5.根据权利要求1所述的一种用于锂电池装配的压焊装置,其特征在于:所述一号移动杆(13)通过外齿(18)均与主动齿轮(17)和从动齿轮(20)啮合连接。
6.根据权利要求1所述的一种用于锂电池装配的压焊装置,其特征在于:所述二号移动杆(14)与涡轮杆(15)啮合连接。
Priority Applications (1)
| Application Number | Priority Date | Filing Date | Title |
|---|---|---|---|
| CN201921568415.3U CN210967536U (zh) | 2019-09-20 | 2019-09-20 | 一种用于锂电池装配的压焊装置 |
Applications Claiming Priority (1)
| Application Number | Priority Date | Filing Date | Title |
|---|---|---|---|
| CN201921568415.3U CN210967536U (zh) | 2019-09-20 | 2019-09-20 | 一种用于锂电池装配的压焊装置 |
Publications (1)
| Publication Number | Publication Date |
|---|---|
| CN210967536U true CN210967536U (zh) | 2020-07-10 |
Family
ID=71439653
Family Applications (1)
| Application Number | Title | Priority Date | Filing Date |
|---|---|---|---|
| CN201921568415.3U Expired - Fee Related CN210967536U (zh) | 2019-09-20 | 2019-09-20 | 一种用于锂电池装配的压焊装置 |
Country Status (1)
| Country | Link |
|---|---|
| CN (1) | CN210967536U (zh) |
Cited By (1)
| Publication number | Priority date | Publication date | Assignee | Title |
|---|---|---|---|---|
| CN113851732A (zh) * | 2021-09-18 | 2021-12-28 | 江西省中子能源有限公司 | 一种锂电池生产用封口装置 |
-
2019
- 2019-09-20 CN CN201921568415.3U patent/CN210967536U/zh not_active Expired - Fee Related
Cited By (2)
| Publication number | Priority date | Publication date | Assignee | Title |
|---|---|---|---|---|
| CN113851732A (zh) * | 2021-09-18 | 2021-12-28 | 江西省中子能源有限公司 | 一种锂电池生产用封口装置 |
| CN113851732B (zh) * | 2021-09-18 | 2023-06-09 | 江西省中子能源有限公司 | 一种锂电池生产用封口装置 |
Similar Documents
| Publication | Publication Date | Title |
|---|---|---|
| CN214024214U (zh) | 一种自动化焊接机的工件翻转装置 | |
| CN112388134B (zh) | 一种新能源锂电池组的快速焊接装置 | |
| CN213411005U (zh) | 一种防掉落的锂电池组装用多角度翻转设备 | |
| CN210967536U (zh) | 一种用于锂电池装配的压焊装置 | |
| CN217992458U (zh) | 一种光伏组件检测用翻转装置 | |
| CN208961670U (zh) | 一种冲压件去毛刺打磨治具 | |
| CN215451486U (zh) | 一种电池外壳组装机 | |
| CN212291451U (zh) | 一种便于携带垃圾桶的三轮车 | |
| CN210587412U (zh) | 一种高效率切管机 | |
| CN211072356U (zh) | 一种锅炉生产用便于调节的焊接装置 | |
| CN214866288U (zh) | 发电机外壳定位矫正装置 | |
| CN116689931A (zh) | 一种锂电池盖帽压焊装置及其使用方法 | |
| CN210232661U (zh) | 一种生物医疗用异体骨的夹持装置 | |
| CN212885885U (zh) | 一种锂电池盖帽压焊装置 | |
| CN210001889U (zh) | 一种金属材料热处理用夹取装置 | |
| CN110587017B (zh) | 一种锂电池加工使用的分条机及其方法 | |
| CN208470200U (zh) | 一种三工位旋转工作台 | |
| CN210847043U (zh) | 一种锂电池生产表面耐热水性涂层干燥装置 | |
| CN217991988U (zh) | 一种锂电池铝壳用打磨装置 | |
| CN214489069U (zh) | 一种带锯床转角机构 | |
| CN220923328U (zh) | 一种用于动能电池保护膜的粘贴装置 | |
| CN222020916U (zh) | 一种新型锂电池盖帽压焊装置 | |
| CN220579330U (zh) | 一种金属材料的热处理装置 | |
| CN223218363U (zh) | 一种锂电池盖帽封装机 | |
| CN222282081U (zh) | 一种全自动捏耳机 |
Legal Events
| Date | Code | Title | Description |
|---|---|---|---|
| GR01 | Patent grant | ||
| GR01 | Patent grant | ||
| CF01 | Termination of patent right due to non-payment of annual fee |
Granted publication date: 20200710 |
|
| CF01 | Termination of patent right due to non-payment of annual fee |