CN210965852U - Biomass particle separation device - Google Patents
Biomass particle separation device Download PDFInfo
- Publication number
- CN210965852U CN210965852U CN201921887443.1U CN201921887443U CN210965852U CN 210965852 U CN210965852 U CN 210965852U CN 201921887443 U CN201921887443 U CN 201921887443U CN 210965852 U CN210965852 U CN 210965852U
- Authority
- CN
- China
- Prior art keywords
- screen
- separation box
- box
- welded
- dust collection
- Prior art date
- Legal status (The legal status is an assumption and is not a legal conclusion. Google has not performed a legal analysis and makes no representation as to the accuracy of the status listed.)
- Expired - Fee Related
Links
Images
Landscapes
- Combined Means For Separation Of Solids (AREA)
Abstract
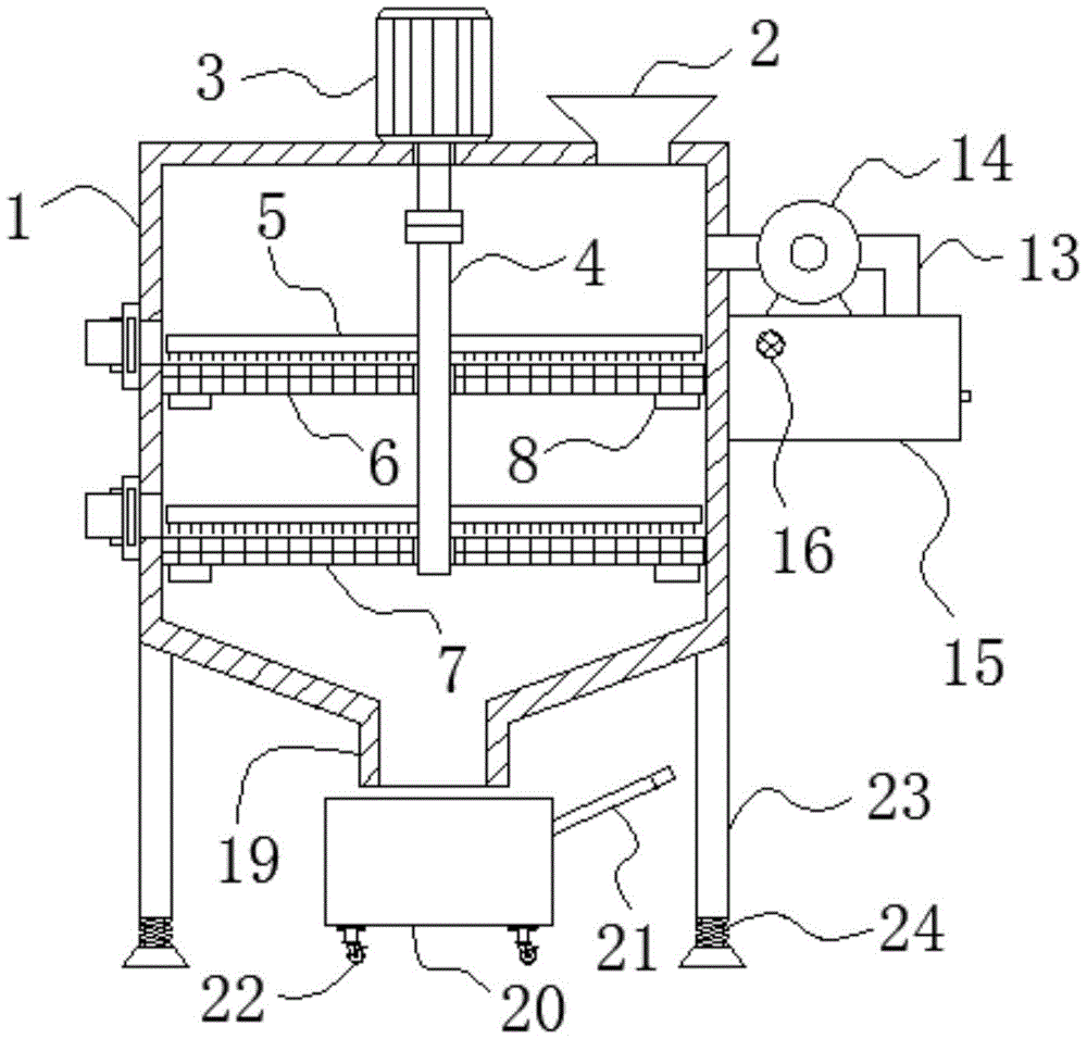
本实用新型公开了一种生物质颗粒分离装置,包括分离箱,所述第一筛网和第二筛网的底部均通过螺栓固定有多个震动器,所述转轴的外壁焊接有多个拨料刷,所述粉尘收集管上螺接有抽风机,所述碎料出口的底部设置有碎料收集车,本实用新型通过第一筛网和第二筛网对生物质颗粒进行分级筛选,可以筛分出不同直径的颗粒,同时利用拨料刷拨动筛网上的生物质颗粒,使生物质颗粒更加均匀的分布在筛网上且可以防止筛网被堵塞,通过抽风机将生物质颗粒中的粉尘吸入粉尘收集箱进行收集,将收集的粉尘和筛分过的碎料回收作为制粒原料,减少资源浪费,提高利用率,同时去除粉尘也提高了生物质颗粒的燃烧效果。
The utility model discloses a biomass particle separation device, which comprises a separation box, a plurality of vibrators are fixed on the bottoms of the first screen and the second screen by bolts, and the outer wall of the rotating shaft is welded with a plurality of dials A material brush, an exhaust fan is screwed on the dust collection pipe, a debris collection truck is arranged at the bottom of the debris outlet, and the utility model uses the first screen and the second screen to classify and screen the biomass particles, Particles with different diameters can be screened out, and at the same time, the biomass particles on the screen can be moved by the scraping brush, so that the biomass particles are more evenly distributed on the screen and can prevent the screen from being blocked. The collected dust is inhaled into the dust collection box for collection, and the collected dust and sieved scraps are recycled as raw materials for granulation, which reduces waste of resources and improves the utilization rate. At the same time, removing dust also improves the combustion effect of biomass particles.
Description
技术领域technical field
本实用新型涉及生物质加工技术领域,具体为一种生物质颗粒分离装置。The utility model relates to the technical field of biomass processing, in particular to a biomass particle separation device.
背景技术Background technique
生物质燃料由秸秆、稻草、稻壳、花生壳、玉米芯、油茶壳、棉籽壳等以及“三剩物”经过加工产生的块状环保新能源,生物质颗粒的直径一般为6~10毫米,在加工生产生物质颗粒的过程中需要对生物质颗粒进行筛分,现有的生物质颗粒机大都不能分级筛选,筛分效率较低,造成较大生物质颗粒容易堵塞筛孔,且生物质颗粒在生产中会存在大量的生物燃料粉末,这些粉末会影响生物质颗粒的燃烧效果。Biomass fuel is a block-shaped environmentally friendly new energy produced by processing straw, straw, rice husk, peanut husk, corncob, camellia husk, cottonseed husk, etc. , In the process of processing and producing biomass particles, it is necessary to screen the biomass particles. Most of the existing biomass particle machines cannot be classified and screened, and the screening efficiency is low, which causes the larger biomass particles to easily block the sieve holes, and the biomass There will be a large amount of biofuel powder in the production of pellets, and these powders will affect the combustion effect of biomass pellets.
实用新型内容Utility model content
本实用新型的目的在于提供一种生物质颗粒分离装置,该装置设有两级筛网可以对生物质颗粒进行分级筛选,且设置有粉尘收集箱对粉尘进行收集,作为制粒原料,减少了资源的浪费,去除粉尘也提高了生物质颗粒的燃烧效果,以解决上述背景技术中提出的问题。The purpose of this utility model is to provide a biomass particle separation device. The device is provided with two-stage screens to classify and screen biomass particles, and a dust collection box is provided to collect dust. Waste of resources, removal of dust also improves the combustion effect of biomass particles, so as to solve the problems raised in the above background art.
为实现上述目的,本实用新型提供如下技术方案:一种生物质颗粒分离装置,包括分离箱,所述分离箱的顶部开设有进料口,所述分离箱的顶部中心处通过螺栓固定有伺服电机,所述伺服电机的输出轴穿过分离箱并通过联轴器与转轴固定连接,所述转轴与第一筛网和第二筛网的中心处转动连接,所述第一筛网和第二筛网均焊接在分离箱的内壁上,所述第一筛网和第二筛网的底部均通过螺栓固定有多个震动器,所述转轴的外壁焊接有多个拨料刷,所述拨料刷的底部分别抵止在第一筛网和第二筛网上,所述分离箱的侧壁上开设有多个出料口,所述出料口上焊接有连接块,所述连接块内插接有挡料板,所述分离箱的侧壁上焊接有粉尘收集管,所述粉尘收集管上螺接有抽风机,所述粉尘收集管的端部插入粉尘收集箱内部,所述粉尘收集箱的前壁上开设有出风口,所述粉尘收集箱上设置有抽屉,所述分离箱的底部开设有碎料出口,所述碎料出口的底部设置有碎料收集车,所述分离箱的底部焊接有支撑腿。In order to achieve the above purpose, the utility model provides the following technical solutions: a biomass particle separation device, comprising a separation box, the top of the separation box is provided with a feeding port, and the center of the top of the separation box is fixed with a servo Motor, the output shaft of the servo motor passes through the separation box and is fixedly connected to the rotating shaft through the coupling, and the rotating shaft is rotatably connected to the center of the first screen mesh and the second screen mesh, the first screen mesh and the second screen mesh are rotatably connected. The two screens are welded on the inner wall of the separation box, the bottoms of the first screen and the second screen are fixed with a plurality of vibrators by bolts, and the outer wall of the rotating shaft is welded with a plurality of brushes. The bottoms of the brushes rest on the first screen mesh and the second screen respectively, a plurality of discharge ports are opened on the side walls of the separation box, and connection blocks are welded on the discharge ports, and inside the connection blocks A baffle plate is inserted, a dust collection pipe is welded on the side wall of the separation box, an exhaust fan is screwed on the dust collection pipe, and the end of the dust collection pipe is inserted into the dust collection box. The front wall of the collection box is provided with an air outlet, the dust collection box is provided with a drawer, the bottom of the separation box is provided with a crushed material outlet, and the bottom of the crushed material outlet is provided with a crushed material collection vehicle. The bottom of the box has support legs welded.
优选的,所述第一筛网设置在第二筛网的上方,所述第一筛网的孔径大于第二筛网的孔径。Preferably, the first screen is arranged above the second screen, and the aperture of the first screen is larger than the aperture of the second screen.
优选的,所述分离箱的侧壁上设置有观测窗,所述观测窗设置在出料口的旁边。Preferably, an observation window is arranged on the side wall of the separation box, and the observation window is arranged beside the discharge port.
优选的,所述出风口上设置有滤网,所述抽屉上设置有把手。Preferably, the air outlet is provided with a filter screen, and the drawer is provided with a handle.
优选的,分离箱的底部设置为倾斜,所述分离箱的底部倾斜角度为20°,所述支撑腿的底部设置有减震弹簧。Preferably, the bottom of the separation box is set to be inclined, the inclination angle of the bottom of the separation box is 20°, and the bottom of the support leg is provided with a shock-absorbing spring.
优选的,所述碎料收集车的底部焊接有万向轮,所述碎料收集车的侧壁上焊接有拉杆。Preferably, a universal wheel is welded on the bottom of the scrap collecting vehicle, and a pull rod is welded on the side wall of the scrap collecting vehicle.
与现有技术相比,本实用新型的有益效果是:Compared with the prior art, the beneficial effects of the present utility model are:
1、通过第一筛网和第二筛网对生物质颗粒进行分级筛选,可以筛分出不同直径的颗粒,同时利用拨料刷拨动筛网上的生物质颗粒,使生物质颗粒更加均匀的分布在筛网上且可以防止筛网被堵塞;1. The biomass particles are classified and screened through the first screen and the second screen, and particles of different diameters can be screened out. At the same time, the biomass particles on the screen can be moved by the brush to make the biomass particles more uniform. Distributed on the screen and can prevent the screen from being blocked;
2、通过抽风机将生物质颗粒中的粉尘吸入粉尘收集箱进行收集,将收集的粉尘和筛分过的碎料回收作为制粒原料,减少资源浪费,提高利用率,同时去除粉尘也提高了生物质颗粒的燃烧效果。2. The dust in the biomass particles is sucked into the dust collection box for collection by the exhaust fan, and the collected dust and sieved scraps are recycled as raw materials for granulation, which reduces the waste of resources and improves the utilization rate. At the same time, the removal of dust also improves the The combustion effect of biomass pellets.
附图说明Description of drawings
图1为本实用新型的结构示意图;Fig. 1 is the structural representation of the utility model;
图2为本实用新型的左视示意图;Fig. 2 is the left side schematic diagram of the utility model;
图3为本实用新型的右视示意图;Fig. 3 is the right side schematic diagram of the utility model;
图4为本实用新型的俯视示意图。FIG. 4 is a schematic top view of the utility model.
图中:1、分离箱;2、进料口;3、伺服电机;4、转轴;5、拨料刷;6、第一筛网;7、第二筛网;8、震动器;9、连接块;10、挡料板;11、出料口;12、观测窗;13、粉尘收集管;14、抽风机;15、粉尘收集箱;16、出风口;17、抽屉;18、把手;19、碎料出口;20、碎料收集车;21、拉杆;22、万向轮;23、支撑腿;24、减震弹簧。In the picture: 1. Separation box; 2. Feeding port; 3. Servo motor; 4. Rotating shaft; 5. Material removal brush; 6. First screen; 7. Second screen; 8. Vibrator; 9. Connection block; 10, baffle plate; 11, discharge port; 12, observation window; 13, dust collection pipe; 14, exhaust fan; 15, dust collection box; 16, air outlet; 17, drawer; 18, handle; 19. Crushed material export; 20. Crushed material collection vehicle; 21. Pull rod; 22. Universal wheel; 23. Supporting leg; 24. Shock-absorbing spring.
具体实施方式Detailed ways
下面将结合本实用新型实施例中的附图,对本实用新型实施例中的技术方案进行清楚、完整地描述,显然,所描述的实施例仅仅是本实用新型一部分实施例,而不是全部的实施例。基于本实用新型中的实施例,本领域普通技术人员在没有做出创造性劳动前提下所获得的所有其他实施例,都属于本实用新型保护的范围。The technical solutions in the embodiments of the present utility model will be clearly and completely described below with reference to the accompanying drawings in the embodiments of the present utility model. Obviously, the described embodiments are only a part of the embodiments of the present utility model, rather than all the implementations. example. Based on the embodiments of the present invention, all other embodiments obtained by those of ordinary skill in the art without creative work fall within the protection scope of the present invention.
请参阅图1-4,本实用新型提供一种技术方案:一种生物质颗粒分离装置,包括分离箱1,分离箱1的顶部开设有进料口2,进料口2设置为喇叭状方便进料,分离箱1的顶部中心处通过螺栓固定有伺服电机3,伺服电机3的输出轴穿过分离箱1并通过联轴器与转轴4固定连接,转轴4与第一筛网6和第二筛网7的中心处转动连接,第一筛网6和第二筛网7均焊接在分离箱1的内壁上,第一筛网6设置在第二筛网7的上方,第一筛网6的孔径大于第二筛网7的孔径,可以筛分出不同直径的生物质颗粒,第一筛网6和第二筛网7的底部均通过螺栓固定有多个震动器8,震动器8对第一筛网6和第二筛网7进行震动,可以让生物质颗粒更好的掉落到下一层,减少堵塞筛网的可能性,转轴4的外壁焊接有多个拨料刷5,拨料刷5的底部分别抵止在第一筛网6和第二筛网7上,拨料刷5可以将掉落到第一筛网6和第二筛网7的生物质颗粒均匀的分布到整个筛网表面,方便筛选,也可以将生物质颗粒从出料口11拨出;1-4, the present utility model provides a technical solution: a biomass particle separation device, comprising a
分离箱1的侧壁上开设有多个出料口11,分离箱1的侧壁上设置有观测窗12,观测窗12设置在出料口11的旁边,可以观察分离箱1内的筛分情况,及时的打开出料口11出料,出料口11上焊接有连接块9,连接块9内插接有挡料板10,控制出料口11的闭合,分离箱1的侧壁上焊接有粉尘收集管13,粉尘收集管13上螺接有抽风机14,粉尘收集管13的端部插入粉尘收集箱15内部,抽风机14会将生物质颗粒中混杂的粉尘吸入粉尘收集箱中,粉尘收集箱15的前壁上开设有出风口16,出风口16上设置有滤网,将粉尘留在粉尘收集箱15内,用做重新制粒的原料,粉尘收集箱15上设置有抽屉17,抽屉17上设置有把手18,便于粉尘的取出,分离箱1的底部开设有碎料出口19,分离箱1的底部设置为倾斜,分离箱1的底部倾斜角度为20°,便于筛选不及格的碎料落入碎料收集车20中,碎料出口19的底部设置有碎料收集车20,碎料收集车20的底部焊接有万向轮22,便于移动碎料收集车20的侧壁上焊接有拉杆21,便于拉着碎料收集车20,节省拉动的体力,为了确保分离箱1的稳定,分离箱1的底部焊接有支撑腿23,因为分离箱1内设置有震动器8,所述支撑腿23的底部设置有减震弹簧24进行减震。The side wall of the
工作原理:将需要进行筛分的生物质颗粒通过进料口2倒入分离箱1的内部,在生物质颗粒落到第一筛网6的过程中,抽风机14会通过粉尘收集管13将生物质颗粒中混杂的粉尘吸入粉尘收集箱15中进行收集,留作重新制粒的原料,生物质颗粒掉到第一筛网6上,伺服电机3通过转轴4带动拨料刷5转动,拨料刷5会将第一筛网6上的生物质颗粒均匀的分布在第一筛网6的表面,震动器8会为第一筛网6提供震动,使得小于第一筛网6孔径的生物质颗粒掉入第二筛网7上,设置在第二筛网7上部的拨料刷5会将第二筛网7上的生物质颗粒均匀的分布在第二筛网7的表面,同样的,设置在第二筛网7底部的震动器8会为第二筛网7提供震动,使得小于第二筛网7孔径的生物质颗粒掉入分离箱1的底部,通过碎料出口19落入碎料收集车20内;Working principle: The biomass particles that need to be screened are poured into the
通过观测窗12观察分离箱1内的情况,当发现第一筛网6和第二筛网7上的生物质颗粒较多时,移动挡料板10打开出料口11,这是拨料刷5会将生物质颗粒从出料口11拨出,落入不同的收集装置中,当生物质颗粒拨出后,及时关闭出料口11,当筛分完成后,将粉尘收集箱15中的粉尘通过抽屉17拿出放入碎料收集车20中,将碎料收集车20中的粉尘和不合格的碎料重新运回制粒机中重新制粒,以此来减少资源上的浪费。Observe the situation in the
尽管已经示出和描述了本实用新型的实施例,对于本领域的普通技术人员而言,可以理解在不脱离本实用新型的原理和精神的情况下可以对这些实施例进行多种变化、修改、替换和变型,本实用新型的范围由所附权利要求及其等同物限定。Although the embodiments of the present invention have been shown and described, it will be understood by those skilled in the art that various changes and modifications can be made to these embodiments without departing from the principles and spirit of the present invention , alternatives and modifications, the scope of the present invention is defined by the appended claims and their equivalents.
Claims (6)
Priority Applications (1)
| Application Number | Priority Date | Filing Date | Title |
|---|---|---|---|
| CN201921887443.1U CN210965852U (en) | 2019-11-05 | 2019-11-05 | Biomass particle separation device |
Applications Claiming Priority (1)
| Application Number | Priority Date | Filing Date | Title |
|---|---|---|---|
| CN201921887443.1U CN210965852U (en) | 2019-11-05 | 2019-11-05 | Biomass particle separation device |
Publications (1)
| Publication Number | Publication Date |
|---|---|
| CN210965852U true CN210965852U (en) | 2020-07-10 |
Family
ID=71446108
Family Applications (1)
| Application Number | Title | Priority Date | Filing Date |
|---|---|---|---|
| CN201921887443.1U Expired - Fee Related CN210965852U (en) | 2019-11-05 | 2019-11-05 | Biomass particle separation device |
Country Status (1)
| Country | Link |
|---|---|
| CN (1) | CN210965852U (en) |
Cited By (6)
| Publication number | Priority date | Publication date | Assignee | Title |
|---|---|---|---|---|
| CN111889372A (en) * | 2020-07-16 | 2020-11-06 | 廖策华 | A raw materials classified screening device for flour processing |
| CN112774577A (en) * | 2021-01-07 | 2021-05-11 | 江苏粤海饲料有限公司 | Can improve fodder granulator of feed utilization rate |
| CN113118016A (en) * | 2021-04-27 | 2021-07-16 | 安徽省珍云生物能源有限公司 | Impurity removal device for biomass fuel processing and use method thereof |
| CN113578510A (en) * | 2021-06-24 | 2021-11-02 | 陕西恒盛混凝土有限公司 | Production system for machine-made sand concrete |
| CN114082650A (en) * | 2022-01-11 | 2022-02-25 | 潍坊天洁环保科技有限公司 | Vertical multistage mining coarse screening device |
| CN114347309A (en) * | 2022-03-16 | 2022-04-15 | 山东永创材料科技有限公司 | Separator is used in resin production |
-
2019
- 2019-11-05 CN CN201921887443.1U patent/CN210965852U/en not_active Expired - Fee Related
Cited By (6)
| Publication number | Priority date | Publication date | Assignee | Title |
|---|---|---|---|---|
| CN111889372A (en) * | 2020-07-16 | 2020-11-06 | 廖策华 | A raw materials classified screening device for flour processing |
| CN112774577A (en) * | 2021-01-07 | 2021-05-11 | 江苏粤海饲料有限公司 | Can improve fodder granulator of feed utilization rate |
| CN113118016A (en) * | 2021-04-27 | 2021-07-16 | 安徽省珍云生物能源有限公司 | Impurity removal device for biomass fuel processing and use method thereof |
| CN113578510A (en) * | 2021-06-24 | 2021-11-02 | 陕西恒盛混凝土有限公司 | Production system for machine-made sand concrete |
| CN114082650A (en) * | 2022-01-11 | 2022-02-25 | 潍坊天洁环保科技有限公司 | Vertical multistage mining coarse screening device |
| CN114347309A (en) * | 2022-03-16 | 2022-04-15 | 山东永创材料科技有限公司 | Separator is used in resin production |
Similar Documents
| Publication | Publication Date | Title |
|---|---|---|
| CN210965852U (en) | Biomass particle separation device | |
| CN104259091A (en) | Separated double-layer rotary drum spiral screening device and method | |
| CN110395927B (en) | Mechanical equipment for preparing regenerated sand stone material by utilizing building garbage particles | |
| CN209501899U (en) | A solid waste treatment device | |
| CN221719974U (en) | A dust-free feeding device | |
| CN210876717U (en) | Domestic garbage and fly ash brick making device | |
| CN210098242U (en) | A kind of double type impurity removal and environmental protection grain cleaning machine | |
| CN209866595U (en) | Bio-organic fertilizer screening machine | |
| CN206778623U (en) | A crusher receiving device | |
| CN113680429B (en) | A kind of material processing technology based on graphene particles | |
| CN206567224U (en) | A kind of screening plant of dry seed | |
| CN212093172U (en) | Gypsum powder screening and filtering device | |
| CN210876214U (en) | Filtering and screening device for powdery material | |
| CN210701092U (en) | Vibration screening device for crushing copper-aluminum water tank | |
| CN212348598U (en) | A dust removal recovery plant for blendor | |
| CN203044160U (en) | Refractory brick raw material vibrating screen | |
| CN107520116A (en) | A kind of impurity removing equipment for rapeseed | |
| CN220716679U (en) | Particle screening device | |
| CN220879528U (en) | Can carry out feed arrangement for corn storage that sieves impurity in corn | |
| CN212215745U (en) | Waste lithium battery recovery device | |
| CN221908262U (en) | Device for removing impurities from biomass pellet fuel | |
| CN223145312U (en) | Powder screening device for mesophase carbon microsphere production process | |
| CN221832466U (en) | A biomass fuel particle screening device | |
| CN221685035U (en) | Cleaning device for dryer | |
| CN211303710U (en) | A kind of water-soluble fertilizer granulation conveying mechanism |
Legal Events
| Date | Code | Title | Description |
|---|---|---|---|
| GR01 | Patent grant | ||
| GR01 | Patent grant | ||
| TR01 | Transfer of patent right | ||
| TR01 | Transfer of patent right |
Effective date of registration: 20241118 Address after: 344900 Jiangxi Yunshun New Energy Co., Ltd., Zhenxing Road, Guangchang County Industrial Park, Fuzhou City, Jiangxi Province Patentee after: Jiangxi Zhanyue New Energy Co.,Ltd. Country or region after: China Address before: 344000 Guangchang Industrial Park, Guangchang County, Fuzhou City, Jiangxi Province Patentee before: Jiangxi Yunshun new energy Co.,Ltd. Country or region before: China |
|
| CF01 | Termination of patent right due to non-payment of annual fee | ||
| CF01 | Termination of patent right due to non-payment of annual fee |
Granted publication date: 20200710 |
