CN210961934U - 用于关节压痛检测装置的压力头结构 - Google Patents
用于关节压痛检测装置的压力头结构 Download PDFInfo
- Publication number
- CN210961934U CN210961934U CN201921744308.1U CN201921744308U CN210961934U CN 210961934 U CN210961934 U CN 210961934U CN 201921744308 U CN201921744308 U CN 201921744308U CN 210961934 U CN210961934 U CN 210961934U
- Authority
- CN
- China
- Prior art keywords
- pressure
- guide
- pressing piece
- pressure button
- button
- Prior art date
- Legal status (The legal status is an assumption and is not a legal conclusion. Google has not performed a legal analysis and makes no representation as to the accuracy of the status listed.)
- Expired - Fee Related
Links
- 208000006820 Arthralgia Diseases 0.000 title claims abstract description 33
- 238000001514 detection method Methods 0.000 title claims abstract description 30
- 238000007906 compression Methods 0.000 claims abstract description 7
- 230000006835 compression Effects 0.000 claims abstract description 6
- 230000000670 limiting effect Effects 0.000 claims description 18
- 238000000034 method Methods 0.000 claims description 10
- VYPSYNLAJGMNEJ-UHFFFAOYSA-N Silicium dioxide Chemical compound O=[Si]=O VYPSYNLAJGMNEJ-UHFFFAOYSA-N 0.000 claims description 5
- 239000000741 silica gel Substances 0.000 claims description 5
- 229910002027 silica gel Inorganic materials 0.000 claims description 5
- 230000002093 peripheral effect Effects 0.000 claims description 3
- 230000006641 stabilisation Effects 0.000 abstract description 10
- 238000011105 stabilization Methods 0.000 abstract description 10
- 230000002349 favourable effect Effects 0.000 description 8
- 208000002193 Pain Diseases 0.000 description 6
- 201000010099 disease Diseases 0.000 description 6
- 208000037265 diseases, disorders, signs and symptoms Diseases 0.000 description 6
- 230000001737 promoting effect Effects 0.000 description 6
- 239000003814 drug Substances 0.000 description 5
- 230000000694 effects Effects 0.000 description 5
- 230000008569 process Effects 0.000 description 5
- 238000011156 evaluation Methods 0.000 description 4
- 210000001503 joint Anatomy 0.000 description 3
- 206010003246 arthritis Diseases 0.000 description 2
- 238000005452 bending Methods 0.000 description 2
- 238000009434 installation Methods 0.000 description 2
- 230000004044 response Effects 0.000 description 2
- 206010023232 Joint swelling Diseases 0.000 description 1
- 230000009471 action Effects 0.000 description 1
- 230000001174 ascending effect Effects 0.000 description 1
- 230000005540 biological transmission Effects 0.000 description 1
- 238000006073 displacement reaction Methods 0.000 description 1
- 229940079593 drug Drugs 0.000 description 1
- 230000036541 health Effects 0.000 description 1
- 210000000987 immune system Anatomy 0.000 description 1
- 238000000338 in vitro Methods 0.000 description 1
- 230000002757 inflammatory effect Effects 0.000 description 1
- 238000007689 inspection Methods 0.000 description 1
- 208000018937 joint inflammation Diseases 0.000 description 1
- 238000012986 modification Methods 0.000 description 1
- 230000004048 modification Effects 0.000 description 1
- 210000000056 organ Anatomy 0.000 description 1
- 206010039073 rheumatoid arthritis Diseases 0.000 description 1
- 210000002966 serum Anatomy 0.000 description 1
- 230000008961 swelling Effects 0.000 description 1
- 201000004595 synovitis Diseases 0.000 description 1
- 230000009885 systemic effect Effects 0.000 description 1
- 230000008685 targeting Effects 0.000 description 1
- 238000002560 therapeutic procedure Methods 0.000 description 1
Images
Landscapes
- Force Measurement Appropriate To Specific Purposes (AREA)
Abstract
本实用新型涉及医疗设备技术领域,具体涉及用于关节压痛检测装置的压力头结构,包括布置于壳体内的压力传感器、按压件、压力按钮和弹性复位件;压力按钮和按压件之间同轴布置有导向连接柱;导向连接柱朝向压力按钮的一端与压力按钮固定连接,朝向按压件的一端具有能够供按压件沿轴线滑动的导向凹腔,且按压件朝导向凹腔底部滑动时按压部能够与导向凹腔的底壁接触;弹性复位件压缩于导向连接柱和按压件之间,使得弹性复位件能够给导向连接柱施加远离按压件方向的作用力以推动压力按钮复位。本实用新型的压力头结构能够在用户从各个角度按压关节时保持稳定,从而能够辅助提升关节压痛检测装置的工作稳定性。
Description
技术领域
本实用新型涉及医疗设备技术领域,具体涉及用于关节压痛检测装置的压力头结构。
背景技术
风湿病(Rhcumatoid Arthritis,简称为RA)是一种自身免疫性疾病、以炎性滑膜炎为主的系统性疾病,其特征是手、足小关节的多关节、对称性、侵袭性关节炎症,经常伴有关节外器官及血清类风湿因子阳性,可导致关节畸形及功能丧失。该病反复迁延,无特异疗法,严重威胁人们的健康和生活质量。
最常见的一种风湿病为类风湿关节炎病,在我国风湿病的治疗基本上都在中西医结合科和免疫系统疾病科,这样又将病患的体质状态作为用药的考虑因素,所以检验和处方五花八门。正是因为这样的错综复杂,类风湿病患者的用药相当的复杂,没有一种靶向性极强、试验样本极多的可以覆盖大部分患者单一药品可供使用。
申请人通过对类风湿病的治疗观察,发现很多时候,病人在复诊时被询问的、能够判断类风湿病患者康复情况指标是医生判断病况调整新处方的关键参数,经整理后归纳成两大类。一类是主观评价指标,一类是客观评价指标。其中主观评价内容包括:在患者服药期间很难量化的一些只能用文字描饰感觉,定性可以定量很难,比如:还有没有晨僵现象、能不能一个人穿上衣服、毛巾能否拧的干、睡眠是否受影响;而客观评价内容则包括:在患者服药期间可以用仪器设备量化的体外理化参数,比如病患关节的耐受压力值、肿胀尺寸、关节温度、病患关节肿痛手的握力值等。但有些能判断类风湿病情体外特征参数暂时还缺乏简单、快捷、便携的综合性采集实施手段,更别提病患在家里测量了。
针对上述问题,公开号为CN105725970A的中国专利公开了一种病患关节压痛参数检测装置,包括外壳,以及设置在外壳内腔中的按压件,压力传感器,电路模块和无线模块;按压件一端部穿出外壳设置形成按压部,按压件另一端部抵接在压力传感器的感应部上;压力传感器将检测到的压力值传给电路模块;电路模块采集处理压力传感器检测的压力值后上传。该方案能够将检测到的病患关节的疼痛耐压值和正常关节的疼痛耐压值的差值上传,方便对患者病患关节的病情进行监控。
上述方案中,按压件和压力传感器构成一个压力头结构(用于采集压力),压力传感器一端抵接于壳体内,另一端具有用于检测压力的感应端按压件包括一端与压力传感器感应端抵接的压力盘,以及一体成型于压力盘远离压力传感器一端且沿压力盘轴线朝远离压力传感器的方向延伸的按压部,使得施力于按压部时按压部所受的压力能传递给压力盘抵接在压力传感器一端的端部上;按压部远离压力盘的一侧设有与按压件同轴布置的压力按钮,压力按钮朝向按压部的一端用于向按压部传递压力,远离按压部的一端伸出壳体外形成接触部(用于与用户的关节接触),此外,压力按钮和按压件之间还设有弹性复位件,使得每次按压完成后压力按钮能够复位,便于下一次的按压。
现有的压力头结构中,按压件与压力传感器抵接,压力按钮与按压件抵接。使用时,用户通过压力按钮向关节施力,压力按钮沿轴向滑动并给按压部施力,按压部将压力按钮施加的压力传给压力盘并最终由压力传感器完成检测。由于按压件的尺寸很小且压力盘的厚度很薄,现有技术中很难对按压件的周侧进行限位,同时也很难通过弹性复位件进行限位。导致在实际使用过程中,当用户未正对压力按钮施力时(即关节和压力按钮之间呈非垂直的角度施力),弹性复位件在压缩过程中会因倾斜的压力(与按压件的轴线相比倾斜)而弯曲,从而产生向上或向下的分力,由于按压件仅是抵接于压力按钮和压力传感器之间,且按压件的周侧上进行未进行任何限位,那么弹性复位件的分力就很容易将按压件从压力按钮和压力传感器之间顶出,使得整个压力头结构的接触关系瓦解,从而导致整个关节压痛检测装置的工作稳定性不好。
实用新型内容
针对上述现有技术的不足,本实用新型所要解决的技术问题是:如何提供一种能够在各个角度按压关节时保持稳定的压力头结构,以辅助提升关节压痛检测装置的工作稳定性。
为了解决上述技术问题,本实用新型采用了如下的技术方案:
用于关节压痛检测装置的压力头结构,包括布置于壳体内的压力传感器,与压力传感抵接的按压件,与按压件同轴布置的压力按钮,以及弹性复位件,所述按压件远离压力传感器的一端形成按压部;
所述压力按钮和按压件之间同轴布置有导向连接柱;所述导向连接柱朝向压力按钮的一端与压力按钮固定连接,朝向按压件的一端具有能够供按压件沿轴线滑动的导向凹腔,且所述按压件朝导向凹腔底部滑动时按压部能够与导向凹腔的底壁接触;
所述弹性复位件压缩于导向连接柱和按压件之间,使得弹性复位件能够给导向连接柱施加远离按压件方向的作用力以推动压力按钮复位。
本方案中的压力头结构在使用时,用户通过压力按钮向关节施加压力,压力按钮首先将压力传递给导向连接柱,导向连接柱通过导向凹腔的底壁将压力传递给按压部,此时弹性复位件开始存储弹性作用力,按压部通过抵接的形式将压力传递给压力传感器的感应部,从而完成关节的压痛检测;在完成检测过后,弹性复位件开始释放存储的作用力,使得导向连接柱朝远离按压件的一侧运动,导向连接柱能够推动压力按钮完成复位。本方案在关节检测和压力按钮复位的过程中,按压件始终保持在导向凹腔内动作,由导向凹腔对按压件进行周向上的定位,使得用户无论从哪个角度给压力按钮施压,按压件始终能够被限位,使得按压件不易在按压时被顶起,能够保持与压力传感器的接触。因此,本方案的压力头结构能够在用户从各个角度按压关节时保持稳定,从而能够辅助提升关节压痛检测装置的工作稳定性。
优选的,所述弹性复位件布置于导向凹腔内且压缩于导向凹腔的底壁和按压件之间。
这样,将弹性复位件布置于导向凹腔内,导向凹腔内能够对弹性复位件的周向进行限位,使得在给压力按钮施压时,弹性复位件也能被限位,有利于辅助按压件保持与压力传感器的接触,从而提升关节压痛检测装置的工作稳定性。
优选的,所述导向连接柱的外周侧设有与壳体固定连接的导向结构,所述导向结构具有能够与导向连接柱的外周侧壁滑动接触的周向限位部,使得导向连接柱能够在周向限位部的限位作用下保持沿轴线方向滑动。
这样,通过与壳体固定连接的导向结构的周向限位部,能够对导向连接柱的周向进行定位,使得导向连接柱只能够保持沿轴向方向的滑动,从而能够防止导向连接柱整体被弹性复位件顶起,有利于辅助提升关节压痛检测装置的工作稳定性。
优选的,所述周向限位部远离按压件的一侧具有朝导向连接柱轴线方向延伸的端头限位部,使得端头限位部能够对导向连接柱远离按压件的一端进行限位以防止导向连接柱滑出导向结构之外。
这样,通过端头限位部能够对导向连接柱和压力按钮的位置进行限制,防止弹性复位件在复位压力按钮的过程中将导向连接柱和压力按钮推出壳体之外,这也有利于提升关节压痛检测装置的工作稳定性。
优选的,所述导向连接柱朝向压力按钮的一端具有朝压力按钮方向延伸的凸榫,所述压力按钮正对凸榫的一侧具有用于与凸榫卡接的榫槽,使得所述导向连接柱的凸榫能够对应卡接固定于压力按钮的榫槽内。
这样,导向连接柱和压力按钮通过凸榫和榫槽卡接固定,其具有连接稳定和拆卸方便的效果,能够提升关节压痛检测装置的工作稳定性。此外,通过卡接固定方式,在组装压力头结构时,导向连接柱、按压件、弹性复位件和压力传感器的整体结构可直接从壳体上方安装,而压力按钮可从壳体侧壁的安装孔插入后与导向连接柱卡接即可,这能够有效地提升组装压力头结构的效率。
优选的,所述导向凹腔的底壁为内凹的圆弧面,且所述按压部朝向导向凹腔底壁一端的端部为外凸的圆弧面。
这样,导向凹腔的底壁和按压部为弧面接触,当用户从其他角度(非正对垂直的角度)给压力按钮施压时,弧面接触的方式能将其他角度的力转换成垂直作用的力,不仅能够防止弹簧弯曲,从而提升关节压痛检测装置工作的稳定性,还有利于提升压力检测的准确性。
优选的,所述压力按钮远离按压部的一端设有柔性的软垫,所述软垫与压力按钮固定连接。
这样,用户通过压力按钮按压关节时,柔性的软垫能够减轻因压力按钮硬质表面带来的疼痛,从而得到真正由压力带来的压痛感,有利于提升对用户关节压痛检测的准确性。
优选的,所述压力按钮上正对软垫的位置处具有能够供软垫放置的凹槽,且所述凹槽的深度小于软垫的厚度,使得所述软垫固定连接于凹槽内时能够部分突出于压力按钮表面。
这样,软垫能够固定安装于凹槽内,使得在施压过程中软垫不易因磕碰等原因脱落,从而有利于提升关节压痛检测装置的工作稳定性。
优选的,所述压力传感器通过硅胶垫抵接于壳体内。
这样,压力传感器通过硅胶垫与壳体接触,使得压力传感器不易在用户挤压时损坏,有利于提升关节压痛检测装置的工作稳定性。
附图说明
为了使实用新型的目的、技术方案和优点更加清楚,下面将结合附图对本实用新型作进一步的详细描述,其中:
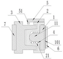
图1为本实用新型实施例中压力头结构的剖视图;
图2为本实用新型实施例中压力头结构的结构示意图;
图3为本实用新型实施例中压力头结构安装于壳体上的结构示意图。
说明书附图中的附图标记包括:压力传感器101、压力盘1、按压部11、导向连接柱2、导向凹腔21、压力按钮3、弹性复位件4、导向结构5、限位部51、硅胶垫6、软垫7、壳体面板A1、壳体侧壁A2。
具体实施方式
下面通过具体实施方式进一步详细的说明:
实施例:
本实施例中公开了一种用于关节压痛检测装置的压力头结构。
如图1所示:用于关节压痛检测装置的压力头结构,包括布置于壳体内的按压件和压力传感器101。
压力传感器101一端抵接于壳体内预设的挡板上,另一端具有用于检测压力的感应端,本实施例中,压力传感器101为现有的薄膜压力传感器101, 薄膜压力传感器通过硅胶垫6与壳体的挡板抵接。按压件包括一端与压力传感器101的感应端抵接的压力盘1,以及一体成型于压力盘1远离压力传感器101一端且沿压力盘1轴线朝远离压力传感器101一侧延伸的按压部11,使得施力于按压部11时按压部11所受的压力能传递给压力盘1抵接在压力传感器101一端的端部上。
按压部11远离压力盘1的一侧设有与按压件同轴布置的压力按钮3,压力按钮3朝向按压部11的一端用于向按压部11传递压力,压力按钮3远离按压部11的一端伸出壳体外形成接触部。压力按钮3的接触部上设有柔性的软垫7,软垫7与接触部粘接固定,按压部11上正对软垫7的位置处具有能够容纳软垫7放置的凹槽,且凹槽的深度小于软垫7的厚度,使得软垫7放置于凹槽内时能够部分突出于接触部的表面。这样,用户通过压力按钮3按压关节时,柔性的软垫7能够减轻因压力按钮3硬质表面带来的疼痛,从而得到真正由压力带来的压痛感,有利于提升对用户关节压痛检测的准确性;且软垫7能够固定安装于凹槽内,使得在施压过程中软垫7不易因磕碰等原因脱落,从而有利于提升关节压痛检测装置工作的稳定性。
压力按钮3和按压件之间同轴布置有导向连接柱2;导向连接柱2朝向压力按钮3的一端与压力按钮3卡接固定,导向连接柱2朝向按压件的一端一体成型有能够完全容纳按压件的导向凹腔21,将按压件完全放置于导向凹腔21内时,压力盘1的侧壁能够与导向凹腔21的腔壁滑动连接,使得按压件能够在导向凹腔21沿轴线滑动,且按压件的按压部11能够与导向凹腔21的底壁接触。
本实施例中,导向连接柱2朝向压力按钮3的一端具有朝压力按钮3方向延伸的凸榫,压力按钮3正对凸榫的一侧具有用于与凸榫卡接的榫槽,使得导向连接柱2的凸榫能够对应卡接固定于压力按钮3的榫槽内。凸榫和榫槽卡接固定的方式具有连接稳定和拆卸方便的效果,能够提升关节压痛检测装置的工作稳定性,还能够提升压力头结构的组装效率。
本实施例中,导向凹腔21的底壁为朝压力按钮一侧内凹的圆弧面,且按压部11朝向导向凹腔21底壁一端的端部为朝压力按钮一侧外凸的时圆弧面。这样,导向凹腔21的底壁和按压部11为弧面接触,当用户从其他角度(非正对垂直的角度)给压力按钮3施压时,弧面接触的方式能将其他角度的力转换成垂直作用的力,不仅能够防止弹簧弯曲,从而提升关节压痛检测装置工作的稳定性,还有利于提升压力检测的准确性。
导向凹腔21内还布置有弹性复位件4,弹性复位件4压缩于导向凹腔21的底壁和按压件的压力盘1之间,使得弹性复位件4能够给导向连接柱2的底壁施加远离按压件的作用力以推动压力按钮3复位。本实施例中,弹性复位件4为压缩弹簧,压缩弹簧一端抵接在导向凹腔21的底壁上,另一端与压力盘1抵接。
如图2和图3所示:导向连接柱2的外周侧设有与壳体固定连接的导向结构5,导向结构5具有能够与导向连接柱2的外周侧壁滑动接触的周向限位部51,使得导向连接柱2能够在周向限位部51的限位作用下保持沿轴线方向滑动。周向限位部51远离按压件的一侧具有朝导向连接柱2轴线方向延伸的端头限位部51,使得端头限位部51能够对导向连接柱2远离按压件的一端进行限位以防止导向连接柱2滑出导向结构5之外。周向限位部51为半圆状的弧形板,端头限位部51为一体成型于周向限位部51远离按压件一侧的凸起。
如图3所示:本实施例中,壳体包括壳体面板A1(用于用户操作的一侧)、壳体背板(与壳体面板相对立的一侧)和壳体侧壁A2(位于壳体面板和壳体背板之间)。压力头结构整体布置于壳体侧壁A2上,且壳体面板A1的内壁上预设有用于安装导向结构5的安装柱,导向结构5还包括一体成型于周向限位部51两侧的两个支耳,两个支耳分别通过螺钉与壳体面板A1上的安装柱固定连接;
本实施例的工作过程:
1)用户通过压力按钮3向关节施加压力,压力按钮3首先将压力传递给导向连接柱2,导向连接柱2通过导向凹腔21的底壁将压力传递给按压部11(此时弹性复位件4开始存储弹性作用力),按压部11通过压力盘1将压力传递给压力传感器101的感应部,从而完成关节的压痛检测。
2)在完成检测过后,弹性复位件4开始释放存储的弹性作用力,使得导向连接柱2朝远离按压件的一侧运动,导向连接柱2能够推动压力按钮3完成复位。
3)导向结构5的周向限位部51和端头限位部51能够对导向连接柱2进行周向和端部的限位,使得导向连接柱2能够保持在导向结构5内滑动,能够提升关节压痛检测装置的工作稳定性。
以上所述的仅是本实用新型的实施例,方案中公知的具体结构及特性等常识在此未作过多描述,所属领域普通技术人员知晓申请日或者优先权日之前实用新型所属技术领域所有的普通技术知识,能够获知该领域中所有的现有技术,并且具有应用该日期之前常规实验手段的能力,所属领域普通技术人员可以在本申请给出的启示下,结合自身能力完善并实施本方案,一些典型的公知结构或者公知方法不应当成为所属领域普通技术人员实施本申请的障碍。应当指出,对于本领域的技术人员来说,在不脱离本实用新型结构的前提下,还可以作出若干变形和改进,这些也应该视为本实用新型的保护范围,这些都不会影响本实用新型实施的效果和专利的实用性。本申请要求的保护范围应当以其权利要求的内容为准,说明书中的具体实施方式等记载可以用于解释权利要求的内容。
Claims (9)
1.用于关节压痛检测装置的压力头结构,包括布置于壳体内的压力传感器,与压力传感抵接的按压件,与按压件同轴布置的压力按钮,以及弹性复位件,所述按压件远离压力传感器的一端形成按压部;其特征在于:
所述压力按钮和按压件之间同轴布置有导向连接柱;所述导向连接柱朝向压力按钮的一端与压力按钮固定连接,朝向按压件的一端具有能够供按压件沿轴线滑动的导向凹腔,且所述按压件朝导向凹腔底部滑动时按压部能够与导向凹腔的底壁接触;
所述弹性复位件压缩于导向连接柱和按压件之间,使得弹性复位件能够给导向连接柱施加远离按压件方向的作用力以推动压力按钮复位。
2.如权利要求1所述的用于关节压痛检测装置的压力头结构,其特征在于:所述弹性复位件布置于导向凹腔内且压缩于导向凹腔的底壁和按压件之间。
3.如权利要求1所述的用于关节压痛检测装置的压力头结构,其特征在于:所述导向连接柱的外周侧设有与壳体固定连接的导向结构,所述导向结构具有能够与导向连接柱的外周侧壁滑动接触的周向限位部,使得导向连接柱能够在周向限位部的限位作用下保持沿轴线方向滑动。
4.如权利要求3所述的用于关节压痛检测装置的压力头结构,其特征在于:所述周向限位部远离按压件的一侧具有朝导向连接柱轴线方向延伸的端头限位部,使得端头限位部能够对导向连接柱远离按压件的一端进行限位以防止导向连接柱滑出导向结构之外。
5.如权利要求4所述的用于关节压痛检测装置的压力头结构,其特征在于:所述导向连接柱朝向压力按钮的一端具有朝压力按钮方向延伸的凸榫,所述压力按钮正对凸榫的一侧具有用于与凸榫卡接的榫槽,使得所述导向连接柱的凸榫能够对应卡接固定于压力按钮的榫槽内。
6.如权利要求1所述的用于关节压痛检测装置的压力头结构,其特征在于:所述导向凹腔的底壁为内凹的圆弧面,且所述按压部朝向导向凹腔底壁一端的端部为外凸的圆弧面。
7.如权利要求1所述的用于关节压痛检测装置的压力头结构,其特征在于:所述压力按钮远离按压部的一端设有柔性的软垫,所述软垫与压力按钮固定连接。
8.如权利要求7所述的用于关节压痛检测装置的压力头结构,其特征在于:所述压力按钮上正对软垫的位置处具有能够供软垫放置的凹槽,且所述凹槽的深度小于软垫的厚度,使得所述软垫固定连接于凹槽内时能够部分突出于压力按钮表面。
9.如权利要求1所述的用于关节压痛检测装置的压力头结构,其特征在于:所述压力传感器通过硅胶垫抵接于壳体内。
Priority Applications (1)
| Application Number | Priority Date | Filing Date | Title |
|---|---|---|---|
| CN201921744308.1U CN210961934U (zh) | 2019-10-17 | 2019-10-17 | 用于关节压痛检测装置的压力头结构 |
Applications Claiming Priority (1)
| Application Number | Priority Date | Filing Date | Title |
|---|---|---|---|
| CN201921744308.1U CN210961934U (zh) | 2019-10-17 | 2019-10-17 | 用于关节压痛检测装置的压力头结构 |
Publications (1)
| Publication Number | Publication Date |
|---|---|
| CN210961934U true CN210961934U (zh) | 2020-07-10 |
Family
ID=71413015
Family Applications (1)
| Application Number | Title | Priority Date | Filing Date |
|---|---|---|---|
| CN201921744308.1U Expired - Fee Related CN210961934U (zh) | 2019-10-17 | 2019-10-17 | 用于关节压痛检测装置的压力头结构 |
Country Status (1)
| Country | Link |
|---|---|
| CN (1) | CN210961934U (zh) |
Cited By (1)
| Publication number | Priority date | Publication date | Assignee | Title |
|---|---|---|---|---|
| CN115414013A (zh) * | 2022-09-19 | 2022-12-02 | 中国人民解放军空军特色医学中心 | 一种压痛阈测量装置 |
-
2019
- 2019-10-17 CN CN201921744308.1U patent/CN210961934U/zh not_active Expired - Fee Related
Cited By (1)
| Publication number | Priority date | Publication date | Assignee | Title |
|---|---|---|---|---|
| CN115414013A (zh) * | 2022-09-19 | 2022-12-02 | 中国人民解放军空军特色医学中心 | 一种压痛阈测量装置 |
Similar Documents
| Publication | Publication Date | Title |
|---|---|---|
| CN101953686B (zh) | 手持式心电检测装置 | |
| US20120255355A1 (en) | Hand muscle measurement device | |
| EP1059064A3 (en) | Anesthetic-depth monitor apparatus | |
| JP2013544603A (ja) | 舌の力を検出および訓練するためのシステムと方法 | |
| CN210961934U (zh) | 用于关节压痛检测装置的压力头结构 | |
| CN110037704A (zh) | 扁平足检测设备及其数据采集的运算方法 | |
| KR101023774B1 (ko) | 휴대용 손가락 악력기 | |
| CN104758100B (zh) | 一种外骨骼使用的控制拐杖 | |
| CN105392417A (zh) | 一种脉象检测装置及测量方法、相关装置和通信系统 | |
| CN103622708A (zh) | 一种阴茎勃起硬度检测探头 | |
| CN212394897U (zh) | 一种用于检测人体局部对压力致疼痛的敏感程度的装置 | |
| JP7424005B2 (ja) | 携帯型心電装置 | |
| CN111359096A (zh) | 一种螺旋形电极片及盆底肌康复装置 | |
| CN213030627U (zh) | 一种糖尿病周围神经病变筛查装置 | |
| CN213544435U (zh) | 一种便捷型视频搜索仪 | |
| CN210904907U (zh) | 坐位体前屈测试仪 | |
| CN105596188B (zh) | 可穿戴的智能肩颈康复仪 | |
| CN210550691U (zh) | 用于关节肿胀检测装置的支架 | |
| CN210077706U (zh) | 一种便携式多功能神经内科检查器 | |
| CN107928669B (zh) | 穴位阻抗检测方法及手持式穴位阻抗检测仪 | |
| CN209808984U (zh) | 一种心外按压器 | |
| CN214632904U (zh) | 助行器使用时长记录仪 | |
| CN221731551U (zh) | 一种新型的耳穴探棒 | |
| CN219846570U (zh) | 一种万向节以及穴位定位装置 | |
| CN113303544A (zh) | 鞋垫受力传感器实测数据与理论数据偏差专用测试装置 |
Legal Events
| Date | Code | Title | Description |
|---|---|---|---|
| GR01 | Patent grant | ||
| GR01 | Patent grant | ||
| CF01 | Termination of patent right due to non-payment of annual fee | ||
| CF01 | Termination of patent right due to non-payment of annual fee |
Granted publication date: 20200710 |