CN210953935U - 一种具有保护功能的高效液相色谱仪 - Google Patents
一种具有保护功能的高效液相色谱仪 Download PDFInfo
- Publication number
- CN210953935U CN210953935U CN201921554018.0U CN201921554018U CN210953935U CN 210953935 U CN210953935 U CN 210953935U CN 201921554018 U CN201921554018 U CN 201921554018U CN 210953935 U CN210953935 U CN 210953935U
- Authority
- CN
- China
- Prior art keywords
- buffer
- groove
- display screen
- chromatograph
- fixedly connected
- Prior art date
- Legal status (The legal status is an assumption and is not a legal conclusion. Google has not performed a legal analysis and makes no representation as to the accuracy of the status listed.)
- Active
Links
- 239000007788 liquid Substances 0.000 title claims abstract description 21
- 230000007246 mechanism Effects 0.000 claims abstract description 29
- 238000009434 installation Methods 0.000 claims description 7
- 230000006978 adaptation Effects 0.000 claims description 5
- 230000009471 action Effects 0.000 abstract description 3
- 230000003139 buffering effect Effects 0.000 abstract 2
- 230000001681 protective effect Effects 0.000 description 8
- 239000000203 mixture Substances 0.000 description 3
- 230000008878 coupling Effects 0.000 description 2
- 238000010168 coupling process Methods 0.000 description 2
- 238000005859 coupling reaction Methods 0.000 description 2
- 230000004075 alteration Effects 0.000 description 1
- 230000009286 beneficial effect Effects 0.000 description 1
- 238000010586 diagram Methods 0.000 description 1
- 239000000428 dust Substances 0.000 description 1
- 230000007774 longterm Effects 0.000 description 1
- 230000004048 modification Effects 0.000 description 1
- 238000012986 modification Methods 0.000 description 1
- 230000002035 prolonged effect Effects 0.000 description 1
- 239000007787 solid Substances 0.000 description 1
- 238000006467 substitution reaction Methods 0.000 description 1
Images
Landscapes
- Devices For Use In Laboratory Experiments (AREA)
Abstract
本实用新型公开了一种具有保护功能的高效液相色谱仪,包括色谱仪本体、支撑机构、显示屏本体与防护机构,支撑机构对称设置在色谱仪本体的底部,显示屏设置在色谱仪本体正面的右侧,防护机构设置在色谱仪本体的正面且对应显示屏本体的位置,支撑机构包括缓冲壳、缓冲弹簧、缓冲板、缓冲杆与缓冲垫,缓冲板设置在缓冲壳的内部。本实用新型通过色谱仪本体、支撑机构、显示屏本体与防护机构之间的相互配合,实现了一种具有保护功能的高效液相色谱仪,不仅能够避免本装置在放置时对设备造成的损坏,而且能够有效对本装置的显示屏起到有效的防护作用,避免显示屏长期暴露在外对其造成的损坏,进而增加了装置的使用寿命。
Description
技术领域
本实用新型涉及液相色谱仪技术领域,具体为一种具有保护功能的高效液相色谱仪。
背景技术
液相色谱仪是指利用混合物在液-固或不互溶的两种液体之间分配比的差异,对混合物进行先分离,而后分析鉴定的仪器,液相色谱仪被常常用在水利方面,经常用来水质分析。常见的液相色谱仪在搬运放置时,由于底部均为硬性设置,因此稍不留心就会对装置本身造成损害,且常见的液相色谱仪不能对显示屏进行有效的防护,由于显示屏长期暴露在外,不仅容易粘附灰尘,而且在受到外力时容易造成损坏,从而降低其使用寿命。
实用新型内容
为解决上述问题本实用新型提供了一种具有保护功能的高效液相色谱仪。
为实现上述目的,本实用新型提供如下技术方案:一种具有保护功能的高效液相色谱仪,包括色谱仪本体、支撑机构、显示屏本体与防护机构,所述支撑机构对称设置在色谱仪本体的底部,所述显示屏设置在色谱仪本体正面的右侧,所述防护机构设置在色谱仪本体的正面且对应显示屏本体的位置;
所述支撑机构包括缓冲壳、缓冲弹簧、缓冲板、缓冲杆与缓冲垫,所述缓冲板设置在缓冲壳的内部,所述缓冲板的顶部通过对称设置的缓冲弹簧与缓冲壳内壁的顶部固定连接,所述缓冲板的底部固定连接有对称设置的缓冲杆,所述缓冲杆的底部贯穿缓冲壳且延伸至其外部,所述缓冲垫的顶部与缓冲杆的底部固定连接;
所述防护机构包括安装座、弹起弹簧、保护罩、凹槽、连接弹簧、活动杆、连接槽、连接杆、卡块与卡槽,所述安装座的右侧开设有凹槽,所述凹槽内壁的左侧通过连接弹簧固定连接有活动杆,所述活动杆的顶部开设有连接槽,所述连接槽的内部设置有与其相适配的连接杆,所述连接杆的顶部从下至上依次贯穿连接槽、凹槽与安装座且延伸至安装座的外部与保护罩的底部固定连接,所述连接槽内壁的左侧固定连接有卡块,所述连接杆的左侧且对应卡块的位置开设有与其相适配的卡槽,所述卡块靠近卡槽的一侧贯穿卡槽且延伸至其内部。
优选的,所述缓冲壳的顶部与色谱仪本体的底部固定连接。
优选的,所述安装座的底部固定安装在色谱仪本体的正面且位于显示屏本体下方的位置,所述保护罩内壁的顶部通过弹起弹簧与显示屏本体的顶部固定连接。
优选的,所述活动杆的右侧贯穿凹槽且延伸至其外部,所述活动杆的右侧设置有橡胶垫。
优选的,所述显示屏本体的左右两侧均设置有滑轨,所述保护罩内壁的左右两侧且对应滑轨的位置均固定连接有与滑轨相适配的滑块。
与现有技术相比,本实用新型的有益效果如下:
1、本实用新型通过色谱仪本体、支撑机构、显示屏本体与防护机构之间的相互配合,实现了一种具有保护功能的高效液相色谱仪,不仅能够避免本装置在放置时对设备造成的损坏,而且能够有效对本装置的显示屏起到有效的防护作用,避免显示屏长期暴露在外对其造成的损坏,进而增加了装置的使用寿命。
2、本实用新型通过设置滑轨与滑块使得保护罩在滑动时更加稳定。
附图说明
图1为本实用新型正视图的结构示意图;
图2为本实用新型正视图的结构剖面图;
图3为本实用新型支撑机构正视图的结构剖面图;
图4为本实用新型保护机构正视图的结构剖面图;
图5为本实用新型图4中A-A的局部放大图;
图6为本实用新型保护罩左视图的结构剖面图;
图7为本实用新型保护罩立体图的机构示意图。
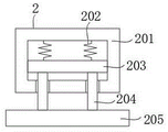
图中:1色谱仪本体、2支撑机构、3显示屏本体、4防护机构、201缓冲壳、202缓冲弹簧、203缓冲板、204缓冲杆、205缓冲垫、401安装座、402弹起弹簧、403保护罩、404凹槽、405连接弹簧、406活动杆、407连接槽、408连接杆、409卡块、410卡槽、5滑轨、6滑块。
具体实施方式
下面将结合本实用新型实施例中的附图,对本实用新型实施例中的技术方案进行清楚、完整地描述,显然,所描述的实施例仅仅是本实用新型一部分实施例,而不是全部的实施例。基于本实用新型中的实施例,本领域普通技术人员在没有做出创造性劳动前提下所获得的所有其他实施例,都属于本实用新型保护的范围。
请参阅图1-2,一种具有保护功能的高效液相色谱仪,包括色谱仪本体1、支撑机构2、显示屏本体3与防护机构4,支撑机构2对称设置在色谱仪本体1的底部,显示屏3设置在色谱仪本体1正面的右侧,防护机构4设置在色谱仪本体1的正面且对应显示屏本体3的位置。
请参阅图1-3,支撑机构2包括缓冲壳201、缓冲弹簧202、缓冲板203、缓冲杆204与缓冲垫205,缓冲壳201的顶部与色谱仪本体1的底部固定连接,缓冲板203设置在缓冲壳201的内部,缓冲板203的顶部通过对称设置的缓冲弹簧202与缓冲壳201内壁的顶部固定连接,缓冲板203的底部固定连接有对称设置的缓冲杆204,缓冲杆204的底部贯穿缓冲壳201且延伸至其外部,缓冲垫205的顶部与缓冲杆204的底部固定连接。
请参阅图1-7,防护机构4包括安装座401、弹起弹簧402、保护罩403、凹槽404、连接弹簧405、活动杆406、连接槽407、连接杆408、卡块409与卡槽410,安装座401的底部固定安装在色谱仪本体1的正面且位于显示屏本体3下方的位置,保护罩403内壁的顶部通过弹起弹簧402与显示屏本体3的顶部固定连接,显示屏本体3的左右两侧均设置有滑轨5,保护罩403内壁的左右两侧且对应滑轨5的位置均固定连接有与滑轨5相适配的滑块6,通过设置滑轨5与滑块6使得保护罩403在滑动时更加稳定,安装座401的右侧开设有凹槽404,凹槽404内壁的左侧通过连接弹簧405固定连接有活动杆406,活动杆406的右侧贯穿凹槽404且延伸至其外部,活动杆406的右侧设置有橡胶垫,活动杆406的顶部开设有连接槽407,连接槽407的内部设置有与其相适配的连接杆408,连接杆408的顶部从下至上依次贯穿连接槽407、凹槽404与安装座401且延伸至安装座401的外部与保护罩403的底部固定连接,连接槽407内壁的左侧固定连接有卡块409,连接杆408的左侧且对应卡块409的位置开设有与其相适配的卡槽410,卡块409靠近卡槽410的一侧贯穿卡槽410且延伸至其内部,通过色谱仪本体1、支撑机构2、显示屏本体3与防护机构4之间的相互配合,实现了一种具有保护功能的高效液相色谱仪,不仅能够避免本装置在放置时对设备造成的损坏,而且能够有效对本装置的显示屏起到有效的防护作用,避免显示屏长期暴露在外对其造成的损坏,进而增加了装置的使用寿命。
使用时,只需要对活动杆406进行按压,从而使其带动卡块409进行相对运动并脱离卡槽410,因此在弹起弹簧402自身的弹力作用下,使其带动保护罩403向上运动并脱离显示屏本体3;当不使用时,只需要向下按压保护罩403,使其带动连接杆408向下移动并插进连接槽407内,继续向下按压,可以通过卡块409卡住卡槽410,从而实现对保护罩403的固定。
综上所述:该具有保护功能的高效液相色谱仪,通过设置色谱仪本体1、支撑机构2、显示屏本体3与防护机构4,解决了背景技术所提到的问题。
尽管已经示出和描述了本实用新型的实施例,对于本领域的普通技术人员而言,可以理解在不脱离本实用新型的原理和精神的情况下可以对这些实施例进行多种变化、修改、替换和变型,本实用新型的范围由所附权利要求及其等同物限定。
Claims (5)
1.一种具有保护功能的高效液相色谱仪,包括色谱仪本体(1)、支撑机构(2)、显示屏本体(3)与防护机构(4),其特征在于:所述支撑机构(2)对称设置在色谱仪本体(1)的底部,所述显示屏本体(3)设置在色谱仪本体(1)正面的右侧,所述防护机构(4)设置在色谱仪本体(1)的正面且对应显示屏本体(3)的位置;
所述支撑机构(2)包括缓冲壳(201)、缓冲弹簧(202)、缓冲板(203)、缓冲杆(204)与缓冲垫(205),所述缓冲板(203)设置在缓冲壳(201)的内部,所述缓冲板(203)的顶部通过对称设置的缓冲弹簧(202)与缓冲壳(201)内壁的顶部固定连接,所述缓冲板(203)的底部固定连接有对称设置的缓冲杆(204),所述缓冲杆(204)的底部贯穿缓冲壳(201)且延伸至其外部,所述缓冲垫(205)的顶部与缓冲杆(204)的底部固定连接;
所述防护机构(4)包括安装座(401)、弹起弹簧(402)、保护罩(403)、凹槽(404)、连接弹簧(405)、活动杆(406)、连接槽(407)、连接杆(408)、卡块(409)与卡槽(410),所述安装座(401)的右侧开设有凹槽(404),所述凹槽(404)内壁的左侧通过连接弹簧(405)固定连接有活动杆(406),所述活动杆(406)的顶部开设有连接槽(407),所述连接槽(407)的内部设置有与其相适配的连接杆(408),所述连接杆(408)的顶部从下至上依次贯穿连接槽(407)、凹槽(404)与安装座(401)且延伸至安装座(401)的外部与保护罩(403)的底部固定连接,所述连接槽(407)内壁的左侧固定连接有卡块(409),所述连接杆(408)的左侧且对应卡块(409)的位置开设有与其相适配的卡槽(410),所述卡块(409)靠近卡槽(410)的一侧贯穿卡槽(410)且延伸至其内部。
2.根据权利要求1所述的一种具有保护功能的高效液相色谱仪,其特征在于:所述缓冲壳(201)的顶部与色谱仪本体(1)的底部固定连接。
3.根据权利要求1所述的一种具有保护功能的高效液相色谱仪,其特征在于:所述安装座(401)的底部固定安装在色谱仪本体(1)的正面且位于显示屏本体(3)下方的位置,所述保护罩(403)内壁的顶部通过弹起弹簧(402)与显示屏本体(3)的顶部固定连接。
4.根据权利要求1所述的一种具有保护功能的高效液相色谱仪,其特征在于:所述活动杆(406)的右侧贯穿凹槽(404)且延伸至其外部,所述活动杆(406)的右侧设置有橡胶垫。
5.根据权利要求1所述的一种具有保护功能的高效液相色谱仪,其特征在于:所述显示屏本体(3)的左右两侧均设置有滑轨(5),所述保护罩(403)内壁的左右两侧且对应滑轨(5)的位置均固定连接有与滑轨(5)相适配的滑块(6)。
Priority Applications (1)
| Application Number | Priority Date | Filing Date | Title |
|---|---|---|---|
| CN201921554018.0U CN210953935U (zh) | 2019-09-18 | 2019-09-18 | 一种具有保护功能的高效液相色谱仪 |
Applications Claiming Priority (1)
| Application Number | Priority Date | Filing Date | Title |
|---|---|---|---|
| CN201921554018.0U CN210953935U (zh) | 2019-09-18 | 2019-09-18 | 一种具有保护功能的高效液相色谱仪 |
Publications (1)
| Publication Number | Publication Date |
|---|---|
| CN210953935U true CN210953935U (zh) | 2020-07-07 |
Family
ID=71375746
Family Applications (1)
| Application Number | Title | Priority Date | Filing Date |
|---|---|---|---|
| CN201921554018.0U Active CN210953935U (zh) | 2019-09-18 | 2019-09-18 | 一种具有保护功能的高效液相色谱仪 |
Country Status (1)
| Country | Link |
|---|---|
| CN (1) | CN210953935U (zh) |
Cited By (3)
| Publication number | Priority date | Publication date | Assignee | Title |
|---|---|---|---|---|
| CN113484458A (zh) * | 2021-03-26 | 2021-10-08 | 浙江安联检测技术服务有限公司 | 一种带有去气泡系统的离子色谱仪 |
| CN115327012A (zh) * | 2022-08-03 | 2022-11-11 | 南京师范大学 | 一种液相色谱仪用柱温箱 |
| CN120121558A (zh) * | 2025-03-19 | 2025-06-10 | 深圳网联光仪科技有限公司 | 一种台式红外光谱仪 |
-
2019
- 2019-09-18 CN CN201921554018.0U patent/CN210953935U/zh active Active
Cited By (3)
| Publication number | Priority date | Publication date | Assignee | Title |
|---|---|---|---|---|
| CN113484458A (zh) * | 2021-03-26 | 2021-10-08 | 浙江安联检测技术服务有限公司 | 一种带有去气泡系统的离子色谱仪 |
| CN115327012A (zh) * | 2022-08-03 | 2022-11-11 | 南京师范大学 | 一种液相色谱仪用柱温箱 |
| CN120121558A (zh) * | 2025-03-19 | 2025-06-10 | 深圳网联光仪科技有限公司 | 一种台式红外光谱仪 |
Similar Documents
| Publication | Publication Date | Title |
|---|---|---|
| CN210953935U (zh) | 一种具有保护功能的高效液相色谱仪 | |
| CN211371858U (zh) | 一种可进行夹持缓冲的英语教学用投影仪限位支架 | |
| CN208479071U (zh) | 一种防台电缆槽的安装结构 | |
| CN211735928U (zh) | 一种自助服务区用活动隔墙 | |
| CN203535075U (zh) | 一种基带测试屏蔽箱 | |
| CN220913196U (zh) | 显卡测试治具 | |
| CN214823012U (zh) | 一种车载导航仪 | |
| CN203535130U (zh) | 一种射频测试屏蔽箱 | |
| CN215767603U (zh) | 用于光学镜片的顶焦度检测设备 | |
| CN208400035U (zh) | 一种防摔护眼型计算机显示屏 | |
| CN214368796U (zh) | 一种用于ai智能语音装置 | |
| CN216313157U (zh) | 一种用于手机测试的多层式手机安装支架结构 | |
| CN210839683U (zh) | 一种手机屏幕检测的易拆卸夹具 | |
| CN218073223U (zh) | 一种粘鼠板上垫圈的放置装置 | |
| CN220369785U (zh) | 一种画品保护展架 | |
| CN216287275U (zh) | 一种教学类实验平台电机扩展板 | |
| CN212783807U (zh) | 一种5g天线用外部防护设备 | |
| CN218383239U (zh) | 一种农机用电线电缆安全性漏电检测装置 | |
| CN218242890U (zh) | 一种新型线束固定装置 | |
| CN208588850U (zh) | 一种光学镜片固定装置 | |
| CN217239349U (zh) | 一种耐冲击电压继电器 | |
| CN219640834U (zh) | 一种带定位结构的检测治具 | |
| CN215136264U (zh) | 一种新型消防柜 | |
| CN210517309U (zh) | 一种耦合co2玻璃激光器的安装座结构 | |
| CN218332451U (zh) | 一种具有保护结构防摔的会议平板 |
Legal Events
| Date | Code | Title | Description |
|---|---|---|---|
| GR01 | Patent grant | ||
| GR01 | Patent grant |