CN210951835U - A hot water boiler with auxiliary feeding device - Google Patents
A hot water boiler with auxiliary feeding device Download PDFInfo
- Publication number
- CN210951835U CN210951835U CN201921883729.2U CN201921883729U CN210951835U CN 210951835 U CN210951835 U CN 210951835U CN 201921883729 U CN201921883729 U CN 201921883729U CN 210951835 U CN210951835 U CN 210951835U
- Authority
- CN
- China
- Prior art keywords
- wall
- furnace body
- pipe
- hot water
- sides
- Prior art date
- Legal status (The legal status is an assumption and is not a legal conclusion. Google has not performed a legal analysis and makes no representation as to the accuracy of the status listed.)
- Active
Links
- XLYOFNOQVPJJNP-UHFFFAOYSA-N water Substances O XLYOFNOQVPJJNP-UHFFFAOYSA-N 0.000 title claims abstract description 35
- 238000002485 combustion reaction Methods 0.000 claims abstract description 24
- 239000002184 metal Substances 0.000 claims description 23
- 229910052751 metal Inorganic materials 0.000 claims description 23
- 239000007788 liquid Substances 0.000 claims description 17
- 239000000428 dust Substances 0.000 claims description 15
- 230000005540 biological transmission Effects 0.000 claims description 14
- 238000003466 welding Methods 0.000 claims description 5
- 238000010521 absorption reaction Methods 0.000 claims description 4
- 238000007599 discharging Methods 0.000 claims description 4
- 238000009434 installation Methods 0.000 claims description 4
- 239000000463 material Substances 0.000 claims description 4
- 239000004744 fabric Substances 0.000 claims 1
- 239000007787 solid Substances 0.000 abstract description 16
- 239000000779 smoke Substances 0.000 abstract description 10
- 239000002245 particle Substances 0.000 abstract description 9
- 238000010030 laminating Methods 0.000 abstract description 7
- 239000003245 coal Substances 0.000 description 14
- 238000003475 lamination Methods 0.000 description 4
- 238000010586 diagram Methods 0.000 description 3
- 230000000694 effects Effects 0.000 description 3
- 239000000446 fuel Substances 0.000 description 3
- XEEYBQQBJWHFJM-UHFFFAOYSA-N Iron Chemical compound [Fe] XEEYBQQBJWHFJM-UHFFFAOYSA-N 0.000 description 2
- 238000000034 method Methods 0.000 description 2
- QVGXLLKOCUKJST-UHFFFAOYSA-N atomic oxygen Chemical compound [O] QVGXLLKOCUKJST-UHFFFAOYSA-N 0.000 description 1
- 230000000903 blocking effect Effects 0.000 description 1
- 238000005260 corrosion Methods 0.000 description 1
- 230000007797 corrosion Effects 0.000 description 1
- 238000005516 engineering process Methods 0.000 description 1
- 239000003344 environmental pollutant Substances 0.000 description 1
- 239000010419 fine particle Substances 0.000 description 1
- 239000007789 gas Substances 0.000 description 1
- 239000012535 impurity Substances 0.000 description 1
- 229910052742 iron Inorganic materials 0.000 description 1
- 239000007769 metal material Substances 0.000 description 1
- 238000012986 modification Methods 0.000 description 1
- 230000004048 modification Effects 0.000 description 1
- 239000001301 oxygen Substances 0.000 description 1
- 229910052760 oxygen Inorganic materials 0.000 description 1
- 239000013618 particulate matter Substances 0.000 description 1
- 231100000719 pollutant Toxicity 0.000 description 1
- 238000010298 pulverizing process Methods 0.000 description 1
- 238000007789 sealing Methods 0.000 description 1
- 229910001220 stainless steel Inorganic materials 0.000 description 1
- 239000010935 stainless steel Substances 0.000 description 1
Images
Landscapes
- Chimneys And Flues (AREA)
Abstract
本实用新型公开了一种具有附助送料装置的热水锅炉,包括炉体和燃烧炉,所述炉体的顶壁固定安装有顶盖板,所述顶盖板底壁的两侧均固定连接有竖杆,所述燃烧炉与炉体底壁的中央固定焊接,其外侧壁上安装有鼓风机和输料管,所述输料管远离燃烧炉的一侧设有加料斗,其两侧分别与燃烧炉的外侧壁和加料斗的底壁焊接固定,所述燃烧炉的外侧壁还固定焊接有释放管,所述释放管的外侧壁上开有与多组贴合板卡合安装的槽孔。该具有附助送料装置的热水锅炉,通过设置了贴合板、吸尘板和筛网,当烟雾从释放管中排放时,吸尘板和筛网可以滤除烟雾中的一部分固体颗粒,减小直接排放至外界环境的固体颗粒的量,从而减小对大气的污染。
The utility model discloses a hot water boiler with an auxiliary feeding device, comprising a furnace body and a combustion furnace, a top cover plate is fixedly installed on the top wall of the furnace body, and both sides of the bottom wall of the top cover plate are fixed A vertical rod is connected, the furnace is fixedly welded to the center of the bottom wall of the furnace body, and a blower and a feeding pipe are installed on the outer side wall. They are respectively welded and fixed with the outer side wall of the combustion furnace and the bottom wall of the feeding hopper. The outer side wall of the combustion furnace is also fixedly welded with a release pipe. slotted hole. The hot water boiler with an auxiliary feeding device is provided with a laminating plate, a vacuum plate and a screen. When the smoke is discharged from the release pipe, the vacuum plate and the screen can filter out a part of the solid particles in the smoke, reducing the amount of solid particles in the smoke. Small amount of solid particles that are directly discharged to the outside environment, thereby reducing the pollution to the atmosphere.
Description
技术领域technical field
本实用新型属于热水锅炉技术领域,具体涉及一种具有附助送料装置的热水锅炉。The utility model belongs to the technical field of hot water boilers, in particular to a hot water boiler with an auxiliary feeding device.
背景技术Background technique
热水锅炉是指利用燃料燃烧释放的热能把水加热到指定温度的一种热能设备。理想的热水锅炉运行系统应该是基本严密不泄露,系统内有固定量水在周而复始地循环着,进行着吸热放热的过程;这些水经循环后,其中的溶解氧会全部被铁所吸收,而成为无氧水,不会对锅炉产生严重腐蚀。A hot water boiler refers to a thermal energy device that uses the heat energy released by the combustion of fuel to heat water to a specified temperature. The ideal hot water boiler operation system should be basically tight and leak-free. There is a fixed amount of water circulating in the system to carry out the process of absorbing heat and releasing heat; after the water is circulated, the dissolved oxygen in it will be completely absorbed by iron. Absorption, and become oxygen-free water, will not cause serious corrosion to the boiler.
现有技术中的热水锅炉在燃烧燃料时,大多将燃料产生的烟雾直接排放至外界,导致烟雾中的固体颗粒会直接排放出去,从而对大气造成较大的污染。When the hot water boiler in the prior art burns fuel, most of the smoke generated by the fuel is directly discharged to the outside, so that the solid particles in the smoke are directly discharged, thereby causing great pollution to the atmosphere.
实用新型内容Utility model content
本实用新型的目的在于提供一种具有附助送料装置的热水锅炉,以解决上述背景技术中提出的问题。The purpose of the present utility model is to provide a hot water boiler with an auxiliary feeding device, so as to solve the problems raised in the above background technology.
为实现上述目的,本实用新型提供如下技术方案:一种具有附助送料装置的热水锅炉,包括炉体和燃烧炉,所述炉体的顶壁固定安装有顶盖板,所述顶盖板底壁的两侧均固定连接有竖杆,所述燃烧炉与炉体底壁的中央固定焊接,其外侧壁上安装有鼓风机和输料管,所述输料管远离燃烧炉的一侧设有加料斗,其两侧分别与燃烧炉的外侧壁和加料斗的底壁焊接固定,所述燃烧炉的外侧壁还固定焊接有释放管,所述释放管的外侧壁上开有与多组贴合板卡合安装的槽孔,所述贴合板的内侧壁安装有吸尘板和筛网,所述炉体底壁的两侧均固定焊接有支撑架。In order to achieve the above purpose, the utility model provides the following technical solutions: a hot water boiler with an auxiliary feeding device, including a furnace body and a combustion furnace, the top wall of the furnace body is fixedly installed with a top cover plate, and the top cover Both sides of the bottom wall of the plate are fixedly connected with vertical rods, the combustion furnace is fixedly welded to the center of the bottom wall of the furnace body, and a blower and a feeding pipe are installed on the outer side wall, and the feeding pipe is away from the side of the combustion furnace. There is a feeding hopper, the two sides of which are respectively welded and fixed with the outer side wall of the combustion furnace and the bottom wall of the feeding hopper. A set of slot holes for clamping and installation of the lamination plate, the inner side wall of the lamination plate is equipped with a dust suction plate and a screen, and the two sides of the bottom wall of the furnace body are fixedly welded with support frames.
优选的,所述顶盖板的两侧均固定焊接有伸出片,所述炉体顶壁的两侧开有与两组伸出片卡合安装的安装槽,两组所述伸出片通过两组螺栓与炉体固定衔接。Preferably, protruding pieces are fixedly welded on both sides of the top cover plate, and two sides of the top wall of the furnace body are provided with installation grooves that are engaged with two sets of protruding pieces. It is fixedly connected to the furnace body through two sets of bolts.
优选的,两组所述竖杆均伸入炉体内腔中且分别与金属框架顶壁的两侧焊接固定,所述金属框架上设有金属滤网,所述金属滤网与金属框架的内侧壁焊接固定。Preferably, both sets of the vertical rods extend into the cavity of the furnace body and are respectively welded and fixed to both sides of the top wall of the metal frame. The metal frame is provided with a metal filter screen, and the metal filter screen is connected to the inner side of the metal frame. The wall is fixed by welding.
优选的,所述顶盖板的顶壁固定安装有加液管,所述炉体的底壁固定安装有排液管,所述加液管和排液管上均设有控制其开合的阀门。Preferably, a liquid filling pipe is fixedly installed on the top wall of the top cover plate, and a liquid discharge pipe is fixedly installed on the bottom wall of the furnace body. valve.
优选的,所述输料管靠近加料斗一侧的外壁固定焊接有电机,其内腔中设有传动轴和多组粉碎叶片,多组所述粉碎叶片均与传动轴的外壁焊接固定且分布在传动轴的两侧,所述传动轴贯穿输料管的侧壁且与电机传动连接。Preferably, a motor is fixedly welded to the outer wall of the feeding pipe on one side of the feeding hopper, a drive shaft and a plurality of groups of crushing blades are arranged in the inner cavity, and the multiple groups of the crushing blades are welded, fixed and distributed with the outer wall of the transmission shaft. On both sides of the transmission shaft, the transmission shaft penetrates the side wall of the feeding pipe and is connected with the motor in a driving manner.
优选的,所述吸尘板和筛网均与贴合板的内侧壁粘接固定,所述贴合板的外侧壁固定焊接有一组手持柄,所述吸尘板上开有若干组贯穿其两侧的通孔。Preferably, both the dust collecting board and the screen mesh are bonded and fixed to the inner side wall of the laminating board, a set of hand handles are fixedly welded to the outer side wall of the laminating board, and several sets are opened on both sides of the dust absorbing board. through holes.
本实用新型的技术效果和优点:该具有附助送料装置的热水锅炉,通过设置了贴合板、吸尘板和筛网,当烟雾从释放管中排放时,吸尘板和筛网可以滤除烟雾中的一部分固体颗粒,减小直接排放至外界环境的固体颗粒的量,从而减小对大气的污染;通过设置了输料管、电机、传动轴和粉碎叶片,加料斗中的煤炭落入输料管后,电机工作带动粉碎叶片旋转可将煤炭粉碎,从而使煤炭燃烧得更充分,提高了煤炭的利用率;通过设置了竖杆、金属框架和金属滤网,通过使金属滤网置于炉体内腔中,使金属滤网将水中的固体杂物滤除,使这些固体杂物不会随着排液管排出而污染水。The technical effects and advantages of the utility model: the hot water boiler with the auxiliary feeding device is provided with a laminating plate, a dust collecting plate and a screen, when the smoke is discharged from the release pipe, the dust collecting plate and the screen can filter In addition to a part of the solid particles in the smoke, the amount of solid particles directly discharged to the outside environment is reduced, thereby reducing the pollution to the atmosphere; by setting up a feeding pipe, a motor, a transmission shaft and a crushing blade, the coal in the feeding hopper falls off. After entering the feeding pipe, the motor works to drive the crushing blades to rotate to crush the coal, so that the coal can be burned more fully and the utilization rate of the coal is improved. It is placed in the cavity of the furnace body, so that the metal filter screen can filter out the solid debris in the water, so that these solid debris will not pollute the water with the drain pipe.
附图说明Description of drawings
图1为本实用新型的整体结构示意图;Fig. 1 is the overall structure schematic diagram of the present utility model;
图2为本实用新型的炉体的竖直剖面图;Fig. 2 is the vertical sectional view of the furnace body of the utility model;
图3为本实用新型的图2中A处结构的放大示意图;Fig. 3 is the enlarged schematic diagram of the structure at A in Fig. 2 of the utility model;
图4为本实用新型的贴合板的结构示意图。FIG. 4 is a schematic structural diagram of a laminated board of the present invention.
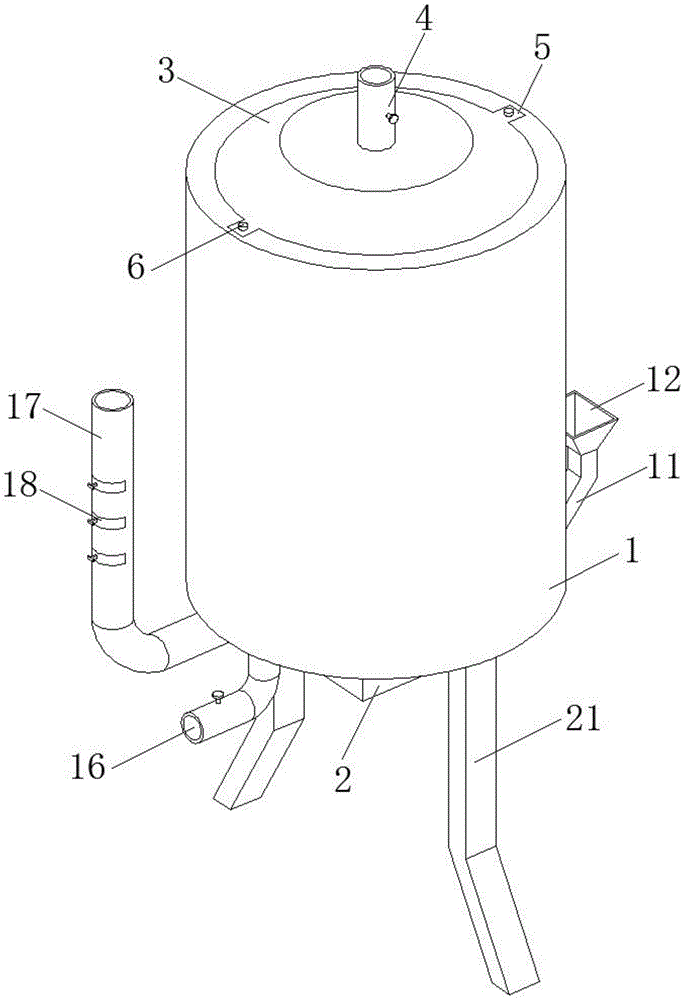
图中:1炉体、2燃烧炉、3顶盖板、4加液管、5伸出片、6螺栓、7竖杆、8金属框架、9金属滤网、10鼓风机、11输料管、12加料斗、13电机、14传动轴、15粉碎叶片、16排液管、17释放管、18贴合板、19吸尘板、20筛网、21支撑架。In the picture: 1 furnace body, 2 combustion furnace, 3 top cover plate, 4 liquid filling pipes, 5 extension pieces, 6 bolts, 7 vertical rods, 8 metal frames, 9 metal filters, 10 blowers, 11 feeding pipes, 12 feeding hopper, 13 motor, 14 drive shaft, 15 crushing blade, 16 drain pipe, 17 release pipe, 18 laminating plate, 19 dust collecting plate, 20 screen mesh, 21 supporting frame.
具体实施方式Detailed ways
下面将结合本实用新型实施例中的附图,对本实用新型实施例中的技术方案进行清楚、完整地描述,显然,所描述的实施例仅仅是本实用新型一部分实施例,而不是全部的实施例。基于本实用新型中的实施例,本领域普通技术人员在没有做出创造性劳动前提下所获得的所有其他实施例,都属于本实用新型保护的范围。The technical solutions in the embodiments of the present utility model will be clearly and completely described below with reference to the accompanying drawings in the embodiments of the present utility model. Obviously, the described embodiments are only a part of the embodiments of the present utility model, rather than all the implementations. example. Based on the embodiments of the present invention, all other embodiments obtained by those of ordinary skill in the art without creative work fall within the protection scope of the present invention.
本实用新型提供了如图1-4所示的一种具有附助送料装置的热水锅炉,包括炉体1和燃烧炉2,所述炉体1的顶壁固定安装有顶盖板3,所述顶盖板3底壁的两侧均固定连接有竖杆7,所述燃烧炉2与炉体1底壁的中央固定焊接,其外侧壁上安装有鼓风机10和输料管11,鼓风机10与外接的电源电性连接,以保证其持续工作,所述输料管11远离燃烧炉2的一侧设有加料斗12,其两侧分别与燃烧炉2的外侧壁和加料斗12的底壁焊接固定,所述燃烧炉2的外侧壁还固定焊接有释放管17,所述释放管17的外侧壁上开有与多组贴合板18卡合安装的槽孔,所述贴合板18的内侧壁安装有吸尘板19和筛网20,所述炉体1底壁的两侧均固定焊接有支撑架21。The utility model provides a hot water boiler with an auxiliary feeding device as shown in Figures 1-4, comprising a
具体的,所述顶盖板3的两侧均固定焊接有伸出片5,所述炉体1顶壁的两侧开有与两组伸出片5卡合安装的安装槽,两组所述伸出片5通过两组螺栓6与炉体1固定衔接,实际设计时,可以在炉体1顶壁与顶盖板3接触的位置固定粘接一组橡胶圈,使顶盖板3与橡胶圈接触,从而保证炉体1的密封性,使外界的灰尘几乎不能进入炉体1内腔。Specifically, protruding
具体的,两组所述竖杆7均伸入炉体1内腔中且分别与金属框架8顶壁的两侧焊接固定,所述金属框架8上设有金属滤网9,所述金属滤网9与金属框架8的内侧壁焊接固定,金属框架8和金属滤网9均采用不会被高温水氧化的材质(例如不锈钢等),金属滤网9表面开有若干组贯穿其两侧的滤孔,水分子可以穿过该滤孔,但固体杂物不能穿过,因此在排出水时可以滤出固体杂物;金属框架8的外侧壁与炉体1内腔的侧壁贴合,因此其可以起到较好的分离固体杂物的效果。Specifically, the two sets of the
具体的,所述顶盖板3的顶壁固定安装有加液管4,所述炉体1的底壁固定安装有排液管16,加液管4嵌入顶盖板3内且与之固定焊接成为一体,同样的,排液管16与炉体1固定焊接成为一体,所述加液管4和排液管16上均设有控制其开合的阀门。Specifically, a
具体的,所述输料管11靠近加料斗12一侧的外壁固定焊接有电机13,其内腔中设有传动轴14和多组粉碎叶片15,多组所述粉碎叶片15均与传动轴14的外壁焊接固定且分布在传动轴14的两侧,所述传动轴14贯穿输料管11的侧壁且与电机13传动连接,加料管11的一侧倾斜向下,可将煤炭输送至燃烧炉2内,其另一侧保持竖直且与加料斗12相接;加料管11上也设置一组可以将其关闭的阀门。Specifically, a
具体的,所述吸尘板19和筛网20均与贴合板18的内侧壁粘接固定,所述贴合板18的外侧壁固定焊接有一组手持柄,所述吸尘板19上开有若干组贯穿其两侧的通孔,筛网20采用金属材质,利用筛网20可以起到一定的拦阻固体颗粒物的功能,吸尘板19可以吸收一部分粉尘等细小颗粒物,二者相互配合可以减少固体颗粒物的排放;吸尘板19与工业用的吸尘管的材质相同,其型号可采用PU-0.63mm-1,其具有较好的吸尘效果。Specifically, the
具体的,该具有附助送料装置的热水锅炉,首先将需要被加热的水通过加液管4加入炉体1的内腔,关闭加液管4上的阀门(此时排液管16上阀门也关闭),将煤炭加入加料斗12并驱动电机13工作,带动传动轴14和多组粉碎叶片15运转而将进入输料管11内的煤炭粉碎,之后煤炭沿着输料管11进入燃烧炉2内(实际设计时,在燃烧炉2上合适位置设置排出煤炭残渣的排放口,设置点燃煤炭颗粒的操作口,并使该两组开口均可以方便地封闭),之后点燃煤炭使其燃烧并关闭输料管11上的阀门,煤炭燃烧将热量传递至炉体1将水加热,煤炭产生的烟雾会从释放管17排出(释放管17内的吸尘板19和筛网20均可吸收烟雾),释放管17的另一端可连接导烟的管道,并可以将管道通入外界的水中,利用水尽可能多地吸收污染物,最后将污染相对较小的气体排放至大气中,当水烧开之后,打开排液管16上的阀门释放出热水,如果炉体1内腔的水中含有固体杂物,则固体杂物会停留在金属滤网9上,卸下两组螺栓6取出顶盖板3,即可取出金属滤网9并排出其上的固体杂物,之后人员通过打开排放口排出煤炭的残渣(排放口和操作口均可以设置在燃烧炉2的侧壁)。Specifically, in the hot water boiler with the auxiliary feeding device, the water to be heated is firstly added to the inner cavity of the
最后应说明的是:以上所述仅为本实用新型的优选实施例而已,并不用于限制本实用新型,尽管参照前述实施例对本实用新型进行了详细的说明,对于本领域的技术人员来说,其依然可以对前述各实施例所记载的技术方案进行修改,或者对其中部分技术特征进行等同替换,凡在本实用新型的精神和原则之内,所作的任何修改、等同替换、改进等,均应包含在本实用新型的保护范围之内。Finally, it should be noted that the above are only the preferred embodiments of the present invention, and are not intended to limit the present invention. , it can still modify the technical solutions recorded in the foregoing embodiments, or perform equivalent replacements to some of its technical features, any modifications, equivalent replacements, improvements, etc. made within the spirit and principles of the present utility model, All should be included within the protection scope of the present invention.
Claims (6)
Priority Applications (1)
| Application Number | Priority Date | Filing Date | Title |
|---|---|---|---|
| CN201921883729.2U CN210951835U (en) | 2019-11-04 | 2019-11-04 | A hot water boiler with auxiliary feeding device |
Applications Claiming Priority (1)
| Application Number | Priority Date | Filing Date | Title |
|---|---|---|---|
| CN201921883729.2U CN210951835U (en) | 2019-11-04 | 2019-11-04 | A hot water boiler with auxiliary feeding device |
Publications (1)
| Publication Number | Publication Date |
|---|---|
| CN210951835U true CN210951835U (en) | 2020-07-07 |
Family
ID=71380090
Family Applications (1)
| Application Number | Title | Priority Date | Filing Date |
|---|---|---|---|
| CN201921883729.2U Active CN210951835U (en) | 2019-11-04 | 2019-11-04 | A hot water boiler with auxiliary feeding device |
Country Status (1)
| Country | Link |
|---|---|
| CN (1) | CN210951835U (en) |
Cited By (1)
| Publication number | Priority date | Publication date | Assignee | Title |
|---|---|---|---|---|
| CN114370705A (en) * | 2021-12-31 | 2022-04-19 | 甄伟静 | Energy-saving combustion furnace |
-
2019
- 2019-11-04 CN CN201921883729.2U patent/CN210951835U/en active Active
Cited By (1)
| Publication number | Priority date | Publication date | Assignee | Title |
|---|---|---|---|---|
| CN114370705A (en) * | 2021-12-31 | 2022-04-19 | 甄伟静 | Energy-saving combustion furnace |
Similar Documents
| Publication | Publication Date | Title |
|---|---|---|
| CN110529860A (en) | A kind of solid waste processing system with hazardous waste pretreatment process | |
| CN210951835U (en) | A hot water boiler with auxiliary feeding device | |
| CN212702133U (en) | Slag conveying equipment of aluminum melting furnace | |
| CN106122939A (en) | A kind of fire-resistant energy-saving combustion boiler | |
| CN213895597U (en) | Sludge drying sensible heat recovery device | |
| CN207132350U (en) | A kind of waste incinerator of high-efficiency environment friendly | |
| CN212408709U (en) | Gold boiler pressure vessel blowdown waste heat recovery device | |
| CN206572554U (en) | A kind of recyclable biomass combustion furnace of heat | |
| CN216897316U (en) | A kind of intelligent household waste disposal square warehouse | |
| CN204987029U (en) | Chemical industry burns device convenient to material loading | |
| CN212719768U (en) | Heat energy recovery device of incinerator | |
| CN212274002U (en) | High-temperature heating furnace for waste solid treatment | |
| CN212030282U (en) | Thermal kinetic energy recycling device of thermal energy power equipment | |
| CN211177933U (en) | A Novel Safe and Reliable Non-oxidative Rapid Firing Furnace | |
| CN220551918U (en) | Novel environmental protection pyrolysis oven | |
| CN210624541U (en) | High-efficient heat accumulation type gas furnace | |
| CN221570617U (en) | Multifunctional integrated environment-friendly charcoal stove | |
| CN215389691U (en) | A boiler feed device | |
| CN209003652U (en) | A kind of sausage digesting shelf | |
| CN212930079U (en) | An energy-saving biomass pellet dry burning furnace | |
| CN216480933U (en) | Low-carbon combustion device for efficiently and cleanly utilizing pulverized coal | |
| CN219607143U (en) | Flue gas waste heat utilization device | |
| CN210543850U (en) | Electric pulse dust remover for powdery storage warehouse | |
| CN211650341U (en) | Efficient cast iron fireplace | |
| CN216448171U (en) | A flue gas cleaning device for incineration and landfill |
Legal Events
| Date | Code | Title | Description |
|---|---|---|---|
| GR01 | Patent grant | ||
| GR01 | Patent grant | ||
| TR01 | Transfer of patent right | ||
| TR01 | Transfer of patent right |
Effective date of registration: 20241210 Address after: 841600 Group 4, Bagebuyi Village, Luntai Town, Luntai County, Bayingolin Mongolian Autonomous Prefecture, Xinjiang Uygur Autonomous Region Patentee after: Xinjiang Jisheng Yunhai Boiler Manufacturing Co.,Ltd. Country or region after: China Address before: 225006 No. 1 Yingbin Road, bay head town, Jiangsu, Yangzhou Patentee before: YANGZHOU ZHENGYU BOILER Co.,Ltd. Country or region before: China |
