CN210935159U - Mineral product sample grinder - Google Patents
Mineral product sample grinder Download PDFInfo
- Publication number
- CN210935159U CN210935159U CN201921680282.9U CN201921680282U CN210935159U CN 210935159 U CN210935159 U CN 210935159U CN 201921680282 U CN201921680282 U CN 201921680282U CN 210935159 U CN210935159 U CN 210935159U
- Authority
- CN
- China
- Prior art keywords
- box
- grinding
- grinding box
- fixedly installed
- fixedly connected
- Prior art date
- Legal status (The legal status is an assumption and is not a legal conclusion. Google has not performed a legal analysis and makes no representation as to the accuracy of the status listed.)
- Expired - Fee Related
Links
- 229910052500 inorganic mineral Inorganic materials 0.000 title claims abstract description 14
- 239000011707 mineral Substances 0.000 title claims abstract description 14
- 230000001681 protective effect Effects 0.000 claims description 14
- 238000007789 sealing Methods 0.000 claims description 10
- 239000002245 particle Substances 0.000 description 4
- 239000000843 powder Substances 0.000 description 4
- 230000009286 beneficial effect Effects 0.000 description 1
- 230000005540 biological transmission Effects 0.000 description 1
- 238000007599 discharging Methods 0.000 description 1
- 239000000463 material Substances 0.000 description 1
- 238000000034 method Methods 0.000 description 1
- 230000004048 modification Effects 0.000 description 1
- 238000012986 modification Methods 0.000 description 1
- 239000000126 substance Substances 0.000 description 1
Images
Landscapes
- Crushing And Grinding (AREA)
Abstract
本实用新型属于研磨技术领域,尤其为一种矿产样品研磨装置,包括研磨箱,所述研磨箱内固定安装有锥盘,所述研磨箱内固定安装有位于锥盘下方的十字架,所述十字架的顶部中心位置处固定安装有连接块,所述研磨箱上转动安装有转动杆,所述转动杆的底端贯穿锥盘并与连接块固定连接,所述转动杆的外壁上转动安装有位于锥盘内的锥刀,所述锥刀与锥盘相适配,所述研磨箱的底部固定安装有位于十字架下方的接料斗。本实用新型实用性高,通过在研磨箱的上方设置具有粉碎功能预粉碎箱,能对较大体积的矿石样品进行预粉碎,保证了研磨顺利进行的同时,也节省了人力进行破碎的时间和精力。
The utility model belongs to the technical field of grinding, in particular to a mineral sample grinding device, comprising a grinding box, a cone disk is fixedly installed in the grinding box, a cross located below the cone disk is fixedly installed in the grinding box, and the cross is fixedly installed in the grinding box. A connecting block is fixedly installed at the top center of the grinding box, a rotating rod is rotatably installed on the grinding box, and the bottom end of the rotating rod penetrates the conical disk and is fixedly connected with the connecting block. The conical knife in the conical disc is adapted to the conical disc, and the bottom of the grinding box is fixedly installed with a hopper located under the cross. The utility model has high practicability. By arranging a pre-crushing box with a crushing function above the grinding box, the ore sample with a larger volume can be pre-crushed, which ensures smooth grinding and saves the time and cost of manpower for crushing. energy.
Description
技术领域technical field
本实用新型涉及研磨技术领域,尤其涉及一种矿产样品研磨装置。The utility model relates to the technical field of grinding, in particular to a mineral sample grinding device.
背景技术Background technique
在矿石开采之前,需要对矿石样品进行研磨,以便分析出样品中不同物质的含量,所以会用到相应的研磨装置。Before the ore is mined, the ore sample needs to be ground in order to analyze the content of different substances in the sample, so the corresponding grinding device will be used.
但是,现有技术中的矿产样品研磨装置缺少预粉碎机构,导致一些较大块的矿石样品不能顺利的进行研磨,有时需要工作人员人工进行预破碎,较为费时费力,为此,提出一种矿产样品研磨装置。However, the mineral sample grinding device in the prior art lacks a pre-crushing mechanism, which results in that some larger ore samples cannot be ground smoothly, and sometimes requires manual pre-crushing by staff, which is time-consuming and labor-intensive. Therefore, a mineral sample is proposed. Sample grinding device.
实用新型内容Utility model content
本实用新型的目的是为了解决现有技术中存在的缺点,而提出的一种矿产样品研磨装置。The purpose of the utility model is to propose a mineral sample grinding device in order to solve the shortcomings existing in the prior art.
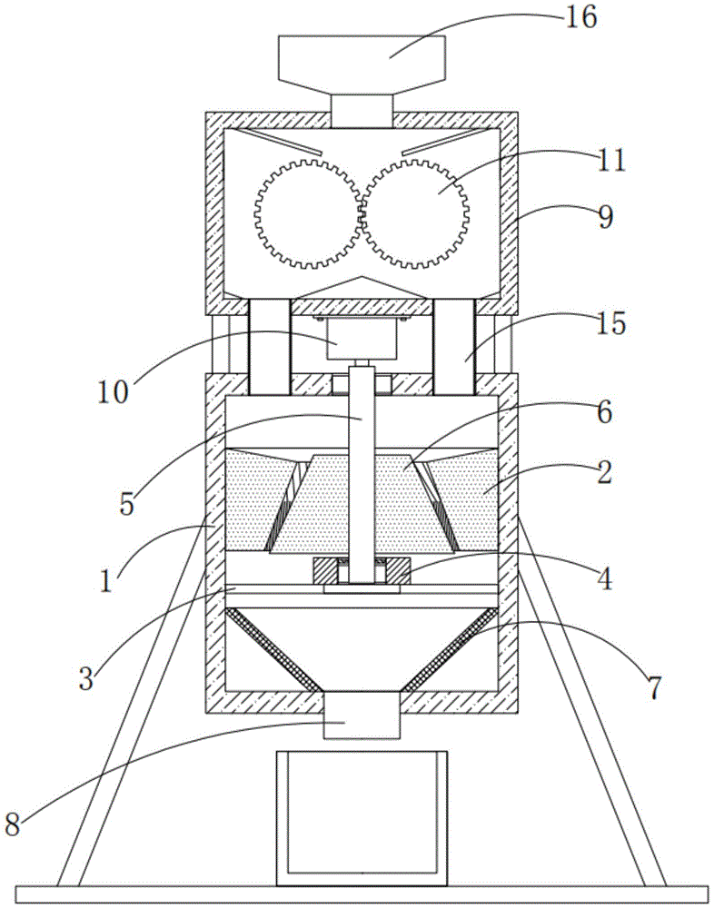
为了实现上述目的,本实用新型采用了如下技术方案:一种矿产样品研磨装置,包括研磨箱,所述研磨箱内固定安装有锥盘,所述研磨箱内固定安装有位于锥盘下方的十字架,所述十字架的顶部中心位置处固定安装有连接块,所述研磨箱上转动安装有转动杆,所述转动杆的底端贯穿锥盘并与连接块固定连接,所述转动杆的外壁上转动安装有位于锥盘内的锥刀,所述锥刀与锥盘相适配,所述研磨箱的底部固定安装有位于十字架下方的接料斗,所述研磨箱的底部固定安装有出料管,且出料管与接料斗相连通,所述研磨箱的顶部固定安装有预粉碎箱,所述预粉碎箱的底部固定安装有第一电机,所述转动杆的顶端延伸至研磨箱的上方并与第一电机的输出轴固定连接,所述预粉碎箱内转动安装有两个破碎辊,所述预粉碎箱的一侧外壁上固定安装有防护罩,两个破碎辊的一端均延伸至防护罩内,两个破碎辊上均固定套设有位于防护罩内的齿轮,且两个齿轮相啮合,所述防护罩远离预粉碎箱的一侧内壁上固定安装有第二电机,所述第二电机的输出轴与任意一个破碎辊的一端固定连接,所述研磨箱的顶部对称固定连接有两个进料管,两个进料管的顶端均与预粉碎箱的底部固定连接。In order to achieve the above purpose, the utility model adopts the following technical scheme: a mineral sample grinding device, comprising a grinding box, a cone disk is fixedly installed in the grinding box, and a cross located below the cone disk is fixedly installed in the grinding box , a connecting block is fixedly installed at the top central position of the cross, a rotating rod is rotatably installed on the grinding box, and the bottom end of the rotating rod penetrates the conical disk and is fixedly connected with the connecting block, and the outer wall of the rotating rod is A cone knife located in the cone disc is rotatably installed, and the cone cutter is adapted to the cone disc. The bottom of the grinding box is fixedly installed with a hopper located under the cross, and the bottom of the grinding box is fixedly installed with a discharge pipe , and the discharge pipe is connected with the hopper, the top of the grinding box is fixedly installed with a pre-crushing box, the bottom of the pre-crushing box is fixedly installed with a first motor, and the top of the rotating rod extends to the top of the grinding box It is fixedly connected with the output shaft of the first motor, two crushing rollers are installed in the pre-crushing box, and a protective cover is fixedly installed on one side of the outer wall of the pre-crushing box, and one end of the two crushing rollers extends to In the protective cover, gears located in the protective cover are fixedly sleeved on the two crushing rollers, and the two gears are engaged with each other. The output shaft of the second motor is fixedly connected to one end of any crushing roller, the top of the grinding box is symmetrically and fixedly connected with two feed pipes, and the tops of the two feed pipes are fixedly connected to the bottom of the pre-crushing box.
优选的,所述预粉碎箱的顶部固定安装有进料斗。Preferably, a feeding hopper is fixedly installed on the top of the pre-shredding box.
优选的,所述研磨箱的顶部固定安装有四个呈矩形分布的支撑柱,四个支撑柱的顶端均与预粉碎箱的底部固定连接。Preferably, four support columns distributed in a rectangular shape are fixedly installed on the top of the grinding box, and the tops of the four support columns are all fixedly connected to the bottom of the pre-grinding box.
优选的,所述研磨箱的顶部开设有第一固定孔,所述转动杆的外壁上固定套设有第一轴承,所述第一轴承的外圈与第一固定孔的内壁固定连接,所述连接块的顶部开设有第二固定孔,所述转动杆的底端固定套设有第二轴承,所述第二轴承的外圈与第二固定孔的内壁固定连接,所述第二固定孔的内壁上固定安装有位于第二轴承上方的密封圈,所述转动杆贯穿密封圈并与密封圈的内圈转动密封连接。Preferably, the top of the grinding box is provided with a first fixing hole, the outer wall of the rotating rod is fixedly sleeved with a first bearing, and the outer ring of the first bearing is fixedly connected with the inner wall of the first fixing hole, so The top of the connecting block is provided with a second fixing hole, the bottom end of the rotating rod is fixedly sleeved with a second bearing, the outer ring of the second bearing is fixedly connected with the inner wall of the second fixing hole, and the second fixing A sealing ring located above the second bearing is fixedly installed on the inner wall of the hole, and the rotating rod penetrates through the sealing ring and is rotationally and sealedly connected with the inner ring of the sealing ring.
优选的,所述研磨箱的下方设置有底板,所述底板的顶部固定连接有多个斜支撑杆,多个斜支撑杆相互靠近的一端均与研磨箱的外壁固定连接。Preferably, a bottom plate is provided below the grinding box, and a plurality of inclined support rods are fixedly connected to the top of the bottom plate, and the ends of the plurality of inclined support rods that are close to each other are fixedly connected to the outer wall of the grinding box.
优选的,所述预粉碎箱上开设有四个第三固定孔,两个破碎辊上均固定套设有两个第三轴承,四个第三轴承均与相对应的第三固定孔的内壁固定连接。Preferably, the pre-crushing box is provided with four third fixing holes, two third bearings are fixedly sleeved on the two crushing rollers, and the four third bearings are all connected to the inner walls of the corresponding third fixing holes Fixed connection.
与现有技术相比,本实用新型的有益效果是:该装置通过研磨箱、锥盘、十字架、连接块、转动杆、锥刀、接料斗、出料管、预粉碎箱、第一电机、破碎辊、防护罩、齿轮、第二电机、进料管和进料斗相配合,通过进料斗可将矿石样品投放到预粉碎箱中,第二电机运行时能同时使两个破碎辊的转动起来,且转向相反,在两个破碎辊的相互咬合下,可使较大的矿石块得以粉碎,从而避免了因矿石体积较大而无法顺利研磨的情况,粉碎后的小颗粒碎料会通过两个进料管进入到研磨箱中,并进入到锥盘与锥刀之间的间隙里,第一电机运行后能带动转动杆转动,转动杆能带动锥刀转动,在锥刀与锥盘的配合下,可将矿石碎料向下拉扯并进行研磨,矿石细粉可通过十字架进入到接料斗中,最终由出料管排出;Compared with the prior art, the beneficial effect of the utility model is: the device passes through the grinding box, the cone disc, the cross, the connecting block, the rotating rod, the cone knife, the hopper, the discharge pipe, the pre-crushing box, the first motor, The crushing roller, the protective cover, the gear, the second motor, the feeding pipe and the feeding hopper cooperate, and the ore sample can be put into the pre-crushing box through the feeding hopper. Rotate and turn in the opposite direction. Under the mutual engagement of the two crushing rollers, the larger ore blocks can be crushed, thus avoiding the situation that the ore volume cannot be smoothly ground, and the crushed small particles will be crushed. It enters the grinding box through two feeding pipes and enters the gap between the cone disc and the cone knife. After the first motor runs, it can drive the rotating rod to rotate, and the rotating rod can drive the cone knife to rotate. With the cooperation of the disc, the ore crushed material can be pulled down and ground, and the ore fine powder can enter the hopper through the cross, and finally be discharged from the discharge pipe;
本实用新型实用性高,通过在研磨箱的上方设置具有粉碎功能预粉碎箱,能对较大体积的矿石样品进行预粉碎,保证了研磨顺利进行的同时,也节省了人力进行破碎的时间和精力。The utility model has high practicability. By arranging a pre-grinding box with a crushing function above the grinding box, it can pre-grind a larger volume of ore samples, which ensures smooth grinding and saves the time and cost of manpower for crushing. energy.
附图说明Description of drawings
图1为本实用新型的结构示意图;Fig. 1 is the structural representation of the utility model;
图2为本实用新型中预粉碎箱的俯视剖视图;Fig. 2 is the top sectional view of the pre-crushing box in the utility model;
图3为本实用新型中锥刀的俯视图。FIG. 3 is a top view of the tapered knife in the utility model.
图中:1、研磨箱;2、锥盘;3、十字架;4、连接块;5、转动杆;6、锥刀;7、接料斗;8、出料管;9、预粉碎箱;10、第一电机; 11、破碎辊;12、防护罩;13、齿轮;14、第二电机;15、进料管; 16、进料斗。In the picture: 1. Grinding box; 2. Conical disc; 3. Cross; 4. Connecting block; 5. Rotating rod; 6. Cone knife; 7. Receiving hopper; 8. Discharging pipe; 9. Pre-crushing box; 10 11. Crushing roller; 12. Protective cover; 13. Gear; 14. Second motor; 15. Feeding pipe; 16. Feeding hopper.
具体实施方式Detailed ways
下面将结合本实用新型实施例中的附图,对本实用新型实施例中的技术方案进行清楚、完整地描述,显然,所描述的实施例仅仅是本实用新型一部分实施例,而不是全部的实施例。基于本实用新型中的实施例,本领域普通技术人员在没有做出创造性劳动前提下所获得的所有其他实施例,都属于本实用新型保护的范围。The technical solutions in the embodiments of the present utility model will be clearly and completely described below with reference to the accompanying drawings in the embodiments of the present utility model. Obviously, the described embodiments are only a part of the embodiments of the present utility model, rather than all the implementations. example. Based on the embodiments of the present invention, all other embodiments obtained by those of ordinary skill in the art without creative work fall within the protection scope of the present invention.
请参照图1-图3所示,本实用新型提供一种技术方案:一种矿产样品研磨装置,包括研磨箱1,研磨箱1内固定安装有锥盘2,研磨箱1内固定安装有位于锥盘2下方的十字架3,十字架3的顶部中心位置处固定安装有连接块4,研磨箱1上转动安装有转动杆5,转动杆5的底端贯穿锥盘2并与连接块4固定连接,转动杆5的外壁上转动安装有位于锥盘2内的锥刀6,锥刀6与锥盘2相适配,研磨箱 1的底部固定安装有位于十字架3下方的接料斗7,研磨箱1的底部固定安装有出料管8,且出料管8与接料斗7相连通,研磨箱1的顶部固定安装有预粉碎箱9,预粉碎箱9的底部固定安装有第一电机10,转动杆5的顶端延伸至研磨箱1的上方并与第一电机10的输出轴固定连接,预粉碎箱9内转动安装有两个破碎辊11,预粉碎箱9的一侧外壁上固定安装有防护罩12,两个破碎辊11的一端均延伸至防护罩12内,两个破碎辊11上均固定套设有位于防护罩12内的齿轮13,且两个齿轮13相啮合,防护罩12远离预粉碎箱9的一侧内壁上固定安装有第二电机14,第二电机14的输出轴与任意一个破碎辊11的一端固定连接,研磨箱1的顶部对称固定连接有两个进料管15,两个进料管15的顶端均与预粉碎箱9的底部固定连接;Please refer to FIG. 1-FIG. 3, the present utility model provides a technical solution: a mineral sample grinding device, comprising a grinding box 1, a cone disk 2 is fixedly installed in the grinding box 1, and a The
预粉碎箱9的顶部固定安装有进料斗16,研磨箱1的顶部固定安装有四个呈矩形分布的支撑柱,四个支撑柱的顶端均与预粉碎箱9 的底部固定连接,研磨箱1的顶部开设有第一固定孔,转动杆5的外壁上固定套设有第一轴承,第一轴承的外圈与第一固定孔的内壁固定连接,连接块4的顶部开设有第二固定孔,转动杆5的底端固定套设有第二轴承,第二轴承的外圈与第二固定孔的内壁固定连接,第二固定孔的内壁上固定安装有位于第二轴承上方的密封圈,转动杆5贯穿密封圈并与密封圈的内圈转动密封连接,研磨箱1的下方设置有底板,底板的顶部固定连接有多个斜支撑杆,多个斜支撑杆相互靠近的一端均与研磨箱1的外壁固定连接,预粉碎箱9上开设有四个第三固定孔,两个破碎辊11上均固定套设有两个第三轴承,四个第三轴承均与相对应的第三固定孔的内壁固定连接,通过研磨箱1、锥盘2、十字架3、连接块4、转动杆5、锥刀6、接料斗7、出料管8、预粉碎箱9、第一电机10、破碎辊11、防护罩12、齿轮13、第二电机14、进料管15和进料斗16相配合,通过进料斗16可将矿石样品投放到预粉碎箱9中,第二电机14运行时能同时使两个破碎辊11的转动起来,且转向相反,在两个破碎辊11的相互咬合下,可使较大的矿石块得以粉碎,从而避免了因矿石体积较大而无法顺利研磨的情况,粉碎后的小颗粒碎料会通过两个进料管15进入到研磨箱1中,并进入到锥盘2与锥刀6之间的间隙里,第一电机10运行后能带动转动杆 5转动,转动杆5能带动锥刀6转动,在锥刀6与锥盘2的配合下,可将矿石碎料向下拉扯并进行研磨,矿石细粉可通过十字架3进入到接料斗7中,最终由出料管8排出;本实用新型实用性高,通过在研磨箱1的上方设置具有粉碎功能预粉碎箱9,能对较大体积的矿石样品进行预粉碎,保证了研磨顺利进行的同时,也节省了人力进行破碎的时间和精力。The top of the
工作原理:锥刀6的外壁上均匀开设有多个外研磨凸纹和外棱牙,且外棱牙位于外研磨凸纹的上方,锥盘2的内壁上开设有多个内研磨凸纹和内棱牙,且内棱牙位于内研磨凸纹的上方,外棱牙与内棱牙相适配,外研磨凸纹与内研磨凸纹相适配;Working principle: the outer wall of the
使用时,将矿石样品从进料斗16投放到预粉碎箱9中,第二电机14运行时能带动对应的破碎辊11转动,通过两个齿轮13的啮合传动,从而使另一个破碎辊11转动起来,并且两个破碎辊11的转向相反,在两个破碎辊11的相互咬合下,较大的矿石块得以粉碎,粉碎后的小颗粒碎料会通过两个进料管15进入到研磨箱1中,并进入到锥盘2与锥刀6之间的间隙里,第一电机10运行后能带动转动杆 5转动,转动杆5能带动锥刀6转动,在锥刀6上外棱牙与锥盘2上内棱牙的作用下,可使矿石碎料逐步向下拉扯,最后在外研磨凹纹和内研磨凹纹的作用下,可将矿石颗粒研磨呈细粉,矿石细粉可通过十字架3进入到接料斗7中,最终由出料管8排出。When in use, the ore sample is put into the
以上所述,仅为本实用新型较佳的具体实施方式,但本实用新型的保护范围并不局限于此,任何熟悉本技术领域的技术人员在本实用新型揭露的技术范围内,根据本实用新型的技术方案及其实用新型构思加以等同替换或改变,都应涵盖在本实用新型的保护范围之内。The above description is only a preferred embodiment of the present invention, but the protection scope of the present invention is not limited to this. Equivalent replacement or modification of the new technical solution and its utility model concept shall be included within the protection scope of the present utility model.
Claims (6)
Priority Applications (1)
| Application Number | Priority Date | Filing Date | Title |
|---|---|---|---|
| CN201921680282.9U CN210935159U (en) | 2019-10-09 | 2019-10-09 | Mineral product sample grinder |
Applications Claiming Priority (1)
| Application Number | Priority Date | Filing Date | Title |
|---|---|---|---|
| CN201921680282.9U CN210935159U (en) | 2019-10-09 | 2019-10-09 | Mineral product sample grinder |
Publications (1)
| Publication Number | Publication Date |
|---|---|
| CN210935159U true CN210935159U (en) | 2020-07-07 |
Family
ID=71372161
Family Applications (1)
| Application Number | Title | Priority Date | Filing Date |
|---|---|---|---|
| CN201921680282.9U Expired - Fee Related CN210935159U (en) | 2019-10-09 | 2019-10-09 | Mineral product sample grinder |
Country Status (1)
| Country | Link |
|---|---|
| CN (1) | CN210935159U (en) |
Cited By (3)
| Publication number | Priority date | Publication date | Assignee | Title |
|---|---|---|---|---|
| CN112275412A (en) * | 2020-09-16 | 2021-01-29 | 鹤山市春记肥业有限公司 | Raw material preheating and grinding device for chemical production and use method thereof |
| CN113441245A (en) * | 2021-05-17 | 2021-09-28 | 滁州润泰清真食品有限公司 | Grain powder processing and milling device and production process thereof |
| CN118454868A (en) * | 2024-07-11 | 2024-08-09 | 江苏圣天新材料有限公司 | A pulverizing device for producing and processing silicon micropowder |
-
2019
- 2019-10-09 CN CN201921680282.9U patent/CN210935159U/en not_active Expired - Fee Related
Cited By (3)
| Publication number | Priority date | Publication date | Assignee | Title |
|---|---|---|---|---|
| CN112275412A (en) * | 2020-09-16 | 2021-01-29 | 鹤山市春记肥业有限公司 | Raw material preheating and grinding device for chemical production and use method thereof |
| CN113441245A (en) * | 2021-05-17 | 2021-09-28 | 滁州润泰清真食品有限公司 | Grain powder processing and milling device and production process thereof |
| CN118454868A (en) * | 2024-07-11 | 2024-08-09 | 江苏圣天新材料有限公司 | A pulverizing device for producing and processing silicon micropowder |
Similar Documents
| Publication | Publication Date | Title |
|---|---|---|
| CN210935159U (en) | Mineral product sample grinder | |
| CN204017895U (en) | A kind of screening type sandstone pulverizer | |
| CN210108811U (en) | A crushing and sampling device for food quality and safety detection | |
| CN204396104U (en) | A shredder for efficiently shredding garbage | |
| CN209502198U (en) | A kind of sieve material device of flour mill | |
| CN110711628A (en) | A waste residue processing apparatus for mineral exploitation | |
| CN209791628U (en) | A graphite pulverizer | |
| CN220573650U (en) | A pulverizer for commercial concrete production | |
| CN216727584U (en) | A grinding device for processing building materials | |
| CN209222285U (en) | Pepper milling device | |
| CN215743883U (en) | Granulation processingequipment is smashed to abandonment rubber | |
| CN212069010U (en) | A vegetable and fruit grinder | |
| CN208320918U (en) | It is a kind of intelligent and environmental protection to pulverize cutter tooth separation equipment | |
| CN221046270U (en) | Pharmaceutical raw material masher | |
| CN209438708U (en) | A high-efficiency raw ore crushing device for coal mine development | |
| CN202410783U (en) | Leakage-preventing crushing system for traditional Chinese medicinal materials | |
| CN211865354U (en) | A crushing device for quartz sand production and processing | |
| CN216173009U (en) | A stone crusher that can refine and crush stones in stages | |
| CN216322231U (en) | Multiple breaker of effect by force | |
| CN205667866U (en) | Gypsum Fibrosum powder fast-crushing device | |
| CN211303157U (en) | Ceramic raw material crushing device | |
| CN209646695U (en) | A crushing equipment for Tibetan medicine processing | |
| CN209490912U (en) | A kind of intelligence konjaku sand disk starch mill | |
| CN212284175U (en) | Coal powder processing equipment for coal mine | |
| CN209287495U (en) | Construction waste crushing equipment for construction engineering |
Legal Events
| Date | Code | Title | Description |
|---|---|---|---|
| GR01 | Patent grant | ||
| GR01 | Patent grant | ||
| CF01 | Termination of patent right due to non-payment of annual fee | ||
| CF01 | Termination of patent right due to non-payment of annual fee |
Granted publication date: 20200707 Termination date: 20211009 |
