CN210934546U - Aquatic product processing stirrer convenient for removing floating impurities - Google Patents
Aquatic product processing stirrer convenient for removing floating impurities Download PDFInfo
- Publication number
- CN210934546U CN210934546U CN201921494769.8U CN201921494769U CN210934546U CN 210934546 U CN210934546 U CN 210934546U CN 201921494769 U CN201921494769 U CN 201921494769U CN 210934546 U CN210934546 U CN 210934546U
- Authority
- CN
- China
- Prior art keywords
- casing
- plate
- rod
- box
- baffle
- Prior art date
- Legal status (The legal status is an assumption and is not a legal conclusion. Google has not performed a legal analysis and makes no representation as to the accuracy of the status listed.)
- Active
Links
Images
Landscapes
- Mixers Of The Rotary Stirring Type (AREA)
Abstract
本实用新型公开了一种便于去除漂浮杂质的水产品加工用搅拌机,包括机壳、进料箱、出料箱、第二电机和挡板,所述机壳的左侧设置有第一电机,所述机壳的顶端设置有滑轨,所述连接块的底端焊接有液压杆,所述连接杆的底端设置有内部呈多孔状结构的打捞板,所述进料箱位于机壳的左端,所述出料箱位于机壳的右端,所述第二电机位于机壳的右侧,且第二电机的输出端连接有转杆,所述挡板位于机壳的底端,且挡板的底端设置有承接板,所述挡板的内部螺纹连接有物料盖。该便于去除漂浮杂质的水产品加工用搅拌机,通过打捞板和推板的左右移动,便于全面的去除物料上的漂浮杂质,且能够快速打开机壳,方便对搅拌棒和转杆进行清洗。
The utility model discloses a mixer for processing aquatic products which is convenient for removing floating impurities, which comprises a casing, a feeding box, a discharging box, a second motor and a baffle. The top end of the casing is provided with a sliding rail, the bottom end of the connecting block is welded with a hydraulic rod, the bottom end of the connecting rod is provided with a salvage plate with a porous structure inside, and the feeding box is located at the bottom of the casing. The left end, the discharge box is located at the right end of the casing, the second motor is located on the right side of the casing, and the output end of the second motor is connected with a rotating rod, the baffle is located at the bottom end of the casing, and the blocking The bottom end of the plate is provided with a receiving plate, and the interior of the baffle is screwed with a material cover. The agitator for processing aquatic products, which is easy to remove floating impurities, is convenient for comprehensively removing floating impurities on the material through the left and right movement of the salvage plate and the push plate, and can quickly open the casing to facilitate the cleaning of the stirring rod and the rotating rod.
Description
技术领域technical field
本实用新型涉及水产品加工技术领域,具体为一种便于去除漂浮杂质的水产品加工用搅拌机。The utility model relates to the technical field of aquatic product processing, in particular to a mixer for aquatic product processing which is convenient for removing floating impurities.
背景技术Background technique
市场上有许多的鱼糜产品,比如鱼丸、鱼糕、鱼香肠和鱼卷等,鱼糜是一种新型的水产调理食品原料,由于鱼糜制品调理简便,细嫩味美,又耐储藏,颇适合城市消费,这类制品即能大规模工厂化制造,又能家庭式手工生产,即可提高低值鱼的经济价值,又能为人民所接受,因而是一种很有发展前途的水产制品,在制作过程中,需要将粉碎后的鱼肉、适量的水和适量的食盐放置在一起搅拌,使得鱼肉、水和食盐充分混合,但搅拌后静置的过程中,物料上表面易出现漂浮杂质。There are many surimi products on the market, such as fish balls, fish cakes, fish sausages and fish rolls. Suitable for urban consumption, such products can be manufactured in large-scale factories and hand-made at home, which can improve the economic value of low-value fish and be accepted by the people, so it is a promising aquatic product. , In the production process, it is necessary to put the crushed fish meat, an appropriate amount of water and an appropriate amount of salt together and stir, so that the fish meat, water and salt are fully mixed, but during the process of standing after stirring, floating impurities are prone to appear on the surface of the material. .
现有的水产品加工用搅拌机在清理漂浮杂质的过程中,需要工作人员使用工具在物料的上表面一遍一遍的收集漂浮杂质,费时费力,且物料为粘稠状结构,易粘附在搅拌棒上,清洗搅拌棒时,需要将整个搅拌机拆开,致使搅拌棒不易清洗,因此,我们提出一种便于去除漂浮杂质的水产品加工用搅拌机,以便于解决上述中提出的问题。In the process of cleaning the floating impurities in the existing mixer for aquatic product processing, the staff need to use tools to collect the floating impurities on the upper surface of the material again and again, which is time-consuming and laborious, and the material has a viscous structure, which is easy to adhere to the stirring rod. Above, when cleaning the stirring rod, the whole mixer needs to be disassembled, which makes the stirring rod difficult to clean. Therefore, we propose a mixer for aquatic product processing that is easy to remove floating impurities, so as to solve the above problems.
实用新型内容Utility model content
本实用新型的目的在于提供一种便于去除漂浮杂质的水产品加工用搅拌机,以解决上述背景技术中提出的现有的水产品加工用搅拌机需要工作人员使用工具在物料的上表面一遍一遍的收集漂浮杂质,费时费力,且物料为粘稠状结构,易粘附在搅拌棒上,清洗搅拌棒时,需要将整个搅拌机拆开,致使搅拌棒不易清洗的问题。The purpose of the present utility model is to provide a mixer for processing aquatic products that is convenient for removing floating impurities, so as to solve the problem that the existing mixers for processing aquatic products proposed in the above-mentioned background technology require workers to use tools to collect on the upper surface of the material again and again. Floating impurities is time-consuming and labor-intensive, and the material has a viscous structure, which is easy to adhere to the stirring rod. When cleaning the stirring rod, the entire mixer needs to be disassembled, which makes the stirring rod difficult to clean.
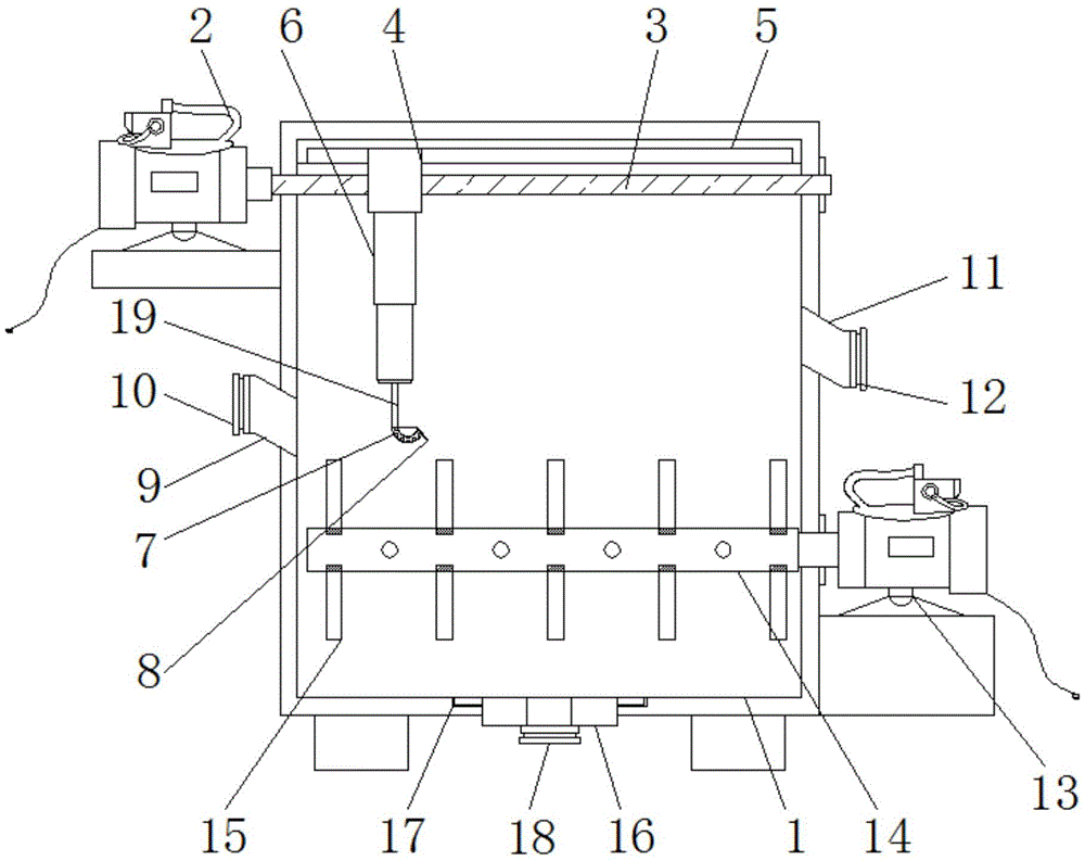
为实现上述目的,本实用新型提供如下技术方案:一种便于去除漂浮杂质的水产品加工用搅拌机,包括机壳、进料箱、出料箱、第二电机和挡板,所述机壳的左侧设置有第一电机,且第一电机的输出端连接有丝杆,并且丝杆的外侧螺纹连接有连接块,所述机壳的顶端设置有滑轨,且滑轨的内部安装有连接块,所述连接块的底端焊接有液压杆,且液压杆的底端固定连接有连接杆,所述连接杆的底端设置有内部呈多孔状结构的打捞板,且打捞板的右端安装有推板,所述进料箱位于机壳的左端,且进料箱的内部卡合安装有第一密封块,所述出料箱位于机壳的右端,且出料箱的内部卡合安装有第二密封块,所述第二电机位于机壳的右侧,且第二电机的输出端连接有转杆,并且转杆的外端连接有搅拌棒,所述挡板位于机壳的底端,且挡板的底端设置有承接板,所述挡板的内部螺纹连接有物料盖。In order to achieve the above purpose, the utility model provides the following technical solutions: a mixer for processing aquatic products that is convenient for removing floating impurities, comprising a casing, a feeding box, a discharging box, a second motor and a baffle, and the The left side is provided with a first motor, and the output end of the first motor is connected with a screw rod, and the outer side of the screw rod is screwed with a connecting block, the top of the casing is provided with a slide rail, and the interior of the slide rail is provided with a connection block The bottom end of the connecting block is welded with a hydraulic rod, and the bottom end of the hydraulic rod is fixedly connected with a connecting rod, the bottom end of the connecting rod is provided with a salvage plate with a porous structure inside, and the right end of the salvage plate is installed There is a push plate, the feed box is located at the left end of the casing, and a first sealing block is installed inside the feed box, the discharge box is located at the right end of the casing, and the inside of the discharge box is installed by clamping There is a second sealing block, the second motor is located on the right side of the casing, the output end of the second motor is connected with a rotating rod, and the outer end of the rotating rod is connected with a stirring rod, and the baffle is located at the bottom of the casing The bottom end of the baffle is provided with a receiving plate, and the interior of the baffle is screwed with a material cover.
优选的,所述丝杆与机壳构成旋转结构,且连接块通过丝杆与机壳构成左右滑动结构。Preferably, the screw rod and the casing form a rotating structure, and the connecting block forms a left-right sliding structure through the screw rod and the casing.
优选的,所述打捞板的纵截面呈圆弧形结构,且打捞板的前后两外表面均与机壳的内壁相贴合,打捞板在机壳内为升降结构,且推板倾斜安装在打捞板的右端。Preferably, the longitudinal section of the salvage plate is in a circular arc structure, and the front and rear outer surfaces of the salvage plate are in contact with the inner wall of the casing. The right end of the salvage plate.
优选的,所述进料箱与出料箱分别倾斜安装在机壳的左右两端,且进料箱与出料箱的倾斜方向相反,并且出料箱的长度等于打捞板的长度。Preferably, the feeding box and the discharging box are respectively installed obliquely at the left and right ends of the casing, the inclination directions of the feeding box and the discharging box are opposite, and the length of the discharging box is equal to the length of the salvage plate.
优选的,所述搅拌棒与转杆的连接方式为螺纹连接,且搅拌棒等间距设置在转杆的外端,并且转杆的中心线与液压杆的中心线相互垂直。Preferably, the connection mode of the stirring rod and the rotating rod is threaded connection, and the stirring rods are arranged at the outer end of the rotating rod at equal intervals, and the center line of the rotating rod and the center line of the hydraulic rod are perpendicular to each other.
优选的,所述挡板与机壳的连接方式为卡合连接,且挡板的纵截面呈“T”型结构,并且物料盖贯穿挡板。Preferably, the connection between the baffle and the casing is a snap connection, the longitudinal section of the baffle is in a "T" shape, and the material cover penetrates through the baffle.
与现有技术相比,本实用新型的有益效果是:该便于去除漂浮杂质的水产品加工用搅拌机,通过打捞板和推板的左右移动,便于全面的去除物料上的漂浮杂质,且能够快速打开机壳,方便对搅拌棒和转杆进行清洗;Compared with the prior art, the beneficial effect of the present utility model is that: the mixer for processing aquatic products, which is convenient for removing floating impurities, is convenient for comprehensively removing floating impurities on the material through the left and right movement of the salvage plate and the push plate, and can quickly Open the casing to facilitate cleaning of the stirring rod and rotating rod;
1.设置有第一电机、丝杆和连接块,第一电机带动丝杆旋转,丝杆与连接块的连接方式为螺纹连接,连接块通过丝杆的旋转,在丝杆上左右滑动,从而带动与连接块间接连接的打捞板和推板在机壳内左右滑动,打捞板和推板在物料上左右滑动,收集物料上的漂浮杂质,便于除去物料上的漂浮杂质;1. A first motor, a screw rod and a connecting block are provided. The first motor drives the screw rod to rotate. The screw rod and the connecting block are connected in a threaded connection. The connecting block slides left and right on the screw rod through the rotation of the screw rod. Drive the salvage plate and the push plate indirectly connected with the connecting block to slide left and right in the casing, and the salvage plate and the push plate slide left and right on the material to collect the floating impurities on the material, which is convenient for removing the floating impurities on the material;
2.设置有液压杆、打捞板和推板,通过调节液压杆的高度,调节打捞板和推板的高度,使得打捞板和推板能够与漂浮杂质接触,且打捞板的纵截面呈圆弧形结构,能够将漂浮杂质收集在打捞板内,避免在移出漂浮杂质的过程中,漂浮杂质掉落,并且打捞板的前后两外表面均与机壳的内壁相贴合,能够全面的收集物料上表面的漂浮杂质;2. A hydraulic rod, a salvage plate and a push plate are provided. By adjusting the height of the hydraulic rod, the height of the salvage plate and the push plate can be adjusted, so that the salvage plate and the push plate can be in contact with floating impurities, and the longitudinal section of the salvage plate is arc. The shape structure can collect the floating impurities in the salvage plate to avoid the floating impurities falling during the process of removing the floating impurities, and the front and rear outer surfaces of the salvage plate are in contact with the inner wall of the casing, which can comprehensively collect materials. floating impurities on the upper surface;
3.设置有进料箱和出料箱,进料箱与出料箱分别倾斜安装在机壳的左右两端,且进料箱与出料箱的倾斜方向相反,进料箱的开口向上,出料箱的开口向下,使得物料通过进料箱快速投入机壳内,且漂浮杂质通过出料箱快速从机壳内流出;3. A feeding box and a discharging box are provided. The feeding box and the discharging box are respectively installed obliquely on the left and right ends of the casing, and the inclination directions of the feeding box and the discharging box are opposite, and the opening of the feeding box is upward. The opening of the discharge box is downward, so that the material can be quickly put into the casing through the feeding box, and the floating impurities can quickly flow out of the casing through the discharge box;
4.设置有挡板和物料盖,由于挡板与机壳的连接方式为卡合连接,向上推动挡板,能够将挡板完全放置在机壳内,从而打开机壳,且转杆与搅拌棒的连接方式为螺纹连接,方便将搅拌棒从转杆上拆下,通过机壳的底端将搅拌棒取出,从而方便对搅拌棒和转杆进行清洗。4. A baffle and a material cover are provided. Since the connection between the baffle and the casing is a snap connection, pushing the baffle upward can completely place the baffle in the casing, thereby opening the casing, and the rotating rod is connected to the stirring rod. The connection method of the rod is threaded connection, which is convenient to remove the stirring rod from the rotating rod, and take out the stirring rod through the bottom end of the casing, so as to facilitate the cleaning of the stirring rod and the rotating rod.
附图说明Description of drawings
图1为本实用新型正视剖切结构示意图;Fig. 1 is the front view sectional structure schematic diagram of the present utility model;
图2为本实用新型左侧剖切结构示意图;Figure 2 is a schematic diagram of the left side cut structure of the utility model;
图3为本实用新型右侧结构示意图;Fig. 3 is the structural representation of the right side of the utility model;
图4为本实用新型俯视剖切结构示意图;4 is a schematic top view of the cutaway structure of the present utility model;
图5为本实用新型挡板与机壳的连接结构示意图。FIG. 5 is a schematic diagram of the connection structure of the baffle plate and the casing of the present invention.
图中:1、机壳;2、第一电机;3、丝杆;4、连接块;5、滑轨;6、液压杆;7、打捞板;8、推板;9、进料箱;10、第一密封块;11、出料箱;12、第二密封块;13、第二电机;14、转杆;15、搅拌棒;16、挡板;17、承接板;18、物料盖;19、连接杆。In the figure: 1, the casing; 2, the first motor; 3, the lead screw; 4, the connecting block; 5, the slide rail; 6, the hydraulic rod; 7, the salvage plate; 8, the push plate; 9, the feed box; 10, the first sealing block; 11, the discharge box; 12, the second sealing block; 13, the second motor; 14, the rotating rod; 15, the stirring rod; ; 19. Connecting rod.
具体实施方式Detailed ways
下面将结合本实用新型实施例中的附图,对本实用新型实施例中的技术方案进行清楚、完整地描述,显然,所描述的实施例仅仅是本实用新型一部分实施例,而不是全部的实施例。基于本实用新型中的实施例,本领域普通技术人员在没有做出创造性劳动前提下所获得的所有其他实施例,都属于本实用新型保护的范围。The technical solutions in the embodiments of the present utility model will be clearly and completely described below with reference to the accompanying drawings in the embodiments of the present utility model. Obviously, the described embodiments are only a part of the embodiments of the present utility model, rather than all the implementations. example. Based on the embodiments of the present invention, all other embodiments obtained by those of ordinary skill in the art without creative work fall within the protection scope of the present invention.
请参阅图1-5,本实用新型提供一种技术方案:一种便于去除漂浮杂质的水产品加工用搅拌机,包括机壳1、第一电机2、丝杆3、连接块4、滑轨5、液压杆6、打捞板7、推板8、进料箱9、第一密封块10、出料箱11、第二密封块12、第二电机13、转杆14、搅拌棒15、挡板16、承接板17、物料盖18和连接杆19,机壳1的左侧设置有第一电机2,且第一电机2的输出端连接有丝杆3,并且丝杆3的外侧螺纹连接有连接块4,丝杆3与机壳1构成旋转结构,且连接块4通过丝杆3与机壳1构成左右滑动结构,利用连接块4的移动,带动打捞板7和推板8在物料上左右移动,收集物料上的漂浮杂质,机壳1的顶端设置有滑轨5,且滑轨5的内部安装有连接块4,连接块4的底端焊接有液压杆6,且液压杆6的底端固定连接有连接杆19,连接杆19的底端设置有内部呈多孔状结构的打捞板7,且打捞板7的右端安装有推板8,打捞板7的纵截面呈圆弧形结构,且打捞板7的前后两外表面均与机壳1的内壁相贴合,打捞板7在机壳1内为升降结构,且推板8倾斜安装在打捞板7的右端,能够全面收集物料上的漂浮杂质,进料箱9位于机壳1的左端,且进料箱9的内部卡合安装有第一密封块10,出料箱11位于机壳1的右端,且出料箱11的内部卡合安装有第二密封块12,第二电机13位于机壳1的右侧,且第二电机13的输出端连接有转杆14,并且转杆14的外端连接有搅拌棒15,搅拌棒15与转杆14的连接方式为螺纹连接,且搅拌棒15等间距设置在转杆14的外端,并且转杆14的中心线与液压杆6的中心线相互垂直,在液压杆6左右移动的过程中,转杆14不会阻碍打捞板7的移动,挡板16位于机壳1的底端,且挡板16的底端设置有承接板17,挡板16的内部螺纹连接有物料盖18;Please refer to FIGS. 1-5 , the present utility model provides a technical solution: a mixer for processing aquatic products that is convenient for removing floating impurities, comprising a
如图1中进料箱9与出料箱11分别倾斜安装在机壳1的左右两端,且进料箱9与出料箱11的倾斜方向相反,并且出料箱11的长度等于打捞板7的长度,使得物料通过进料箱9快速投入机壳1内,且漂浮杂质通过出料箱11快速从机壳1内流出;As shown in FIG. 1, the feeding box 9 and the
如图5中挡板16与机壳1的连接方式为卡合连接,且挡板16的纵截面呈“T”型结构,并且物料盖18贯穿挡板16,能够快速打开机壳1,便于将搅拌棒15取出,从而对搅拌棒15和转杆14进行清洗。As shown in FIG. 5 , the connection between the
工作原理:在使用该便于去除漂浮杂质的水产品加工用搅拌机时,首先将型号为Y90S-2的第一电机2和型号为IHSS57-36-20的第二电机13接通外界电源,由于进料箱9与第一密封块10的连接方式为卡合连接,将第一密封块10从进料箱9内取下,然后向进料箱9内倒入粉碎后的鱼肉、适量的水和食盐,由于进料箱9倾斜安装在机壳1的左端,且进料箱9的开口向上,鱼肉、水和食盐能够快速进入机壳1内,鱼肉、水和食盐投放完毕后,将第一密封块10安装在进料箱9内;Working principle: When using the mixer for aquatic product processing, which is easy to remove floating impurities, first connect the
接着打开第二电机13,第二电机13通过转杆14带动搅拌棒15在机壳1内慢速旋转,从而搅拌棒15带动机壳1内的物料转动,鱼肉、水和食盐充分混合后,关闭第二电机13,使机壳1内的物料静置一段时间,物料的上表面出现漂浮的杂质,根据漂浮杂质的高度,通过液压杆6调节打捞板7和推板8的高度,将打捞板7和推板8的底端调节至漂浮杂质的底端,然后打开第一电机2,第一电机2带动丝杆3旋转,由于丝杆3与连接块4的连接方式为螺纹连接,通过丝杆3的旋转,连接块4在丝杆3上左右滑动,带动液压杆6、打捞板7和推板8在机壳1的内部左右滑动,推板8将漂浮杂质推至机壳1的右端,然后在液压杆6的作用下,打捞板7继续向下,利用打捞板7收集漂浮杂质,接着在液压杆6的作用下,将打捞板7向上升起,升至与出料箱11同一高度,由于打捞板7的内部呈多孔状结构,能够将打捞板7内打捞的水过滤掉,再将第二密封块12从出料箱11内取下,由于打捞板7的长度等于第二密封块12的长度,打捞板7能够放置在出料箱11的内部,工作人员通过外界工具将打捞板7内的漂浮杂质去除在出料箱11内,由于出料箱11的开口向下,且出料箱11倾斜安装在机壳1的右端,方便取出出料箱11内部的杂质;Then turn on the
当需要将搅拌后的鱼肉取出时,由于物料盖18与挡板16的连接方式为螺纹连接,将物料盖18从挡板16内取下,从而打开机壳1的内部空间,物料流出机壳1,当需要清洗转杆14和搅拌棒15时,向上推动挡板16,使挡板16完全进入机壳1内,工作人员的手从机壳1的底端伸入机壳1内,由于搅拌棒15与转杆14的连接方式为螺纹连接,方便将搅拌棒15从转杆14上取下,从而将搅拌棒15从机壳1内取出,对搅拌棒15和转杆14进行清洗,以上便完成该便于去除漂浮杂质的水产品加工用搅拌机的一系列操作,本说明中未作详细描述的内容属于本领域专业技术人员公知的现有技术。When the stirred fish meat needs to be taken out, since the
本实用新型使用到的标准零件均可以从市场上购买,异形件根据说明书的和附图的记载均可以进行订制,各个零件的具体连接方式均采用现有技术中成熟的螺栓、铆钉、焊接等常规手段,机械、零件和设备均采用现有技术中,常规的型号,加上电路连接采用现有技术中常规的连接方式,在此不再详述。The standard parts used in the utility model can be purchased from the market, the special-shaped parts can be customized according to the description in the specification and the drawings, and the specific connection method of each part adopts the mature bolts, rivets and welding in the prior art. and other conventional means, the machinery, parts and equipment all adopt the conventional models in the prior art, and the circuit connection adopts the conventional connection manner in the prior art, which will not be described in detail here.
尽管参照前述实施例对本实用新型进行了详细的说明,对于本领域的技术人员来说,其依然可以对前述各实施例所记载的技术方案进行修改,或者对其中部分技术特征进行等同替换,凡在本实用新型的精神和原则之内,所作的任何修改、等同替换、改进等,均应包含在本实用新型的保护范围之内。Although the present invention has been described in detail with reference to the foregoing embodiments, for those skilled in the art, it is still possible to modify the technical solutions described in the foregoing embodiments, or perform equivalent replacements for some of the technical features. Within the spirit and principle of the present utility model, any modifications, equivalent replacements, improvements, etc. made shall be included within the protection scope of the present utility model.
Claims (6)
Priority Applications (1)
| Application Number | Priority Date | Filing Date | Title |
|---|---|---|---|
| CN201921494769.8U CN210934546U (en) | 2019-09-10 | 2019-09-10 | Aquatic product processing stirrer convenient for removing floating impurities |
Applications Claiming Priority (1)
| Application Number | Priority Date | Filing Date | Title |
|---|---|---|---|
| CN201921494769.8U CN210934546U (en) | 2019-09-10 | 2019-09-10 | Aquatic product processing stirrer convenient for removing floating impurities |
Publications (1)
| Publication Number | Publication Date |
|---|---|
| CN210934546U true CN210934546U (en) | 2020-07-07 |
Family
ID=71391217
Family Applications (1)
| Application Number | Title | Priority Date | Filing Date |
|---|---|---|---|
| CN201921494769.8U Active CN210934546U (en) | 2019-09-10 | 2019-09-10 | Aquatic product processing stirrer convenient for removing floating impurities |
Country Status (1)
| Country | Link |
|---|---|
| CN (1) | CN210934546U (en) |
Cited By (3)
| Publication number | Priority date | Publication date | Assignee | Title |
|---|---|---|---|---|
| CN113319021A (en) * | 2021-05-19 | 2021-08-31 | 安徽有余跨越瓜蒌食品开发有限公司 | High-efficient separator that washs of trichosanthes seed |
| CN113753987A (en) * | 2021-10-20 | 2021-12-07 | 王强 | An aquaculture water circulation treatment device |
| CN113995002A (en) * | 2021-11-08 | 2022-02-01 | 浙江源泰水产食品有限公司 | Raw material rinsing device capable of cleaning scum for minced fillet processing |
-
2019
- 2019-09-10 CN CN201921494769.8U patent/CN210934546U/en active Active
Cited By (5)
| Publication number | Priority date | Publication date | Assignee | Title |
|---|---|---|---|---|
| CN113319021A (en) * | 2021-05-19 | 2021-08-31 | 安徽有余跨越瓜蒌食品开发有限公司 | High-efficient separator that washs of trichosanthes seed |
| CN113753987A (en) * | 2021-10-20 | 2021-12-07 | 王强 | An aquaculture water circulation treatment device |
| CN113753987B (en) * | 2021-10-20 | 2024-01-05 | 广东乐润基食品有限公司 | Aquaculture water circulation processing apparatus |
| CN113995002A (en) * | 2021-11-08 | 2022-02-01 | 浙江源泰水产食品有限公司 | Raw material rinsing device capable of cleaning scum for minced fillet processing |
| CN113995002B (en) * | 2021-11-08 | 2022-06-28 | 浙江源泰水产食品有限公司 | Raw material rinsing device capable of cleaning scum for minced fillet processing |
Similar Documents
| Publication | Publication Date | Title |
|---|---|---|
| CN210934546U (en) | Aquatic product processing stirrer convenient for removing floating impurities | |
| CN216935628U (en) | A kind of compound water retention agent stirring and mixing device | |
| CN216935751U (en) | Stirring device for dairy production and processing | |
| CN210303301U (en) | Filling material homogeneity mixer | |
| CN206870413U (en) | A kind of solid-liquid squeezing machine | |
| CN208839744U (en) | A kind of agricultural product grinding device being convenient to clean | |
| CN221452798U (en) | Food inspection sample processing breaker | |
| CN220126085U (en) | A mixing device for food processing | |
| CN210672026U (en) | Cleaning equipment is used in food processing production of water conservation | |
| CN209121113U (en) | A kind of dough mixing machine being convenient to clean residual dough | |
| CN207509518U (en) | A kind of vertical mixing machine | |
| CN217868753U (en) | Vegetable oil refining equipment | |
| CN213493469U (en) | Mixing machine for food processing | |
| CN218393606U (en) | Melting box is used in cosmetics production and processing | |
| CN221986813U (en) | A protective structure for food processing and packaging device | |
| CN223248936U (en) | A petroleum sodium sulfonate production filtering device | |
| CN209135241U (en) | A kind of noodle processing device convenient for dedusting | |
| CN220159951U (en) | Glass lining reaction kettle capable of preventing materials from sticking to wall | |
| CN213202960U (en) | A kind of rice bran oil freezing and crystallization device | |
| CN222148968U (en) | Potato cleaning equipment easy to clean | |
| CN219849952U (en) | High-efficient meat grinder | |
| CN113940436B (en) | Use method of special separation structure for food processing | |
| CN216674493U (en) | An easy-to-discharge meat filling pot | |
| CN221244718U (en) | A mixing and stirring device for metal powder metallurgy | |
| CN219877382U (en) | Peanut belt cleaning device is used in food processing |
Legal Events
| Date | Code | Title | Description |
|---|---|---|---|
| GR01 | Patent grant | ||
| GR01 | Patent grant | ||
| CP03 | Change of name, title or address | ||
| CP03 | Change of name, title or address |
Address after: 316104 Zheshan City, Putuo District, Zhejiang Province Xianmao Street, Zhoushan City, Putuo District, Zhejiang Province Yuyu Market, Wulu Road, No. 7, Zhoushan City, Putuo District, Zhejiang Province Patentee after: Zhejiang Pingtairong Biotechnology Co.,Ltd. Country or region after: China Address before: 316104 Zheshan City, Putuo District, Zhejiang Province Xianmao Street, Zhoushan City, Putuo District, Zhejiang Province Yuyu Market, Wulu Road, No. 7, Zhoushan City, Putuo District, Zhejiang Province Patentee before: Zhejiang Ronghe Biotechnology Co.,Ltd. Country or region before: China |
