CN210924421U - Host computer protection device for computer - Google Patents
Host computer protection device for computer Download PDFInfo
- Publication number
- CN210924421U CN210924421U CN202020115494.9U CN202020115494U CN210924421U CN 210924421 U CN210924421 U CN 210924421U CN 202020115494 U CN202020115494 U CN 202020115494U CN 210924421 U CN210924421 U CN 210924421U
- Authority
- CN
- China
- Prior art keywords
- protective box
- sliding
- host
- box
- cover plate
- Prior art date
- Legal status (The legal status is an assumption and is not a legal conclusion. Google has not performed a legal analysis and makes no representation as to the accuracy of the status listed.)
- Expired - Fee Related
Links
Images
Landscapes
- Handcart (AREA)
Abstract
本实用新型公开了一种用于计算机的主机防护装置,包括防护箱,防护箱底端设有移动装置,防护箱前表面设有开口,开口下方防护箱表面固定连接有长条,防护箱四侧内壁均设有夹持装置,防护箱底端活动连接有盖板,盖板通过两个滑动装置与防护箱连接,防护箱两侧均设有散热口,两个散热口侧壁均固定连接有防尘网,防护箱背侧设有若干通孔,若干通孔内壁均粘接有若干刷毛,本实用新型能够方便对防护箱和主机的移动,同时能够很好的对主机进行防护,防止主机受到意外撞击而出现损坏情况,也避免了外部灰尘大量进入到主机上的接线口内,保证主机的正常运作。
The utility model discloses a host protection device for a computer, comprising a protection box, a bottom end of the protection box is provided with a moving device, an opening is arranged on the front surface of the protection box, a long strip is fixedly connected to the surface of the protection box under the opening, and four sides of the protection box are provided. The inner wall is provided with a clamping device, the bottom end of the protective box is movably connected with a cover plate, and the cover plate is connected with the protective box through two sliding devices. The dust net, the back side of the protective box is provided with a number of through holes, and the inner walls of the through holes are all bonded with a number of bristles. Damage caused by accidental impact also prevents a large amount of external dust from entering the wiring port on the host, ensuring the normal operation of the host.
Description
技术领域technical field
本实用新型涉及一种用于计算机的主机防护装置,属于计算机设备技术领域。The utility model relates to a host protection device for a computer, which belongs to the technical field of computer equipment.
背景技术Background technique
主机是指计算机除去输入输出设备以外的主要机体部分。也是用于放置主板及其他主要部件的控制箱体(容器Mainframe)。通常包括CPU、内存、主板、光驱、电源、以及其他输入输出控制器和接口。在网络技术中是关于发送与接收信息的终端设备。The host refers to the main body part of the computer except the input and output devices. It is also a control box (container Mainframe) for placing the motherboard and other major components. Usually includes CPU, memory, motherboard, optical drive, power supply, and other input and output controllers and interfaces. In network technology it is about terminal devices that send and receive information.
生活中,主机通常都配备有防护箱,现有的防护箱功能过于单一,不方便对进行移动,受到撞击时,容易对防护箱内部的主机造成损伤,影响主机的使用寿命,同时,在主机闲置时,外部灰尘会穿过防护箱进入到主机上的连接孔内,容易出现接触不良的现象。In life, the host is usually equipped with a protective box. The existing protective box has too single function and is inconvenient to move. When it is hit, it is easy to cause damage to the host inside the protective box and affect the service life of the host. When idle, external dust will enter the connection hole on the host through the protective box, which is prone to poor contact.
实用新型内容Utility model content
本实用新型的目的在于提供一种用于计算机的主机防护装置,以解决上述背景技术中提出的问题。The purpose of the present invention is to provide a host protection device for a computer, so as to solve the problems raised in the above background technology.
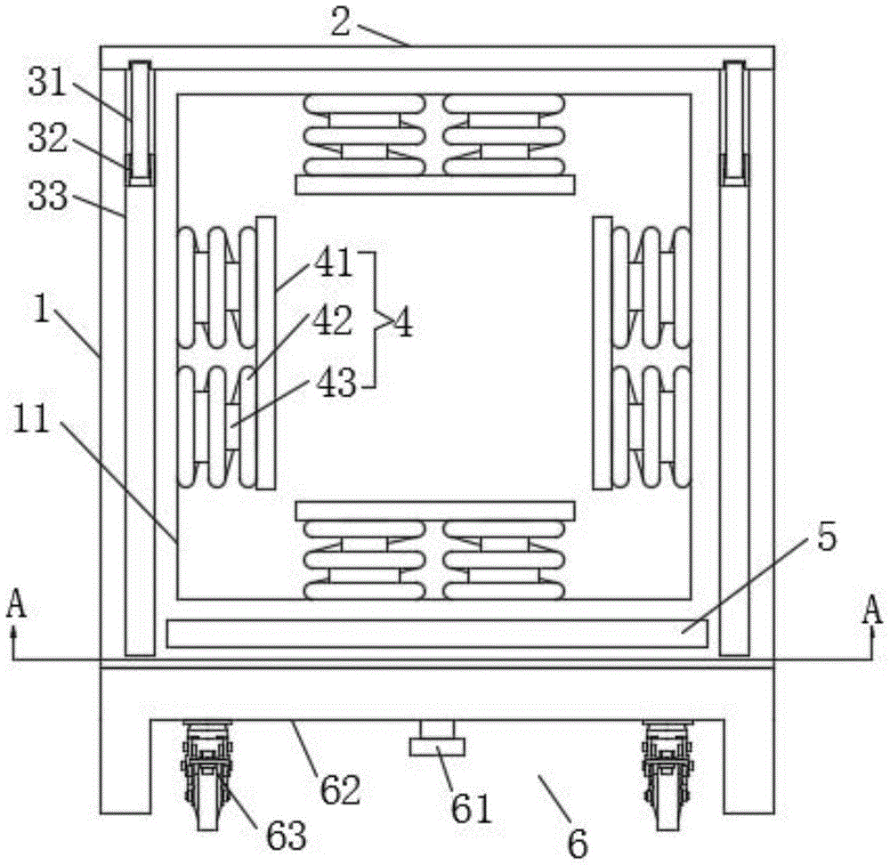
为实现上述目的,本实用新型提供如下技术方案:一种用于计算机的主机防护装置,包括防护箱,所述防护箱底端设有移动装置,所述防护箱前表面设有开口,所述开口下方防护箱表面固定连接有长条,所述防护箱四侧内壁均设有夹持装置,所述防护箱底端活动连接有盖板,所述盖板通过两个滑动装置与防护箱连接,所述防护箱两侧均设有散热口,两个所述散热口侧壁均固定连接有防尘网,所述防护箱背侧设有若干通孔,若干所述通孔内壁均粘接有若干刷毛。In order to achieve the above purpose, the utility model provides the following technical solutions: a host protective device for a computer, comprising a protective box, the bottom end of the protective box is provided with a moving device, the front surface of the protective box is provided with an opening, the opening is The surface of the lower protective box is fixedly connected with a long strip, the inner walls of the four sides of the protective box are provided with clamping devices, the bottom end of the protective box is movably connected with a cover plate, and the cover plate is connected with the protective box through two sliding devices, so Both sides of the protective box are provided with cooling vents, the side walls of the two cooling vents are fixedly connected with dustproof nets, the back side of the protective box is provided with a number of through holes, and the inner walls of the through holes are bonded bristles.
优选的,所述移动装置包括安装板、四个脚刹轮、两个螺栓和两个螺纹孔,所述防护箱底端设有安装板,所述安装板底端四角均固定连接有脚刹轮,所述安装板底端对称螺纹连接有两个螺栓,所述防护箱底端对称设有两个螺纹孔,两个所述螺栓杆壁端均贯穿安装板与对应螺纹孔螺纹连接。Preferably, the moving device includes a mounting plate, four caster wheels, two bolts and two threaded holes, the bottom end of the protective box is provided with a mounting plate, and the four corners of the bottom end of the mounting plate are fixedly connected with caster wheels The bottom end of the mounting plate is symmetrically threaded with two bolts, the bottom end of the protective box is symmetrically provided with two threaded holes, and the two bolt rod wall ends penetrate the mounting plate and are threadedly connected to the corresponding threaded holes.
优选的,四个所述夹持装置均包括一组伸缩杆、夹持板和一组弹簧,四组所述伸缩杆分别与防护箱四侧内壁固定连接,四组所述伸缩杆伸缩端均固定连接有夹持板,四个所述伸缩杆外围均设有一组弹簧,四组所述弹簧一端分别与防护箱四侧内壁固定连接,四组所述弹簧另一端分别与四个夹持板固定连接。Preferably, each of the four clamping devices includes a set of telescopic rods, a clamping plate and a set of springs, the four sets of the telescopic rods are respectively fixedly connected to the inner walls of the four sides of the protective box, and the telescopic ends of the four sets of the telescopic rods are A clamping plate is fixedly connected, and a set of springs are arranged on the periphery of the four telescopic rods. One end of the four sets of springs is fixedly connected to the inner walls of the four sides of the protective box, and the other ends of the four sets of springs are respectively connected to the four clamping plates. Fixed connection.
优选的,两个所述滑动装置均包括第一滑槽、第一滑块、第一连接板、第一长槽、第二滑槽、第二滑块、第二连接板和第二长槽,所述防护箱前表面对称设有两个第一滑槽,两个所述第一滑槽内均滑动连接有第一滑块,两个所述第一滑块上均转动连接有第一连接板,所述盖板两端分别设有两个第一长槽和两个第二长槽,两个所述第一长槽和两个第二长槽分别与盖板两端端部连通,两个所述第一长槽内壁与对应第一连接板转动连接,两个所述第二长槽内壁均转动连接有第二连接板,两个所述第二连接板一端均固定连接有第二滑块,所述防护箱顶端对称设有两个第二滑槽,两个所述第二滑块均与对应第二滑槽滑动连接。Preferably, both of the two sliding devices include a first chute, a first sliding block, a first connecting plate, a first long groove, a second sliding groove, a second sliding block, a second connecting plate and a second long groove , the front surface of the protective box is symmetrically provided with two first sliding grooves, the first sliding blocks are slidably connected in the two first sliding grooves, and the first sliding blocks are rotatably connected with the two first sliding blocks. A connecting plate, two first long grooves and two second long grooves are respectively provided at both ends of the cover plate, and the two first long grooves and the two second long grooves are respectively communicated with the ends of the two ends of the cover plate , the inner walls of the two first long grooves are rotatably connected with the corresponding first connecting plates, the inner walls of the two second long grooves are rotatably connected with second connecting plates, and one end of the two second connecting plates is fixedly connected with a For the second sliding block, the top of the protective box is symmetrically provided with two second sliding grooves, and the two second sliding blocks are both slidably connected with the corresponding second sliding grooves.
优选的,两个所述第一滑槽、两个第一滑块、两个第二滑槽和两个第二滑块均设为“T”形状。Preferably, the two first sliding grooves, the two first sliding blocks, the two second sliding grooves and the two second sliding blocks are all set in a "T" shape.
优选的,所述长条设置为“L”形状,且所述长条与盖板端部相对应。Preferably, the long strip is arranged in an "L" shape, and the long strip corresponds to the end of the cover plate.
与现有技术相比,本实用新型的有益效果是:Compared with the prior art, the beneficial effects of the present utility model are:
1.本实用新型在防护箱内设有四个夹持装置,均包括一组伸缩杆、夹持板和一组弹簧,通过四个夹持板对主机的上下两端和左右两侧进行挤压和夹持,适用不同大小的主机,同时,当防护箱受到意外撞击时,能够减小主机受到的冲击力,从而保护主机安全。1. The utility model is provided with four clamping devices in the protective box, all of which include a set of telescopic rods, a clamping plate and a set of springs, and the upper and lower ends and the left and right sides of the main machine are squeezed through the four clamping plates. It is suitable for different sizes of mainframes, and at the same time, when the protective box is accidentally hit, it can reduce the impact force on the mainframe, thereby protecting the safety of the mainframe.
2.本实用新型通过两个滑动装置连接有盖板,两个滑动装置均包括第一滑槽、第一滑块、第一连接板、第一长槽、第二滑槽、第二滑块、第二连接板和第二长槽,当主机闲置时,向下拉动盖板,两个第一滑块和两个第二滑块分别在于对应第一滑槽和第二滑槽内滑动,盖板端部与长条结合时,能够将防护箱前表面进行遮盖,再通过防护箱两侧的防尘网以及防护箱背侧的若干通孔内的若干刷毛,能够很好的防止外部灰尘进入到防护箱内影响主机的运作。2. The utility model is connected with a cover plate through two sliding devices, both of which include a first chute, a first sliding block, a first connecting plate, a first long groove, a second sliding groove, and a second sliding block. , the second connecting plate and the second long slot, when the host is idle, pull down the cover plate, the two first sliders and the two second sliders slide in the corresponding first chute and second chute respectively, When the end of the cover plate is combined with the strip, it can cover the front surface of the protective box, and then pass through the dust nets on both sides of the protective box and a number of bristles in the through holes on the back of the protective box, which can well prevent external dust. Entering into the protective box affects the operation of the host.
3.本实用新型设有移动装置,包括安装板、四个脚刹轮、两个螺栓和两个螺纹孔,通过四个脚刹轮方便了对防护箱和主机的移动,同时通过两个螺栓和两个螺纹孔,能够方便的将安装板进行拆卸,根据实际需要选择安装脚刹轮或者拆卸脚刹轮,更加实用。3. The utility model is provided with a moving device, including a mounting plate, four caster brake wheels, two bolts and two threaded holes. And two threaded holes, the mounting plate can be easily disassembled, and it is more practical to choose to install the caster wheel or remove the caster wheel according to the actual needs.
附图说明Description of drawings
图1为本实用新型内部结构示意图;1 is a schematic diagram of the internal structure of the utility model;
图2为本实用新型的右侧视结构示意图;Fig. 2 is the right side view structure schematic diagram of the present utility model;
图3为本实用新型的背面结构示意图;3 is a schematic view of the rear structure of the utility model;
图4为本实用新型的A-A面结构示意图;Fig. 4 is the A-A surface structure schematic diagram of the present utility model;
图5为本实用新型的滑动装置结构示意图;5 is a schematic structural diagram of a sliding device of the present invention;
图6为本实用新型的长条结构示意图。FIG. 6 is a schematic diagram of a strip structure of the present invention.
图中:1、防护箱;2、盖板;3、滑动装置;31、第一连接板;32、第一滑块;33、第一滑槽;34、第一长槽;35、第二滑槽;36、第二长槽;37、第二连接板;38、第二滑块;4、夹持装置;41、夹持板;42、弹簧;43、伸缩杆;5、长条;6、移动装置;61、螺栓;62、安装板;63、脚刹轮;64、螺纹孔;7、散热口;8、防尘网;9、通孔;10、刷毛;11、开口。In the figure: 1, protective box; 2, cover plate; 3, sliding device; 31, first connecting plate; 32, first slider; 33, first chute; 34, first long groove; 35, second Chute; 36, second long groove; 37, second connecting plate; 38, second slider; 4, clamping device; 41, clamping plate; 42, spring; 43, telescopic rod; 5, long bar; 6. Mobile device; 61. Bolt; 62. Mounting plate; 63. Foot brake wheel; 64. Threaded hole;
具体实施方式Detailed ways
下面将结合本实用新型实施例中的附图,对本实用新型实施例中的技术方案进行清楚、完整地描述,显然,所描述的实施例仅仅是本实用新型一部分实施例,而不是全部的实施例。基于本实用新型中的实施例,本领域普通技术人员在没有做出创造性劳动前提下所获得的所有其他实施例,都属于本实用新型保护的范围。The technical solutions in the embodiments of the present utility model will be clearly and completely described below with reference to the accompanying drawings in the embodiments of the present utility model. Obviously, the described embodiments are only a part of the embodiments of the present utility model, rather than all the implementations. example. Based on the embodiments of the present invention, all other embodiments obtained by those of ordinary skill in the art without creative work fall within the protection scope of the present invention.
请参阅图1-6,本实用新型提供一种技术方案:一种用于计算机的主机防护装置,包括防护箱1,防护箱1底端设有移动装置6,防护箱1前表面设有开口11,开口11下方防护箱1表面固定连接有长条5,防护箱1四侧内壁均设有夹持装置4,防护箱1底端活动连接有盖板2,盖板2通过两个滑动装置3与防护箱1连接,防护箱1两侧均设有散热口7,两个散热口7侧壁均固定连接有防尘网8,防护箱1背侧设有若干通孔9,若干通孔9内壁均粘接有若干刷毛10,通过滑动装置3带动盖板2移动和防护箱1两侧的防尘网8以及防护箱1背侧的若干通孔9内的若干刷毛10,能够很好的防止外部灰尘进入到防护箱1内影响主机的运作,同时,利用四个夹持装置4使防护箱1适用不同大小的主机,当防护箱1受到意外撞击时,能够减小主机受到的冲击力,从而保护主机安全,并且移动装置6方便了防护箱1和主机的移动,十分方便。1-6, the present utility model provides a technical solution: a host protective device for a computer, comprising a
两个滑动装置3均包括第一滑槽33、第一滑块32、第一连接板31、第一长槽34、第二滑槽35、第二滑块38、第二连接板37和第二长槽36,防护箱1前表面对称设有两个第一滑槽33,两个第一滑槽33内均滑动连接有第一滑块32,两个第一滑块32上均转动连接有第一连接板31,盖板2两端分别设有两个第一长槽34和两个第二长槽36,两个第一长槽34和两个第二长槽36分别与盖板2两端端部连通,两个第一长槽34内壁与对应第一连接板31转动连接,两个第二长槽36内壁均转动连接有第二连接板37,两个第二连接板37一端均固定连接有第二滑块38,防护箱1顶端对称设有两个第二滑槽35,两个第二滑块38均与对应第二滑槽35滑动连接,向下拉动盖板2,两个第一滑块32和两个第二滑块38分别在于对应第一滑槽33和第二滑槽35内滑动,盖板2端部与长条5结合时,能够将防护箱1前表面进行遮盖,再通过防护箱1两侧的防尘网8以及防护箱1背侧的若干通孔9内的若干刷毛10,能够很好的防止外部灰尘进入到防护箱1内影响主机的运作,两个第一滑槽33、两个第一滑块32、两个第二滑槽35和两个第二滑块38均设为“T”形状,保证第一滑块32和第二滑块38移动过程中的稳定性,四个夹持装置4均包括一组伸缩杆43、夹持板41和一组弹簧42,四组伸缩杆43分别与防护箱1四侧内壁固定连接,四组伸缩杆43伸缩端均固定连接有夹持板41,四个伸缩杆43外围均设有一组弹簧42,四组弹簧42一端分别与防护箱1四侧内壁固定连接,四组弹簧42另一端分别与四个夹持板41固定连接,通过四个夹持板41对主机的上下两端和左右两侧进行挤压和夹持,适用不同大小的主机,同时,当防护箱1受到意外撞击时,能够减小主机受到的冲击力,从而保护主机安全,长条5设置为“L”形状,且长条5与盖板2端部相对应,对盖板2位置进行固定支撑,从而对防护箱1前表面进行遮挡,移动装置6包括安装板62、四个脚刹轮63、两个螺栓61和两个螺纹孔64,防护箱1底端设有安装板62,安装板62底端四角均固定连接有脚刹轮63,安装板62底端对称螺纹连接有两个螺栓61,防护箱1底端对称设有两个螺纹孔64,两个螺栓61杆壁端均贯穿安装板62与对应螺纹孔64螺纹连接,通过四个脚刹轮63方便了对防护箱1和主机的移动,同时通过两个螺栓61和两个螺纹孔64,能够方便的将安装板62进行拆卸,根据实际需要选择安装脚刹轮63或者拆卸脚刹轮63,更加实用。Both
具体的,本实用新型使用时,向上拉动盖板2,两个第一滑块32和两个第二滑块38分别在于对应第一滑槽33和第二滑槽35内滑动,当盖板2移动到防护箱1顶端时,将主机放置到防护箱1内时,通过四个夹持板41对主机的上下两端和左右两侧进行挤压和夹持,适用不同大小的主机,同时,当防护箱1受到意外撞击时,能够减小主机受到的冲击力,从而保护主机安全,通过四个脚刹轮63方便了对防护箱1和主机的移动,同时通过两个螺栓61和两个螺纹孔64,能够方便的将安装板62进行拆卸,根据实际需要选择安装脚刹轮63或者拆卸脚刹轮63,更加实用,当主机闲置时,向下拉动盖板2,两个第一滑块32和两个第二滑块38分别在于对应第一滑槽33和第二滑槽35内滑动,盖板2端部与长条5结合时,能够将防护箱1前表面进行遮盖,再通过防护箱1两侧的防尘网8以及防护箱1背侧的若干通孔9内的若干刷毛10,能够很好的防止外部灰尘进入到防护箱1内影响主机的运作。Specifically, when the utility model is used, the
在本实用新型的描述中,需要理解的是,术语“同轴”、“底部”、“一端”、“顶部”、“中部”、“另一端”、“上”、“一侧”、“顶部”、“内”、“前部”、“中央”、“两端”等指示的方位或位置关系为基于附图所示的方位或位置关系,仅是为了便于描述本实用新型和简化描述,而不是指示或暗示所指的装置或元件必须具有特定的方位、以特定的方位构造和操作,因此不能理解为对本实用新型的限制。In the description of the present invention, it should be understood that the terms "coaxial", "bottom", "one end", "top", "middle", "the other end", "upper", "one side", " The orientation or positional relationship indicated by "top", "inside", "front", "center", "both ends", etc. is based on the orientation or positional relationship shown in the accompanying drawings, and is only for the convenience of describing the present invention and simplifying the description , rather than indicating or implying that the referred device or element must have a specific orientation, be constructed and operated in a specific orientation, and therefore cannot be construed as a limitation on the present invention.
此外,术语“第一”、“第二”、“第三”、“第四”仅用于描述目的,而不能理解为指示或暗示相对重要性或者隐含指明所指示的技术特征的数量,由此,限定有“第一”、“第二”、“第三”、“第四”的特征可以明示或者隐含地包括至少一个该特征。In addition, the terms "first", "second", "third", "fourth" are only used for descriptive purposes and should not be understood as indicating or implying relative importance or implying the number of technical features indicated, Thus, features defined as "first", "second", "third", "fourth" may expressly or implicitly include at least one of such features.
在本实用新型中,除非另有明确的规定和限定,术语“安装”、“设置”、“连接”、“固定”、“旋接”等术语应做广义理解,例如,可以是固定连接,也可以是可拆卸连接,或成一体;可以是机械连接,也可以是电连接;可以是直接相连,也可以通过中间媒介间接相连,可以是两个元件内部的连通或两个元件的相互作用关系,除非另有明确的限定,对于本领域的普通技术人员而言,可以根据具体情况理解上述术语在本实用新型中的具体含义。In the present utility model, unless otherwise expressly specified and limited, terms such as "installation", "arrangement", "connection", "fixation", "swivel connection" should be understood in a broad sense, for example, it may be a fixed connection, It can also be detachable connection or integrated; it can be mechanical connection or electrical connection; it can be directly connected or indirectly connected through an intermediate medium, it can be the internal communication of two elements or the interaction of two elements Unless otherwise clearly defined, those of ordinary skill in the art can understand the specific meanings of the above terms in the present invention according to specific situations.
尽管已经示出和描述了本实用新型的实施例,对于本领域的普通技术人员而言,可以理解在不脱离本实用新型的原理和精神的情况下可以对这些实施例进行多种变化、修改、替换和变型,本实用新型的范围由所附权利要求及其等同物限定。Although the embodiments of the present invention have been shown and described, it will be understood by those skilled in the art that various changes and modifications can be made to these embodiments without departing from the principles and spirit of the present invention , alternatives and modifications, the scope of the present invention is defined by the appended claims and their equivalents.
Claims (6)
Priority Applications (1)
| Application Number | Priority Date | Filing Date | Title |
|---|---|---|---|
| CN202020115494.9U CN210924421U (en) | 2020-01-16 | 2020-01-16 | Host computer protection device for computer |
Applications Claiming Priority (1)
| Application Number | Priority Date | Filing Date | Title |
|---|---|---|---|
| CN202020115494.9U CN210924421U (en) | 2020-01-16 | 2020-01-16 | Host computer protection device for computer |
Publications (1)
| Publication Number | Publication Date |
|---|---|
| CN210924421U true CN210924421U (en) | 2020-07-03 |
Family
ID=71353036
Family Applications (1)
| Application Number | Title | Priority Date | Filing Date |
|---|---|---|---|
| CN202020115494.9U Expired - Fee Related CN210924421U (en) | 2020-01-16 | 2020-01-16 | Host computer protection device for computer |
Country Status (1)
| Country | Link |
|---|---|
| CN (1) | CN210924421U (en) |
Cited By (1)
| Publication number | Priority date | Publication date | Assignee | Title |
|---|---|---|---|---|
| CN113453478A (en) * | 2021-07-07 | 2021-09-28 | 郑州轻工业大学 | Safety protection device for computer |
-
2020
- 2020-01-16 CN CN202020115494.9U patent/CN210924421U/en not_active Expired - Fee Related
Cited By (1)
| Publication number | Priority date | Publication date | Assignee | Title |
|---|---|---|---|---|
| CN113453478A (en) * | 2021-07-07 | 2021-09-28 | 郑州轻工业大学 | Safety protection device for computer |
Similar Documents
| Publication | Publication Date | Title |
|---|---|---|
| CN210924421U (en) | Host computer protection device for computer | |
| CN216352171U (en) | A computer case that can quickly replace hard disks | |
| CN112506301B (en) | Portable computer host casing with protection component | |
| CN109857230A (en) | A kind of server heat sink of the network security with dedusting function | |
| CN211087103U (en) | 3U VPX forced air cooling consolidates quick-witted case | |
| CN216210840U (en) | Virtual machine storage device of integrated server | |
| CN209356978U (en) | A Waterproof Computer Case Convenient for Dust Removal and Maintenance | |
| CN207924599U (en) | A kind of packaged type computer cabinet | |
| CN204945921U (en) | A kind of Novel computer host case | |
| CN209390101U (en) | Device for data safety monitoring and analyzing equipment | |
| CN210005988U (en) | computer mainframe with high-efficient dustproof function of heat dissipation | |
| CN210864573U (en) | Rotatable computer machine case | |
| CN209928336U (en) | Safety protection device for computer host | |
| CN220171509U (en) | A multifunctional computer for financial accounting | |
| CN222748943U (en) | Data running device for software development | |
| CN221485896U (en) | Computer interface protection structure | |
| CN220488699U (en) | Heat dissipation base for host computer convenient to transport | |
| CN221824880U (en) | Detachable structure of touch integrated machine | |
| CN221910396U (en) | A high frequency precision welding machine | |
| CN218122584U (en) | Radiating computer motherboard structure | |
| CN216286427U (en) | Data display device for electronic commerce | |
| CN221175329U (en) | A computer host structure | |
| CN219436481U (en) | Low-voltage power distribution cabinet capable of protecting circuit | |
| CN211860947U (en) | Embedded communication acquisition box | |
| CN222167550U (en) | Computer case with good heat dissipation effect |
Legal Events
| Date | Code | Title | Description |
|---|---|---|---|
| GR01 | Patent grant | ||
| GR01 | Patent grant | ||
| CF01 | Termination of patent right due to non-payment of annual fee |
Granted publication date: 20200703 Termination date: 20210116 |
|
| CF01 | Termination of patent right due to non-payment of annual fee |
