CN210908754U - Square battery module end plate and electric core carrying mechanism - Google Patents
Square battery module end plate and electric core carrying mechanism Download PDFInfo
- Publication number
- CN210908754U CN210908754U CN201921049201.5U CN201921049201U CN210908754U CN 210908754 U CN210908754 U CN 210908754U CN 201921049201 U CN201921049201 U CN 201921049201U CN 210908754 U CN210908754 U CN 210908754U
- Authority
- CN
- China
- Prior art keywords
- applying device
- battery module
- fixed
- force applying
- force
- Prior art date
- Legal status (The legal status is an assumption and is not a legal conclusion. Google has not performed a legal analysis and makes no representation as to the accuracy of the status listed.)
- Active
Links
- 230000007246 mechanism Effects 0.000 title claims abstract description 35
- 210000000078 claw Anatomy 0.000 claims abstract description 18
- 230000005540 biological transmission Effects 0.000 claims abstract description 15
- 230000004656 cell transport Effects 0.000 claims 1
- 238000003466 welding Methods 0.000 abstract description 6
- 238000007493 shaping process Methods 0.000 abstract description 2
- 230000001681 protective effect Effects 0.000 description 5
- 238000010586 diagram Methods 0.000 description 4
- 239000000872 buffer Substances 0.000 description 3
- 239000000463 material Substances 0.000 description 3
- 230000007723 transport mechanism Effects 0.000 description 3
- 230000003139 buffering effect Effects 0.000 description 1
- 238000010438 heat treatment Methods 0.000 description 1
- 238000004519 manufacturing process Methods 0.000 description 1
- 238000000034 method Methods 0.000 description 1
- 230000009466 transformation Effects 0.000 description 1
Images
Classifications
-
- Y—GENERAL TAGGING OF NEW TECHNOLOGICAL DEVELOPMENTS; GENERAL TAGGING OF CROSS-SECTIONAL TECHNOLOGIES SPANNING OVER SEVERAL SECTIONS OF THE IPC; TECHNICAL SUBJECTS COVERED BY FORMER USPC CROSS-REFERENCE ART COLLECTIONS [XRACs] AND DIGESTS
- Y02—TECHNOLOGIES OR APPLICATIONS FOR MITIGATION OR ADAPTATION AGAINST CLIMATE CHANGE
- Y02E—REDUCTION OF GREENHOUSE GAS [GHG] EMISSIONS, RELATED TO ENERGY GENERATION, TRANSMISSION OR DISTRIBUTION
- Y02E60/00—Enabling technologies; Technologies with a potential or indirect contribution to GHG emissions mitigation
- Y02E60/10—Energy storage using batteries
-
- Y—GENERAL TAGGING OF NEW TECHNOLOGICAL DEVELOPMENTS; GENERAL TAGGING OF CROSS-SECTIONAL TECHNOLOGIES SPANNING OVER SEVERAL SECTIONS OF THE IPC; TECHNICAL SUBJECTS COVERED BY FORMER USPC CROSS-REFERENCE ART COLLECTIONS [XRACs] AND DIGESTS
- Y02—TECHNOLOGIES OR APPLICATIONS FOR MITIGATION OR ADAPTATION AGAINST CLIMATE CHANGE
- Y02P—CLIMATE CHANGE MITIGATION TECHNOLOGIES IN THE PRODUCTION OR PROCESSING OF GOODS
- Y02P70/00—Climate change mitigation technologies in the production process for final industrial or consumer products
- Y02P70/50—Manufacturing or production processes characterised by the final manufactured product
Landscapes
- Manipulator (AREA)
Abstract
本实用新型揭示了一种方形电池模块端板及电芯搬运机构,包括固定支架、连接板、固定端夹爪、活动端夹爪、传动机构和第一施力装置,所述传动机构与第一施力装置相连接,使得传动机构带动第一施力装置移动,且所述第一施力装置和活动端夹爪均与固定支架滑动连接,所述第一施力装置与活动端夹爪固定连接,使得第一施力装置可带动活动端夹爪沿固定支架移动,所述固定端夹爪与固定支架固定连接,且所述固定端夹爪与活动端夹爪相对设置。本实用新型可全自动完成电池模块中端板和电芯夹取,便于完成产品的组装、定型,方便后期的焊接工作执行,且通过设置夹爪和凸出部防止物料脱落;此外,可对不同长度型号的电池模块进行快速调整,适用于各种型号电池模块。
The utility model discloses a square battery module end plate and a battery cell handling mechanism, comprising a fixed bracket, a connecting plate, a fixed end clamping claw, a movable end clamping claw, a transmission mechanism and a first force applying device. A force-applying device is connected, so that the transmission mechanism drives the first force-applying device to move, and the first force-applying device and the movable-end clamping claw are both slidably connected to the fixed bracket, and the first force-applying device and the movable-end clamping claw are both slidably connected The fixed connection enables the first force applying device to drive the movable end clamping claw to move along the fixed bracket, the fixed end clamping claw is fixedly connected with the fixed bracket, and the fixed end clamping claw and the movable end clamping claw are arranged opposite to each other. The utility model can automatically complete the clamping of the middle end plate and the electric core of the battery module, which is convenient for the assembly and shaping of the product, and facilitates the execution of the welding work in the later stage. The battery modules of different length models can be adjusted quickly and are suitable for various types of battery modules.
Description
技术领域technical field
本实用新型实施例涉及电池模块制造技术领域,尤其涉及一种方形电池模块端板及电芯搬运机构。The embodiments of the utility model relate to the technical field of battery module manufacturing, and in particular, to an end plate of a square battery module and a cell handling mechanism.
背景技术Background technique
电池模块用于为新能源汽车提供施力,中国专利201821378978.1公开了一种具有加热系统的电池模块,包括端板、侧板、电芯和汇流排,端板位于电芯的左右两端,侧板位于电芯的前后两端,汇流排位于电芯位于电芯上方,为了将电池模块组装成一个整体,需要将端板以及电芯均搬运至焊接台上,现有技术中主要靠人工运送,耗时较长,工作效率较低,也增加了工作人员的工作强度。The battery module is used to provide force for new energy vehicles. Chinese patent 201821378978.1 discloses a battery module with a heating system, including end plates, side plates, cells and bus bars. The plates are located at the front and rear ends of the cells, and the bus bars are located above the cells. In order to assemble the battery module into a whole, both the end plates and the cells need to be transported to the welding table. In the prior art, manual transportation is mainly used. , it takes a long time, the work efficiency is low, and it also increases the work intensity of the staff.
发明内容SUMMARY OF THE INVENTION
本实用新型实施例的目的在于解决上述技术问题,提供一种方形电池模块端板及电芯搬运机构,便于将方形电池模块物料搬运至焊接台上。The purpose of the embodiments of the present invention is to solve the above-mentioned technical problems, and to provide a prismatic battery module end plate and a cell handling mechanism, which are convenient for transporting the prismatic battery module materials to the welding table.
本实用新型实施例提供了一种方形电池模块端板及电芯搬运机构,包括固定支架、连接板、固定端夹爪、活动端夹爪、传动机构和第一施力装置,所述传动机构与第一施力装置相连接,使得传动机构带动第一施力装置移动,且所述第一施力装置和活动端夹爪均与固定支架滑动连接,所述第一施力装置与活动端夹爪固定连接,使得第一施力装置可带动活动端夹爪沿固定支架移动,所述固定端夹爪与固定支架固定连接,且所述固定端夹爪与活动端夹爪相对设置。The embodiment of the present utility model provides a square battery module end plate and a cell handling mechanism, including a fixed bracket, a connecting plate, a fixed end clamping claw, a movable end clamping claw, a transmission mechanism and a first force applying device. The transmission mechanism It is connected with the first force application device, so that the transmission mechanism drives the first force application device to move, and the first force application device and the movable end jaw are both slidably connected to the fixed bracket, and the first force application device is connected to the movable end. The clamping jaws are fixedly connected, so that the first force applying device can drive the movable end clamping jaws to move along the fixed bracket, the fixed end clamping jaws are fixedly connected with the fixed bracket, and the fixed end clamping jaws and the movable end clamping jaws are arranged opposite to each other.
进一步地,上述方形电池模块端板及电芯搬运机构,其中:所述传动机构包括电机和螺杆,所述电机固定连接于固定支架上,所述电机与螺杆相连接,固定支架底部设有导轨,所述第一施力装置通过第一滑块与固定支架的导轨滑动连接,所述活动端夹爪通过第二滑块与固定支架的导轨滑动连接。Further, the above-mentioned square battery module end plate and cell handling mechanism, wherein: the transmission mechanism includes a motor and a screw rod, the motor is fixedly connected to the fixing bracket, the motor is connected to the screw rod, and the bottom of the fixing bracket is provided with a guide rail. The first force applying device is slidably connected to the guide rail of the fixed bracket through a first sliding block, and the movable end clamping claw is slidably connected to the guide rail of the fixed bracket through a second sliding block.
进一步地,上述方形电池模块端板及电芯搬运机构,其中:所述固定支架上形成有开口,所述螺杆处于该开口处,另设有一第一施力装置连接件,该第一施力装置连接件上形成有通孔,所述第一施力装置与第一施力装置连接件固定连接,所述第一施力装置连接件穿过所述开口,且第一施力装置连接件上的通孔套于螺杆外周。Further, in the above-mentioned square battery module end plate and cell handling mechanism, wherein: an opening is formed on the fixing bracket, the screw rod is located at the opening, and a first force applying device connecting piece is further provided. A through hole is formed on the device connecting piece, the first force applying device is fixedly connected with the first force applying device connecting piece, the first force applying device connecting piece passes through the opening, and the first force applying device connecting piece The through hole on the screw is sleeved on the outer circumference of the screw.
进一步地,上述方形电池模块端板及电芯搬运机构,其中:所述第一施力装置可选为气缸或电磁铁,气缸或电磁铁的活动杆与活动端夹爪固定连接。Further, in the above-mentioned square battery module end plate and cell handling mechanism, wherein: the first force applying device can be an air cylinder or an electromagnet, and the movable rod of the air cylinder or electromagnet is fixedly connected to the movable end clamping jaw.
更进一步地,上述方形电池模块端板及电芯搬运机构,其中:所述固定端夹爪和活动端夹爪下端均设有凸出部。Further, in the above-mentioned square battery module end plate and cell handling mechanism, the lower ends of the fixed end clamping jaws and the movable end clamping jaws are both provided with protruding parts.
更进一步地,上述方形电池模块端板及电芯搬运机构,其中:另设有一连接板,所述连接板与所述固定支架固定连接,所述连接板上设有用于和机械手连接的机械手固定部。Further, the above-mentioned square battery module end plate and cell handling mechanism, wherein: another connecting plate is provided, the connecting plate is fixedly connected with the fixing bracket, and the connecting plate is provided with a manipulator for connecting with a manipulator. department.
本实用新型的实质性特点和显著的技术进步体现在:本实用新型可全自动完成电池模块中端板和电芯夹取,便于完成产品的组装、定型,方便后期的焊接工作执行,且通过设置夹爪和凸出部防止物料脱落;此外,可对不同长度型号的电池模块进行快速调整,适用于各种型号电池模块。The substantive features and significant technical progress of the present utility model are reflected in: the utility model can fully automatically complete the clamping of the middle end plate and the battery cell of the battery module, which is convenient for the assembly and finalization of the product, and facilitates the execution of the welding work in the later stage. Claws and protrusions are provided to prevent materials from falling off; in addition, battery modules of different lengths and models can be quickly adjusted, which is suitable for various types of battery modules.
附图说明Description of drawings
图1是方形电池模块搬运机构结构示意图;Figure 1 is a schematic structural diagram of a square battery module handling mechanism;
图2是方形电池模块搬运机构除去防护罩示意图;Fig. 2 is a schematic diagram of removing the protective cover from the transport mechanism of the square battery module;
图3是方形电池模块搬运机构底部视角示意图;FIG. 3 is a schematic diagram of a bottom perspective view of a square battery module handling mechanism;
图4是方形电池模块搬运机构除去延长板示意图。FIG. 4 is a schematic diagram of removing the extension plate by the transport mechanism for the prismatic battery module.
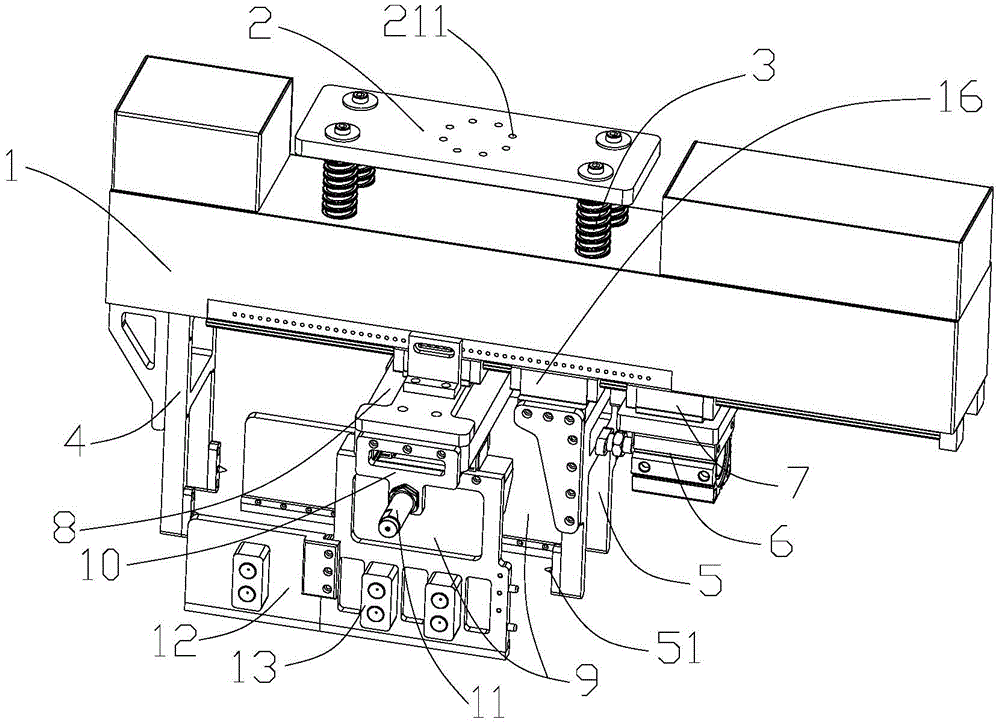
附图标记说明:1、防护罩;2、连接板;211、机械手固定部;3、连杆;4、固定端夹爪;41、凸出部;5、活动端夹爪;51、凸出部;6、第一施力装置;7、第一滑块;8、夹板连接件;81、导轨;9、夹板;91、支撑部;10、连接件;11、油压缓冲器;12、延长板;13、真空吸盘;14、第二施力装置;15、螺杆;16、第二滑块; 17、第三滑块;18、锁定件;19、电机;20、固定支架;201、开口;202、导轨; 203、定位孔;21、第一施力装置连接件。Description of reference numerals: 1, protective cover; 2, connecting plate; 211, fixed part of the manipulator; 3, connecting rod; 4, fixed end clamp; 41, protruding part; 5, movable end clamp; part; 6, the first force application device; 7, the first slider; 8, the splint connector; 81, the guide rail; 9, the splint; 91, the support part; 10, the connecting piece; 11, the hydraulic buffer; 12, Extension plate; 13, vacuum suction cup; 14, second force application device; 15, screw rod; 16, second slider; 17, third slider; 18, locking piece; 19, motor; 20, fixing bracket; 201, 202, the guide rail; 203, the positioning hole; 21, the first force applying device connecting piece.
具体实施方式Detailed ways
下面结合附图详细描述本实用新型实施例的示例性实施例。在本申请的描述中,需要说明的是,术语“中心”、“上”、“下”、“左”、“右”、“竖直”、“水平”、“内”、“外”等指示的方位或位置关系为基于附图所示的方位或位置关系,或者是该实用新型产品使用时惯常摆放的方位或位置关系,仅是为了便于描述本申请和简化描述,而不是指示或暗示所指的装置或元件必须具有特定的方位、以特定的方位构造和操作,因此不能理解为对本申请的限制。此外,术语“第一”、“第二”、“第三”等仅用于区分描述,而不能理解为指示或暗示相对重要性。Exemplary embodiments of the embodiments of the present invention will be described in detail below with reference to the accompanying drawings. In the description of this application, it should be noted that the terms "center", "upper", "lower", "left", "right", "vertical", "horizontal", "inner", "outer", etc. The indicated orientation or positional relationship is based on the orientation or positional relationship shown in the accompanying drawings, or the orientation or positional relationship that the utility model product is usually placed in use, and is only for the convenience of describing the application and simplifying the description, rather than indicating or It is implied that the device or element referred to must have a particular orientation, be constructed and operate in a particular orientation, and therefore should not be construed as a limitation of the present application. Furthermore, the terms "first", "second", "third", etc. are only used to differentiate the description and should not be construed as indicating or implying relative importance.
如图1至图4所示,以图示方向为例,方形电池模块搬运机构包括防护罩1、固定支架20、连接板2、固定端夹爪4、活动端夹爪5、传动机构、第一施力装置6、第二施力装置7、夹板连接件8和两块夹板9。所述连接板2与固定支架20固定连接,且连接板2上设有与机械手连接的机械手固定部211,所述固定支架20与防护罩1固定连接,所述传动机构处于防护罩1内,所述传动机构与第一施力装置6相连接,传动机构带动第一施力装置6移动,且所述第一施力装置6和活动端夹爪5均与固定支架20滑动连接,所述第一施力装置6与活动端夹爪5固定连接,第一施力装置6带动活动端夹爪5沿固定支架20移动,所述固定端夹爪4与固定支架20固定连接,所述固定端夹爪4与活动端夹爪5在固定支架20左右方向上相对设置,所述夹板连接件8与固定支架20固定连接,两块所述夹板9滑动连接于所述夹板连接件8 上,且两块夹板9在固定支架20前后方向上相对设置,所述第二施力装置6处于两块夹板9之间,且第二施力装置6与两块夹板9相连接带动两块夹板9移动。As shown in Figures 1 to 4, taking the direction shown as an example, the transport mechanism of the square battery module includes a
如图1及图2所示,传动机构包括电机19和螺杆15,电机19固定连接于固定支架20上,电机19与螺杆15相连接,固定支架20上形成有一长条形开口201,所述螺杆15处于该开口201处。固定支架20底部设有导轨202,第一施力装置6通过第一滑块7与固定支架20的导轨202滑动连接,活动端夹爪5通过第二滑块16与固定支架20的导轨202滑动连接,第一施力装置6通过第一施力装置连接件21与螺杆 15相连接,所述第一施力装置连接件21穿过所述开口202,且第一施力装置连接件 21上形成有通孔,所述通孔套于螺杆15外周。优选地,第一施力装置可选为气缸或电磁铁,气缸或电磁铁的活动杆与活动端夹爪5固定连接。As shown in FIG. 1 and FIG. 2 , the transmission mechanism includes a
如图2至图4所示,夹板连接件8固定连接于第三滑块17底部,第三滑块17与固定支架20的导轨202相连接,具体地,另设有一锁定件18,锁定件18由水平板状部和垂直板状部相连接组成,锁定件18水平板部分与夹板连接件8固定连接,垂直板部分上设有固定孔,固定支架20侧面设有定位孔,所述锁定件18上的固定孔与固定支架20上的定位孔通过螺杆固定连接,从而将夹板固定板18和第三滑块17锁定,使得滑块17无法沿导轨202滑动。As shown in FIGS. 2 to 4 , the
如图1至图4所示,夹板9的顶部均设有夹板滑块,夹板连接件8底部也有导轨 81,所示夹板滑块与夹板连接件8的导轨81滑动连接,两块夹板9之间连接有第二动力装置6,第二动力装置带动两块夹板9发生移动。优选地,第二动力装置优选为气动手指气缸,气动手指气缸的两个活塞杆分别和两块夹板9固定连接。夹板连接件 8的左右两侧均设有一连接件10,所述连接件10上均设有一油压缓冲器11,所述油压缓冲器11分别处于两块夹板9的外侧,且两个油压缓冲器11分别朝向两块夹板9,起到限位和缓冲的作用。夹板9的外侧表面设有真空吸盘13,真空吸盘13用于吸附电池模块的侧板。As shown in FIGS. 1 to 4 , the top of the
优选地,如图1和图2所示,连接板2通过连杆3连接于固定支架20上方,且连杆3外周套有弹簧。固定端夹爪4下端设有凸出部41,活动端夹爪5下端设有凸出部51,电池模块的端板对应位置设有凹槽,当活动端夹爪5和固定端夹爪4将电芯和端板夹紧时,凸出部41和凸出部51分别卡入电池模块两侧端板的凹槽内。夹板 9的底部向内弯折形成支撑部91,为了防止电芯在移动过程中脱落,电芯支撑于支撑部91上方。特别地,由于一个电芯模块的型号不同,其内部可以包含不同个数的电芯,也造成电芯模块的长度不同,因此还设有延长板12,延长板12以可拆卸方式固定连接于夹板的左侧和/或右侧,且延长板12底部也设有向内延伸的支撑部。具体地可在夹板9的左侧面或右侧面设置安装柱或安装孔,在延长板12的对应位置设置安装孔或安装柱,即可实现延长板12和夹板9可拆卸式固定连接。Preferably, as shown in FIG. 1 and FIG. 2 , the connecting
方形电池模块搬运机构具体工作原理如下:电池模块内的电芯数量及端板厚度决定了电池模块的长度,根据电池模块的长度调整固定端夹爪4和活动端夹爪5之间的间距,具体地,通过控制电机19转动带动螺杆15转动,类比丝杆工作原理,使得第一施力装置连接件21移动,从而使得第一施力装置6沿导轨202滑动到预设位置,同时带动活动端夹爪5活动到预设位置,通过控制第一施力装置6向前推动活动端夹爪5,活动端夹爪5与固定端夹爪4相互作用夹紧各个电芯及两块端板。活动端夹爪 5的凸出部51以及固定端夹爪4的凸出部41嵌入端板的凹槽内。为了防止电芯脱落,根据实际电池模块的长度,将第三滑块17沿轨道202滑动,使得夹板9处于合适的位置,而后通过螺杆与锁定件18配合使得夹板连接件8位置锁定,无法再发生移动。通过第二动力装置控制两块夹板9向内侧运动,两个夹板9夹紧各个电芯的两侧,并使得电芯支撑于夹板9的支撑部91上。同时控制真空吸盘13将电池模块的侧板吸附。之后通过机械手转动至焊接平台,再将各个组件放下即可。The specific working principle of the square battery module handling mechanism is as follows: the number of cells in the battery module and the thickness of the end plate determine the length of the battery module, and the distance between the fixed
通过以上描述可以看出,方形电池模块搬运机构可全自动完成电池模块中端板和电芯的夹取,便于完成产品的组装、定型,方便后期的焊接工作执行,且通过设置夹爪和夹板防止物料脱落;此外,可对不同长度型号的电池模块进行快速调整,适用于各种型号电池模块。It can be seen from the above description that the square battery module handling mechanism can automatically complete the clamping of the middle end plate and the cell of the battery module, which is convenient for the assembly and shaping of the product, and facilitates the execution of the welding work in the later stage. Prevent material from falling off; in addition, battery modules of different lengths and models can be quickly adjusted, suitable for various types of battery modules.
以上只是本实用新型的典型实例,除此之外,本实用新型还可以有其它多种具体实施方式,凡采用等同替换或等效变换形成的技术方案,均落在本实用新型要求保护的范围之内。The above are only typical examples of the present utility model. In addition, the present utility model can also have various other specific embodiments. All technical solutions formed by equivalent replacement or equivalent transformation fall within the scope of protection of the present utility model. within.
Claims (6)
Priority Applications (1)
| Application Number | Priority Date | Filing Date | Title |
|---|---|---|---|
| CN201921049201.5U CN210908754U (en) | 2019-07-05 | 2019-07-05 | Square battery module end plate and electric core carrying mechanism |
Applications Claiming Priority (1)
| Application Number | Priority Date | Filing Date | Title |
|---|---|---|---|
| CN201921049201.5U CN210908754U (en) | 2019-07-05 | 2019-07-05 | Square battery module end plate and electric core carrying mechanism |
Publications (1)
| Publication Number | Publication Date |
|---|---|
| CN210908754U true CN210908754U (en) | 2020-07-03 |
Family
ID=71355645
Family Applications (1)
| Application Number | Title | Priority Date | Filing Date |
|---|---|---|---|
| CN201921049201.5U Active CN210908754U (en) | 2019-07-05 | 2019-07-05 | Square battery module end plate and electric core carrying mechanism |
Country Status (1)
| Country | Link |
|---|---|
| CN (1) | CN210908754U (en) |
Cited By (7)
| Publication number | Priority date | Publication date | Assignee | Title |
|---|---|---|---|---|
| CN110371648A (en) * | 2019-07-05 | 2019-10-25 | 宁波利维能储能系统有限公司 | A kind of rectangular cell module carrying mechanism |
| CN112122832A (en) * | 2020-10-13 | 2020-12-25 | 安徽浩瀚星宇新能源科技有限公司 | Power battery module assembly device and assembly method |
| CN113745628A (en) * | 2021-08-03 | 2021-12-03 | 天津市捷威动力工业有限公司 | Battery cell frame-entering device |
| CN115123810A (en) * | 2022-06-20 | 2022-09-30 | 深圳市安格智控科技有限公司 | Battery module grabbing device |
| CN115285675A (en) * | 2022-08-25 | 2022-11-04 | 易鸿智能装备(宜兴)有限公司 | Anti-falling clamp suitable for battery detection equipment |
| CN115847465A (en) * | 2022-12-12 | 2023-03-28 | 宁德思客琦智能装备有限公司 | Module side seam welding feeding and discharging gripper |
| CN117049163A (en) * | 2023-10-13 | 2023-11-14 | 宁德时代新能源科技股份有限公司 | Grabbing device, grabbing equipment, battery production line and control method |
-
2019
- 2019-07-05 CN CN201921049201.5U patent/CN210908754U/en active Active
Cited By (11)
| Publication number | Priority date | Publication date | Assignee | Title |
|---|---|---|---|---|
| CN110371648A (en) * | 2019-07-05 | 2019-10-25 | 宁波利维能储能系统有限公司 | A kind of rectangular cell module carrying mechanism |
| CN112122832A (en) * | 2020-10-13 | 2020-12-25 | 安徽浩瀚星宇新能源科技有限公司 | Power battery module assembly device and assembly method |
| CN112122832B (en) * | 2020-10-13 | 2022-04-19 | 安徽浩瀚星宇新能源科技有限公司 | Power battery module assembly device and assembly method |
| CN113745628A (en) * | 2021-08-03 | 2021-12-03 | 天津市捷威动力工业有限公司 | Battery cell frame-entering device |
| CN113745628B (en) * | 2021-08-03 | 2023-03-24 | 天津市捷威动力工业有限公司 | Battery cell frame-entering device |
| CN115123810A (en) * | 2022-06-20 | 2022-09-30 | 深圳市安格智控科技有限公司 | Battery module grabbing device |
| CN115123810B (en) * | 2022-06-20 | 2023-12-29 | 深圳市安格智控科技有限公司 | Battery module grabbing device |
| CN115285675A (en) * | 2022-08-25 | 2022-11-04 | 易鸿智能装备(宜兴)有限公司 | Anti-falling clamp suitable for battery detection equipment |
| CN115847465A (en) * | 2022-12-12 | 2023-03-28 | 宁德思客琦智能装备有限公司 | Module side seam welding feeding and discharging gripper |
| CN117049163A (en) * | 2023-10-13 | 2023-11-14 | 宁德时代新能源科技股份有限公司 | Grabbing device, grabbing equipment, battery production line and control method |
| CN117049163B (en) * | 2023-10-13 | 2024-03-29 | 宁德时代新能源科技股份有限公司 | Grasping device, gripping equipment, battery production line and control method |
Similar Documents
| Publication | Publication Date | Title |
|---|---|---|
| CN210908754U (en) | Square battery module end plate and electric core carrying mechanism | |
| TWI527657B (en) | Clamping device | |
| CN110371648A (en) | A kind of rectangular cell module carrying mechanism | |
| CN211331177U (en) | A beam assembly riveting system | |
| CN207841148U (en) | A kind of stationary fixture for square cross | |
| CN211278465U (en) | A parallel robot suction cup gripper device with vision | |
| CN211072368U (en) | Box centering anchor clamps | |
| CN208544821U (en) | A gripper with positioning function | |
| WO2022021461A1 (en) | Climbing robot for high voltage transmission tower | |
| CN113135429A (en) | Aluminum profile clamping system | |
| CN209175771U (en) | A positive and negative plate gripper | |
| CN211520906U (en) | Square battery module curb plate and electric core transport mechanism | |
| CN110817421A (en) | A prototype of a manipulator | |
| CN209078147U (en) | A kind of core member clamp system | |
| CN209256743U (en) | A cell centering clamping mechanism | |
| CN211520905U (en) | Square battery module carrying mechanism | |
| CN215248074U (en) | Grabbing mechanism of transfer robot | |
| CN211029723U (en) | Hardware processing is with novel anchor clamps that have and prevent pressing from both sides function of hindering | |
| CN209351371U (en) | A battery box grabbing device | |
| CN208607560U (en) | Computer rotation shaft assembled fixture | |
| CN111054831A (en) | An automatic unloading mechanism of a tube expander | |
| CN218398353U (en) | Bathtub edge cutting device | |
| CN216710828U (en) | Manipulator and loading attachment | |
| CN214933967U (en) | Aluminum profile clamping system | |
| CN212323039U (en) | A battery nailing device |
Legal Events
| Date | Code | Title | Description |
|---|---|---|---|
| GR01 | Patent grant | ||
| GR01 | Patent grant | ||
| TR01 | Transfer of patent right |
Effective date of registration: 20241213 Address after: 239000 intersection of huangqinghu road and Yuanshan Road, Nanqiao District, Chuzhou City, Anhui Province Patentee after: Anhui liweineng Power Battery Co.,Ltd. Country or region after: China Address before: 315176 238 Yunlin Middle Road, Wang Chun Industrial Park, Ningbo, Zhejiang Patentee before: EVPS NINGBO ENERGY STORAGE SYSTEM CO.,LTD. Country or region before: China |
|
| TR01 | Transfer of patent right |
