CN210908056U - Automatic blanking die for automobile parts - Google Patents
Automatic blanking die for automobile parts Download PDFInfo
- Publication number
- CN210908056U CN210908056U CN201920778575.4U CN201920778575U CN210908056U CN 210908056 U CN210908056 U CN 210908056U CN 201920778575 U CN201920778575 U CN 201920778575U CN 210908056 U CN210908056 U CN 210908056U
- Authority
- CN
- China
- Prior art keywords
- motor
- fixed
- automobile parts
- automatic blanking
- rod
- Prior art date
- Legal status (The legal status is an assumption and is not a legal conclusion. Google has not performed a legal analysis and makes no representation as to the accuracy of the status listed.)
- Active
Links
- 230000007246 mechanism Effects 0.000 claims abstract description 32
- 238000001125 extrusion Methods 0.000 claims abstract description 12
- 230000007723 transport mechanism Effects 0.000 claims abstract description 5
- 230000005540 biological transmission Effects 0.000 claims description 9
- 230000000694 effects Effects 0.000 abstract description 2
- 239000000463 material Substances 0.000 abstract description 2
- 238000005266 casting Methods 0.000 abstract 1
- 239000007788 liquid Substances 0.000 description 6
- 239000002994 raw material Substances 0.000 description 6
- 238000000034 method Methods 0.000 description 5
- 238000007493 shaping process Methods 0.000 description 4
- 230000009471 action Effects 0.000 description 3
- 230000008569 process Effects 0.000 description 3
- 238000009434 installation Methods 0.000 description 2
- 238000004519 manufacturing process Methods 0.000 description 2
- 238000010079 rubber tapping Methods 0.000 description 2
- 239000000243 solution Substances 0.000 description 2
- 238000003723 Smelting Methods 0.000 description 1
- 230000004075 alteration Effects 0.000 description 1
- 230000009286 beneficial effect Effects 0.000 description 1
- 230000008859 change Effects 0.000 description 1
- 230000008878 coupling Effects 0.000 description 1
- 238000010168 coupling process Methods 0.000 description 1
- 238000005859 coupling reaction Methods 0.000 description 1
- 238000004512 die casting Methods 0.000 description 1
- 239000000284 extract Substances 0.000 description 1
- 238000005242 forging Methods 0.000 description 1
- 238000009776 industrial production Methods 0.000 description 1
- 238000002347 injection Methods 0.000 description 1
- 239000007924 injection Substances 0.000 description 1
- 230000004048 modification Effects 0.000 description 1
- 238000012986 modification Methods 0.000 description 1
- 238000000465 moulding Methods 0.000 description 1
- 238000006467 substitution reaction Methods 0.000 description 1
Images
Landscapes
- Coating Apparatus (AREA)
Abstract
The utility model discloses an automatic blanking mould of automobile parts, comprising a base plate, bottom plate upper end both sides are the fixed braced frame that is provided with all, the fixed forming mechanism that is provided with in inside one side of braced frame, the inside fixed extrusion mechanism that is provided with in one side of keeping away from forming mechanism of braced frame, the inside lower extreme middle part of braced frame is provided with transport mechanism. The utility model discloses excellent in use effect can be when the mould casts, comes out together with the screw hole casting to can automatic material returned, work efficiency is higher.
Description
Technical Field
The utility model relates to a mould technical field specifically is an automatic blanking mould of automobile parts.
Background
Dies, various moulds and tools for obtaining the desired products by injection, blow, extrusion, die-casting or forging, smelting, stamping, etc. in industrial production, in short, a die is a tool for making shaped articles, which tool is composed of various parts, and different dies are composed of different parts. It mainly realizes the processing of article appearance through the change of forming material physical state, but present mould is carrying out the shaping back of part, and follow-up often still need carry out the tapping to the part for part four corners department forms the screw hole, and the process is comparatively complicated also comparatively troublesome, and work efficiency is lower.
SUMMERY OF THE UTILITY MODEL
An object of the utility model is to provide an automatic blanking mould of automobile parts to solve the problem that proposes among the above-mentioned background art.
In order to achieve the above object, the utility model provides a following technical scheme: the utility model provides an automatic blanking mould of automobile parts, includes the bottom plate, bottom plate upper end both sides are all fixed and are provided with braced frame, the fixed forming mechanism that is provided with in inside one side of braced frame, the inside fixed extrusion mechanism that is provided with in one side of keeping away from forming mechanism of braced frame, the inside lower extreme middle part of braced frame is provided with transport mechanism.
Preferably, forming mechanism includes connecting rod, mould groove, feed liquor pipe, connecting rod one end and braced frame one side lateral wall fixed connection, the connecting rod is close to the fixed mould groove that is provided with of one end of extrusion mechanism, the mould groove is kept away from one side of extrusion mechanism and is fixed and be provided with the feed liquor pipe, pours into the raw materials into through the feed liquor pipe to the mould groove and can be used for forming die.
Preferably, the extrusion mechanism includes pneumatic cylinder, connecting plate, mould head, filling rod, first motor, pneumatic cylinder one end passes through mount pad fixed connection with the braced frame lateral wall, the fixed connecting plate that is provided with of telescopic link axle head of pneumatic cylinder, the fixed mould head that is provided with in one side that the pneumatic cylinder was kept away from to the connecting plate, connecting plate surface four corners department all is provided with filling rod through the bearing activity, there is first motor connecting plate lower extreme one side through mount pad fixed mounting, the output axle head of first motor passes through the shaft coupling and is connected with the transmission of filling rod, promotes through the pneumatic cylinder that mould head gets into the mould groove and can carry out the shaping production of mould.
Preferably, the conveying mechanism comprises a conveying belt and a second motor, the conveying belt is fixedly installed in the middle of the surface of the upper end of the bottom plate, the second motor is fixedly arranged at the lower end of the conveying belt through a mounting seat, and the output shaft end of the second motor is in transmission connection with a rotating shaft where the conveying belt is located through a belt and a belt pulley.
Preferably, the outer side surface of one end of the filling rod close to the forming mechanism is provided with threads, the filling rod is connected with the belt and the belt pulley in a transmission manner, and the filling rod provided with the threads can be extruded and filled with threaded holes at four corners of the mold during mold forming.
Preferably, the mould head is close to one side upper end and the lower extreme of pneumatic cylinder and all is fixed and is provided with the slide bar, slide bar and braced frame one side lateral wall fixed connection, the equal movable sleeve of connecting plate upper end and lower extreme is established on slide bar outside surface, establishes through the connecting plate cover and can improve stability when pneumatic cylinder promotes connecting rod and mould head and remove at slide bar outside surface.
Preferably, a control box is fixedly arranged on one side of the supporting frame, the control box is electrically connected with the first motor, the second motor and the hydraulic cylinder respectively, and the first motor, the second motor and the hydraulic cylinder can be controlled to be used through the control box.
Compared with the prior art, the beneficial effects of the utility model are that:
1. the utility model discloses a feed liquor pipe pours into the raw materials into to mould inslot portion and carries out the shaping of mould, when the mould inslot portion is filled with the raw materials shaping, fills the pole and can fill in fashioned part four corners department and form the screw hole, need not follow-up tapping processing of going on once more to the part, and the result of use is better, and work efficiency is higher.
2. The utility model discloses a pneumatic cylinder shrink because the filling rod surface screw thread then extracts fashioned part from the mould inslot portion, can drive four filling rods through first motor at this moment and rotate, because filling rod surface screw thread's reason can fade fashioned part from filling rod automatically when rotating, and the part that finally fades drops on the conveyer belt.
Drawings
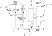
FIG. 1 is a schematic view of the overall structure of an automatic blanking die for automobile parts of the present invention;
fig. 2 is an enlarged view of a position a in fig. 1 of the automatic blanking die for automobile parts of the present invention;
fig. 3 is the utility model relates to an automatic blanking mould top view of automobile parts.
In the figure: 1. a base plate; 2. a support frame; 3. a molding mechanism; 301. a connecting rod; 302. a mold slot; 303. a liquid inlet pipe; 4. an extrusion mechanism; 401. a hydraulic cylinder; 402. a connecting plate; 403. a die head; 404. filling the rods; 405. a first motor; 5. a transport mechanism; 501. a conveyor belt; 502. a second motor; 6. a slide bar; 7. and a control box.
Detailed Description
The technical solutions in the embodiments of the present invention will be described clearly and completely with reference to the accompanying drawings in the embodiments of the present invention, and it is obvious that the described embodiments are only some embodiments of the present invention, not all embodiments. Based on the embodiments in the present invention, all other embodiments obtained by a person skilled in the art without creative work belong to the protection scope of the present invention.
Referring to fig. 1-3, the present invention provides a technical solution: the utility model provides an automatic blanking mould of automobile parts, includes bottom plate 1, 1 upper end both sides of bottom plate are all fixed and are provided with braced frame 2, the fixed forming mechanism 3 that is provided with in 2 inside one sides of braced frame, the fixed extrusion mechanism 4 that is provided with in one side of 2 inside forming mechanism 3 of keeping away from of braced frame, 2 inside lower extreme middle parts of braced frame are provided with transport mechanism 5.
The forming mechanism 3 comprises a connecting rod 301, a mold groove 302 and a liquid inlet pipe 303, one end of the connecting rod 301 is fixedly connected with the side wall of one side of the supporting frame 2, one end of the connecting rod 301 close to the extruding mechanism 4 is fixedly provided with the mold groove 302, one side of the mold groove 302 far away from the extruding mechanism 4 is fixedly provided with the liquid inlet pipe 303, raw materials are injected into the mold groove 302 through the liquid inlet pipe 303 to be used for forming molds, the extruding mechanism 4 comprises a hydraulic cylinder 401, a connecting plate 402, a mold head 403, a filling rod 404 and a first motor 405, one end of the hydraulic cylinder 401 is fixedly connected with the side wall of the supporting frame 2 through a mounting seat, the connecting plate 402 is fixedly arranged at the shaft end of a telescopic rod of the hydraulic cylinder 401, the mold head 403 is fixedly arranged at one side of the connecting plate 402 far away from, a first motor 405 is fixedly installed on one side of the lower end of the connecting plate 402 through an installation seat, an output shaft end of the first motor 405 is in transmission connection with the filling rod 404 through a coupler, the die head 403 is pushed by a hydraulic cylinder 401 to enter the die groove 302 to perform die forming production, the conveying mechanism 5 comprises a conveying belt 501 and a second motor 502, the conveying belt 501 is fixedly installed in the middle of the upper end surface of the bottom plate 1, the second motor 502 is fixedly arranged at the lower end of the conveying belt 501 through the installation seat, the output shaft end of the second motor 502 is in transmission connection with a rotating shaft where the conveying belt 501 is located through a belt and a belt pulley, threads are arranged on the outer side surface of one end, close to the forming mechanism 3, of the filling rod 404, the filling rod 404 is in transmission connection through the belt and the belt pulley, and threaded filling rods 404 can be extruded and filled, the utility model discloses a die head 403, including mould head 403, connecting plate 402, connecting plate 301, pneumatic cylinder 401, mould head 403 is close to one side upper end and the lower extreme of pneumatic cylinder 401 and all fixes slide bar 6 that is provided with, slide bar 6 and 2 one side lateral wall fixed connection of braced frame, the equal movable sleeve of connecting plate 402 upper end and lower extreme is established at slide bar 6 outside surface, establishes through connecting plate 402 cover and can improve stability when pneumatic cylinder 401 promotes connecting rod 301 and mould head 403 to remove, braced frame 2 one side is fixed to be provided with control box 7, control box 7 respectively with first motor 405, second motor 502, pneumatic cylinder 401 between electric connection, can control first motor 405, second motor 502, pneumatic cylinder 401's use.
The working principle is as follows: when the device is used, the hydraulic cylinder 401 can be controlled by the control box 7 to push the connecting plate 402 to slide along the sliding rod 6 until the die head 403 is completely pushed and inserted into the die groove 302, at this time, a pipeline can be externally connected through the liquid inlet pipe 303, then raw materials are injected into the die groove 302 through the liquid inlet pipe 303 to carry out die forming, when the die groove 302 is filled with the raw materials to carry out die forming, the filling rod 404 can fill and form threaded holes at four corners of a formed part, because the surface of the filling rod 404 is provided with threads, the hydraulic cylinder 401 is controlled to shrink after the die forming, the formed part is pulled out from the die groove 302 through the filling rod 404 and the threads on the surface, at this time, the first motor 405 can be controlled by the control box 7 to drive the four filling rods 404 to rotate through the first motor 405, because of the threads on the surface of the filling rod 404, the formed part can be, the part that finally drops falls on conveyer belt 501, can open second motor 502 through control box 7 at this moment and drive conveyer belt 501 through second motor 502 and pass away the part, it is exactly that the utility model relates to an automatic blanking mould's of automobile parts theory of operation.
It is noted that, herein, relational terms such as first and second, and the like may be used solely to distinguish one entity or action from another entity or action without necessarily requiring or implying any actual such relationship or order between such entities or actions. Also, the terms "comprises," "comprising," or any other variation thereof, are intended to cover a non-exclusive inclusion, such that a process, method, article, or apparatus that comprises a list of elements does not include only those elements but may include other elements not expressly listed or inherent to such process, method, article, or apparatus.
Although embodiments of the present invention have been shown and described, it will be appreciated by those skilled in the art that changes, modifications, substitutions and alterations can be made in these embodiments without departing from the principles and spirit of the invention, the scope of which is defined in the appended claims and their equivalents.
Claims (7)
1. The utility model provides an automatic blanking mould of automobile parts, includes bottom plate (1), its characterized in that: bottom plate (1) upper end both sides are all fixed and are provided with braced frame (2), braced frame (2) inside one side is fixed and is provided with forming mechanism (3), inside one side of keeping away from forming mechanism (3) of braced frame (2) is fixed and is provided with extrusion mechanism (4), braced frame (2) inside lower extreme middle part is provided with transport mechanism (5).
2. The automatic blanking die for the automobile parts as claimed in claim 1, wherein: forming mechanism (3) are including connecting rod (301), mould groove (302), feed liquor pipe (303), connecting rod (301) one end and braced frame (2) one side lateral wall fixed connection, connecting rod (301) are close to the fixed mould groove (302) that is provided with of one end of extrusion mechanism (4), mould groove (302) are kept away from one side of extrusion mechanism (4) and are fixed and be provided with feed liquor pipe (303).
3. The automatic blanking die for the automobile parts as claimed in claim 1, wherein: the extrusion mechanism (4) comprises a hydraulic cylinder (401), a connecting plate (402), a die head (403), a filling rod (404) and a first motor (405), one end of the hydraulic cylinder (401) is fixedly connected with the side wall of the supporting frame (2) through a mounting seat, the connecting plate (402) is fixedly arranged at the shaft end of a telescopic rod of the hydraulic cylinder (401), the die head (403) is fixedly arranged on one side, away from the hydraulic cylinder (401), of the connecting plate (402), the filling rod (404) is movably arranged at four corners of the surface of the connecting plate (402) through a bearing, the first motor (405) is fixedly arranged on one side of the lower end of the connecting plate (402) through the mounting seat, and the output shaft end of the first motor (405) is in transmission connection with the filling rod (.
4. The automatic blanking die for the automobile parts as claimed in claim 1, wherein: conveying mechanism (5) are including conveyer belt (501), second motor (502), conveyer belt (501) fixed mounting is in bottom plate (1) upper end surface middle part, conveyer belt (501) lower extreme is provided with second motor (502) through the mount pad is fixed, the output axle head of second motor (502) passes through belt, belt pulley and is connected with conveyer belt (501) place pivot transmission.
5. The automatic blanking die for the automobile parts as claimed in claim 3, wherein: the outer side surface of one end of the filling rod (404) close to the forming mechanism (3) is provided with threads, and the filling rod (404) is in transmission connection through a belt and a belt pulley.
6. The automatic blanking die for the automobile parts as claimed in claim 3, wherein: the die head (403) is close to the upper end and the lower end of one side of the hydraulic cylinder (401) and is fixedly provided with a sliding rod (6), the sliding rod (6) is fixedly connected with the side wall of one side of the supporting frame (2), and the upper end and the lower end of the connecting plate (402) are movably sleeved on the surface of the outer side of the sliding rod (6).
7. The automatic blanking die for the automobile parts as claimed in claim 3 or 4, wherein: a control box (7) is fixedly arranged on one side of the supporting frame (2), and the control box (7) is electrically connected with the first motor (405), the second motor (502) and the hydraulic cylinder (401) respectively.
Priority Applications (1)
| Application Number | Priority Date | Filing Date | Title |
|---|---|---|---|
| CN201920778575.4U CN210908056U (en) | 2019-05-28 | 2019-05-28 | Automatic blanking die for automobile parts |
Applications Claiming Priority (1)
| Application Number | Priority Date | Filing Date | Title |
|---|---|---|---|
| CN201920778575.4U CN210908056U (en) | 2019-05-28 | 2019-05-28 | Automatic blanking die for automobile parts |
Publications (1)
| Publication Number | Publication Date |
|---|---|
| CN210908056U true CN210908056U (en) | 2020-07-03 |
Family
ID=71353417
Family Applications (1)
| Application Number | Title | Priority Date | Filing Date |
|---|---|---|---|
| CN201920778575.4U Active CN210908056U (en) | 2019-05-28 | 2019-05-28 | Automatic blanking die for automobile parts |
Country Status (1)
| Country | Link |
|---|---|
| CN (1) | CN210908056U (en) |
Cited By (2)
| Publication number | Priority date | Publication date | Assignee | Title |
|---|---|---|---|---|
| CN114669808A (en) * | 2022-05-31 | 2022-06-28 | 徐州亚兴医疗科技有限公司 | Medical instrument accessory processing equipment |
| CN116099890A (en) * | 2022-12-13 | 2023-05-12 | 广东高登铝业有限公司 | Forming die of automobile lightweight extrusion profile and application method thereof |
-
2019
- 2019-05-28 CN CN201920778575.4U patent/CN210908056U/en active Active
Cited By (3)
| Publication number | Priority date | Publication date | Assignee | Title |
|---|---|---|---|---|
| CN114669808A (en) * | 2022-05-31 | 2022-06-28 | 徐州亚兴医疗科技有限公司 | Medical instrument accessory processing equipment |
| CN116099890A (en) * | 2022-12-13 | 2023-05-12 | 广东高登铝业有限公司 | Forming die of automobile lightweight extrusion profile and application method thereof |
| CN116099890B (en) * | 2022-12-13 | 2023-09-15 | 广东高登铝业有限公司 | Forming die of automobile lightweight extrusion profile and application method thereof |
Similar Documents
| Publication | Publication Date | Title |
|---|---|---|
| CN210908056U (en) | Automatic blanking die for automobile parts | |
| CN112743785A (en) | Plastic reel injection mold is surveyed in combination formula of multistation unit | |
| CN109591265B (en) | Urea nozzle injection mold convenient for discharging | |
| CN111844645A (en) | Mould for injection moulding | |
| CN214926670U (en) | Mould structure with auxiliary stand drops automatically | |
| CN216176440U (en) | Die for manufacturing reducing pipe | |
| CN214353991U (en) | Plastic mould with rapid cooling function | |
| CN209318579U (en) | A quick bending die | |
| CN213035175U (en) | Demoulding mechanism for mould processing | |
| CN209920341U (en) | Die convenient for connection and used for plastic products | |
| CN211555609U (en) | Butt-joint insulator production casting molding device | |
| CN209775363U (en) | die clamping device | |
| CN210679484U (en) | Bobbin production mould convenient to get mould | |
| CN102941318A (en) | Continuous casting production line of rotary castings | |
| CN110695209A (en) | Quick demoulding's mould | |
| CN211763221U (en) | Injection mold convenient to waste material is discharged and is cleared up | |
| CN220198253U (en) | Mould locking device | |
| CN210257085U (en) | Slide block linkage internal pulling mechanism of injection mold | |
| CN209955147U (en) | Automatic equipment for injection molding of mold | |
| CN216027676U (en) | Automatic waste discharge mechanism for metal mold | |
| CN207256687U (en) | A kind of pipe fitting injection moulding apparatus | |
| CN212400065U (en) | Decorative board mould convenient to drawing of patterns | |
| CN216423560U (en) | Powder mold with uniform filler | |
| CN218111510U (en) | Auto-parts injection mold | |
| CN220499679U (en) | Quick demoulding device for mould manufacturing |
Legal Events
| Date | Code | Title | Description |
|---|---|---|---|
| GR01 | Patent grant | ||
| GR01 | Patent grant |