CN210905828U - A kind of powder food raw material mixing mixer - Google Patents
A kind of powder food raw material mixing mixer Download PDFInfo
- Publication number
- CN210905828U CN210905828U CN201921566106.2U CN201921566106U CN210905828U CN 210905828 U CN210905828 U CN 210905828U CN 201921566106 U CN201921566106 U CN 201921566106U CN 210905828 U CN210905828 U CN 210905828U
- Authority
- CN
- China
- Prior art keywords
- mixing
- organism
- fixedly connected
- shaft
- water tank
- Prior art date
- Legal status (The legal status is an assumption and is not a legal conclusion. Google has not performed a legal analysis and makes no representation as to the accuracy of the status listed.)
- Expired - Fee Related
Links
Images
Landscapes
- Mixers Of The Rotary Stirring Type (AREA)
Abstract
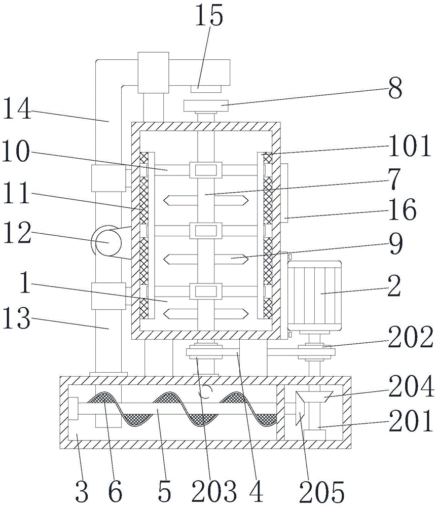
本实用新型公开了一种粉状食品原料混合搅拌机,包括机体,所述机体的右侧固定连接有电机,所述电机的输出端活动连接有传动杆,所述传动杆的表面从上至下依次设置有第一皮带轮和第一锥形齿轮,所述机体的底部设置有水箱,所述第一锥形齿轮的左侧啮合连接有第二锥形齿轮,所述第二锥形齿轮的左侧固定连接有转轴,所述机体的底部设置有第二皮带轮,所述第二皮带轮的顶部固定连接有搅拌轴,所述搅拌轴的顶部贯穿机体并延伸至内腔。解决了传统的食品原料混合搅拌机,在使用过后,其机体内壁容易残留有固体残渣,而传统的清洗方式,清洗效果较差,导致机器内部容易滋生细菌的问题。
The utility model discloses a powder food raw material mixing mixer, comprising a body, a motor is fixedly connected to the right side of the body, a transmission rod is movably connected to the output end of the motor, and the surface of the transmission rod is from top to bottom A first pulley and a first bevel gear are arranged in sequence, a water tank is arranged at the bottom of the body, a second bevel gear is meshed and connected to the left side of the first bevel gear, and the left side of the second bevel gear is connected. The side is fixedly connected with a rotating shaft, the bottom of the body is provided with a second pulley, the top of the second pulley is fixedly connected with a stirring shaft, and the top of the stirring shaft penetrates the body and extends to the inner cavity. It solves the problem that solid residues are easily left on the inner wall of the traditional food raw material mixing mixer after use, and the traditional cleaning method has poor cleaning effect, which leads to the problem of bacteria being easily grown inside the machine.
Description
技术领域technical field
本实用新型涉及食品加工设备技术领域,具体为一种粉状食品原料混合搅拌机。The utility model relates to the technical field of food processing equipment, in particular to a powder food raw material mixing mixer.
背景技术Background technique
食品原料在加工过程中,常常需要使用到相应的加工设备,食品机械可以将食品原料加工成成成品或半成品,其种类繁多,而搅拌设备就是其中的一种,现有的搅拌设备机构较为简单,在对一种或多种原料进行搅拌混合过后,其机器的内壁容易残留有食品残渣,而现有的机器内壁清洗方式都是通过高压喷头对其内壁进行喷洗,清洗效率较低,这样就使得其内壁残渣不能得到及时清理,容易导致机器内部滋生细菌,影响了成品的产品质量,为此,我们提出一种粉状食品原料混合搅拌机。In the process of processing food raw materials, it is often necessary to use corresponding processing equipment. Food machinery can process food raw materials into finished products or semi-finished products. There are many kinds of them, and stirring equipment is one of them. The existing stirring equipment mechanism is relatively simple , after stirring and mixing one or more raw materials, the inner wall of the machine is prone to have food residues, and the existing cleaning method of the inner wall of the machine is to spray the inner wall of the machine through a high-pressure nozzle, and the cleaning efficiency is low. As a result, the residue on the inner wall cannot be cleaned in time, which easily leads to the growth of bacteria inside the machine, which affects the product quality of the finished product. For this reason, we propose a powder food raw material mixing mixer.
实用新型内容Utility model content
本实用新型的目的在于提供一种粉状食品原料混合搅拌机,具备清洗效率高,避免机器内部滋生细菌的优点,解决了传统的食品原料混合搅拌机,在使用过后,其机体内壁容易残留有固体残渣,而传统的清洗方式,清洗效果较差,导致机器内部容易滋生细菌的问题。The purpose of the utility model is to provide a powder food raw material mixing mixer, which has the advantages of high cleaning efficiency and avoids the breeding of bacteria inside the machine, and solves the problem of the traditional food raw material mixing mixer. , and the traditional cleaning method, the cleaning effect is poor, resulting in the problem of bacteria breeding inside the machine.
为实现上述目的,本实用新型提供如下技术方案:一种粉状食品原料混合搅拌机,包括机体,所述机体的右侧固定连接有电机,所述电机的输出端活动连接有传动杆,所述传动杆的表面从上至下依次设置有第一皮带轮和第一锥形齿轮,所述机体的底部设置有水箱,所述第一锥形齿轮的左侧啮合连接有第二锥形齿轮,所述第二锥形齿轮的左侧固定连接有转轴,所述机体的底部设置有第二皮带轮,所述第二皮带轮的顶部固定连接有搅拌轴,所述搅拌轴的顶部贯穿机体并延伸至内腔,所述搅拌轴的表面固定连接有多个连接杆,所述连接杆远离搅拌轴的一端固定连接有柔性刷,所述柔性刷面向机体内壁的一面设置有柔性刮片,所述机体的左侧固定连接有水泵,所述水泵的底部与顶部分别活动连接有第一导管和第二导管,所述机体的右侧固定连接有控制机构,所述机体的背面设置有滤箱,所述控制机构的输出端分别与电机和水泵的输入端单向电性连接。In order to achieve the above purpose, the present utility model provides the following technical solutions: a powder food raw material mixing mixer, comprising a body, the right side of the body is fixedly connected with a motor, and the output end of the motor is movably connected with a transmission rod, the A first pulley and a first bevel gear are arranged on the surface of the transmission rod in sequence from top to bottom, a water tank is arranged at the bottom of the body, and a second bevel gear is meshed and connected to the left side of the first bevel gear, so The left side of the second bevel gear is fixedly connected with a rotating shaft, the bottom of the body is provided with a second pulley, the top of the second pulley is fixedly connected with a stirring shaft, and the top of the stirring shaft penetrates the body and extends to the inside The surface of the stirring shaft is fixedly connected with a plurality of connecting rods, and one end of the connecting rods away from the stirring shaft is fixedly connected with a flexible brush. The side of the flexible brush facing the inner wall of the body is provided with a flexible scraper. The left side is fixedly connected with a water pump, the bottom and the top of the water pump are respectively movably connected with a first conduit and a second conduit, the right side of the body is fixedly connected with a control mechanism, the back of the body is provided with a filter box, the The output end of the control mechanism is electrically connected in one direction with the input end of the motor and the water pump, respectively.
优选的,所述第一皮带轮和第二皮带轮之间传动连接有传动带。Preferably, a transmission belt is drivingly connected between the first pulley and the second pulley.
优选的,所述转轴的表面固定连接有螺旋叶片,所述第一导管的底部贯穿水箱并延伸至水箱的内腔。Preferably, the surface of the rotating shaft is fixedly connected with a helical blade, and the bottom of the first conduit penetrates the water tank and extends to the inner cavity of the water tank.
优选的,所述搅拌轴内腔的中上部和连接杆均为中空结构,且搅拌轴内腔的底部为实心结构,所述第二导管远离水泵的一端设置有高压喷头,所述搅拌轴的顶部贯穿机体并延伸至外部,所述搅拌轴的顶部活动安装有空心器皿。Preferably, the middle and upper part of the inner cavity of the stirring shaft and the connecting rod are both hollow structures, and the bottom of the inner cavity of the stirring shaft is a solid structure, the end of the second conduit away from the water pump is provided with a high-pressure nozzle, and the The top penetrates the body and extends to the outside, and a hollow vessel is movably installed on the top of the stirring shaft.
优选的,所述搅拌轴的表面固定连接有多个搅拌叶片,所述机体的背面设置有出水管,所述出水管的顶部设置有阀门,所述出水管的底部贯穿滤箱并延伸至内腔。Preferably, the surface of the stirring shaft is fixedly connected with a plurality of stirring blades, the back of the body is provided with a water outlet pipe, the top of the water outlet pipe is provided with a valve, and the bottom of the water outlet pipe penetrates the filter box and extends to the inside cavity.
优选的,所述滤箱的内腔活动安装有杂质过滤网,所述滤箱的底部设置有导水管,且导水管远离滤箱的一端贯穿水箱并延伸至内腔。Preferably, an impurity filter screen is movably installed in the inner cavity of the filter box, a water conduit is arranged at the bottom of the filter box, and the end of the water conduit away from the filter box penetrates the water tank and extends to the inner cavity.
优选的,所述机体正面左侧的顶部与底部分别开设有进料管口和出料管口,所述机体的正面设置有可视窗,所述水箱正面的顶部与底部分别开设有进水管口和出水管口,所述控制机构为PLC控制器。Preferably, the top and bottom of the left side of the front of the body are respectively provided with a feeding nozzle and a discharging nozzle, the front of the body is provided with a viewing window, and the top and bottom of the front of the water tank are respectively provided with water inlet nozzles and a water outlet, and the control mechanism is a PLC controller.
与现有技术相比,本实用新型的有益效果如下:Compared with the prior art, the beneficial effects of the present utility model are as follows:
本实用新型当工作人员需要对机体内部进行清洗时,通过控制机构控制电机,通过电机带动传动杆运转,通过传动杆带动第一皮带轮和第一锥形齿轮运转,通过第一皮带轮、传动杆和第二皮带轮的配合,带动搅拌轴、连接杆、柔性刷和柔性刮片对机体内壁进行清刷,且通过第一锥形齿轮、第二锥形齿轮、转轴和螺旋叶片的配合,对水箱内部的清洗液进行均匀搅拌,搅拌好的液体,通过水泵、第一导管和第二导管将清洗液导出,并通过高压喷头将液体通过空心器皿,导入至搅拌轴和连接杆中,由于搅拌轴和连接杆都是中空结构,方便清洗液的流通,且连接杆远离搅拌轴的一端是贯穿柔性刷,这样就使得液体可以与机体内壁接触,并通过柔性刮片对其内壁进行清刷,且通过出水管,方便将清洗后的液体导出,并通过滤箱和杂质过滤网,对液体中的杂质进行过滤,然后对液体进行多次利用,从而起到了节约水源的效果。In the utility model, when the staff needs to clean the inside of the body, the control mechanism controls the motor, the motor drives the transmission rod to run, the transmission rod drives the first pulley and the first bevel gear to run, and the first pulley, the transmission rod and the The cooperation of the second pulley drives the stirring shaft, the connecting rod, the flexible brush and the flexible scraper to clean the inner wall of the body, and through the cooperation of the first bevel gear, the second bevel gear, the rotating shaft and the helical blade, the inside of the water tank is cleaned. The cleaning liquid is evenly stirred, and the stirred liquid is exported through the water pump, the first conduit and the second conduit, and the liquid is introduced into the stirring shaft and connecting rod through the hollow vessel through the high-pressure nozzle. The connecting rods are all hollow structures, which are convenient for the circulation of cleaning liquid, and the end of the connecting rods away from the stirring shaft runs through the flexible brush, so that the liquid can contact the inner wall of the machine, and the inner wall is cleaned by the flexible scraper. The water outlet pipe is convenient to export the cleaned liquid, and filter the impurities in the liquid through the filter box and the impurity filter screen, and then reuse the liquid for many times, thus saving the water source.
附图说明Description of drawings
图1为本实用新型结构示意图;Fig. 1 is the structural representation of the utility model;
图2为本实用新型背面示意图;2 is a schematic diagram of the back of the utility model;
图3为本实用新型主视图;Fig. 3 is the front view of the utility model;
图4为本实用新型机体俯视图;Fig. 4 is the top view of the utility model body;
图5为本实用新型搅拌轴与连接杆内部示意图。Fig. 5 is the internal schematic diagram of the stirring shaft and the connecting rod of the present invention.
图中:1机体、2电机、201传动杆、202第一皮带轮、203第二皮带轮、204第一锥形齿轮、205第二锥形齿轮、3水箱、4传动带、5转轴、6螺旋叶片、7搅拌轴、8空心器皿、9搅拌叶片、10连接杆、101柔性刷、11柔性刮片、12水泵、13第一导管、14第二导管、15高压喷头、16控制机构、17滤箱、18出水管、19杂质过滤网。In the figure: 1 body, 2 motor, 201 transmission rod, 202 first pulley, 203 second pulley, 204 first bevel gear, 205 second bevel gear, 3 water tank, 4 transmission belt, 5 rotating shaft, 6 spiral blades, 7 stirring shaft, 8 hollow vessel, 9 stirring blade, 10 connecting rod, 101 flexible brush, 11 flexible scraper, 12 water pump, 13 first conduit, 14 second conduit, 15 high pressure nozzle, 16 control mechanism, 17 filter box, 18 water outlet pipes, 19 impurity filters.
具体实施方式Detailed ways
下面将结合本实用新型实施例中的附图,对本实用新型实施例中的技术方案进行清楚、完整地描述,显然,所描述的实施例仅仅是本实用新型一部分实施例,而不是全部的实施例。基于本实用新型中的实施例,本领域普通技术人员在没有做出创造性劳动前提下所获得的所有其他实施例,都属于本实用新型保护的范围。The technical solutions in the embodiments of the present utility model will be clearly and completely described below with reference to the accompanying drawings in the embodiments of the present utility model. Obviously, the described embodiments are only a part of the embodiments of the present utility model, rather than all the implementations. example. Based on the embodiments of the present invention, all other embodiments obtained by those of ordinary skill in the art without creative work fall within the protection scope of the present invention.
在实用新型的描述中,需要说明的是,除非另有明确的规定和限定,术语“安装”、“设置有”、“连接”等,应做广义理解,例如“连接”,可以是固定连接,也可以是可拆卸连接,或一体地连接;可以是机械连接,也可以是电连接;可以是直接相连,也可以通过中间媒介间接相连,可以是两个元件内部的连通。对于本领域的普通技术人员而言,可以具体情况理解上述术语在本实用新型中的具体含义。In the description of the utility model, it should be noted that, unless otherwise expressly specified and limited, the terms "installed", "provided with", "connected", etc., should be understood in a broad sense, for example, "connected" may be a fixed connection It can also be a detachable connection or an integral connection; it can be a mechanical connection or an electrical connection; it can be a direct connection, or an indirect connection through an intermediate medium, or the internal communication between the two components. For those of ordinary skill in the art, the specific meanings of the above terms in the present invention can be understood in specific situations.
请参阅图1-5,一种粉状食品原料混合搅拌机,包括机体1,机体1的右侧固定连接有电机2,电机2的输出端活动连接有传动杆201,传动杆201的表面从上至下依次设置有第一皮带轮202和第一锥形齿轮204,机体1的底部设置有水箱3,第一锥形齿轮204的左侧啮合连接有第二锥形齿轮205,第二锥形齿轮205的左侧固定连接有转轴5,机体1的底部设置有第二皮带轮203,第二皮带轮203的顶部固定连接有搅拌轴7,搅拌轴7的顶部贯穿机体1并延伸至内腔,搅拌轴7的表面固定连接有多个连接杆10,连接杆10远离搅拌轴7的一端固定连接有柔性刷101,柔性刷101面向机体1内壁的一面设置有柔性刮片11,机体1的左侧固定连接有水泵12,水泵12的底部与顶部分别活动连接有第一导管13和第二导管14,机体1的右侧固定连接有控制机构16,机体1的背面设置有滤箱17,控制机构16的输出端分别与电机2和水泵12的输入端单向电性连接。Please refer to Figures 1-5, a powder food raw material mixing mixer, including a
优选的,第一皮带轮202和第二皮带轮203之间传动连接有传动带4,通过传动带4使得第一皮带轮202可以同步带动第二皮带轮203进行运转。Preferably, a
优选的,转轴5的表面固定连接有螺旋叶片6,第一导管13的底部贯穿水箱3并延伸至水箱3的内腔,通过螺旋叶片6,提高了转轴5对清洗液的混合效率。Preferably, the surface of the rotating
优选的,搅拌轴7内腔的中上部和连接杆10均为中空结构,且搅拌轴7内腔的底部为实心结构,第二导管14远离水泵12的一端设置有高压喷头15,搅拌轴7的顶部贯穿机体1并延伸至外部,搅拌轴7的顶部活动安装有空心器皿8,通过设置了中空结构的搅拌轴7和连接杆10,方便清洗液导入机体1中,使得清洗液能够充分与机体1内壁和柔性刮片11进行接触,从而达到了较好的清刷效率。Preferably, the middle and upper part of the inner cavity of the
优选的,搅拌轴7的表面固定连接有多个搅拌叶片9,机体1的背面设置有出水管18,出水管18的顶部设置有阀门,出水管18的底部贯穿滤箱17并延伸至内腔,通过搅拌叶片9,提高了机体1对食品原料的混合效率,通过出水管18和阀门,可以使得清洗液进行排出。Preferably, the surface of the
优选的,滤箱17的内腔活动安装有杂质过滤网19,滤箱17的底部设置有导水管,且导水管远离滤箱17的一端贯穿水箱3并延伸至内腔,通过杂质过滤网19,起到了过滤清洗液中所残留的固体杂质,经过过滤的液体通过导水管回流至水箱3中,进行循环使用。Preferably, an
优选的,机体1正面左侧的顶部与底部分别开设有进料管口和出料管口,机体1的正面设置有可视窗,水箱3正面的顶部与底部分别开设有进水管口和出水管口,控制机构16为PLC控制器。Preferably, the top and bottom of the left side of the front of the
使用时,工作人员需要对机体1内部进行清洗时,通过控制机构16控制电机2,通过电机2带动传动杆201运转,通过传动杆201带动第一皮带轮202和第一锥形齿轮204运转,通过第一皮带轮202、传动杆201和第二皮带轮203的配合,带动搅拌轴7、连接杆10、柔性刷101和柔性刮片11对机体1内壁进行清刷,且通过第一锥形齿轮204、第二锥形齿轮205、转轴5和螺旋叶片6的配合,对水箱3内部的清洗液进行均匀搅拌,搅拌好的液体,通过水泵12、第一导管13和第二导管14将清洗液导出,并通过高压喷头15将液体通过空心器皿8,导入至搅拌轴7和连接杆10中,由于搅拌轴7和连接杆10都是中空结构,方便清洗液的流通,且连接杆10远离搅拌轴7的一端是贯穿柔性刷101,这样就使得液体可以与机体1内壁接触,并通过柔性刮片11对其内壁进行清刷,且通过出水管18,方便将清洗后的液体导出,并通过滤箱17和杂质过滤网19,对液体中的杂质进行过滤,然后对液体进行多次利用,从而起到了节约水源的效果。When in use, when the staff needs to clean the inside of the
尽管已经示出和描述了本实用新型的实施例,对于本领域的普通技术人员而言,可以理解在不脱离本实用新型的原理和精神的情况下可以对这些实施例进行多种变化、修改、替换和变型,本实用新型的范围由所附权利要求及其等同物限定。Although the embodiments of the present invention have been shown and described, it will be understood by those skilled in the art that various changes and modifications can be made to these embodiments without departing from the principles and spirit of the present invention , alternatives and modifications, the scope of the present invention is defined by the appended claims and their equivalents.
Claims (7)
Priority Applications (1)
| Application Number | Priority Date | Filing Date | Title |
|---|---|---|---|
| CN201921566106.2U CN210905828U (en) | 2019-09-19 | 2019-09-19 | A kind of powder food raw material mixing mixer |
Applications Claiming Priority (1)
| Application Number | Priority Date | Filing Date | Title |
|---|---|---|---|
| CN201921566106.2U CN210905828U (en) | 2019-09-19 | 2019-09-19 | A kind of powder food raw material mixing mixer |
Publications (1)
| Publication Number | Publication Date |
|---|---|
| CN210905828U true CN210905828U (en) | 2020-07-03 |
Family
ID=71362220
Family Applications (1)
| Application Number | Title | Priority Date | Filing Date |
|---|---|---|---|
| CN201921566106.2U Expired - Fee Related CN210905828U (en) | 2019-09-19 | 2019-09-19 | A kind of powder food raw material mixing mixer |
Country Status (1)
| Country | Link |
|---|---|
| CN (1) | CN210905828U (en) |
Cited By (2)
| Publication number | Priority date | Publication date | Assignee | Title |
|---|---|---|---|---|
| CN112586730A (en) * | 2020-12-09 | 2021-04-02 | 颍上县人民医院 | Integrated preparation for preparing nutritional formula food for treating hypertension |
| CN113525942A (en) * | 2021-08-16 | 2021-10-22 | 江苏丰泽生物工程设备制造有限公司 | Fermentation liquor storage tank with efficient cleaning structure and using method thereof |
-
2019
- 2019-09-19 CN CN201921566106.2U patent/CN210905828U/en not_active Expired - Fee Related
Cited By (2)
| Publication number | Priority date | Publication date | Assignee | Title |
|---|---|---|---|---|
| CN112586730A (en) * | 2020-12-09 | 2021-04-02 | 颍上县人民医院 | Integrated preparation for preparing nutritional formula food for treating hypertension |
| CN113525942A (en) * | 2021-08-16 | 2021-10-22 | 江苏丰泽生物工程设备制造有限公司 | Fermentation liquor storage tank with efficient cleaning structure and using method thereof |
Similar Documents
| Publication | Publication Date | Title |
|---|---|---|
| CN210905828U (en) | A kind of powder food raw material mixing mixer | |
| CN211988362U (en) | A high-efficiency self-cleaning mixing tank | |
| CN216935628U (en) | A kind of compound water retention agent stirring and mixing device | |
| CN213193416U (en) | Device is used in fertilizer production of slowly controlled release | |
| CN220343417U (en) | Stuffing feeding device of stuffing wrapping machine | |
| CN219376905U (en) | Liquid stirring device for fertilizer | |
| CN219399945U (en) | Ton bucket sodium carbonate solution preparation equipment | |
| CN215463828U (en) | Sealed production of gluing of silicone is with compounding processingequipment | |
| CN216396923U (en) | Thick liquids automatic feed device warms up graphite alkene | |
| CN209732410U (en) | a dough mixer | |
| CN212017663U (en) | Powder metallurgy powder mixing device | |
| CN212309353U (en) | Pulping machine convenient to clean | |
| CN210538494U (en) | Multifunctional dough kneading device | |
| CN211901102U (en) | A filter cleaning tool for a pump body | |
| CN217189309U (en) | A cleaning device for feed additive processing equipment | |
| CN220712764U (en) | Fermentation cylinder is used in dairy products production line processing | |
| CN219505164U (en) | Processing device for plastic products | |
| CN221230362U (en) | Flavor salad sauce premixing device | |
| CN219836390U (en) | Efficient full-automatic food stuffing wrapping machine | |
| CN208372920U (en) | A kind of agitating device of food inspection | |
| CN216458178U (en) | Raw material mixing device for pesticide production | |
| CN215963076U (en) | Stirring device for moon cake stuffing | |
| CN211246144U (en) | Proportioning bin for fish feed production | |
| CN112545040A (en) | Thick liquid device is boiled with production of crisp some food with self-cleaning function | |
| CN221288950U (en) | Stirring device for processing food easy to clean |
Legal Events
| Date | Code | Title | Description |
|---|---|---|---|
| GR01 | Patent grant | ||
| GR01 | Patent grant | ||
| CF01 | Termination of patent right due to non-payment of annual fee |
Granted publication date: 20200703 |
|
| CF01 | Termination of patent right due to non-payment of annual fee |
