CN210860190U - A special-shaped inner thread copper-plated steel pipe - Google Patents
A special-shaped inner thread copper-plated steel pipe Download PDFInfo
- Publication number
- CN210860190U CN210860190U CN201920672199.0U CN201920672199U CN210860190U CN 210860190 U CN210860190 U CN 210860190U CN 201920672199 U CN201920672199 U CN 201920672199U CN 210860190 U CN210860190 U CN 210860190U
- Authority
- CN
- China
- Prior art keywords
- pipe
- hole
- plated steel
- special
- annular groove
- Prior art date
- Legal status (The legal status is an assumption and is not a legal conclusion. Google has not performed a legal analysis and makes no representation as to the accuracy of the status listed.)
- Expired - Fee Related
Links
Images
Landscapes
- Branch Pipes, Bends, And The Like (AREA)
Abstract
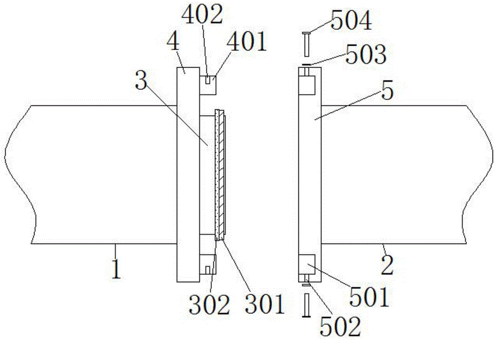
本实用新型公开了一种异形内螺纹镀铜钢管,包括一号管和二号管,所述一号管一侧可拆卸连接有二号管,所述一号管一端固定连接有插接头,所述插接头表面固定连接有导向环,所述导向环一侧粘连有密封胶圈,所述插接头一侧焊接有一号法兰盘,所述一号法兰盘一侧表面固定连接有圆柱头,所述二号管一端焊接有二号法兰盘,所述二号法兰盘一侧表面开设有圆形凹孔,所述圆形凹孔一侧开设有通孔,所述二号法兰盘一侧开设有环形凹槽。本实用新型通过插接头与环形凹槽相衔接,便于一号管与二号管的初步拼接,并通过螺钉贯穿通孔同时螺钉一端与螺纹孔旋转相连,便于对一号管与二号管的固定和连接,结构简单,操作方便,同时节省了人力。
The utility model discloses a special-shaped internal thread copper-plated steel pipe, which comprises a No. 1 pipe and a No. 2 pipe. One side of the No. 1 pipe is detachably connected with a No. 2 pipe, and one end of the No. 1 pipe is fixedly connected with a plug joint. A guide ring is fixedly connected to the surface of the plug joint, a sealing rubber ring is adhered to one side of the guide ring, a No. One end of the No. 2 pipe is welded with a No. 2 flange, one side of the No. 2 flange is provided with a circular concave hole, and one side of the circular concave hole is provided with a through hole. An annular groove is provided on one side of the flange. The utility model is connected with the annular groove through the plug joint, which facilitates the preliminary splicing of the No. 1 pipe and the No. 2 pipe, and the screw penetrates through the through hole while one end of the screw is rotatably connected with the threaded hole, which is convenient for the connection between the No. 1 pipe and the No. 2 pipe. Fixed and connected, the structure is simple, the operation is convenient, and manpower is saved at the same time.
Description
技术领域technical field
本实用新型涉及一种钢管,特别涉及一种异形内螺纹镀铜钢管。The utility model relates to a steel pipe, in particular to a special-shaped inner thread copper-plated steel pipe.
背景技术Background technique
钢管按截面形状分为圆形、方形、矩形和异形钢管;按材质分为碳素结构钢钢管、低合金结构钢钢管、合金钢钢管和复合钢管;按用途分为输送管道用、工程结构用、热工设备用、石油化工工业用、机械制造用、地质钻探用、高压设备用钢管等;按生产工艺分为无缝钢管和焊接钢管,其中无缝钢管又分热轧和冷轧两种,焊接钢管又分直缝焊接钢管和螺旋缝焊接钢管。Steel pipes are divided into round, square, rectangular and special-shaped steel pipes according to their cross-sectional shapes; according to their materials, they are divided into carbon structural steel pipes, low-alloy structural steel pipes, alloy steel pipes and composite steel pipes; , thermal equipment, petrochemical industry, machinery manufacturing, geological drilling, high-pressure equipment steel pipes, etc.; according to the production process, it is divided into seamless steel pipes and welded steel pipes, of which seamless steel pipes are divided into two types: hot-rolled and cold-rolled. , Welded steel pipe is divided into straight seam welded steel pipe and spiral seam welded steel pipe.
现有的异形内螺纹镀铜钢管在拼接时,需要多个工人进行配合,不仅安装繁琐,而且会占用过多的劳动力,效率低下,为此,我们提出一种异形内螺纹镀铜钢管。The existing special-shaped internal thread copper-plated steel pipe requires multiple workers to cooperate when splicing, which is not only cumbersome to install, but also takes up too much labor and is inefficient. For this reason, we propose a special-shaped internal thread copper-plated steel pipe.
实用新型内容Utility model content
本实用新型的主要目的在于提供一种异形内螺纹镀铜钢管,通过插接头与环形凹槽相衔接,便于一号管与二号管的初步拼接,并通过螺钉贯穿通孔同时螺钉一端与螺纹孔旋转相连,便于对一号管与二号管的固定和连接,结构简单,操作方便,同时节省了人力,可以有效解决背景技术中的问题。The main purpose of the utility model is to provide a special-shaped inner thread copper-plated steel pipe, which is connected with the annular groove through the plug joint, which is convenient for the preliminary splicing of the No. The holes are rotatably connected, which is convenient for fixing and connecting the No. 1 pipe and the No. 2 pipe, the structure is simple, the operation is convenient, and manpower is saved at the same time, and the problems in the background technology can be effectively solved.
为实现上述目的,本实用新型采取的技术方案为:To achieve the above purpose, the technical scheme adopted by the present utility model is:
一种异形内螺纹镀铜钢管,包括一号管和二号管,所述一号管一侧可拆卸连接有二号管,所述一号管一端固定连接有插接头,所述插接头表面固定连接有导向环,所述导向环一侧粘连有密封胶圈,所述插接头一侧焊接有一号法兰盘,所述一号法兰盘一侧表面固定连接有圆柱头,所述二号管一端焊接有二号法兰盘,所述二号法兰盘一侧表面开设有圆形凹孔,所述圆形凹孔一侧开设有通孔,所述二号法兰盘一侧开设有环形凹槽。A special-shaped internal thread copper-plated steel pipe includes a No. 1 pipe and a No. 2 pipe, one side of the No. 1 pipe is detachably connected with a No. 2 pipe, one end of the No. 1 pipe is fixedly connected with a plug joint, and the surface of the plug joint is A guide ring is fixedly connected, a sealing rubber ring is adhered to one side of the guide ring, a No. One end of the No. 2 flange is welded with a No. 2 flange, one side of the No. 2 flange is provided with a circular concave hole, one side of the circular concave hole is provided with a through hole, and one side of the No. 2 flange is provided with a through hole. An annular groove is provided.
进一步地,所述圆柱头表面开设有螺纹孔。Further, the surface of the cylindrical head is provided with threaded holes.
进一步地,所述通孔一侧可拆卸连接有垫片,所述垫片一侧旋转连接有螺钉。Further, a gasket is detachably connected to one side of the through hole, and a screw is rotatably connected to one side of the gasket.
进一步地,所述插接头与环形凹槽相衔接且密封胶圈与环形凹槽内壁相贴合。Further, the plug connector is connected with the annular groove and the sealing rubber ring is fitted with the inner wall of the annular groove.
与现有技术相比,本实用新型具有如下有益效果:Compared with the prior art, the utility model has the following beneficial effects:
1.通过一号管一端固定连接有插接头,插接头为圆形管状结构,并通过二号管一端的管壁上开设有环形凹槽,且插接头与环形凹槽相衔接,便于一号管与二号管的初步拼接,并通过螺钉贯穿通孔同时螺钉一端与螺纹孔旋转相连,便于对一号管与二号管的固定和连接,结构简单,操作方便,同时节省了人力。1. A plug joint is fixedly connected through one end of the No. 1 pipe. The plug joint is a circular tubular structure, and an annular groove is opened on the pipe wall of one end of the No. 2 pipe, and the plug joint is connected with the annular groove, which is convenient for No. 1 pipe. The initial splicing of the pipe and the No. 2 pipe is carried out through the through hole of the screw, and one end of the screw is connected with the threaded hole in rotation, which is convenient for the fixing and connection of the No. 1 pipe and the No. 2 pipe. The structure is simple, the operation is convenient, and manpower is saved.
2.通过导向环可紧贴环形凹槽内壁,可有效的防止一号管与二号管衔接处发生松动现象,并通过导向环一侧粘连有密封胶圈,且密封胶圈表面凸出于导向环的表面,同时密封胶圈与凹槽内壁紧密贴合,会充满接缝的所有不规则表面、空穴及间隙,同时产生巨大的接触压力,防止气体或液体的渗漏。2. The guide ring can be closely attached to the inner wall of the annular groove, which can effectively prevent the loosening of the joint between the No. 1 pipe and the No. 2 pipe, and a sealing rubber ring is adhered to one side of the guide ring, and the surface of the sealing rubber ring protrudes from the surface. The surface of the guide ring, while the sealing rubber ring is closely attached to the inner wall of the groove, will fill all the irregular surfaces, cavities and gaps of the joint, and at the same time generate a huge contact pressure to prevent the leakage of gas or liquid.
附图说明Description of drawings
图1为本实用新型一种异形内螺纹镀铜钢管的整体结构示意图。Figure 1 is a schematic diagram of the overall structure of a special-shaped internal thread copper-plated steel pipe of the present invention.
图2为本实用新型一种异形内螺纹镀铜钢管的二号管侧面结构示意图。Figure 2 is a schematic view of the side structure of the No. 2 pipe of a special-shaped internal thread copper-plated steel pipe of the present invention.
图中:1、一号管;2、二号管;3、插接头;301、导向环; 302、密封胶圈;4、一号法兰盘;401、圆柱头;402、螺纹孔;5、二号法兰盘;501、圆形凹孔;502、通孔;503、垫片;504、螺钉;6、环形凹槽。In the picture: 1. No. 1 pipe; 2. No. 2 pipe; 3. Plug connector; 301, guide ring; 302, sealing rubber ring; 4, No. 1 flange; 401, cylindrical head; 402, threaded hole; 5 , No. 2 flange; 501, circular concave hole; 502, through hole; 503, gasket; 504, screw; 6, annular groove.
具体实施方式Detailed ways
为使本实用新型实现的技术手段、创作特征、达成目的与功效易于明白了解,下面结合具体实施方式,进一步阐述本实用新型。In order to make the technical means, creation features, achievement goals and effects of the present invention easy to understand and understand, the present invention will be further described below with reference to the specific embodiments.
如图1-2所示,一种异形内螺纹镀铜钢管,包括一号管1和二号管2,所述一号管1一侧可拆卸连接有二号管2,所述一号管 1一端固定连接有插接头3,所述插接头3表面固定连接有导向环 301,所述导向环301一侧粘连有密封胶圈302,所述插接头3一侧焊接有一号法兰盘4,所述一号法兰盘4一侧表面固定连接有圆柱头401,所述二号管2一端焊接有二号法兰盘5,所述二号法兰盘5一侧表面开设有圆形凹孔501,所述圆形凹孔501一侧开设有通孔502,所述二号法兰盘5一侧开设有环形凹槽6。As shown in Figure 1-2, a special-shaped internal thread copper-plated steel pipe includes a No. 1 pipe 1 and a No. 2
本实施例中(如图1和2所示),通过插接头与环形凹槽相衔接,便于一号管与二号管的初步拼接,并通过螺钉贯穿通孔同时螺钉一端与螺纹孔旋转相连,便于对一号管与二号管的固定和连接,结构简单,操作方便,同时节省了人力。In this embodiment (as shown in Figures 1 and 2), the plug joint is connected with the annular groove to facilitate the preliminary splicing of the No. 1 pipe and the No. 2 pipe, and the screw is passed through the through hole and one end of the screw is connected to the threaded hole in rotation. , it is convenient to fix and connect the No. 1 pipe and the No. 2 pipe, the structure is simple, the operation is convenient, and manpower is saved at the same time.
其中,所述圆柱头401表面开设有螺纹孔402。Wherein, the surface of the
本实施例中(如图1所示),便于与螺钉相衔接。In this embodiment (as shown in FIG. 1 ), it is convenient to connect with the screw.
其中,所述通孔502一侧可拆卸连接有垫片503,所述垫片 503一侧旋转连接有螺钉504。Wherein, a
本实施例中(如图1所示),可有效的防止螺钉发生松动。In this embodiment (as shown in FIG. 1 ), the loosening of the screw can be effectively prevented.
其中,所述插接头3与环形凹槽6相衔接且密封胶圈302与环形凹槽6内壁相贴合。Wherein, the
本实施例中(如图1和2所示),防止气体或液体的渗漏。In this embodiment (as shown in Figures 1 and 2), leakage of gas or liquid is prevented.
工作时通过一号管1一端固定连接有插接头3,插接头3为圆形管状结构,并通过二号管2一端的管壁上开设有环形凹槽6,且插接头3与环形凹槽6相衔接,便于一号管1与二号管2的初步拼接,通过插接头3表面固定连接有导向环301,在拼接时导向环301可紧贴环形凹槽6内壁,可有效的防止一号管1与二号管2衔接处发生松动现象,并通过导向环301一侧粘连有密封胶圈302,且密封胶圈302表面凸出于导向环301的表面,同时密封胶圈302与凹槽6内壁紧密贴合,会充满接缝的所有不规则表面、空穴及间隙,同时产生巨大的接触压力,防止气体或液体的渗漏,当一号管1与二号管2的初步拼接完成后,一号法兰盘4 会和二号法兰盘5相贴合,通过一号法兰盘4一侧表面固定连接有圆柱头401,并通过二号法兰盘5一侧表面开设有圆形凹孔501,使圆柱头401插接进入圆形凹孔501内,避免一号管1与二号管2发生转动,通过圆柱头401表面开设有螺纹孔402,且圆形凹孔 501一侧开设有通孔502,并通过螺钉504贯穿通孔502同时螺钉 504一端与螺纹孔402旋转相连,便于对一号管1与二号管2的固定和连接,结构简单,操作方便,同时节省了人力,通过在通孔502与螺钉504的衔接处安装垫片503,可有效的防止螺钉504 发生松动。During operation, a
需要说明的是,本实用新型为一种异形内螺纹镀铜钢管,包括一号管1、二号管2、插接头3、导向环301、密封胶圈302、一号法兰盘4、圆柱头401、螺纹孔402、二号法兰盘5、圆形凹孔501、通孔502、垫片503、螺钉504、环形凹槽6,部件均为通用标准件或本领域技术人员知晓的部件,其结构和原理都为本技术人员均可通过技术手册得知或通过常规实验方法获知。It should be noted that the utility model is a special-shaped internal thread copper-plated steel pipe, which includes a No. 1 pipe 1, a No. 2
以上显示和描述了本实用新型的基本原理和主要特征和本实用新型的优点。本行业的技术人员应该了解,本实用新型不受上述实施例的限制,上述实施例和说明书中描述的只是说明本实用新型的原理,在不脱离本实用新型精神和范围的前提下,本实用新型还会有各种变化和改进,这些变化和改进都落入要求保护的本实用新型范围内。本实用新型要求保护范围由所附的权利要求书及其等效物界定。The basic principles and main features of the present invention and the advantages of the present invention are shown and described above. It should be understood by those skilled in the art that the present invention is not limited by the above-mentioned embodiments. The above-mentioned embodiments and descriptions only illustrate the principle of the present invention. Without departing from the spirit and scope of the present invention, the present invention There will also be various changes and improvements in the new model, which all fall within the scope of the claimed invention. The claimed scope of the present invention is defined by the appended claims and their equivalents.
Claims (4)
Priority Applications (1)
| Application Number | Priority Date | Filing Date | Title |
|---|---|---|---|
| CN201920672199.0U CN210860190U (en) | 2019-05-13 | 2019-05-13 | A special-shaped inner thread copper-plated steel pipe |
Applications Claiming Priority (1)
| Application Number | Priority Date | Filing Date | Title |
|---|---|---|---|
| CN201920672199.0U CN210860190U (en) | 2019-05-13 | 2019-05-13 | A special-shaped inner thread copper-plated steel pipe |
Publications (1)
| Publication Number | Publication Date |
|---|---|
| CN210860190U true CN210860190U (en) | 2020-06-26 |
Family
ID=71307720
Family Applications (1)
| Application Number | Title | Priority Date | Filing Date |
|---|---|---|---|
| CN201920672199.0U Expired - Fee Related CN210860190U (en) | 2019-05-13 | 2019-05-13 | A special-shaped inner thread copper-plated steel pipe |
Country Status (1)
| Country | Link |
|---|---|
| CN (1) | CN210860190U (en) |
Cited By (1)
| Publication number | Priority date | Publication date | Assignee | Title |
|---|---|---|---|---|
| CN112404053A (en) * | 2020-12-04 | 2021-02-26 | 张家港嘉园钢铁制品有限公司 | Seamless steel pipe convenient to clearance is inside |
-
2019
- 2019-05-13 CN CN201920672199.0U patent/CN210860190U/en not_active Expired - Fee Related
Cited By (1)
| Publication number | Priority date | Publication date | Assignee | Title |
|---|---|---|---|---|
| CN112404053A (en) * | 2020-12-04 | 2021-02-26 | 张家港嘉园钢铁制品有限公司 | Seamless steel pipe convenient to clearance is inside |
Similar Documents
| Publication | Publication Date | Title |
|---|---|---|
| CN201715135U (en) | Pipeline fast-repair thread casing joint | |
| CN210860190U (en) | A special-shaped inner thread copper-plated steel pipe | |
| CN103558090B (en) | The single seam crossing water test unit of major diameter bearing pipe and hydraulic test method | |
| CN216242786U (en) | Corrosion-resistant petroleum pipeline joint | |
| CN203641719U (en) | Adaptor connector connecting gas storage tank and Dewar bottle | |
| CN212004674U (en) | A steel mesh PE composite pipe fire pipe flange connection | |
| CN221667489U (en) | Pipeline hydraulic test tool | |
| CN203784533U (en) | Fluid pipe quick connector | |
| CN101392858A (en) | Steel oil pipe open flange sign indicating number | |
| CN204711380U (en) | Austenitic stainless steel Circumferential Welds In Cylinders welding back side argon-filled protection device | |
| CN215000013U (en) | A kind of anti-corrosion chemical high-pressure pipeline joint | |
| CN211040498U (en) | Pipeline sealing performance detection device of oil extraction equipment | |
| CN212692983U (en) | Intelligent water meter convenient to assemble and provided with electronic remote transmission and large caliber | |
| CN204962093U (en) | Oil filter tube coupling head | |
| CN214425345U (en) | Cutting sleeve type reducing flange system structure suitable for pipeline connection with different drift diameters | |
| CN203629776U (en) | Sealing device used for metallic pipe hydraulic pressure test | |
| CN212338575U (en) | a blocking device | |
| CN202074166U (en) | Saddle-shaped quick pipe joint | |
| CN221991156U (en) | Hydraulic pipeline connecting device for hydraulic engineering | |
| CN206637144U (en) | A kind of attachment structure of telescopic pipes | |
| CN205078971U (en) | No weld bond ji huiguandao of high pressure | |
| CN207316329U (en) | A kind of air source distributor of no-welding type branch pipe line structure | |
| CN223827204U (en) | Pressure testing assembly for oilfield pipeline | |
| CN206206878U (en) | A kind of composite pipe connecting structure | |
| CN213233565U (en) | A high-tightness pile foundation quality detection tube |
Legal Events
| Date | Code | Title | Description |
|---|---|---|---|
| GR01 | Patent grant | ||
| GR01 | Patent grant | ||
| CF01 | Termination of patent right due to non-payment of annual fee |
Granted publication date: 20200626 |
|
| CF01 | Termination of patent right due to non-payment of annual fee |
