CN210845850U - A device for the removal of heavy metals from arsenic, selenium, lead and heavy metals by lye jet boosting WESP - Google Patents
A device for the removal of heavy metals from arsenic, selenium, lead and heavy metals by lye jet boosting WESP Download PDFInfo
- Publication number
- CN210845850U CN210845850U CN201921338982.XU CN201921338982U CN210845850U CN 210845850 U CN210845850 U CN 210845850U CN 201921338982 U CN201921338982 U CN 201921338982U CN 210845850 U CN210845850 U CN 210845850U
- Authority
- CN
- China
- Prior art keywords
- area
- heavy metals
- flue gas
- selenium
- arsenic
- Prior art date
- Legal status (The legal status is an assumption and is not a legal conclusion. Google has not performed a legal analysis and makes no representation as to the accuracy of the status listed.)
- Active
Links
- 229910001385 heavy metal Inorganic materials 0.000 title claims abstract description 55
- 239000011669 selenium Substances 0.000 title claims abstract description 36
- BUGBHKTXTAQXES-UHFFFAOYSA-N Selenium Chemical compound [Se] BUGBHKTXTAQXES-UHFFFAOYSA-N 0.000 title claims abstract description 30
- 229910052785 arsenic Inorganic materials 0.000 title claims abstract description 30
- RQNWIZPPADIBDY-UHFFFAOYSA-N arsenic atom Chemical compound [As] RQNWIZPPADIBDY-UHFFFAOYSA-N 0.000 title claims abstract description 30
- 229910052711 selenium Inorganic materials 0.000 title claims abstract description 30
- UGFAIRIUMAVXCW-UHFFFAOYSA-N Carbon monoxide Chemical compound [O+]#[C-] UGFAIRIUMAVXCW-UHFFFAOYSA-N 0.000 claims abstract description 51
- 239000003546 flue gas Substances 0.000 claims abstract description 51
- 239000007921 spray Substances 0.000 claims abstract description 51
- 238000005507 spraying Methods 0.000 claims abstract description 28
- 239000002245 particle Substances 0.000 claims abstract description 21
- 238000001179 sorption measurement Methods 0.000 claims abstract description 16
- 239000010865 sewage Substances 0.000 claims abstract description 15
- 239000000428 dust Substances 0.000 claims abstract description 13
- 239000003595 mist Substances 0.000 claims description 14
- 239000012717 electrostatic precipitator Substances 0.000 claims description 13
- 239000007788 liquid Substances 0.000 claims description 11
- 238000010926 purge Methods 0.000 claims description 9
- 239000007789 gas Substances 0.000 claims description 5
- 229920006395 saturated elastomer Polymers 0.000 claims description 5
- 238000002347 injection Methods 0.000 claims description 2
- 239000007924 injection Substances 0.000 claims description 2
- 238000005367 electrostatic precipitation Methods 0.000 claims 2
- WCZQJJIXWPUVBL-UHFFFAOYSA-N [Pb].[Se].[As] Chemical compound [Pb].[Se].[As] WCZQJJIXWPUVBL-UHFFFAOYSA-N 0.000 claims 1
- 239000003513 alkali Substances 0.000 claims 1
- 239000003344 environmental pollutant Substances 0.000 abstract description 4
- 231100000719 pollutant Toxicity 0.000 abstract description 4
- 239000012719 wet electrostatic precipitator Substances 0.000 abstract description 4
- 230000005611 electricity Effects 0.000 abstract description 2
- 230000003068 static effect Effects 0.000 abstract 1
- HEMHJVSKTPXQMS-UHFFFAOYSA-M sodium hydroxide Inorganic materials [OH-].[Na+] HEMHJVSKTPXQMS-UHFFFAOYSA-M 0.000 description 35
- UIIMBOGNXHQVGW-UHFFFAOYSA-M Sodium bicarbonate Chemical compound [Na+].OC([O-])=O UIIMBOGNXHQVGW-UHFFFAOYSA-M 0.000 description 22
- 239000012670 alkaline solution Substances 0.000 description 16
- 239000000243 solution Substances 0.000 description 15
- CDBYLPFSWZWCQE-UHFFFAOYSA-L Sodium Carbonate Chemical compound [Na+].[Na+].[O-]C([O-])=O CDBYLPFSWZWCQE-UHFFFAOYSA-L 0.000 description 12
- 229910000030 sodium bicarbonate Inorganic materials 0.000 description 11
- 235000017557 sodium bicarbonate Nutrition 0.000 description 11
- OKTJSMMVPCPJKN-UHFFFAOYSA-N Carbon Chemical compound [C] OKTJSMMVPCPJKN-UHFFFAOYSA-N 0.000 description 10
- AXCZMVOFGPJBDE-UHFFFAOYSA-L calcium dihydroxide Chemical compound [OH-].[OH-].[Ca+2] AXCZMVOFGPJBDE-UHFFFAOYSA-L 0.000 description 6
- 239000000920 calcium hydroxide Substances 0.000 description 6
- 229910001861 calcium hydroxide Inorganic materials 0.000 description 6
- 229910000029 sodium carbonate Inorganic materials 0.000 description 6
- 239000003245 coal Substances 0.000 description 5
- 239000002923 metal particle Substances 0.000 description 5
- 238000000034 method Methods 0.000 description 4
- 230000000694 effects Effects 0.000 description 3
- 230000003028 elevating effect Effects 0.000 description 3
- 239000000843 powder Substances 0.000 description 3
- 230000008569 process Effects 0.000 description 3
- 238000002485 combustion reaction Methods 0.000 description 2
- 238000005516 engineering process Methods 0.000 description 2
- 238000012986 modification Methods 0.000 description 2
- 230000004048 modification Effects 0.000 description 2
- 238000011160 research Methods 0.000 description 2
- 241000282414 Homo sapiens Species 0.000 description 1
- 239000000443 aerosol Substances 0.000 description 1
- 230000009286 beneficial effect Effects 0.000 description 1
- 238000007664 blowing Methods 0.000 description 1
- 230000008859 change Effects 0.000 description 1
- 238000004140 cleaning Methods 0.000 description 1
- 230000007547 defect Effects 0.000 description 1
- 238000011161 development Methods 0.000 description 1
- 238000010586 diagram Methods 0.000 description 1
- 238000009826 distribution Methods 0.000 description 1
- 238000002474 experimental method Methods 0.000 description 1
- 238000009776 industrial production Methods 0.000 description 1
- 244000005700 microbiome Species 0.000 description 1
- 239000000203 mixture Substances 0.000 description 1
- 239000013618 particulate matter Substances 0.000 description 1
- 230000000737 periodic effect Effects 0.000 description 1
- 238000010248 power generation Methods 0.000 description 1
- 238000000746 purification Methods 0.000 description 1
- 238000004062 sedimentation Methods 0.000 description 1
- 230000001568 sexual effect Effects 0.000 description 1
- 239000000779 smoke Substances 0.000 description 1
- 238000012360 testing method Methods 0.000 description 1
- 230000009466 transformation Effects 0.000 description 1
Images
Landscapes
- Treating Waste Gases (AREA)
Abstract
本实用新型涉及一种碱液喷射提升WESP脱除砷硒铅重金属的装置,包括筒体,筒体内从下到上依次设有排污区、双级喷淋区、静电除尘区和吸附区,筒体顶部设有烟气出口,双级喷淋区具有从下到上依次设置的一级喷淋区和二级喷淋区,一级喷淋区和二级喷淋区之间设有除雾区,筒体的一级喷淋区下方设有烟气进口。与现有技术相比,本实用新型中针对烟气中的污染物颗粒、重金属砷硒铅的有效脱除,烟气依次经过一级喷淋区、除雾区、二级喷淋区、静电除尘区、吸附区,采用双级喷淋喷射碱液的湿式静电除尘器和微米级多孔吸附对烟气重金属砷硒铅进行协同处理,从而将烟气中各种形态砷硒铅高效脱除,从整体上提高了重金属的脱除率,实现燃煤烟气的超低近零排放。
The utility model relates to a device for removing heavy metals such as arsenic, selenium, and lead by lye spraying and lifting WESP. The device comprises a cylinder body. The cylinder body is provided with a sewage discharge area, a two-stage spray area, an electrostatic dust removal area and an adsorption area in sequence from bottom to top. There is a flue gas outlet on the top of the body, and the two-stage spray area has a first-level spray area and a second-level spray area arranged in sequence from bottom to top. There is a flue gas inlet below the primary spray area of the cylinder. Compared with the prior art, for the effective removal of pollutant particles, heavy metals, arsenic, selenium, and lead in the flue gas, the flue gas passes through the first-level spray area, the demisting area, the second-level spray area, and the static electricity in sequence. In the dust removal area and the adsorption area, the wet electrostatic precipitator with double-stage spraying lye and the micron-scale porous adsorption are used to synergistically treat the heavy metals arsenic, selenium and lead in the flue gas, so as to efficiently remove various forms of arsenic, selenium and lead in the flue gas. The removal rate of heavy metals is improved as a whole, and the ultra-low and near-zero emission of coal-fired flue gas is realized.
Description
技术领域technical field
本实用新型涉及湿式静电除尘器技术领域,尤其是涉及一种碱液喷射提升 WESP脱除砷硒铅重金属的系统。The utility model relates to the technical field of wet electrostatic precipitators, in particular to a system for removing heavy metals such as arsenic, selenium, and lead by lye spraying and elevating WESP.
背景技术Background technique
随着经济的发展,工业生产、人民生活对电力的需求不断提升。虽然我国正在大力倡导节能发电,开发新能源等措施,但在短时间内我国以煤为主的能源结构不会发生改变。中国是世界上最大的煤炭生产国,也是最大的煤炭消费国,目前煤在能源结构中占到70%左右。然而煤炭燃烧后会产生大量的SOx、NOx以及重金属,其中危害较大的包括有砷、硒、铅等重金属,这些重金属主要富集在亚微米颗粒上,难以被常规污染物控制设施有效捕获,它们在大气中主要以气溶胶形式存在,不易沉降,而且大部分害重金属难以被微生物降解,长时间停留在大气中,给生态系统和人类造成极大危害。With the development of the economy, the demand for electricity in industrial production and people's life continues to increase. Although my country is vigorously advocating energy-saving power generation and developing new energy and other measures, the coal-dominated energy structure in my country will not change in a short period of time. China is the largest coal producer and largest coal consumer in the world, and coal currently accounts for about 70% of the energy mix. However, coal combustion will produce a large amount of SO x , NO x and heavy metals, among which heavy metals such as arsenic, selenium, and lead are more harmful. These heavy metals are mainly concentrated on submicron particles and are difficult to be effectively used by conventional pollutant control facilities. Captured, they mainly exist in the form of aerosols in the atmosphere, which are not easy to settle, and most of the harmful heavy metals are difficult to be degraded by microorganisms, and stay in the atmosphere for a long time, causing great harm to the ecosystem and human beings.
我国关于燃煤电厂净化装置如何控制重金属的研究起步较晚,目前现有技术中的研究方向主要是对烟气中重金属含量的测定,但是如何提高烟气中重金属的脱除效率,以及强化烟气中国重金属的脱除效果,实现重金属高效脱除仍没有完善的解决方案。my country's research on how to control heavy metals in coal-fired power plant purification devices started relatively late. At present, the research direction in the existing technology is mainly the determination of heavy metal content in flue gas, but how to improve the removal efficiency of heavy metals in flue gas and strengthen the There is still no perfect solution for the removal of heavy metals in China.
因此,为减少燃煤电厂大气重金属污染物排放量,进行燃煤过程中重金属的形态转化、分布以及控制,对于烟气中的颗粒物、重金属等亟需开发各种技术进行脱除。中国专利CN108201974A公开了一种湿式静电除尘器,包括清理组件和机箱,机箱的一侧设置有进气口,机箱的顶部设置有出气口,机箱的下方设置有沉淀池。该技术方案的缺点为对重金属的去除流程单一,不能实现分级处理,致使去除率不高。Therefore, in order to reduce the emission of heavy metal pollutants in the atmosphere of coal-fired power plants, and to carry out the form transformation, distribution and control of heavy metals in the process of coal combustion, various technologies need to be developed to remove particulate matter and heavy metals in flue gas. Chinese patent CN108201974A discloses a wet electrostatic precipitator, including a cleaning component and a chassis, an air inlet is provided on one side of the chassis, an air outlet is provided on the top of the chassis, and a sedimentation tank is provided below the chassis. The disadvantage of this technical solution is that the removal process of heavy metals is single, and the classification treatment cannot be realized, resulting in a low removal rate.
实用新型内容Utility model content
本实用新型的目的就是为了克服上述现有技术存在的缺陷而提供一种碱液喷射提升WESP脱除砷硒铅重金属的装置。The purpose of the utility model is to provide a device for removing heavy metals from arsenic, selenium, and lead by lye spraying and elevating WESP in order to overcome the above-mentioned defects in the prior art.
本实用新型的目的可以通过以下技术方案来实现:The purpose of the present utility model can be achieved through the following technical solutions:
一种碱液喷射提升WESP脱除砷硒铅重金属的装置,包括筒体,筒体内从下到上依次设有排污区、双级喷淋区、静电除尘区和吸附区,筒体顶部设有烟气出口,所述的双级喷淋区具有从下到上依次设置的一级喷淋区和二级喷淋区,一级喷淋区和二级喷淋区之间设有除雾区,筒体的一级喷淋区下方设有烟气进口。A device for removing heavy metals such as arsenic, selenium, and lead by lye spraying and lifting WESP, comprising a cylinder body, a sewage discharge area, a two-stage spray area, an electrostatic dust removal area and an adsorption area are sequentially arranged in the cylinder body from bottom to top, and the top of the cylinder body is provided with The flue gas outlet, the two-stage spray area has a first-level spray area and a second-level spray area sequentially arranged from bottom to top, and a demisting area is arranged between the first-level spray area and the second-level spray area , There is a flue gas inlet below the primary spray area of the cylinder.
作为优选的技术方案,所述的一级喷淋区用于烟气与一级喷淋区喷淋的碱性溶液接触,脱除包括砷、硒和铅在内的重金属,一级喷淋区喷淋的碱性溶液为氢氧化钙和氢氧化钠的混合碱性溶液。As a preferred technical solution, the primary spray zone is used for the flue gas to contact the alkaline solution sprayed in the primary spray zone to remove heavy metals including arsenic, selenium and lead. The sprayed alkaline solution is a mixed alkaline solution of calcium hydroxide and sodium hydroxide.
作为优选的技术方案,氢氧化钙与氢氧化钠的质量比为1:1~3。As a preferred technical solution, the mass ratio of calcium hydroxide to sodium hydroxide is 1:1 to 3.
作为优选的技术方案,所述的二级喷淋区用于烟气与二级喷淋区喷淋的碱性溶液接触,进一步脱除颗粒态、单质态及化合态重金属;二级喷淋区喷淋的碱性溶液为碳酸钠和碳酸氢钠粉末配制的碱性溶液,颗粒态重金属包括颗粒态的Asp、Sep和Pbp,单质态重金属包括单质态的Se0和Pb0,化合态重金属包括化合态的As3+、 As5+、Se4+和Pb2+。As a preferred technical solution, the secondary spraying area is used for the contact of flue gas with the alkaline solution sprayed in the secondary spraying area to further remove particulate, elemental and combined heavy metals; the secondary spraying area The sprayed alkaline solution is an alkaline solution prepared by sodium carbonate and sodium bicarbonate powder. The particulate heavy metals include particulate As p , Sep and Pb p , and the elemental heavy metals include elemental Se 0 and Pb 0 . State heavy metals include As 3+ , As 5+ , Se 4+ and Pb 2+ in combined state.
作为优选的技术方案,碳酸钠与碳酸氢钠的质量比为1:1~3。As a preferred technical scheme, the mass ratio of sodium carbonate to sodium bicarbonate is 1:1~3.
作为优选的技术方案,一级喷淋区和二级喷淋区喷淋的碱性溶液为 10μm-200μm的碱性雾滴。As a preferred technical solution, the alkaline solution sprayed in the first-level spray area and the second-level spray area is an alkaline droplet of 10 μm-200 μm.
作为优选的技术方案,所述的除雾区设有除雾器,所述的除雾器用于处理微细尘粒、雾粒及被液体蒸汽饱和的湿气体。As a preferred technical solution, the mist removal area is provided with a mist eliminator, and the mist eliminator is used to treat fine dust particles, mist particles and wet gas saturated with liquid vapor.
作为优选的技术方案,所述的静电除尘区设有中心轴以及交替排列并连接于中心轴的阳极和阴极,所述的阴极设有芒刺,阳极和阴极在中心轴的带动下跟随中心轴周期性转动。提高静电除尘区的除尘效果,进一步提高砷硒铅等经喷淋后与液滴形成的颗粒态的脱除效果。As a preferred technical solution, the electrostatic precipitator area is provided with a central axis and an anode and a cathode which are alternately arranged and connected to the central axis, the cathode is provided with burrs, and the anode and the cathode are driven by the central axis to follow the central axis Periodic rotation. Improve the dust removal effect in the electrostatic dust removal area, and further improve the removal effect of the particles formed by the droplets such as arsenic, selenium, and lead after spraying.
作为优选的技术方案,静电除尘区还设有吹扫部件,该吹扫部件为高压空气喷射器,位于阴极和阳极的上方,用于吹扫静电除尘区的电极板上吸附的颗粒,使其落至排污区。As a preferred technical solution, the electrostatic precipitator area is also provided with a purging component, the purging component is a high-pressure air injector, located above the cathode and the anode, for purging the particles adsorbed on the electrode plate of the electrostatic precipitator area, so that the into the sewage area.
作为优选的技术方案,所述的吸附区设有微米级多孔活性炭和碳酸氢钠的吸附床。利用碳酸氢钠和活性炭进一步吸附各种形态的砷硒铅等重金属。As a preferred technical solution, the adsorption zone is provided with an adsorption bed of micron-sized porous activated carbon and sodium bicarbonate. The use of sodium bicarbonate and activated carbon to further adsorb various forms of heavy metals such as arsenic, selenium, and lead.
作为优选的技术方案,所述的排污区设有灰斗和排污口。用于收集重金属砷硒铅等颗粒。As a preferred technical solution, the sewage area is provided with an ash hopper and a sewage outlet. It is used to collect particles of heavy metals such as arsenic, selenium, and lead.
作为优选的技术方案,该装置还包括设置于一级喷淋区和二级喷淋区之间以及排污区上方的导流板,所述的导流板为多孔导流板,用于优化烟气流场均匀性。As a preferred technical solution, the device also includes a guide plate arranged between the primary spray area and the second spray area and above the sewage area, and the guide plate is a porous guide plate for optimizing smoke Airflow field uniformity.
作为优选技术方案,当脱除效率明显下降后,需进行对吸附床更换、更新喷淋液等操作。As a preferred technical solution, when the removal efficiency drops significantly, operations such as replacing the adsorption bed and updating the spray liquid are required.
工作时,烟气从烟气进口进入一级喷淋区,所用喷淋液为氢氧化钙和氢氧化钠混合碱性溶液,烟气在喷淋区与喷淋液充分接触,利用氢氧化钙和氢氧化钠混合碱液进一步处理砷硒铅等重金属;烟气经一级喷淋后进入除雾区,其中除雾器处理微细尘粒,雾粒及被液体蒸汽饱和的湿气体;烟气经除雾区后进入二级喷淋区,所用喷淋液为碳酸钠和碳酸氢钠粉末配制的碱性溶液,烟气在喷淋区与喷淋液充分接触,利用碳酸钠和碳酸氢钠进一步的脱除颗粒态(Asp、Sep、Pbp)、单质态(Se0,Pb0)以及化合态(As3+,As5+,Se4+,Pb2+)的砷硒铅等重金属;烟气经二级喷淋区后进入静电除尘区,其中阳极和设有芒刺的阴极交错排列并连接于中心轴,工作时电极跟随中心轴周期性转动,提高静电除尘区的除尘效果,能进一步提高砷硒铅等经喷淋后与液滴形成的颗粒态的脱除效果;烟气经静电除尘区后进入吸附区,设有微米级多孔活性炭和碳酸氢钠的吸附床,利用碳酸氢钠和活性炭进一步吸附各种形态的砷硒铅等重金属,最后净化后的烟气从烟气出口排出。When working, the flue gas enters the primary spray area from the flue gas inlet. The spray liquid used is a mixed alkaline solution of calcium hydroxide and sodium hydroxide. The flue gas is fully contacted with the spray liquid in the spray area. It is mixed with sodium hydroxide to further process heavy metals such as arsenic, selenium, and lead; the flue gas enters the demisting area after first-level spraying, where the mist eliminator treats fine dust particles, mist particles and wet gas saturated with liquid vapor; flue gas After passing through the defogging area, it enters the secondary spraying area. The spraying liquid used is an alkaline solution prepared by sodium carbonate and sodium bicarbonate powder. The flue gas is fully contacted with the spraying liquid in the spraying area. Further removal of particulate (As p , Sep , Pb p ) , elemental (Se 0 , Pb 0 ) and combined (As 3+ , As 5+ , Se 4+ , Pb 2+ ) arsenic, selenium and lead The flue gas enters the electrostatic precipitator area after passing through the secondary spray area, in which the anode and the cathode with thorns are staggered and connected to the central shaft. During operation, the electrode rotates periodically with the central shaft to improve the dust removal in the electrostatic precipitator area. It can further improve the removal effect of arsenic, selenium, lead and other particles formed by droplets after spraying. Sodium bicarbonate and activated carbon are used to further adsorb various forms of heavy metals such as arsenic, selenium, and lead, and finally the purified flue gas is discharged from the flue gas outlet.
与现有技术相比,本实用新型的有益效果是:针对烟气中的污染物颗粒、重金属砷硒铅的有效脱除,烟气依次经过一级喷淋区、除雾区、二级喷淋区、静电除尘区、吸附区,采用双级喷淋喷射碱液的湿式静电除尘器和微米级多孔吸附对烟气重金属砷硒铅进行协同处理,从而将烟气中各种形态砷硒铅高效脱除,从整体上提高了重金属的脱除率,实现燃煤烟气的超低近零排放。Compared with the prior art, the beneficial effect of the utility model is: for the effective removal of pollutant particles, heavy metals, arsenic, selenium, and lead in the flue gas, the flue gas passes through the first-level spray area, the demisting area, and the second-level spray area in turn. In the shower area, electrostatic precipitator area and adsorption area, the wet electrostatic precipitator with double-stage spraying lye and the micron-level porous adsorption are used to synergistically treat the heavy metals arsenic, selenium, and lead in the flue gas, so as to remove various forms of arsenic, selenium, and lead in the flue gas. High-efficiency removal improves the removal rate of heavy metals as a whole, and achieves ultra-low and near-zero emissions of coal-fired flue gas.
附图说明Description of drawings
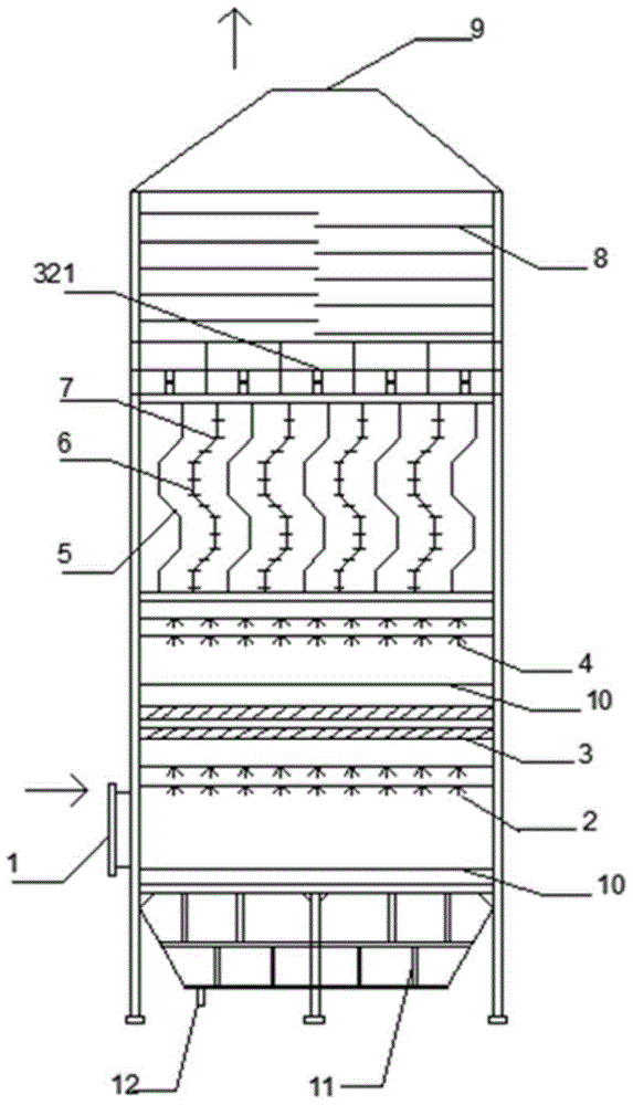
图1为本实用新型的碱液喷射提升WESP脱除砷硒铅重金属的装置的示意图。FIG. 1 is a schematic diagram of a device for removing heavy metals such as arsenic, selenium, and lead by lye spraying and lifting WESP according to the present invention.
图中,1为烟气进口,2为一级喷淋区,3为除雾器,4为二级喷淋区,5为阳极,6为阴极,7为芒刺,8为吸附区,9为烟气出口,10为导流板,11为灰斗, 12为排污口,321为吹扫部件。In the figure, 1 is the flue gas inlet, 2 is the primary spray area, 3 is the demister, 4 is the secondary spray area, 5 is the anode, 6 is the cathode, 7 is the thorn, 8 is the adsorption area, 9 It is a flue gas outlet, 10 is a guide plate, 11 is an ash hopper, 12 is a sewage outlet, and 321 is a purging part.
具体实施方式Detailed ways
下面结合附图和具体实施例对本实用新型进行详细说明。The present utility model will be described in detail below with reference to the accompanying drawings and specific embodiments.
实施例1Example 1
一种碱液喷射提升WESP脱除砷硒铅重金属的装置,如图1所示,包括筒体,筒体内从下到上依次设有排污区、双级喷淋区、静电除尘区和吸附区8,筒体顶部设有烟气出口9,双级喷淋区具有从下到上依次设置的一级喷淋区2和二级喷淋区 4,一级喷淋区2和二级喷淋区4之间设有除雾区,筒体的一级喷淋区2下方(且位于排污区上方)设有烟气进口1。A device for removing heavy metals such as arsenic, selenium, and lead by lye spraying and elevating WESP, as shown in Figure 1, includes a cylinder, and the cylinder is provided with a sewage discharge area, a two-stage spray area, an electrostatic dust removal area and an adsorption area from bottom to top. 8. The top of the cylinder is provided with a flue gas outlet 9. The two-stage spray area has a first-
具体地:specifically:
本实施例中,一级喷淋区2用于烟气与一级喷淋区2喷淋的碱性溶液接触,脱除包括砷、硒和铅在内的重金属,一级喷淋区喷淋的碱性溶液为氢氧化钙和氢氧化钠的混合碱性溶液。二级喷淋区4用于烟气与二级喷淋区4喷淋的碱性溶液接触,进一步脱除颗粒态、单质态及化合态重金属;二级喷淋区4喷淋的碱性溶液为碳酸钠和碳酸氢钠粉末配制的碱性溶液,颗粒态重金属包括颗粒态的Asp、Sep和Pbp,单质态重金属包括单质态的Se0和Pb0,化合态重金属包括化合态的As3+、As5+、 Se4+和Pb2+。优选一级喷淋区2和二级喷淋区4喷淋的碱性溶液为10μm-200μm的碱性雾滴。进一步优选氢氧化钙与氢氧化钠的质量比为1:1~3,碳酸钠与碳酸氢钠的质量比为1:1~3。In this embodiment, the
本实施例中,除雾区设有除雾器3,除雾器3用于处理微细尘粒、雾粒及被液体蒸汽饱和的湿气体。In this embodiment, a
本实施例中,静电除尘区设有中心轴以及交替排列并连接于中心轴的阳极5 和阴极6,阴极6设有芒刺7,阳极5和阴极6在中心轴的带动下跟随中心轴周期性转动。进一步优选静电除尘区还设有吹扫部件321,该吹扫部件321为高压空气喷射器,位于阴极6和阳极5的上方,用于吹扫静电除尘区的电极板上吸附的颗粒,使其落至排污区。In this embodiment, the electrostatic precipitator area is provided with a central axis and an
本实施例中,吸附区8设有微米级多孔活性炭和碳酸氢钠的吸附床。In this embodiment, the adsorption zone 8 is provided with an adsorption bed of micron-sized porous activated carbon and sodium bicarbonate.
本实施例中,排污区设有灰斗11和排污口12。用于收集重金属砷硒铅等颗粒。In this embodiment, the sewage area is provided with an
本实例中,该装置还包括设置于一级喷淋区2和二级喷淋区4之间以及排污区上方的导流板10,导流板10为多孔导流板,用于优化烟气流场均匀性。In this example, the device further includes a
烟气首先由烟气进口1进入一级喷淋区2,烟气经导流板10后均匀烟气流场,一级喷淋区2喷射出的氢氧化钙和氢氧化钠液滴和部分的重金属颗粒结合形成较大的颗粒并沉降入灰斗11,并将部分重金属砷硒铅进一步氧化;随后烟气经过除雾区通过除雾器3处理微细尘粒、雾粒及被液体蒸汽饱和的湿气体;烟气中另一部分的重金属颗粒向上进入二级喷淋区4,与喷淋液碳酸钠和碳酸氢钠溶液充分接触,进一步的脱除各种形态的砷硒铅等重金属;随后剩余重金属颗粒进入静电除尘区,经过电晕放电后部分吸附于电极板上,静电除尘区的电极板随中心轴周期性的旋转,通过吹扫部件321将电极上吸附的重金属颗粒吹至灰斗11,灰斗11处沉积的重金属颗粒由排污口12排出;烟气经过静电除尘区后进入吸附区8,烟气中残余的重金属被微米级多孔活性炭和碳酸氢钠进行进一步吸附处理,净化后的烟气最后由烟气出口9排出。以重金属铅为例,经模拟烟气系统5-10次测试,烟气入口处铅浓度为30μg/m3,模拟实验整体误差为±5%,烟气流量设置为1.2L/min,经该装置碱液喷射及吸附后烟气中检测平均铅含量为6.23μg/m3。The flue gas first enters the
上述对实施例的描述是为便于该技术领域的普通技术人员能理解和使用实用新型。熟悉本领域技术的人员显然可以容易地对这些实施例做出各种修改,并把在此说明的一般原理应用到其他实施例中而不必经过创造性的劳动。因此,本实用新型不限于上述实施例,本领域技术人员根据本实用新型的揭示,不脱离本实用新型范畴所做出的改进和修改都应该在本实用新型的保护范围之内。The above description of the embodiments is for the convenience of those skilled in the art to understand and use the utility model. It will be apparent to those skilled in the art that various modifications to these embodiments can be readily made, and the generic principles described herein can be applied to other embodiments without inventive step. Therefore, the present invention is not limited to the above-mentioned embodiments, and improvements and modifications made by those skilled in the art according to the disclosure of the present invention without departing from the scope of the present invention should all fall within the protection scope of the present invention.
Claims (5)
Priority Applications (1)
| Application Number | Priority Date | Filing Date | Title |
|---|---|---|---|
| CN201921338982.XU CN210845850U (en) | 2019-08-13 | 2019-08-13 | A device for the removal of heavy metals from arsenic, selenium, lead and heavy metals by lye jet boosting WESP |
Applications Claiming Priority (1)
| Application Number | Priority Date | Filing Date | Title |
|---|---|---|---|
| CN201921338982.XU CN210845850U (en) | 2019-08-13 | 2019-08-13 | A device for the removal of heavy metals from arsenic, selenium, lead and heavy metals by lye jet boosting WESP |
Publications (1)
| Publication Number | Publication Date |
|---|---|
| CN210845850U true CN210845850U (en) | 2020-06-26 |
Family
ID=71282387
Family Applications (1)
| Application Number | Title | Priority Date | Filing Date |
|---|---|---|---|
| CN201921338982.XU Active CN210845850U (en) | 2019-08-13 | 2019-08-13 | A device for the removal of heavy metals from arsenic, selenium, lead and heavy metals by lye jet boosting WESP |
Country Status (1)
| Country | Link |
|---|---|
| CN (1) | CN210845850U (en) |
Cited By (1)
| Publication number | Priority date | Publication date | Assignee | Title |
|---|---|---|---|---|
| CN110449017A (en) * | 2019-08-13 | 2019-11-15 | 上海电力大学 | Alkali liquor injection lifting WESP device for removing arsenic, selenium and lead heavy metals |
-
2019
- 2019-08-13 CN CN201921338982.XU patent/CN210845850U/en active Active
Cited By (2)
| Publication number | Priority date | Publication date | Assignee | Title |
|---|---|---|---|---|
| CN110449017A (en) * | 2019-08-13 | 2019-11-15 | 上海电力大学 | Alkali liquor injection lifting WESP device for removing arsenic, selenium and lead heavy metals |
| CN110449017B (en) * | 2019-08-13 | 2024-07-23 | 上海电力大学 | Device for removing heavy metals of arsenic, selenium and lead by improving WESP through alkali liquor injection |
Similar Documents
| Publication | Publication Date | Title |
|---|---|---|
| CN100531865C (en) | Simultaneous purification method of streamer discharge plasma flue gas pollutants | |
| CN101496986B (en) | Method for simultaneously removing PM2.5 granules, SO2 and NOx from flue gas and recycling by-product | |
| CN105668832B (en) | A kind of desulfurization wastewater treatment system and method | |
| CN103055649B (en) | Dust removal, desulfurization and denitrification device of coal-fired power generation boiler | |
| CN101810993B (en) | Method for achieving high effective mercury removal through modifying electrostatic precipitator | |
| CN109013058B (en) | High-efficient wet electrostatic precipitator catalytic oxidation jointly removes heavy metal device | |
| CN205145894U (en) | Industrial waste gas's SOx/NOx control dust removal integration purification treatment system | |
| CN110508113B (en) | System and process for treating organic waste gas by micro-nano oxygen bubbles in cooperation with iron ions | |
| CN104324805A (en) | Method for capturing PM2.5 fine particles through water mist charged coagulation for electric precipitation | |
| CN106512704B (en) | A kind of deduster flying dust modified high-efficient demercuration method and system | |
| CN105214465A (en) | The apparatus and method of integration wet process of FGD dedusting | |
| CN106964243A (en) | A kind of integrative coordinated removing sulfur trioxide device and its method of work suitable for sulphur coal | |
| CN110449017B (en) | Device for removing heavy metals of arsenic, selenium and lead by improving WESP through alkali liquor injection | |
| CN110193282A (en) | A kind of waste flue gas of boilers processing system and method | |
| CN104069712A (en) | Chemical coagulation-based 'electricity-bag' integrated compound dust removing process | |
| CN210845850U (en) | A device for the removal of heavy metals from arsenic, selenium, lead and heavy metals by lye jet boosting WESP | |
| CN104069713B (en) | A kind of electricity-bag dust collecting process strengthening coalescence | |
| CN113304591A (en) | Method and system for purifying flue gas of carbon roasting furnace | |
| CN110449021B (en) | WESP device for efficiently removing heavy metals by combining two-stage adsorption and two-stage spraying | |
| CN205032080U (en) | Dry -type flue gas desulfurization denitration dust removal integration clean system | |
| CN211725339U (en) | WESP device for efficient removal of heavy metals by two-stage adsorption and two-stage spraying | |
| CN1559651A (en) | Dry pulse corona discharge flue gas purification method and device | |
| CN109954399A (en) | Flue gas full-dry method purifying device | |
| CN105536409B (en) | A kind of haze processing system | |
| CN211946337U (en) | An intelligent waste water zero discharge coupled dechlorination system for waste heat utilization of flue gas |
Legal Events
| Date | Code | Title | Description |
|---|---|---|---|
| GR01 | Patent grant | ||
| GR01 | Patent grant |
