CN210845736U - Movable dust remover with pre-filtering device - Google Patents
Movable dust remover with pre-filtering device Download PDFInfo
- Publication number
- CN210845736U CN210845736U CN201921565399.2U CN201921565399U CN210845736U CN 210845736 U CN210845736 U CN 210845736U CN 201921565399 U CN201921565399 U CN 201921565399U CN 210845736 U CN210845736 U CN 210845736U
- Authority
- CN
- China
- Prior art keywords
- dust
- suction head
- box
- suction
- trachea
- Prior art date
- Legal status (The legal status is an assumption and is not a legal conclusion. Google has not performed a legal analysis and makes no representation as to the accuracy of the status listed.)
- Expired - Fee Related
Links
Images
Landscapes
- Filtering Of Dispersed Particles In Gases (AREA)
Abstract
本实用新型公开了一种具有预过滤装置的移动式除尘器,涉及除尘器领域,其包括吸头装置、组合箱体和移动小车,组合箱体位于移动小车上,组合箱体包括净气室和与净气室连通的出风管道,净气室内竖直分布有若干滤袋,净气室靠近顶壁处与吸头装置连通,净气室底部连通有集尘仓,吸头装置包括吸头、粉尘盒和气管,吸头上设有供吸尘用的吸口,气管的一端与吸头连接且另一端与净气室连接,粉尘盒与吸头底壁滑移连接,吸头靠近吸口的一端设置有第一挡尘板,第一挡尘板为朝粉尘盒方向延伸设置,粉尘盒上倾斜设置有与第一挡尘板垂直的第二挡尘板。本实用新型具有滤袋工作负荷小、清理方便、安全可靠的效果。
The utility model discloses a mobile dust collector with a pre-filtering device, which relates to the field of dust collectors. The utility model comprises a suction head device, a combined box body and a mobile trolley. The combined box body is located on the mobile trolley, and the combined box body includes a clean air chamber. There are several filter bags vertically distributed in the clean air chamber, the clean air chamber is connected with the suction head device near the top wall, and the bottom of the clean air chamber is connected with a dust collecting bin, and the suction head device includes a suction head device. Head, dust box and trachea. The suction head is provided with a suction port for dust suction. One end of the trachea is connected to the suction head and the other end is connected to the clean air chamber. The dust box is slidingly connected to the bottom wall of the suction head, and the suction head is close to the suction port. A first dust baffle is arranged at one end of the dust box, the first dust baffle is extended towards the direction of the dust box, and a second dust baffle perpendicular to the first dust baffle is arranged on the dust box obliquely. The utility model has the effects of small working load of the filter bag, convenient cleaning, safety and reliability.
Description
技术领域technical field
本实用新型涉及除尘器的技术领域,尤其是涉及一种具有预过滤装置的移动式除尘器。The utility model relates to the technical field of dust collectors, in particular to a mobile dust collector with a pre-filtering device.
背景技术Background technique
移动式除尘器,对一般比重小的、细微的金属切屑,铸造用砂的粉尘、水泥、石膏粉、炭粉、胶木粉、塑料粉等均有良好的除尘效果,除尘效率大于百分之九十九点五。相比于传统的除尘器,它的灵活性更好,且清理和修理也更为方便。The mobile dust collector has good dust removal effect on general small and fine metal chips, foundry sand dust, cement, gypsum powder, carbon powder, bakelite powder, plastic powder, etc. The dust removal efficiency is greater than 9% Nineteen point five. Compared to traditional dust collectors, it is more flexible and easier to clean and repair.
公告号为CN206934948U的中国专利公开了一种移动式除尘器,包括除尘箱体,除尘箱体内设有集尘盒,集尘盒上方设有滤袋,滤袋贯通连接有气管的一端,气管的另一端贯通除尘箱体的侧壁与吸尘罩连接,除尘箱体上端开设的出风口与风机的排风口贯通。吸尘罩吸入含尘气体,穿过气管经过滤袋,滤袋将粉尘阻留过滤,净化完成的气体从排风口排出,滤袋上的粉尘积累到一定程度后,打开除尘箱的箱门清灰。The Chinese patent with the announcement number CN206934948U discloses a mobile dust collector, which includes a dust removal box, a dust collection box is arranged in the dust removal box, and a filter bag is arranged above the dust collection box. The other end of the dust-removing box penetrates the side wall of the dust-removing box and is connected to the dust-absorbing hood, and the air outlet opened on the upper end of the dust-removing box is connected with the air outlet of the fan. The dust hood inhales the dust-laden gas, passes through the trachea through the filter bag, the filter bag filters the dust, and the purified gas is discharged from the exhaust port. After the dust on the filter bag accumulates to a certain extent, open the door of the dust box. Clean the ashes.
采用上述方案存在如下缺陷:含尘气体直接经过滤袋,滤袋的工作负荷极大,经常需要清理,且清理不方便,影响工作效率,此外如果吸入的含尘气体中含有锋利碎片,极易划破滤袋,对除尘器造成破坏,存在安全隐患。The above scheme has the following drawbacks: the dust-containing gas directly passes through the filter bag, and the filter bag has a great workload, which often needs to be cleaned, and cleaning is inconvenient, which affects the work efficiency. In addition, if the inhaled dust-containing gas contains sharp fragments, it is very easy to Scratching the filter bag will cause damage to the dust collector, posing a safety hazard.
实用新型内容Utility model content
本实用新型的目的在于提供一种具有预过滤装置的移动式除尘器,具有滤袋工作负荷小、清理方便、安全可靠的效果。The purpose of the utility model is to provide a mobile type dust collector with a pre-filtering device, which has the effects of small working load of the filter bag, convenient cleaning, safety and reliability.
本实用新型的上述技术目的是通过以下技术方案得以实现的:The above-mentioned technical purpose of the present utility model is achieved through the following technical solutions:
一种具有预过滤装置的移动式除尘器,包括吸头装置、组合箱体和移动小车,所述组合箱体位于移动小车上,所述组合箱体包括净气室和与净气室连通的出风管道,所述净气室内竖直分布有若干滤袋,所述净气室靠近顶壁处与吸头装置连通,所述净气室底部连通有集尘仓,所述吸头装置包括吸头、粉尘盒和气管,所述吸头上设有供吸尘用的吸口,所述气管的一端与吸头连接且另一端与净气室连接,所述粉尘盒与吸头底壁滑移连接,所述吸头靠近吸口处朝向粉尘盒的方向延伸设置有第一挡尘板,粉尘盒上倾斜设置有与第一挡尘板垂直的第二挡尘板。A mobile dust collector with a pre-filtering device includes a suction head device, a combined box body and a mobile trolley, the combined box body is located on the mobile trolley, and the combined box body includes a clean air chamber and a clean air chamber. Air outlet pipe, several filter bags are vertically distributed in the clean air chamber, the clean air chamber is connected with the suction head device near the top wall, the bottom of the clean air chamber is connected with a dust collection bin, and the suction head device includes A suction head, a dust box and a trachea, the suction head is provided with a suction port for dust suction, one end of the trachea is connected with the suction head and the other end is connected with the clean air chamber, the dust box and the bottom wall of the suction head are slidable The suction head is extended in the direction of the dust box near the suction mouth, and a first dust baffle is arranged on the dust box, and a second dust baffle perpendicular to the first dust baffle is arranged on the dust box.
通过采用上述技术方案,含尘气体进入吸头后,先撞击在第一挡尘板上,受重力影响,部分大颗粒粉尘落入粉尘盒,第二挡尘板的设置,阻止落入盒内的粉尘被再次吸上来,吸头装置挡下大颗粒的粉尘并使其落入粉尘盒,可减小除尘器的工作负荷,延长除尘器的工作寿命,此外粉尘盒的装拆快捷,方便清理。By adopting the above technical solution, after the dust-laden gas enters the suction head, it first hits the first dust baffle. Under the influence of gravity, some large particles of dust fall into the dust box. The setting of the second dust baffle prevents it from falling into the box. The dust is sucked up again, and the suction head device blocks the large particles of dust and makes it fall into the dust box, which can reduce the workload of the dust collector and prolong the working life of the dust collector. In addition, the dust box can be assembled and disassembled quickly and easy to clean. .
本实用新型进一步设置为:所述吸口形状呈长方形状。The utility model is further provided that: the shape of the suction mouth is rectangular.
通过采用上述技术方案,吸口的长度不变而宽度变小致使端面面积变小,移动吸头即可实现吸尘范围并未减小而吸力增大的效果。By adopting the above technical solution, the length of the suction port remains unchanged and the width becomes smaller, resulting in a smaller end surface area, and the effect of increasing the suction force without reducing the dust suction range can be achieved by moving the suction head.
本实用新型进一步设置为:所述第一挡尘板上密布有吸气孔。The utility model is further arranged as follows: the first dust blocking plate is densely covered with air suction holes.
通过采用上述技术方案,气流轨迹为直线,保证吸力足够大,减小锋利碎片进入吸尘器的可能。By adopting the above technical solution, the airflow trajectory is straight, ensuring that the suction force is large enough, and reducing the possibility of sharp debris entering the vacuum cleaner.
本实用新型进一步设置为:所述粉尘盒的内侧壁上沿周向均匀嵌设有磁铁块。The utility model is further arranged as follows: magnet blocks are evenly embedded on the inner side wall of the dust box along the circumferential direction.
通过采用上述技术方案,对粉尘中的金属进行吸附,以便清理时的分类,还可避免遗失一些重要的金属小零件。By adopting the above technical scheme, the metal in the dust is adsorbed, so as to facilitate the classification during cleaning, and the loss of some important small metal parts can also be avoided.
本实用新型进一步设置为:所述气管靠近吸头的一端套设有连接套,所述吸头与气管过盈配合。The utility model is further provided that: one end of the trachea close to the suction head is sleeved with a connecting sleeve, and the suction head and the trachea are in interference fit.
通过采用上述技术方案,气管和吸头的连接和断开只需通过连接套即可完成,无需拨动整个吸头,方便了吸头损坏时的更换。By adopting the above technical solution, the connection and disconnection of the trachea and the suction head can be completed only through the connection sleeve, and the entire suction head does not need to be moved, which facilitates the replacement of the suction head when it is damaged.
本实用新型进一步设置为:所述净气室外设有脉冲喷吹组件,所述脉冲喷吹组件包括储气包、若干喷吹管以及设于喷吹管上的喷嘴,所述组合箱体侧壁上设有安装板,所述储气包设置于安装板上,若干所述喷吹管沿储气包的长度方向阵列设置且一端通过脉冲电磁阀与储气包连接,另一端穿过净气室并延伸至所述滤袋的上侧,所述喷嘴位于每个滤袋正上方。The utility model is further configured as follows: a pulse injection assembly is arranged outside the clean air chamber, and the pulse injection assembly includes an air storage bag, a plurality of injection pipes and nozzles arranged on the injection pipes. There is a mounting plate, the air storage bag is arranged on the mounting plate, a plurality of the injection pipes are arranged in an array along the length direction of the air storage bag, and one end is connected to the air storage bag through a pulse solenoid valve, and the other end passes through the clean air chamber and is connected to the air storage bag. Extending to the upper side of the filter bags, the nozzles are located directly above each filter bag.
通过采用上述技术方案,当滤袋工作一定时间后其表面会附着积尘,电磁脉冲阀受PLC控制能够定时启闭,使得储气包内的压缩空气能够通过喷嘴对滤袋进行喷吹,从而能够及时除去滤袋上积尘,使得滤袋保持较好的滤尘效果。By adopting the above technical solution, when the filter bag works for a certain period of time, the surface of the filter bag will be adhered to dust, and the electromagnetic pulse valve can be opened and closed regularly under the control of PLC, so that the compressed air in the air storage bag can be sprayed on the filter bag through the nozzle, thereby The dust accumulated on the filter bag can be removed in time, so that the filter bag can maintain a good dust filtering effect.
本实用新型进一步设置为:所述集尘仓内设置有排尘组件,所述排尘组件包括驱动电机和输送绞龙,所述输送绞龙沿集尘仓的长度方向水平放置于所述集尘仓的底部,所述驱动电机安装于集尘仓的侧壁,所述集尘仓上远离驱动电机的一侧开设有排尘口。The utility model is further configured as follows: the dust collection bin is provided with a dust discharge assembly, and the dust discharge assembly includes a driving motor and a conveying auger, and the conveying auger is placed horizontally on the dust collecting bin along the length direction of the dust collecting bin. At the bottom of the dust bin, the drive motor is installed on the side wall of the dust bin, and a dust discharge port is provided on the side of the dust bin away from the drive motor.
通过采用上述技术方案,打开排尘口,驱动电机驱使输送绞龙转动能够将集尘仓的积灰自动从排尘口排出,从而方便了集尘仓内积灰的清理,节约了人力物力。By adopting the above technical scheme, the dust discharge port is opened, and the driving motor drives the conveying auger to rotate, so that the dust accumulation in the dust collection bin can be automatically discharged from the dust discharge port, thereby facilitating the cleaning of the dust accumulation in the dust collection chamber and saving manpower and material resources.
本实用新型进一步设置为:所述吸头底壁设有滑槽,所述粉尘盒顶面设有与滑槽配合的滑块,所述粉尘盒与滑槽垂直的端面开设有卡接槽,所述吸头上设有与卡接槽配合的卡接块。The utility model is further configured as follows: the bottom wall of the suction head is provided with a chute, the top surface of the dust box is provided with a sliding block matched with the chute, and the end face perpendicular to the dust box and the chute is provided with a snap groove, The suction head is provided with a clamping block matched with the clamping groove.
通过采用上述技术方案,粉尘盒与吸头的连接在一滑一卡之间即可完成,方便快速,且连接稳定。By adopting the above technical solution, the connection between the dust box and the suction head can be completed by one slip and one card, which is convenient and fast, and the connection is stable.
综上所述,本实用新型的有益技术效果为:To sum up, the beneficial technical effects of the present utility model are:
1.通过第一挡尘板、第二挡尘板的设置,过滤掉大颗粒粉尘,减轻滤袋过滤的负担,延长清理周期和滤袋的使用寿命;1. Through the setting of the first dust baffle and the second dust baffle, large particles of dust are filtered out, the burden of filter bag filtration is reduced, and the cleaning cycle and the service life of the filter bag are prolonged;
2.通过连接套、吸头和气管的设置,吸头和气管的连接与断开较为方便快捷,更换吸头较为容易;2. Through the setting of the connecting sleeve, suction head and trachea, the connection and disconnection of the suction head and the trachea are more convenient and quick, and the replacement of the suction head is easier;
3.通过脉冲喷吹组件和排尘组件的设置,滤袋上的积尘清理方便,集尘仓内的集尘排出容易,进一步提升了除尘的效率。3. Through the setting of the pulse blowing component and the dust removal component, the dust accumulation on the filter bag is easy to clean, and the dust collection in the dust collection bin is easy to discharge, which further improves the dust removal efficiency.
附图说明Description of drawings
图1是本实用新型中用于体现整体的结构示意图;Fig. 1 is the structural representation used to embody the whole in the present utility model;
图2是本实用新型中用于体现脉冲喷吹组件和排灰组件的连接结构示意图;Figure 2 is a schematic diagram of the connection structure used to embody the pulse injection assembly and the ash discharge assembly in the present invention;
图3是本实用新型中用于体现吸头装置内的连接结构的示意图;Fig. 3 is the schematic diagram used to embody the connection structure in the suction head device in the present invention;
图4是本实用新型中用于体现粉尘盒和吸头间连接结构的示意图。FIG. 4 is a schematic diagram for illustrating the connection structure between the dust box and the suction head in the present invention.
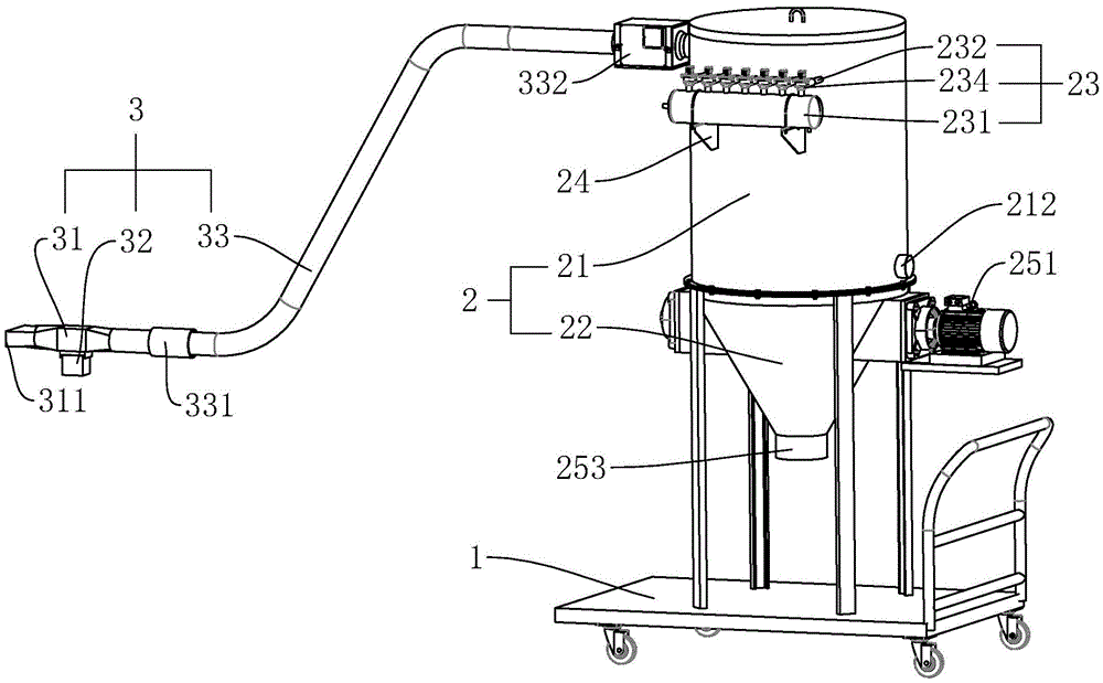
图中,1、移动小车;2、组合箱体;21、净气室;211、滤袋;212、出风管道;22、集尘仓,23、脉冲喷吹组件;231、储气包;232、喷吹管;233、喷嘴;234、脉冲电磁阀;24、安装板;25、排尘组件;251、驱动电机;252、输送绞龙;253、排尘口;3、吸头装置;31、吸头;311、吸口;312、第一挡尘板;3121、吸气孔;313、滑槽;314、卡接块;32、粉尘盒;321、第二挡尘板;322、磁铁块;323、滑块;324、卡接槽;33、气管;331、连接套;332、负压风扇;333、气管挡环;334、吸头插头。In the figure, 1. Mobile trolley; 2. Combined box body; 21. Clean air chamber; 211, Filter bag; 212, Air outlet pipe; 232, blowing pipe; 233, nozzle; 234, pulse solenoid valve; 24, mounting plate; 25, dust discharge assembly; 251, drive motor; 252, conveying auger; 253, dust discharge port; 3, suction head device; 31 , suction head; 311, suction mouth; 312, first dust baffle; 3121, suction hole; 313, chute; 314, snap block; 32, dust box; 321, second dust baffle; 322,
具体实施方式Detailed ways
以下结合附图对本实用新型作进一步详细说明。The present utility model will be described in further detail below in conjunction with the accompanying drawings.
实施例:Example:
如图1所示,为本实用新型公开的一种具有预过滤装置的移动式除尘器,包括吸头装置3、移动小车1和固定于移动小车1上的组合箱体2,组合箱体2包括净气室21和与净气室21底部连通的集尘仓22,净气室21上连通有出风管道212,净气室21靠近顶壁处与吸头装置3连通,净气室21内竖直均匀分布有若干滤袋211(如图2所示)。As shown in FIG. 1 , it is a mobile dust collector with a pre-filtering device disclosed by the utility model, which includes a
如图2所示,净气室21外设有脉冲喷吹组件23,脉冲喷吹组件23包括储气包231、若干喷吹管232和脉冲电磁阀234,喷吹管232上设有喷嘴233,组合箱体2侧壁上设有安装板24,储气包231设置于安装板24上,若干喷吹管232沿储气包231的长度方向阵列设置且一端通过脉冲电磁阀234与储气包231连接,另一端穿过净气室21并延伸至滤袋211的上侧,喷嘴233位于每个滤袋211正上方。脉冲电磁阀234能够受PLC控制而定时启闭,使得储气包231内的压缩空气能够通过喷嘴233对滤袋211进行反气流喷吹,滤袋211瞬间膨胀并剧烈抖动,从而使得附着于其表面的粉尘迅速脱离并落至集尘仓22内,进而使滤袋211保持较好的过滤效果。As shown in FIG. 2 , a
如图2所示,集尘仓22内设有排尘组件25,排尘组件25包括驱动电机251、输送绞龙252和排尘口253,输送绞龙252沿水平方向放置于集尘仓22的底部,驱动电机251安装于集尘仓22的侧壁且与输送绞龙252同轴连接,排尘口253开设于集尘仓22上远离驱动电机251的一侧。当集尘仓22内粉尘堆积较多时,打开排尘口253,驱动电机251驱使输送绞龙252转动,便能够将其内部的积尘自动从排尘口253排出而不易发生堵塞。As shown in FIG. 2 , the
如图3和图4所示,吸头装置3包括吸头31、气管33和与吸头31底壁连接的粉尘盒32,吸头31上设有供吸尘用的吸口311,吸口311形状为长方形。吸头31底壁相对设置有滑槽313,粉尘盒32上设有与滑槽313配合的滑块323,滑块323与滑槽313的配合实现粉尘盒32与吸头31的滑移连接。粉尘盒32上与滑槽313方向垂直的端面开有卡接槽324,吸头31侧壁滑移连接有与卡接槽324配合的卡接块314,卡接块314挡住粉尘盒32的滑动实现固定。As shown in FIG. 3 and FIG. 4 , the
如图3所示,吸头31靠近吸口311处朝向粉尘盒32方向延伸设置有第一挡尘板312,粉尘盒32内靠近盒口处倾斜设有与第一挡尘板312交错的第二挡尘板321,第一挡尘板312上密布有吸气孔3121,吸气孔3121可使吸力保持稳定,第二挡尘板321可阻止落入粉尘盒32的粉尘被再次吸入吸头31。粉尘盒32侧壁沿周向均匀阵列有磁铁块322,磁铁块322可吸附金属。吸头31远离吸口311的一端插接于气管33内,气管33上套设有连接套331,气管33上设有气管挡环333,连接套331与气管挡环333抵接,吸头31靠近气管33处设有吸头卡头334,用以与气管33过盈配合,连接套331与吸头31螺纹连接,保证吸头31和气管33的插接不会轻易脱开。气管33与组合箱体2间连接有负压风扇332(如图1所示),负压风扇332制造负压,使吸头装置3产生吸力,以实现吸尘的效果。As shown in FIG. 3 , the
本实施例的实施原理为:除尘器开启,负压风扇332制造负压产生吸力,含尘气体从吸口311吸入,撞击在第一挡尘板312上,依靠大颗粒粉尘的自重,使其落入粉尘盒32中,余下的含尘气体穿过吸气孔3121或第一挡尘板312与第二挡尘板321间的间隙通过气管33进入净气室21顶部,再从滤袋211口进入滤袋211进行二次过滤,最后从出风管道212排出,完成除尘。The implementation principle of this embodiment is as follows: the dust collector is turned on, the
本具体实施方式的实施例均为本实用新型的较佳实施例,并非依此限制本实用新型的保护范围,故:凡依本实用新型的结构、形状、原理所做的等效变化,均应涵盖于本实用新型的保护范围之内。The examples of this specific embodiment are all preferred embodiments of the present invention, and are not intended to limit the protection scope of the present invention. Therefore: all equivalent changes made according to the structure, shape and principle of the present invention are not It should be covered within the protection scope of the present invention.
Claims (8)
Priority Applications (1)
| Application Number | Priority Date | Filing Date | Title |
|---|---|---|---|
| CN201921565399.2U CN210845736U (en) | 2019-09-19 | 2019-09-19 | Movable dust remover with pre-filtering device |
Applications Claiming Priority (1)
| Application Number | Priority Date | Filing Date | Title |
|---|---|---|---|
| CN201921565399.2U CN210845736U (en) | 2019-09-19 | 2019-09-19 | Movable dust remover with pre-filtering device |
Publications (1)
| Publication Number | Publication Date |
|---|---|
| CN210845736U true CN210845736U (en) | 2020-06-26 |
Family
ID=71301325
Family Applications (1)
| Application Number | Title | Priority Date | Filing Date |
|---|---|---|---|
| CN201921565399.2U Expired - Fee Related CN210845736U (en) | 2019-09-19 | 2019-09-19 | Movable dust remover with pre-filtering device |
Country Status (1)
| Country | Link |
|---|---|
| CN (1) | CN210845736U (en) |
Cited By (1)
| Publication number | Priority date | Publication date | Assignee | Title |
|---|---|---|---|---|
| CN113352495A (en) * | 2021-06-11 | 2021-09-07 | 高邮市汉升高分子材料有限公司 | Plastic particle filtering device and using method |
-
2019
- 2019-09-19 CN CN201921565399.2U patent/CN210845736U/en not_active Expired - Fee Related
Cited By (1)
| Publication number | Priority date | Publication date | Assignee | Title |
|---|---|---|---|---|
| CN113352495A (en) * | 2021-06-11 | 2021-09-07 | 高邮市汉升高分子材料有限公司 | Plastic particle filtering device and using method |
Similar Documents
| Publication | Publication Date | Title |
|---|---|---|
| CN105818001A (en) | Integrated grinding and polishing dust collector | |
| CN205495170U (en) | Many air inlets industrial dust removal ware | |
| CN107553293A (en) | Polishing machine with dedusting function | |
| CN202044869U (en) | Movable welding fume purifier | |
| CN208493578U (en) | A kind of pulsed dust-extraction unit | |
| CN104400669B (en) | Dust removing device for stone shot blasting | |
| CN210845736U (en) | Movable dust remover with pre-filtering device | |
| CN207253923U (en) | A kind of high density duster for filter tube of dust | |
| CN210786723U (en) | Novel blast furnace gas cloth bag dust remover | |
| CN204912191U (en) | Ware is absorbed to tobacco material negative pressure | |
| CN205516942U (en) | Bag -type dust collector | |
| CN209348337U (en) | A kind of robot polishing deduster | |
| CN201067658Y (en) | Mobile combined filter cartridge dust remover | |
| CN207899127U (en) | A kind of sack cleaner for preventing filter bag from blocking | |
| CN206391766U (en) | Cloth bag dust catcher | |
| CN220881955U (en) | Polishing and dedusting equipment | |
| CN108568431A (en) | Efficient low-resistance electrostatic precipitation filtration system | |
| CN2596927Y (en) | Water filtering type vacuum cleaner | |
| CN207402623U (en) | Polishing machine with dedusting function | |
| CN205269261U (en) | Pulse dust removal device for burnishing and polishing | |
| CN205360757U (en) | Plasma cutting dust collector | |
| CN214186807U (en) | Sand returning device for honeycomb floor of sand blasting room | |
| CN201445888U (en) | Three-stage dust removal unit | |
| CN211462558U (en) | High-efficiency environment-friendly bag type dust collector for vertical kiln | |
| CN202246723U (en) | Dust collector for removing dust on surface of filter cartridge of air dust catcher |
Legal Events
| Date | Code | Title | Description |
|---|---|---|---|
| GR01 | Patent grant | ||
| GR01 | Patent grant | ||
| CF01 | Termination of patent right due to non-payment of annual fee | ||
| CF01 | Termination of patent right due to non-payment of annual fee |
Granted publication date: 20200626 |
