CN210832339U - Toilet uses energy-conserving new trend system - Google Patents
Toilet uses energy-conserving new trend system Download PDFInfo
- Publication number
- CN210832339U CN210832339U CN201921819449.5U CN201921819449U CN210832339U CN 210832339 U CN210832339 U CN 210832339U CN 201921819449 U CN201921819449 U CN 201921819449U CN 210832339 U CN210832339 U CN 210832339U
- Authority
- CN
- China
- Prior art keywords
- fresh air
- water tank
- filtered water
- dryer
- clean room
- Prior art date
- Legal status (The legal status is an assumption and is not a legal conclusion. Google has not performed a legal analysis and makes no representation as to the accuracy of the status listed.)
- Expired - Fee Related
Links
Images
Landscapes
- Separation Of Particles Using Liquids (AREA)
Abstract
本实用新型涉及一种洁净室用节能新风系统,包括空气净化装置和空气干燥装置,所述空气净化装置设有密封的过滤水箱,过滤水箱一内侧设有第一新风送风管,第一新风送风管一端连接有新风吸入区,第一新风送风管另一端伸入到过滤水箱的液面下,过滤水箱的顶面设有新风排出管,新风排出管一端与空气干燥装置相连。本实用新型的新风系统不用拆卸清洗即可对新风空气进行初效过滤。
The utility model relates to an energy-saving fresh air system for a clean room, comprising an air purifying device and an air drying device. The air purifying device is provided with a sealed filtering water tank, and a first fresh air supply pipe is arranged on the inner side of the filtering water tank. One end of the air supply pipe is connected with a fresh air intake area, and the other end of the first fresh air supply pipe extends under the liquid level of the filtered water tank. The fresh air system of the utility model can perform primary effect filtration on the fresh air without disassembling and cleaning.
Description
技术领域technical field
本实用新型涉及一种新风系统,尤其是涉及一种洁净室用节能新风系统。The utility model relates to a fresh air system, in particular to an energy-saving fresh air system for a clean room.
背景技术Background technique
新风系统是根据在密闭的室内一侧用专用设备向室内送新风,再从另一侧由专用设备向室外排出,在室内会形成“新风流动场”,从而满足室内新风换气的需要。洁净室是对空气洁净度、温度、湿度、压力、噪声等参数根据需要都进行控制的密闭性较好的空间。洁净环境是为生产工艺服务的,洁净室设计必须满足生产工艺的环境要求,由于精密机械工业(如陀螺仪、微型轴承等加工)、半导体工业(如大规模集成电路生产)等对环境的要求,促进了洁净室技术的发展。目前在精密机械、半导体、宇航、原子能等工业中应用洁净室已相当普遍。The fresh air system is based on the use of special equipment on one side of the closed room to send fresh air to the room, and then from the other side of the special equipment to discharge it to the outside, forming a "fresh air flow field" indoors, so as to meet the needs of indoor fresh air ventilation. A clean room is a well-tight space where parameters such as air cleanliness, temperature, humidity, pressure, and noise are controlled as needed. The clean environment is for the production process, and the clean room design must meet the environmental requirements of the production process, due to the environmental requirements of the precision machinery industry (such as gyroscope, micro-bearings, etc.), the semiconductor industry (such as large-scale integrated circuit production), etc. , to promote the development of clean room technology. At present, it is quite common to use clean rooms in industries such as precision machinery, semiconductors, aerospace, and atomic energy.
洁净室在现代生产技术中占据着举足轻重的地位,在洁净室的空气过滤和净化装置中,通常设置有初效过滤器、中效过滤器和高效过滤器,初效过滤器使针对5微米以上的固体颗粒,过滤效率一般约为20%-80%;中效过滤器针对使1微米以上的固体颗粒,过滤效率约为20%-70%;高效过滤器针对0.5微米以上的固体颗粒,过滤效率甚至能够达到99%左右。在现有的空气过滤和净化装置中,初效过滤器通常采用金属材料孔网、无防布、尼龙网等,或者采用静电除尘电机等进行过滤和去除大颗粒的固体杂质。但是在初效过滤器长时间工作后,初效过滤器的滤网上会堆积大量的灰尘,需要经常拆除清洗,非常麻烦。Clean room occupies a pivotal position in modern production technology. In the air filtration and purification device of clean room, primary filter, medium efficiency filter and high efficiency filter are usually set. For solid particles above 1 micron, the filtration efficiency is generally about 20%-80%; for solid particles above 1 micron, the filtration efficiency is about 20%-70%; for solid particles above 0.5 microns, the high-efficiency filter filters The efficiency can even reach about 99%. In the existing air filtration and purification devices, the primary filter usually adopts metal mesh, non-proof cloth, nylon mesh, etc., or uses electrostatic precipitator motor to filter and remove large particles of solid impurities. However, after the primary filter works for a long time, a large amount of dust will accumulate on the filter screen of the primary filter, which needs to be removed and cleaned frequently, which is very troublesome.
实用新型内容Utility model content
本实用新型的目的是提供一种洁净室用节能新风系统,新风系统通过空气净化装置不用拆卸清洗即可对新风空气进行初效过滤。The purpose of the utility model is to provide an energy-saving fresh air system for a clean room, and the fresh air system can filter the fresh air without disassembling and cleaning through the air purifying device.
本实用新型的上述发明目的是通过以下技术方案得以实现的:一种洁净室用节能新风系统,包括空气净化装置和空气干燥装置,所述空气净化装置设有密封的过滤水箱,过滤水箱一侧设有第一新风送风管,第一新风送风管一端连接有新风吸入区,第一新风送风管另一端伸入到过滤水箱的液面下,过滤水箱的顶面设有新风排出管,新风排出管一端与空气干燥装置相连。The above purpose of the present invention is achieved through the following technical solutions: an energy-saving fresh air system for a clean room, including an air purification device and an air drying device, the air purification device is provided with a sealed filter water tank, one side of the filter water tank is There is a first fresh air supply pipe, one end of the first fresh air supply pipe is connected with a fresh air intake area, the other end of the first fresh air supply pipe extends under the liquid level of the filter water tank, and the top surface of the filter water tank is provided with a fresh air discharge pipe , and one end of the fresh air discharge pipe is connected to the air drying device.
通过采用上述技术方案,新风吸入区的新风经过过滤水箱过滤可以除去新风的大颗粒尘埃,用以使新风达到初效过滤器过滤效果,在使用时避免多次拆除使用初效过滤器,减少尘埃在新风系统中的流动,空气干燥装置可除去净化后水中的水气,控制进入新风系统的新风湿度。By adopting the above technical solution, the fresh air in the fresh air suction area can be filtered by the filter water tank to remove the large particles of dust in the fresh air, so that the fresh air can achieve the filtration effect of the primary filter, and avoid removing the primary filter multiple times during use to reduce dust. Flowing in the fresh air system, the air drying device can remove the moisture in the purified water and control the humidity of the fresh air entering the fresh air system.
优选的,所述过滤水箱包括第一过滤水箱和第二过滤水箱,第一过滤水箱与第二过滤水箱的连接处设有隔板,隔板上端连接有第二新风送风管,第二新风送风管的另一端伸入第二过滤水箱的液面下,新风排出管连接在第二过滤水箱顶面上,第二过滤水箱的顶面设置有第二进水管,第二过滤水箱的底面设置有第二排水管;第一过滤水箱的顶面设置有第一进水管,第一过滤水箱底面设置有第一排水管, 第一进水管、第二进水管、第一排水管和第二排水管均设有控制阀。Preferably, the filtered water tank includes a first filtered water tank and a second filtered water tank, a partition is provided at the connection between the first filtered water tank and the second filtered water tank, and the upper end of the partition is connected with a second fresh air supply pipe, and the second fresh air The other end of the air supply pipe extends under the liquid level of the second filtered water tank, the fresh air discharge pipe is connected to the top surface of the second filtered water tank, the top surface of the second filtered water tank is provided with a second water inlet pipe, and the bottom surface of the second filtered water tank A second drain pipe is provided; the top surface of the first filtered water tank is provided with a first water inlet pipe, and the bottom surface of the first filtered water tank is provided with a first drain pipe, a first water inlet pipe, a second water inlet pipe, a first drain pipe and a second water inlet pipe. Drain pipes are equipped with control valves.
通过采用上述技术方案,在使用一段时间后,过滤水箱中的水较为浑浊,需要定期更换过滤水时,可以通过控制第一进水管和第一排水管实现第一过滤水箱中水的更换,同样也可更换第二过滤水箱中的水,同时,此方法还能够保证新风系统可以一直处于工作状态,不需完全关闭,也能一直保持新风系统的运转。By adopting the above technical solution, after a period of use, the water in the filtered water tank is relatively turbid, and when the filtered water needs to be replaced regularly, the water in the first filtered water tank can be replaced by controlling the first water inlet pipe and the first drain pipe. The water in the second filtered water tank can also be replaced, and at the same time, this method can also ensure that the fresh air system can always be in a working state, and the operation of the fresh air system can also be maintained all the time without being completely shut down.
优选的,所述第一新风送风管垂直伸入到第一过滤水箱的底端,第二新风送风管垂直伸入到第二过滤水箱的底端。Preferably, the first fresh air supply pipe extends vertically into the bottom end of the first filtered water tank, and the second fresh air supply pipe extends vertically into the bottom end of the second filtered water tank.
通过采用上述技术方案,保证了进入第一过滤水箱和第二过滤水箱的新风能够充分地在水中过滤,除去新风中的大颗粒固体。By adopting the above technical solution, it is ensured that the fresh air entering the first filtered water tank and the second filtered water tank can be fully filtered in the water to remove large particles of solids in the fresh air.
优选的,所述第一进水管与第一过滤水箱的连接处和第二进水管与第二过滤水箱的连接处均设有喷水头。Preferably, the connection between the first water inlet pipe and the first filtered water tank and the connection between the second water inlet pipe and the second filtered water tank are provided with water spray heads.
通过采用上述技术方案,喷水头喷出的水可对第一过滤水箱和第二过滤水箱内壁进行清洗,有效地减少第一过滤水箱和第二过滤水箱中灰尘的积存。By adopting the above technical solution, the water sprayed by the water spray head can clean the inner walls of the first filtered water tank and the second filtered water tank, effectively reducing the accumulation of dust in the first filtered water tank and the second filtered water tank.
优选的,所述第二过滤水箱的上部设有中效过滤器,中效过滤器位于第二新风送风管和喷水头之间,中效过滤器朝向第二过滤水箱的一面的大小、形状与第二过滤水箱设置中效过滤器处所在截面的大小、形状相对应。Preferably, the upper part of the second filtered water tank is provided with a medium-efficiency filter, the medium-efficiency filter is located between the second fresh air supply pipe and the water spray head, and the size of the side of the medium-efficiency filter facing the second filtered water tank, The shape corresponds to the size and shape of the section where the medium-efficiency filter is arranged in the second filtered water tank.
通过采用上述技术方案,中效过滤器可以对经过第二过滤水箱的新风再次进行过滤,减少新风中灰尘的含量,同时,喷水头对中效过滤器起到一个清洗的作用。By adopting the above technical solution, the medium-efficiency filter can filter the fresh air passing through the second filter water tank again, reducing the dust content in the fresh air, and at the same time, the water spray head plays a role in cleaning the medium-efficiency filter.
优选的,所述空气干燥装置内填充有干燥剂。Preferably, the air drying device is filled with a desiccant.
通过采用上述技术方案,干燥经由第二过滤水箱过滤的新风,减少新风中的水气,降低新风的湿度,控制进入洁净室内的新风湿度在一定的范围内。By adopting the above technical solution, the fresh air filtered by the second filter water tank is dried, the moisture in the fresh air is reduced, the humidity of the fresh air is reduced, and the humidity of the fresh air entering the clean room is controlled within a certain range.
优选的,空气干燥装置包括第一干燥器和第二干燥器,第一干燥器和第二干燥器并联连接,第一干燥器和第二干燥器两端分别连接有控制气体开关的控制阀。Preferably, the air drying device includes a first drier and a second drier, the first drier and the second drier are connected in parallel, and both ends of the first drier and the second drier are respectively connected with control valves for controlling gas switches.
通过采用上述技术方案,第一干燥器和第二干燥器可同时对新风进行干燥,同时,当第一个干燥器吸收了大量水分后,可以关闭第一个干燥器两端气体的控制阀,新风可通过第二干燥器对新风进行干燥,不影响新风系统进风效果。By adopting the above technical solution, the first dryer and the second dryer can dry the fresh air at the same time, and at the same time, when the first dryer absorbs a large amount of water, the control valve of the gas at both ends of the first dryer can be closed, The fresh air can be dried by the second dryer without affecting the air intake effect of the fresh air system.
优选的,所述干燥剂是硅胶或活性无水硫酸铜。Preferably, the desiccant is silica gel or active anhydrous copper sulfate.
通过采用上述技术方案,吸附大量水分的硅胶或活性无水硫酸铜均是经过加热烘干可以多次被利用的,以便于利用硅胶和活性无水硫酸铜的特点实现资源的重复利用。By adopting the above technical scheme, the silica gel or active anhydrous copper sulfate that adsorbs a large amount of water can be used for many times after heating and drying, so as to realize the reuse of resources by utilizing the characteristics of silica gel and active anhydrous copper sulfate.
优选的,所述第一干燥器和第二干燥器外均套设有加热器,在第一干燥器和第二干燥器上端均设有出气口。Preferably, both the first dryer and the second dryer are sheathed with heaters, and the upper ends of the first dryer and the second dryer are both provided with air outlets.
通过采用上述技术方案,在不移动第一干燥器和第二干燥器的前提下,能够实现对其中一个干燥器进行加热使干燥剂中的水分蒸发,便于干燥剂再次利用。By adopting the above technical solution, without moving the first dryer and the second dryer, one of the dryers can be heated to evaporate the water in the desiccant, which is convenient for the reuse of the desiccant.
优选的,所述第一过滤水箱和第二过滤水箱中加有絮凝剂。Preferably, a flocculant is added to the first filtered water tank and the second filtered water tank.
通过采用上述技术方案,絮凝剂能够将空气净化装置中的杂质大颗粒聚合起来,同时也可使空气净化装置中的浮渣聚合,形成团簇状物质,通过排水管排出空气净化装置外。By adopting the above technical solutions, the flocculant can aggregate the large impurities in the air purification device, and at the same time, it can also aggregate the scum in the air purification device to form clusters, which are discharged out of the air purification device through the drain pipe.
综上所述,本实用新型的有益技术效果为:To sum up, the beneficial technical effects of the present utility model are:
1.新风吸入区的新风经过第一过滤水箱和第二过滤水箱的水过滤可以除去新风的大颗粒尘埃,在使用时避免多次拆除使用初效过滤器,减少尘埃在进风系统中的流动,空气干燥装置除去净化后水中的水气。1. The fresh air in the fresh air suction area can be filtered by the first filter water tank and the second filter water tank to remove the large particles of dust in the fresh air. When using, avoid removing the primary filter multiple times to reduce the flow of dust in the air inlet system. , the air drying device removes the water vapor in the purified water.
2.在使用一段时间后,过滤水箱中的水较为浑浊,需要定期更换过滤水时,可以通过控制第一进水管和第一排水管实现第一过滤水箱中水的更换,同样也可更换第二过滤水箱中的水,同时,此方法还能够保证新风系统可以一直处于工作状态,不需完全关闭,也能一直保持新风系统的运转。2. After using for a period of time, the water in the filtered water tank is relatively turbid. When the filtered water needs to be replaced regularly, the water in the first filtered water tank can be replaced by controlling the first water inlet pipe and the first drain pipe. Second, the water in the water tank is filtered, and at the same time, this method can also ensure that the fresh air system can always be in a working state, and the operation of the fresh air system can always be maintained without being completely closed.
3.絮凝剂能够将空气净化装置中的杂质大颗粒聚合起来,同时也可使空气净化装置中的浮渣聚合,形成团簇状物质,通过排水管排出空气净化装置外。3. The flocculant can aggregate the large particles of impurities in the air purification device, and can also aggregate the scum in the air purification device to form a cluster-like substance, which is discharged out of the air purification device through the drain pipe.
附图说明Description of drawings
图1是本实用新型的结构示意图。Figure 1 is a schematic structural diagram of the present invention.
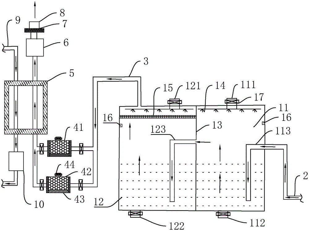
附图标记:11、第一过滤水箱;111、第一进水管;112、第一排水管;113、第一新风送风管;12、第二过滤水箱;121、第二进水管;122第二排水管;123、第二新风送风管;13、隔板;14、喷水头;15、中效过滤器;16、进料开口;17、控制阀;2、新风吸入区;3、新风排出管;41、第一干燥器;42、第二干燥器;43、加热器;44、出气口;5、换热区;6、新风风机;7、高效过滤器;8、新风排出区;9、旧风吸入区;10、排出风机。Reference numerals: 11, the first filtered water tank; 111, the first water inlet pipe; 112, the first drain pipe; 113, the first fresh air supply pipe; 12, the second filtered water tank; 121, the second water inlet pipe; Second drain pipe; 123, second fresh air supply pipe; 13, partition plate; 14, sprinkler head; 15, medium efficiency filter; 16, feed opening; 17, control valve; 2, fresh air intake area; 3, Fresh air discharge pipe; 41, first dryer; 42, second dryer; 43, heater; 44, air outlet; 5, heat exchange area; 6, fresh air fan; 7, high efficiency filter; 8, fresh air discharge area ; 9. The old air intake area; 10. The exhaust fan.
具体实施方式Detailed ways
以下结合附图对本实用新型作进一步详细说明。The present utility model will be described in further detail below in conjunction with the accompanying drawings.
参照图1,为本实用新型公开的一种洁净室用节能新风系统,包括空气净化装置和空气干燥装置,空气净化装置包括密封的过滤水箱,过滤水箱包括第一过滤水箱11和第二过滤水箱12,第一过滤水箱11与第二过滤水箱12的连接处设有隔板13,隔板13上端连接有第二新风送风管123,使第一过滤水箱11与第二过滤水箱12保持连通状态,第二新风送风管123的另一端伸入第二过滤水箱12的液面下,使新风与水可以充分地接触,过滤出新风中的大颗粒物质,减少灰尘进入新风系统。第二过滤水箱12的顶端连接有新风排出管3,新风排出管3连接有空气干燥装置,通过空气干燥装置除去新风经由空气净化装置所带有的水分,控制进入洁净室的新风湿度。1 , an energy-saving fresh air system for a clean room disclosed by the utility model includes an air purification device and an air drying device, the air purification device includes a sealed filter water tank, and the filter water tank includes a first
第一过滤水箱11远离隔板13的一侧设有第一新风送风管113,第一新风送风管113一端连有新风吸入区2,第一新风送风管113另一端伸入到第一过滤水箱11的液面下。当更换第一过滤水箱11的水时,新风可经由第二新风送风管123进入第二过滤水箱12过滤,除去新风中的大颗粒物质,同样也可在新风系统工作状态下实现第二过滤水箱12中洁净水的更换。The side of the first filtered
第一过滤水箱11顶面设有第一进水管111,第一进水管111上设有控制阀17,第一进水管111与第一过滤水箱11的连接处设有多个并排的喷水头14,喷水头14可对第一过滤水箱11的内壁进行清洗,并且对第一过滤水箱11起到更换洁净水的作用,第一过滤水箱11底面设有第一排水管112,第一排水管112上设有控制阀17,第一排水管112可以除去第一过滤水箱11内壁上的污浊。同样地在第二过滤水箱12中也设有同样作用的第二进水管121、控制阀17、喷水头14和第二排水管122。此外,在第二过滤水箱12的喷水头14和第二新风送风管123之间设有中效过滤器15,过滤1微米以上固体颗粒的中效过滤器15可将第二过滤水箱12的新风再次进行净化过滤,减少进入新风系统中的灰尘,同时第二过滤水箱12中的喷水头14可对中效过滤器15进行清洗,除去在中效过滤器15中积存的颗粒物。The top surface of the first filtered
在第一过滤水箱11远离隔板13的一侧设有进料开口16,第二过滤水箱12远离隔板13的一侧也设有进料开口16,通过进料开口16向第一过滤水箱11和第二过滤水箱12中添加聚合氯化铝絮凝剂,有助于除去空气净化装置中的浮渣,使颗粒物质聚合,进而有效地除去新风中的颗粒物。A
空气干燥装置包括第一干燥器41和第二干燥器42,第一干燥器41和第二干燥器42并联连接,第一干燥器41和第二干燥器42两端分别连接有控制气体开关的控制阀17。第一干燥器41和第二干燥器42内分别填充有可重复利用的硅胶干燥剂,第一干燥器41和第二干燥器42下端均设置有加热器43,在第一干燥器41和第二干燥器42上端均设有出气口44。当第一干燥器41中干燥剂吸收大量水分时,关闭第一干燥器41两端的控制阀17,新风通过第二干燥器42除去水分,可控制进入洁净室新风的湿度;同时,利用加热器43加热蒸发除去硅胶干燥剂中的水分,水分通过出气口44排出,使硅胶可再次重复被利用。The air drying device includes a first dryer 41 and a
参照图1,一种洁净室用节能新风系统还包括旧风吸入区9、换热区5、排出风机10、新风风机6和高效过滤器7。旧风吸入区9、排出风机10分别与换热区5连通,旧风通过旧风吸入区9进入换热区5,并通过排出风机10排向室外。新风风机6、空气干燥装置分别与换热区5相通,经由空气干燥装置干燥的新风与旧风在换热区5作用下进行热交换,从而使进入室内的新风温度保持在相对稳定的状态,提高了对热的利用,节约能源。高效过滤器7与新风风机6相通,新风在新风风机6的作用下通过高效过滤器7排到新风排出区8进入到室内,高效过滤器7进一步净化了新风,使室内充满新鲜的空气。1 , an energy-saving fresh air system for a clean room also includes an old
本实施例的实施原理为:在新风系统的使用时,新风吸入区2的新风经过第一新风送风管113进入到第一过滤水箱11中,新风在第一过滤水箱11的液面下产生一定的压强,当与周围的水压达到一定平衡时,新风排到液面外,此时,新风由第二新风送风管123进入到第二过滤水箱12,新风再次经过第二过滤水箱12的液面进行过滤,过滤后的新风经过中效过滤器15进一步净化,净化后的新风由于含有大量的水分,新风排出管3的新风再通过空气干燥装置除去新风中的水分,控制新风中水含量。干燥后的新风与旧风在换热区5进行热交换,提高了对热能的回收利用,换热区5的新风在新风风机6的作用下通过高效过滤器7排向室内。The implementation principle of this embodiment is as follows: when the fresh air system is in use, the fresh air in the fresh
第一过滤水箱11和第二过滤水箱12过滤出的大颗粒物质及液面上的浮渣在絮凝剂的作用下团聚,避免了大颗粒物质再次污染过滤水箱内壁。在空气净化装置使用一段时间后,打开第一排水管112排出污水,之后打开第一过滤水箱11中的喷水头14对第一过滤水箱11内壁进行清洗,关闭第一排水管112,使第一过滤水箱11中存入洁净的水。同样地,第二过滤水箱12也可实现对内壁的清洗和水的更换,当第一过滤水箱11和第二过滤水箱12中任一过滤水箱进行清洗时,都可以保证另一个过滤水箱的正常使用,保证新风系统的正常运转。中效过滤器15对第二过滤水箱12中的新风进一步净化,喷水头14能够对使用后的中效过滤器15进行清洗。The large particulate matter filtered by the first
第一干燥器41和第二干燥器42并联连接,当通过加热器43干燥其中一个干燥器时,新风可通过另一干燥器进行干燥,保证新风系统的正常工作,且吸附大量水分的干燥剂通过加热除去水分后可再次使用。The first dryer 41 and the
本具体实施方式的实施例均为本实用新型的较佳实施例,并非依此限制本实用新型的保护范围,故:凡依本实用新型的结构、形状、原理所做的等效变化,均应涵盖于本实用新型的保护范围之内。The examples of this specific embodiment are all preferred embodiments of the present invention, and are not intended to limit the protection scope of the present invention. Therefore: all equivalent changes made according to the structure, shape and principle of the present invention are not It should be covered within the protection scope of the present invention.
Claims (10)
Priority Applications (1)
| Application Number | Priority Date | Filing Date | Title |
|---|---|---|---|
| CN201921819449.5U CN210832339U (en) | 2019-10-25 | 2019-10-25 | Toilet uses energy-conserving new trend system |
Applications Claiming Priority (1)
| Application Number | Priority Date | Filing Date | Title |
|---|---|---|---|
| CN201921819449.5U CN210832339U (en) | 2019-10-25 | 2019-10-25 | Toilet uses energy-conserving new trend system |
Publications (1)
| Publication Number | Publication Date |
|---|---|
| CN210832339U true CN210832339U (en) | 2020-06-23 |
Family
ID=71262172
Family Applications (1)
| Application Number | Title | Priority Date | Filing Date |
|---|---|---|---|
| CN201921819449.5U Expired - Fee Related CN210832339U (en) | 2019-10-25 | 2019-10-25 | Toilet uses energy-conserving new trend system |
Country Status (1)
| Country | Link |
|---|---|
| CN (1) | CN210832339U (en) |
Cited By (3)
| Publication number | Priority date | Publication date | Assignee | Title |
|---|---|---|---|---|
| CN111714995A (en) * | 2020-06-29 | 2020-09-29 | 重庆北源玻璃有限公司 | Air purification equipment is used in production of medicinal glass guan dan na method |
| CN113375261A (en) * | 2021-06-11 | 2021-09-10 | 安徽工业大学 | Indoor air filtering system |
| CN116292341A (en) * | 2023-05-22 | 2023-06-23 | 江苏中凯暖通设备有限公司 | Centrifugal fire control smoke exhaust fan convenient to wash |
-
2019
- 2019-10-25 CN CN201921819449.5U patent/CN210832339U/en not_active Expired - Fee Related
Cited By (5)
| Publication number | Priority date | Publication date | Assignee | Title |
|---|---|---|---|---|
| CN111714995A (en) * | 2020-06-29 | 2020-09-29 | 重庆北源玻璃有限公司 | Air purification equipment is used in production of medicinal glass guan dan na method |
| CN113375261A (en) * | 2021-06-11 | 2021-09-10 | 安徽工业大学 | Indoor air filtering system |
| CN113375261B (en) * | 2021-06-11 | 2023-08-29 | 安徽工业大学 | Indoor air filtration system |
| CN116292341A (en) * | 2023-05-22 | 2023-06-23 | 江苏中凯暖通设备有限公司 | Centrifugal fire control smoke exhaust fan convenient to wash |
| CN116292341B (en) * | 2023-05-22 | 2023-08-04 | 江苏中凯暖通设备有限公司 | Centrifugal fire control smoke exhaust fan convenient to wash |
Similar Documents
| Publication | Publication Date | Title |
|---|---|---|
| CN210832339U (en) | Toilet uses energy-conserving new trend system | |
| CN110749015A (en) | A humidifier and its shutdown control method | |
| CN204678537U (en) | Except haze purification of air unit | |
| CN108513499A (en) | A kind of damp-proof electric appliances cabinet | |
| WO2016023481A1 (en) | Air conditioner having smog cleansing functions | |
| WO2016023483A1 (en) | Smog-removing air conditioner having cleaning function | |
| CN106091132B (en) | An integrated device for air dehumidification and dust removal and a dehumidification and dust removal method | |
| CN103868168B (en) | A kind of air-conditioning condenser method for washing | |
| CN109865629B (en) | A circulating air system for energy-saving and emission-reducing painting booth | |
| WO2016023482A1 (en) | Smog-removing air conditioner having cleaning function | |
| CN205878362U (en) | Integrated device for air dehumidification and dust removal | |
| CN103752112B (en) | Wet smoke processing device | |
| CN115264664A (en) | An air spray desalination-two-bed regenerative solid dehumidification combined supply system | |
| CN106091133B (en) | An air treatment device and method | |
| CN211487021U (en) | Tube bundle type demisting and dedusting device | |
| CN203848420U (en) | Multifunctional air purifying and drying equipment with aldehyde, odor and bacterium removal functions | |
| CN203678187U (en) | Wet-type smoke dust processing device | |
| CN201658917U (en) | Integrated dust removing and acid mist purifying device | |
| WO2016023480A1 (en) | Smog-removing air conditioner having cleaning function | |
| CN213314084U (en) | Exhaust treatment device for more thorough treatment | |
| CN104913390B (en) | Air purifying air supply device | |
| CN214914458U (en) | Tail gas absorption and purification device of closed calcium carbide furnace | |
| JP5518678B2 (en) | Air cleaning device and ventilation air conditioning system | |
| CN210796603U (en) | Gas cleaning device of vacuum coating machine | |
| CN221611482U (en) | Wiring circuit of fresh air conditioner all-in-one machine |
Legal Events
| Date | Code | Title | Description |
|---|---|---|---|
| GR01 | Patent grant | ||
| GR01 | Patent grant | ||
| CF01 | Termination of patent right due to non-payment of annual fee | ||
| CF01 | Termination of patent right due to non-payment of annual fee |
Granted publication date: 20200623 |
