CN210827760U - Ecological pavement with municipal administration reposition of redundant personnel water guide function - Google Patents
Ecological pavement with municipal administration reposition of redundant personnel water guide function Download PDFInfo
- Publication number
- CN210827760U CN210827760U CN201920892980.9U CN201920892980U CN210827760U CN 210827760 U CN210827760 U CN 210827760U CN 201920892980 U CN201920892980 U CN 201920892980U CN 210827760 U CN210827760 U CN 210827760U
- Authority
- CN
- China
- Prior art keywords
- diversion
- water
- storage tank
- water storage
- municipal
- Prior art date
- Legal status (The legal status is an assumption and is not a legal conclusion. Google has not performed a legal analysis and makes no representation as to the accuracy of the status listed.)
- Expired - Fee Related
Links
Images
Landscapes
- Road Paving Structures (AREA)
Abstract
本实用新型提供了一种具有市政分流导水功能的生态路面,属于海绵城市技术领域,分流导水井设置在人行道和机动车路面之间,分流导水井的上方井盖的中间设置格栅板二,格栅板二的两侧设置格栅板一,在分流导水井内的混凝土隔肋将分流导水井的内部分成两个导水腔和一个排水腔,排水腔中的过滤层设置在两个混凝土隔肋之间,导水腔中设置初期雨水自动控制漏斗,初期雨水自动控制漏斗的上端与格栅板一密封相连,初期雨水自动控制漏斗内部设置漂浮堵塞球体;有益效果是:该路面结构能够回收、净化、储存并排出多余雨水,最大限度改善水体质量,对实现水生态修复目标具有重大意义,该路面结构能自动根据雨情进行分流处理工作,能够解决城市看海现象。
The utility model provides an ecological pavement with the function of municipal diversion and water diversion, belonging to the technical field of sponge cities. A diversion and diversion well is arranged between a sidewalk and a motor vehicle road surface, and a second grid plate is arranged in the middle of the upper manhole cover of the diversion and diversion well. The grid plate 1 is set on both sides of the grid plate 2. The concrete rib in the diversion guide well divides the interior of the diversion water guide well into two water guide cavities and a drainage cavity. The filter layer in the drainage cavity is set on the two concrete Between the ribs, an initial rainwater automatic control funnel is arranged in the water guide cavity, the upper end of the initial rainwater automatic control funnel is sealed with the grid plate, and a floating blocking sphere is arranged inside the initial rainwater automatic control funnel; the beneficial effects are: the pavement structure can Recycling, purifying, storing and discharging excess rainwater to maximize water quality is of great significance to the realization of the goal of water ecological restoration. The pavement structure can automatically conduct diversion treatment according to rain conditions, and can solve the phenomenon of urban sea-viewing.
Description
技术领域technical field
本实用新型属于海绵城市技术领域,特别是涉及一种具有市政分流导水功能的生态路面。The utility model belongs to the technical field of sponge cities, in particular to an ecological pavement with the function of municipal diversion and water diversion.
背景技术Background technique
海绵城市,是新一代城市雨洪管理概念,是指城市在适应环境变化和应对雨水带来的自然灾害等方面具有良好的“弹性”,也可称之为“水弹性城市”。国际通用术语为“低影响开发雨水系统构建”。下雨时吸水、蓄水、渗水、滤水、净水,需要时将蓄存的水“释放”并加以利用,随着城市化进程的发展,不可渗透地面的面积高速增长,所以有必要研制能够弥补这些方面不足的自主供水美化绿化的系统,来收集雨水,并用雨水涵养草坪,提高水资源的利用率,来实现储水和补充续、排水以及美化绿化和灌溉功能的一体化,可大大减弱车辆产生的噪音和尾气对周围环境造成的不利影响,达到更有效率的蓄水、经济适用、节能环保、改善城市环境的效果,海绵城市主要指城市能像海绵一样具有吸附能力,在涝时吸水,旱时吐水。在应对环境变化时具有良好的“弹性”和应对自然灾害等方面具有良好的应变能力。它的核心是创新城市发展方式,让城市回归自然,建设与自然和谐的生态文明城市。所以建设海绵城市基本原则是应以保护生态优先,最大程度上提高“海绵体”的规模和质量,建设海绵城市就是要将原有的城市基础建筑设施改造成为在涝时吸水,旱时吐水的“海绵体”。目前绝大多数的城市都是为了突出城市景观,不仅将绿地都建得高出周围,而且路面、街面铺设采用的都是水泥、沥青和地面砖,透水性极差。在下雨时,往往都是往路上流,往街上流,而不是往绿地里流,使得绿地不能涵养水份和吸尘,而且得不到最好的雨水浇灌和肥料滋养。如果采用大量的透水铺装材料使其变成带有透水混凝土柱的透水路面、透水街面,城市的地下将能储存非常可观的地下水量,以供绿地灌溉。Sponge city is a new generation of urban stormwater management concept, which means that the city has good "elasticity" in adapting to environmental changes and responding to natural disasters caused by rainwater, and can also be called "water elastic city". The international term is "low-impact development stormwater system construction". When it rains, it absorbs, stores, seeps, filters, and purifies water, and when necessary, the stored water is "released" and used. With the development of urbanization, the area of impervious ground has grown rapidly, so it is necessary to develop An autonomous water supply beautification and greening system that can make up for these deficiencies, collect rainwater, and use rainwater to conserve lawns, improve the utilization rate of water resources, and realize the integration of water storage and replenishment, drainage, and beautification, greening and irrigation functions. Reduce the adverse effects of noise and exhaust generated by vehicles on the surrounding environment, achieve more efficient water storage, economical application, energy saving and environmental protection, and improve the urban environment. Absorbs water when dry, and spit when dry. It has good "resilience" in dealing with environmental changes and good resilience in dealing with natural disasters. Its core is to innovate the way of urban development, let the city return to nature, and build an ecologically civilized city in harmony with nature. Therefore, the basic principle of building a sponge city is to give priority to ecological protection, and to maximize the scale and quality of the "sponge body". The construction of a sponge city is to transform the original urban infrastructure into one that absorbs water during floods and spilt water during droughts. "Spongy Body". At present, most of the cities are to highlight the urban landscape, not only the green space is built higher than the surrounding, but also the pavement and street paving are made of cement, asphalt and floor tiles, and the water permeability is extremely poor. When it rains, it often flows to the road and the street, rather than to the green space, which makes the green space unable to retain water and vacuum dust, and cannot get the best rainwater irrigation and fertilizer nourishment. If a large amount of permeable paving materials are used to make it into permeable pavement and permeable street surface with permeable concrete columns, the underground of the city will be able to store a considerable amount of groundwater for green space irrigation.
实用新型内容Utility model content
为了解决上述存在的技术问题,本实用新型提供一种具有市政分流导水功能的生态路面,能够有效解决雨水资源浪费、城市内涝等问题,当出现小雨情况时,能发挥储水作用的同时显著减小雨季市政排水压力,当出现暴雨情况时,雨水能经过过滤层的过滤后进入市政管网排出,对实现水生态修复目标具有重大意义,该路面结构能自动根据雨情进行分流处理工作,能够解决城市看海现象。In order to solve the above existing technical problems, the utility model provides an ecological pavement with the function of municipal diversion and water diversion, which can effectively solve the problems of waste of rainwater resources and urban waterlogging. Reduce the pressure of municipal drainage in the rainy season. When there is a heavy rain, the rainwater can be filtered by the filter layer and then discharged into the municipal pipe network, which is of great significance to achieve the goal of water ecological restoration. Solve the phenomenon of city looking at the sea.
为了实现上述目的,本实用新型采用的技术方案为:In order to achieve the above purpose, the technical scheme adopted by the present utility model is:
一种具有市政分流导水功能的生态路面,包括分流导水井、井盖、格栅板一、格栅板二、混凝土隔肋、导水腔、排水腔、初期雨水自动控制漏斗、漂浮堵塞球体、过滤层、洁净水储水箱一、洁净水储水箱二、水泵、净化盒;所述分流导水井设置在人行道和机动车路面之间,分流导水井的上方设置井盖,井盖的中间设置格栅板二,格栅板二的两侧设置格栅板一,在分流导水井内部的左右两侧设置混凝土隔肋,混凝土隔肋将分流导水井的内部分成两个导水腔和一个排水腔,导水腔的上方和格栅板一联通,排水腔的上方和格栅板二联通,排水腔中的过滤层设置在两个混凝土隔肋之间,导水腔中设置初期雨水自动控制漏斗,初期雨水自动控制漏斗的上端与格栅板一密封相连,初期雨水自动控制漏斗内部设置漂浮堵塞球体;人行道的下方设置洁净水储水箱一,洁净水储水箱一和分流导水井之间设置净化盒,并通过导水管连接;机动车路面的下方设置洁净水储水箱二,洁净水储水箱二和分流导水井之间设置净化盒,并通过导水管连接;分流导水井的下方为市政管网,市政管网和分流导水井中的排水腔通过排水管一联通,市政管网分别和洁净水储水箱一、洁净水储水箱二通过排水管二联通;在分流导水井、人行道和机动车路面的下方设置砾石承重层,在人行道和机动车路面的上方分别设置水泵,人行道上方的水泵通过抽水管一和洁净水储水箱一联通,机动车路面上方的水泵 通过抽水管二和洁净水储水箱二联通。An ecological pavement with municipal diversion and water diversion function, comprising diversion diversion well, well cover,
进一步地,所述过滤层的内部从上到下依次设置水质净化层、无纺土工布层、重金属离子吸附层、除油层。Further, a water purification layer, a non-woven geotextile layer, a heavy metal ion adsorption layer, and a degreasing layer are sequentially arranged inside the filter layer from top to bottom.
进一步地,所述初期雨水自动控制漏斗为一锥形管,锥形管广口一端在上,小口一端在下。Further, the initial rainwater automatic control funnel is a conical tube with a wide end at the top and a small end at the bottom.
进一步地,所述导水腔和净化盒之间设置导水管一,净化盒和洁净水储水箱一之间设置导水管二,净化盒和洁净水储水箱二 之间设置导水管二。Further, a
进一步地,所述洁净水储水箱一和排水管二的联通位置在竖直方向上的高度低于洁净水储水箱一和导水管二的联通位置。Further, the height in the vertical direction of the communication position of the clean
进一步地,所述洁净水储水箱二和排水管二的联通位置在竖直方向上的高度低于洁净水储水箱二和导水管二的联通位置。Further, the height in the vertical direction of the communication position between the second clean water storage tank and the second drain pipe is lower than the communication position between the second clean water storage tank and the second water conduit.
进一步地,所述净化盒中为填充型过滤装置,其充填物为级配砂石和活性碳。Further, the purification box is a filling filter device, and its filling is graded sand and activated carbon.
进一步地,所述混凝土隔肋采用防水混凝土制成。Further, the concrete partition ribs are made of waterproof concrete.
本实用新型的有益效果是:能够有效解决雨水资源浪费、城市内涝等问题,当出现小雨情况时,人行道和机动车路面上的雨水大部分会进入净化盒中净化后,进入洁净水储水箱中储存,此时发挥储水作用的同时显著减小雨季市政排水压力,同时快要装满时,多余的水能自动排出,降雨过后可提取水灌溉草坪或对城市地表温度、湿度和炎热气候进行调节,当出现暴雨情况时,雨水大部分会从格栅板二进入排水腔,并经过过滤层的过滤后进入市政管网排出,此时发挥排水作用同时不污染水体,有效解决路面积水问题,维护方便的同时不需过多人工操作,该路面结构能够回收、净化、储存并排出多余雨水,最大限度改善水体质量,对实现水生态修复目标具有重大意义,该路面结构能自动根据雨情进行分流处理工作,能够解决城市看海现象。The beneficial effect of the utility model is that it can effectively solve the problems of waste of rainwater resources, urban waterlogging, etc. When light rain occurs, most of the rainwater on the sidewalk and the road of the motor vehicle will enter the purification box for purification, and then enter the clean water storage tank. Storage, at this time, it plays the role of water storage and significantly reduces the pressure of municipal drainage in the rainy season. At the same time, when it is almost full, the excess water can be automatically discharged. After the rain, the water can be extracted to irrigate the lawn or adjust the temperature, humidity and hot climate of the urban surface. When the rainstorm occurs, most of the rainwater will enter the drainage cavity from the second grid plate, and then enter the municipal pipe network after being filtered by the filter layer. It is easy to maintain and does not require too much manual operation. The pavement structure can recycle, purify, store and discharge excess rainwater to maximize the quality of water bodies, which is of great significance to the realization of the goal of water ecological restoration. The pavement structure can automatically divert water according to rain conditions. Processing work can solve the phenomenon of seeing the sea in the city.
附图说明Description of drawings
图1为本实用新型具有市政分流导水功能的生态路面示意图。FIG. 1 is a schematic diagram of the ecological pavement with the function of municipal diversion and water diversion according to the present invention.
图2为本实用新型分流导水井示意图。FIG. 2 is a schematic diagram of the diversion water-conducting well of the present invention.
图3为本实用新型过滤层示意图。Figure 3 is a schematic diagram of the filter layer of the present invention.
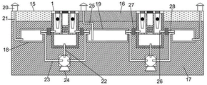
图中:1为分流导水井;2为井盖;3为格栅板一;4为格栅板二;5为混凝土隔肋;6为导水腔;7为排水腔;8为初期雨水自动控制漏斗;9为漂浮堵塞球体;10为过滤层;11为水质净化层;12为无纺土工布层;13为重金属离子吸附层;14为除油层;15为人行道;16为机动车路面;17为砾石承重层;18为洁净水储水箱一;19为洁净水储水箱二;20为水泵;21为抽水管一;22为排水管一;23为排水管二;24为市政管网;25为抽水管二;26为导水管一;27为净化盒;28为导水管二。In the figure: 1 is the diversion well; 2 is the manhole cover; 3 is the
具体实施方式Detailed ways
为了进一步说明本实用新型,下面结合附图及实施例对本实用新型进行详细地描述,但不能将它们理解为对本实用新型保护范围的限定。In order to further illustrate the present utility model, the present utility model will be described in detail below with reference to the accompanying drawings and embodiments, but they should not be construed as limiting the protection scope of the present utility model.
实施例:如图1~图3所示,一种具有市政分流导水功能的生态路面,主要包括分流导水井1、井盖2、格栅板一3、格栅板二4、混凝土隔肋5、导水腔6、排水腔7、初期雨水自动控制漏斗8、漂浮堵塞球体9、过滤层10、水质净化层11、无纺土工布层12、重金属离子吸附层13、除油层14、人行道15、机动车路面16、砾石承重层17、洁净水储水箱一18、洁净水储水箱二19、水泵20、抽水管一21、排水管一22、排水管二23、市政管网24、抽水管二25、导水管一26、净化盒27和导水管二28;Example: As shown in Figures 1 to 3, an ecological pavement with municipal diversion and water diversion function mainly includes
具有市政分流导水功能的生态路面的结构中,在机动车路面16的两侧设置人行道15,在人行道15和机动车路面16之间设置分流导水井1,在分流导水井1的上方设置井盖2,井盖2的中间设置格栅板二4,格栅板二4的两侧设置格栅板一3,在分流导水井1内部的左右两侧设置混凝土隔肋5,混凝土隔肋5将分流导水井1的内部分成两个导水腔6和一个排水腔7,排水腔7的上方和格栅板二4联通,导水腔6的上方和格栅板一3联通,在导水腔6中设置初期雨水自动控制漏斗8,初期雨水自动控制漏斗8为一锥形管,锥形管广口一端在上,小口一端在下,上端广口与格栅板一3密封相连,在初期雨水自动控制漏斗8中设置漂浮堵塞球体9,在排水腔7中设置过滤层10,过滤层10设置在两个混凝土隔肋5之间,在过滤层10的内部从上到下依次设置水质净化层11、无纺土工布层12、重金属离子吸附层13、除油层14,在机动车路面16的下方设置洁净水储水箱二19,在人行道15的下方设置洁净水储水箱一18,在分流导水井1的下方设置市政管网24,设置排水管一22对排水腔7和市政管网24进行联通,在分流导水井1和洁净水储水箱一18之间设置净化盒27,在分流导水井1和洁净水储水箱二19之间设置净化盒27,设置导水管一26对导水腔6的底部和净化盒27进行联通,设置导水管二28对净化盒27和洁净水储水箱一18、洁净水储水箱二19的上部进行联通,设置排水管二23对市政管网24和洁净水储水箱一18、洁净水储水箱二19的上部进行联通,在分流导水井1、人行道15、机动车路面16的下方设置砾石承重层17,在人行道15、机动车路面16的上方设置水泵20,设置抽水管一21,其一端和人行道15上方的水泵20联通,另一端和洁净水储水箱一18的底部联通,设置抽水管二25,其一端和机动车路面16上方设置的水泵20联通,另一端和洁净水储水箱二19的底部联通。In the structure of the ecological pavement with the function of municipal water diversion and water diversion,
导水管二28和洁净水储水箱一18的联通位置在竖直方向上的高度高于排水管二23和洁净水储水箱一18的联通位置。导水管二28和洁净水储水箱二19的联通位置在竖直方向上的高度高于排水管二23和洁净水储水箱二19的联通位置。The height in the vertical direction of the communication position of the
混凝土隔肋5采用防水混凝土制成。净化盒27中为填充型过滤装置,其充填物为不良级配砂石和活性碳。The
该路面结构工作流程为:当出现小雨情况时,人行道15和机动车路面16上的雨水大部分会从格栅板一3进入初期雨水自动控制漏斗8中,而且能慢慢渗下进入导水腔6中,再通过导水管一26进入净化盒27中净化后,再通过导水管二28进入洁净水储水箱一18、洁净水储水箱二19中储存,此时发挥储水作用的同时减小市政的排水压力,当洁净水储水箱一18、洁净水储水箱二19中的水快要装满时,多余的水能从排水管二23进入市政管网24排出,降雨过后可启动水泵20对洁净水储水箱一18、洁净水储水箱二19中的水进行提取,可用于灌溉草坪或对城市地表温度、湿度和炎热气候进行调节,当出现暴雨情况时,雨水只能有一小部分通过初期雨水自动控制漏斗8流下,同时初期雨水自动控制漏斗8中的液面不断升高直至漂浮堵塞球体9上浮和格栅板一3接触对其起到一定堵塞作用,此时人行道15和机动车路面16上的雨水大部分会从格栅板二4进入排水腔7,并经过过滤层10的过滤后通过排水管一22进入市政管网24排出,此时发挥排水作用,有效解决路面积水问题,维护方便的同时不需过多人工操作,该路面结构能自动根据雨情进行分流处理工作,能够解决城市看海现象。The working process of the pavement structure is as follows: when there is light rain, most of the rainwater on the
以上所述仅是本实用新型的优选实施方式,应当指出,对于本技术领域的普通技术人员来说,在不脱离本实用新型原理的前提下,还可以做出若干改进和润饰,这些改进和润饰也应视为本实用新型的保护范围。The above are only the preferred embodiments of the present invention. It should be pointed out that for those skilled in the art, without departing from the principles of the present invention, several improvements and modifications can be made. These improvements and Retouching should also be regarded as the protection scope of the present invention.
Claims (8)
Priority Applications (1)
| Application Number | Priority Date | Filing Date | Title |
|---|---|---|---|
| CN201920892980.9U CN210827760U (en) | 2019-06-14 | 2019-06-14 | Ecological pavement with municipal administration reposition of redundant personnel water guide function |
Applications Claiming Priority (1)
| Application Number | Priority Date | Filing Date | Title |
|---|---|---|---|
| CN201920892980.9U CN210827760U (en) | 2019-06-14 | 2019-06-14 | Ecological pavement with municipal administration reposition of redundant personnel water guide function |
Publications (1)
| Publication Number | Publication Date |
|---|---|
| CN210827760U true CN210827760U (en) | 2020-06-23 |
Family
ID=71265062
Family Applications (1)
| Application Number | Title | Priority Date | Filing Date |
|---|---|---|---|
| CN201920892980.9U Expired - Fee Related CN210827760U (en) | 2019-06-14 | 2019-06-14 | Ecological pavement with municipal administration reposition of redundant personnel water guide function |
Country Status (1)
| Country | Link |
|---|---|
| CN (1) | CN210827760U (en) |
Cited By (1)
| Publication number | Priority date | Publication date | Assignee | Title |
|---|---|---|---|---|
| CN112012074A (en) * | 2020-10-27 | 2020-12-01 | 江阴市晨辉市政建设工程有限责任公司 | Sponge urban road rainwater collecting system |
-
2019
- 2019-06-14 CN CN201920892980.9U patent/CN210827760U/en not_active Expired - Fee Related
Cited By (1)
| Publication number | Priority date | Publication date | Assignee | Title |
|---|---|---|---|---|
| CN112012074A (en) * | 2020-10-27 | 2020-12-01 | 江阴市晨辉市政建设工程有限责任公司 | Sponge urban road rainwater collecting system |
Similar Documents
| Publication | Publication Date | Title |
|---|---|---|
| CN106284588B (en) | A kind of rainwater treatment and stocking system available for sponge city | |
| CN106978839A (en) | A kind of sponge urban rainwater collection purification utilization integrated system | |
| CN106245734A (en) | The urban road rainwater-collecting improved, the system of regulating and storing conserving greenery patches | |
| CN110130466A (en) | Sponge urban ecology town road | |
| CN107326774A (en) | Multi-functional ink storage draining and the urban ecology road surface for conserving lawn | |
| CN211112989U (en) | Intelligent water collecting and draining system applied to sponge city | |
| CN209907525U (en) | An urban road rainwater collection, purification and utilization system | |
| CN111058343A (en) | Sponge city ecological pavement system permeates water | |
| CN106337484A (en) | Water seepage and flood drainage system based on sponge city | |
| CN209509056U (en) | A kind of water storage reclamation set of rain water on roof disconnecting | |
| CN107905331A (en) | Stagnant system is oozed in a kind of self-cleaning of sponge city | |
| CN110145014A (en) | An ecological pavement with the function of municipal diversion and water diversion | |
| CN206971036U (en) | Lawn watering system for sponge city | |
| CN207597185U (en) | Urban ecological pavement with multi-functional water storage and drainage and lawn conservation | |
| CN203741704U (en) | Rainwater collecting and recycling system for overpass | |
| CN217537159U (en) | Rainwater grading storage and utilization system | |
| CN211897679U (en) | Novel sponge urban road system | |
| CN210827760U (en) | Ecological pavement with municipal administration reposition of redundant personnel water guide function | |
| CN111733658A (en) | Connected high-efficiency drainage tree pond structure | |
| CN210975417U (en) | A Sponge City Pavement Permeable Structure | |
| CN107354842A (en) | A kind of park ecological permeable and the road for conserving vegetation | |
| CN207794243U (en) | Sunk type greenery patches reverse osmosis layer automatic flushing device in a kind of sponge city | |
| CN216195095U (en) | Sponge city rainwater recycling device | |
| CN217651934U (en) | A Sponge City Water Harvesting Device Based on Capillary Barrier Mechanism | |
| CN207469030U (en) | A kind of urban road filtration, purification and collection drainage systems |
Legal Events
| Date | Code | Title | Description |
|---|---|---|---|
| GR01 | Patent grant | ||
| GR01 | Patent grant | ||
| CF01 | Termination of patent right due to non-payment of annual fee |
Granted publication date: 20200623 |
|
| CF01 | Termination of patent right due to non-payment of annual fee |
