CN210815443U - A raw material grinding device for cement processing and production that is convenient for batching - Google Patents
A raw material grinding device for cement processing and production that is convenient for batching Download PDFInfo
- Publication number
- CN210815443U CN210815443U CN201921447500.4U CN201921447500U CN210815443U CN 210815443 U CN210815443 U CN 210815443U CN 201921447500 U CN201921447500 U CN 201921447500U CN 210815443 U CN210815443 U CN 210815443U
- Authority
- CN
- China
- Prior art keywords
- grinding
- motor
- gear
- welded
- batching
- Prior art date
- Legal status (The legal status is an assumption and is not a legal conclusion. Google has not performed a legal analysis and makes no representation as to the accuracy of the status listed.)
- Expired - Fee Related
Links
Images
Landscapes
- Crushing And Grinding (AREA)
Abstract
本实用新型公开了一种便于配料的水泥加工生产用原料研磨装置,包括破碎料斗、第一电机、第二电机、鼓风机和开关按钮,所述破碎料斗的外侧正面固定有第一电机,且第一电机的转动输出轴上焊接有第一转轴,所述第一转轴的外侧套设有破碎轮,所述第一转轴的另一端固定安装有第一齿轮,且第一齿轮的右侧啮合有第二齿轮,所述第二齿轮的正面焊接有第二转轴,所述破碎料斗的下方焊接有研磨仓。本实用新型通过在破碎料斗的内部设置有相向转动的两组破碎轮,破碎轮转动对较大的石灰石原料进行破碎,有利于石灰石原料变小,便于研磨,同时,配合研磨仓和研磨轮上啮合的研磨齿牙,有效地将石灰石原料研磨细致。
The utility model discloses a raw material grinding device for cement processing and production, which is convenient for batching, comprising a crushing hopper, a first motor, a second motor, a blower and a switch button. A first rotating shaft is welded on the rotating output shaft of a motor, the outer side of the first rotating shaft is sleeved with a crushing wheel, the other end of the first rotating shaft is fixedly installed with a first gear, and the right side of the first gear is meshed with a The second gear, the front surface of the second gear is welded with a second rotating shaft, and the grinding bin is welded under the crushing hopper. In the utility model, two sets of crushing wheels that rotate oppositely are arranged inside the crushing hopper, and the crushing wheels rotate to crush the larger limestone raw materials, which is beneficial to the reduction of the limestone raw materials and facilitates grinding. The meshing grinding teeth effectively grind the limestone raw material finely.
Description
技术领域technical field
本实用新型涉及水泥生产设备技术领域,具体为一种便于配料的水泥加工生产用原料研磨装置。The utility model relates to the technical field of cement production equipment, in particular to a raw material grinding device for cement processing and production which is convenient for batching.
背景技术Background technique
水泥是一种粉状水硬性无机胶凝材料,当向水泥中加水搅拌后成为浆体,能在空气中硬化,把砂、石等材料牢固地胶结在一起,水泥作为建筑材料被广泛的应用于各种建筑行业中,目前的水泥多是通过将石灰石通过与其他配料混合的方式进行生产,在对石灰石进行研磨时,由于石灰石块体积较大,使得研磨不方便,且目前的研磨装置对配料和石灰石混合时多采用单纯的搅拌,使得细致的石灰石与配料混合不均匀,影响成品水泥的质量,因此,为解决以上问题,提出一种便于配料的水泥加工生产用原料研磨装置。Cement is a powdery hydraulic inorganic cementitious material. When water is added to the cement and stirred, it becomes a slurry, which can be hardened in the air to firmly bond materials such as sand and stone together. Cement is widely used as a building material. In various construction industries, most of the current cement is produced by mixing limestone with other ingredients. When grinding limestone, due to the large volume of limestone blocks, grinding is inconvenient, and the current grinding device is not suitable for grinding. Simple stirring is often used when mixing ingredients and limestone, which makes the fine limestone and ingredients mixed unevenly and affects the quality of finished cement. Therefore, in order to solve the above problems, a raw material grinding device for cement processing and production that is convenient for ingredients is proposed.
实用新型内容Utility model content
本实用新型的目的在于提供一种便于配料的水泥加工生产用原料研磨装置,以解决上述背景技术提出的目前的水泥生产用研磨装置对较大的石灰石原料研磨不细致,以及在进行配料混合时混合不充分的问题。The purpose of the utility model is to provide a raw material grinding device for cement processing and production that is convenient for batching, so as to solve the problem that the current grinding device for cement production proposed by the above-mentioned background technology does not grind the larger limestone raw materials carefully, and when the batching is mixed. Insufficient mixing problem.
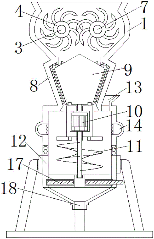
为实现上述目的,本实用新型提供如下技术方案:一种便于配料的水泥加工生产用原料研磨装置,包括破碎料斗、第一电机、第二电机、鼓风机和开关按钮,所述破碎料斗的外侧正面固定有第一电机,且第一电机的转动输出轴上焊接有第一转轴,所述第一转轴的外侧套设有破碎轮,所述第一转轴的另一端固定安装有第一齿轮,且第一齿轮的右侧啮合有第二齿轮,所述第二齿轮的正面焊接有第二转轴,所述破碎料斗的下方焊接有研磨仓,且研磨仓的内部插设有研磨轮,所述研磨轮的底部焊接有第二电机,且第二电机下端的转动输出轴上焊接有搅拌叶,所述研磨仓的下方固定安装有混合仓,且混合仓的右侧上方开设有配料进料口,所述混合仓的中间位置焊接有鼓风管道,且鼓风管道的外侧固定安装有鼓风机,所述混合仓的正面右下角装设有开关按钮,所述混合仓的底部镶嵌有转动盘,所述混合仓的下方焊接有出料口。In order to achieve the above purpose, the utility model provides the following technical solutions: a raw material grinding device for cement processing and production that is convenient for batching, comprising a crushing hopper, a first motor, a second motor, a blower and a switch button. A first motor is fixed, and a first rotating shaft is welded on the rotation output shaft of the first motor, a crushing wheel is sleeved on the outer side of the first rotating shaft, and a first gear is fixedly installed on the other end of the first rotating shaft, and The right side of the first gear is meshed with a second gear, the front side of the second gear is welded with a second rotating shaft, a grinding bin is welded below the crushing hopper, and a grinding wheel is inserted inside the grinding bin, and the grinding The bottom of the wheel is welded with a second motor, and the rotating output shaft at the lower end of the second motor is welded with a stirring blade, a mixing chamber is fixedly installed below the grinding chamber, and an ingredient feeding port is opened on the upper right side of the mixing chamber, The middle position of the mixing chamber is welded with a blowing duct, and the outside of the blowing duct is fixedly installed with a blower, a switch button is installed on the lower right corner of the front of the mixing chamber, and a rotating disc is embedded in the bottom of the mixing chamber, so A discharge port is welded below the mixing bin.
优选的,所述破碎轮共设置有两组,且两组所述破碎轮分别安装在第一转轴和第二转轴的外侧,所述第一转轴和第二转轴在第一齿轮和第二齿轮的啮合下设计为相向转动。Preferably, there are two sets of crushing wheels, and the two sets of crushing wheels are respectively installed on the outside of the first rotating shaft and the second rotating shaft, and the first rotating shaft and the second rotating shaft are in the first gear and the second gear. The meshing is designed to rotate in opposite directions.
优选的,所述研磨仓的内壁上焊接有研磨齿牙,所述研磨轮的外壁上焊接有研磨齿牙,所述研磨轮通过研磨齿牙的啮合与研磨仓设计为转动结构。Preferably, grinding teeth are welded on the inner wall of the grinding chamber, grinding teeth are welded on the outer wall of the grinding wheel, and the grinding wheel is designed to rotate with the grinding chamber through the meshing of the grinding teeth.
优选的,所述鼓风管道环绕在混合仓的外壁上,且鼓风管道的内部开设有防尘通风网,所述鼓风管道的进风口与鼓风机的出风口连通。Preferably, the blowing duct surrounds the outer wall of the mixing bin, and a dust-proof ventilation net is opened inside the blowing duct, and the air inlet of the blowing duct communicates with the air outlet of the blower.
优选的,所述转动盘与混合仓设计为转动结构,所述转动盘上均匀开设有三组通孔,所述混合仓的底部均匀开设有三组通孔,所述出料口的上端为倾斜状设计。Preferably, the rotating disc and the mixing bin are designed as rotating structures, the rotating disc is evenly provided with three groups of through holes, the bottom of the mixing bin is evenly provided with three sets of through holes, and the upper end of the discharge port is inclined design.
与现有技术相比,本实用新型的有益效果是:该便于配料的水泥加工生产用原料研磨装置,通过在破碎料斗的内部设置有相向转动的两组破碎轮,破碎轮转动对较大的石灰石原料进行破碎,有利于石灰石原料变小,便于研磨,同时,配合研磨仓和研磨轮上啮合的研磨齿牙,有效地将石灰石原料研磨细致;Compared with the prior art, the beneficial effect of the present utility model is that the raw material grinding device for cement processing and production, which is convenient for batching, is provided with two sets of crushing wheels that rotate in opposite directions inside the crushing hopper. Crushing the limestone raw material is conducive to the reduction of the limestone raw material, which is convenient for grinding. At the same time, with the grinding teeth meshing on the grinding bin and the grinding wheel, the limestone raw material is effectively ground finely;
通过设置有鼓风管道缠绕在混合仓的外侧,鼓风机向鼓风管道内部通风,风力通过鼓风管道内部的防尘通风网进入混合仓内部,吹动混合仓内部的石灰石粉末以及其他配料,使得石灰石粉末和配料填充整个混合仓内部,配合搅拌叶转动搅拌,对石灰石原料粉末和配料粉末进行充分混合,大大提高了混合效果,提高成品水泥的质量。By setting a blowing duct wrapped around the outside of the mixing chamber, the blower ventilates the inside of the blowing duct, and the wind enters the mixing chamber through the dust-proof ventilation net inside the blowing duct, blowing the limestone powder and other ingredients inside the mixing chamber, making The limestone powder and ingredients are filled in the whole mixing bin, and the mixing blade is rotated and stirred to fully mix the limestone raw material powder and the ingredient powder, which greatly improves the mixing effect and improves the quality of the finished cement.
附图说明Description of drawings
图1为本实用新型的结构正视剖面示意图;Fig. 1 is the structural front sectional schematic diagram of the present utility model;
图2为本实用新型的结构正视示意图;Fig. 2 is the structural front view schematic diagram of the utility model;
图3为本实用新型破碎轮、第一齿轮、第二齿轮和第二转轴的结构连接示意图;3 is a schematic diagram of the structural connection of the crushing wheel, the first gear, the second gear and the second rotating shaft of the present invention;
图4为本实用新型混合仓和转动盘的结构俯视示意图。FIG. 4 is a schematic top view of the structure of the mixing bin and the rotating disk of the present invention.
图中:1、破碎料斗;2、第一电机;3、第一转轴;4、破碎轮;5、第一齿轮;6、第二齿轮;7、第二转轴;8、研磨仓;9、研磨轮;10、第二电机;11、搅拌叶;12、混合仓;13、配料进料口;14、鼓风管道;15、鼓风机;16、开关按钮;17、转动盘;18、出料口。In the figure: 1, crushing hopper; 2, first motor; 3, first shaft; 4, crushing wheel; 5, first gear; 6, second gear; 7, second shaft; 8, grinding bin; 9, Grinding wheel; 10. Second motor; 11. Stirring blade; 12. Mixing bin; 13. Ingredients feeding port; 14. Blowing duct; 15. Blower; 16. Switch button; mouth.
具体实施方式Detailed ways
下面将结合本实用新型实施例中的附图,对本实用新型实施例中的技术方案进行清楚、完整地描述,显然,所描述的实施例仅仅是本实用新型一部分实施例,而不是全部的实施例。基于本实用新型中的实施例,本领域普通技术人员在没有做出创造性劳动前提下所获得的所有其他实施例,都属于本实用新型保护的范围。The technical solutions in the embodiments of the present utility model will be clearly and completely described below with reference to the accompanying drawings in the embodiments of the present utility model. Obviously, the described embodiments are only a part of the embodiments of the present utility model, rather than all the implementations. example. Based on the embodiments of the present invention, all other embodiments obtained by those of ordinary skill in the art without creative work fall within the protection scope of the present invention.
请参阅图1-4,本实用新型提供的一种实施例:一种便于配料的水泥加工生产用原料研磨装置,包括破碎料斗1、第一电机2、第二电机10、鼓风机15和开关按钮16,破碎料斗1的外侧正面固定有第一电机2,第一电机2的型号为STP-59D5005-01,且第一电机2的转动输出轴上焊接有第一转轴3,第一转轴3的外侧套设有破碎轮4,第一转轴3的另一端固定安装有第一齿轮5,且第一齿轮5的右侧啮合有第二齿轮6,第二齿轮6的正面焊接有第二转轴7,破碎轮4共设置有两组,且两组破碎轮4分别安装在第一转轴3和第二转轴7的外侧,第一转轴3和第二转轴7在第一齿轮5和第二齿轮6的啮合下设计为相向转动,当第一电机2通电后顺时针转动,顺时针转动的第一电机2带动焊接在其转动输出轴上的第一转轴3顺时针转动,由于破碎轮4套设在第一转轴3外侧,破碎轮4顺时针转动,第一转轴3转动带动焊接在其尾端的第一齿轮5顺时针转动,由于第一齿轮5和第二齿轮6啮合转动,第二齿轮6在第一齿轮5的带动下逆时针转动,使得第二转轴7逆时针转动,套设在第二转轴7外侧的另一组破碎轮4逆时针转动,使得两组破碎轮4相向转动,通过挤压破碎的方式,将大块的石灰石原料打碎,以便于研磨时可以更轻松,研磨更加细腻。Please refer to Figures 1-4, an embodiment provided by the present invention: a raw material grinding device for cement processing and production that is convenient for batching, comprising a crushing hopper 1, a
破碎料斗1的下方焊接有研磨仓8,且研磨仓8的内部插设有研磨轮9,研磨仓8的内壁上焊接有研磨齿牙,研磨轮9的外壁上焊接有研磨齿牙,研磨轮9通过研磨齿牙的啮合与研磨仓8设计为转动结构,研磨轮9转动时,研磨轮9外侧的研磨齿牙和研磨仓8内壁上的研磨齿牙相互挤压研磨进入研磨仓8内部的石灰石原料,相较于滚柱样式的研磨装置,通过研磨齿牙进行研磨操作,大大增加了齿牙与石灰石原料之间的接触面积,使得研磨效果更加细腻。A
研磨轮9的底部焊接有第二电机10,且第二电机10下端的转动输出轴上焊接有搅拌叶11,研磨仓8的下方固定安装有混合仓12,且混合仓12的右侧上方开设有配料进料口13,混合仓12的中间位置焊接有鼓风管道14,且鼓风管道14的外侧固定安装有鼓风机15,鼓风管道14环绕在混合仓12的外壁上,且鼓风管道14的内部开设有防尘通风网,鼓风管道14的进风口与鼓风机15的出风口连通,第二电机10的型号为FGS-40,第二电机10通电转动,可以带动研磨轮9和搅拌叶11转动,工作人员通过配料进料口13向该研磨装置中加入其它配料粉末,鼓风机15的型号为CRT-CFJ01-1,鼓风机15通电后进行吹风操作,通过鼓风管道14向混合仓12内部持续鼓风,风力吹动下,混合仓12内部的石灰石粉末和其它配料粉末分散漂浮在混合仓12内部,第二电机10通电带动搅拌叶11转动,转动的搅拌叶11对漂浮着的石灰石和配料粉末进行搅拌混合,使得石灰石和配料粉末更容易且更充分的混合,提高了混合后形成的成品水泥的质量,鼓风管道14内部装设的防尘通风网,可以防止粉末通过鼓风管道14进入鼓风机15内部,导致鼓风机15损坏,混合仓12的侧壁上开设有防尘通风网,便于空气流通。A
混合仓12的正面右下角装设有开关按钮16,通过开关按钮16可以控制第一电机2、第二电机10和鼓风机15的开启和关闭,混合仓12的底部镶嵌有转动盘17,混合仓12的下方焊接有出料口18,转动盘17与混合仓12设计为转动结构,转动盘17上均匀开设有三组通孔,混合仓12的底部均匀开设有三组通孔,出料口18的上端为倾斜状设计,当成品水泥混合完成后,转动转动盘17,使得转动盘17上的通孔与混合仓12底部的通孔对其,成品水泥顺着斜面从出料口18内排出,被工作人员收集存放起来。The front lower right corner of the mixing
工作原理:工作时,将本装置连接外接电源,为该装置提供电力支持,随后,工作人员通过开关按钮16启动该装置;Working principle: When working, connect the device to an external power supply to provide power support for the device, and then the staff starts the device through the
工作时,工作人员通过外界传送带将石灰石原料运送到破碎料斗1内,按动开关按钮16控制外接电源给第一电机2供电,第一电机2通电启动后转动,带动焊接在第一电机2转动输出轴上的第一转轴3转动,在第一齿轮5和第二齿轮6的啮合传动下,套设在第一转轴3外侧的破碎轮4和套设在第二齿轮6外侧的另一组破碎轮4相向转动,对石灰石原料进行破碎,使得过大的石灰石原料被碎成小块;When working, the staff transports the limestone raw materials into the crushing hopper 1 through the external conveyor belt, and presses the
破碎后的石灰石原料下落进入研磨仓8内部,工作人员通过按动开关按钮16控制第二电机10通电启动,第二电机10通电启动带动焊接在第二电机10上方转动输出轴上的研磨轮9转动,研磨轮9上的研磨齿牙和研磨仓8内壁上的研磨齿牙相对转动,对进入研磨仓8内部的石灰石原料进行研磨,使得石灰石原料研磨成细致的石灰石粉,工作人员通过配料进料口13向混合仓12内部加入水泥生产需要的其他配料粉末,研磨好的石灰石粉末下落入混合仓12内部,工作人员通过开关按钮16控制鼓风机15开启工作,鼓风机15启动吹风,通过鼓风管道14向混合仓12内部鼓风,在风力吹动下,混合仓12内部的石灰石粉末和配料粉末分散漂浮在混合仓12内部,第二电机10启动带动下端的搅拌叶11转动,搅拌叶11转动对混合仓12内部漂浮的石灰石粉末和配料粉末进行搅拌,使得石灰石和配料粉末充分混合;The crushed limestone raw material falls into the grinding
当生产结束后,通过开关按钮16控制第一电机2、第二电机10和鼓风机15断电关闭,此时,工作人员转动转动盘17,使得转动盘17上开设的通孔和混合仓12底部开设的通孔对齐,混合好后的水泥粉末,通过通孔进入出料口18后排出,被收集存储起来。When the production is over, the
对于本领域技术人员而言,显然本实用新型不限于上述示范性实施例的细节,而且在不背离本实用新型的精神或基本特征的情况下,能够以其他的具体形式实现本实用新型。因此,无论从哪一点来看,均应将实施例看作是示范性的,而且是非限制性的,本实用新型的范围由所附权利要求而不是上述说明限定,因此旨在将落在权利要求的等同要件的含义和范围内的所有变化囊括在本实用新型内。不应将权利要求中的任何附图标记视为限制所涉及的权利要求。It will be apparent to those skilled in the art that the present invention is not limited to the details of the above-described exemplary embodiments, and that the present invention may be implemented in other specific forms without departing from the spirit or essential characteristics of the present invention. Therefore, the embodiments are to be considered in all respects as exemplary and not restrictive, and the scope of the present invention is defined by the appended claims rather than the foregoing description, and it is therefore intended that the All changes within the meaning and range of the required equivalents are embraced within the present invention. Any reference signs in the claims shall not be construed as limiting the involved claim.
Claims (5)
Priority Applications (1)
| Application Number | Priority Date | Filing Date | Title |
|---|---|---|---|
| CN201921447500.4U CN210815443U (en) | 2019-09-03 | 2019-09-03 | A raw material grinding device for cement processing and production that is convenient for batching |
Applications Claiming Priority (1)
| Application Number | Priority Date | Filing Date | Title |
|---|---|---|---|
| CN201921447500.4U CN210815443U (en) | 2019-09-03 | 2019-09-03 | A raw material grinding device for cement processing and production that is convenient for batching |
Publications (1)
| Publication Number | Publication Date |
|---|---|
| CN210815443U true CN210815443U (en) | 2020-06-23 |
Family
ID=71272585
Family Applications (1)
| Application Number | Title | Priority Date | Filing Date |
|---|---|---|---|
| CN201921447500.4U Expired - Fee Related CN210815443U (en) | 2019-09-03 | 2019-09-03 | A raw material grinding device for cement processing and production that is convenient for batching |
Country Status (1)
| Country | Link |
|---|---|
| CN (1) | CN210815443U (en) |
Cited By (5)
| Publication number | Priority date | Publication date | Assignee | Title |
|---|---|---|---|---|
| CN111905861A (en) * | 2020-06-30 | 2020-11-10 | 孙钟 | Green type building rubbish integrated processing device |
| CN113145255A (en) * | 2021-03-31 | 2021-07-23 | 江苏绿叶机械有限公司 | Raw material crushing equipment for cement processing |
| CN113649160A (en) * | 2021-07-26 | 2021-11-16 | 宜兴市宜刚环保工程材料有限公司 | Raw material grinding device for preparing desulfurization and denitrification catalyst and use method |
| CN114471808A (en) * | 2022-01-07 | 2022-05-13 | 安徽金日晟矿业有限责任公司 | A high-efficiency fine-processing grinder |
| CN118492349A (en) * | 2024-07-18 | 2024-08-16 | 浙江金汇华特种耐火材料有限公司 | Raw material premixing device, raw material mixing method and steel ladle air brick |
-
2019
- 2019-09-03 CN CN201921447500.4U patent/CN210815443U/en not_active Expired - Fee Related
Cited By (7)
| Publication number | Priority date | Publication date | Assignee | Title |
|---|---|---|---|---|
| CN111905861A (en) * | 2020-06-30 | 2020-11-10 | 孙钟 | Green type building rubbish integrated processing device |
| CN111905861B (en) * | 2020-06-30 | 2021-12-10 | 上海博士高工贸有限公司 | Green type building rubbish integrated processing device |
| CN113145255A (en) * | 2021-03-31 | 2021-07-23 | 江苏绿叶机械有限公司 | Raw material crushing equipment for cement processing |
| CN113649160A (en) * | 2021-07-26 | 2021-11-16 | 宜兴市宜刚环保工程材料有限公司 | Raw material grinding device for preparing desulfurization and denitrification catalyst and use method |
| CN114471808A (en) * | 2022-01-07 | 2022-05-13 | 安徽金日晟矿业有限责任公司 | A high-efficiency fine-processing grinder |
| CN114471808B (en) * | 2022-01-07 | 2023-11-10 | 安徽金日晟矿业有限责任公司 | A high-efficiency grinding machine for fine processing |
| CN118492349A (en) * | 2024-07-18 | 2024-08-16 | 浙江金汇华特种耐火材料有限公司 | Raw material premixing device, raw material mixing method and steel ladle air brick |
Similar Documents
| Publication | Publication Date | Title |
|---|---|---|
| CN210815443U (en) | A raw material grinding device for cement processing and production that is convenient for batching | |
| CN107457040A (en) | A kind of architectural pottery dry method multistage prilling granulator | |
| CN102441953A (en) | Volute double-rotation combined feeding method and device | |
| CN204522810U (en) | A kind of horizontal pair of helical ribbon agitator of high degree of mixing | |
| CN211682842U (en) | Civil engineering construction material crushing and mixing integrated device | |
| CN222969973U (en) | Limestone crushing apparatus is used in building cement production | |
| CN221514307U (en) | Stone powder unloading agitating unit | |
| CN207342772U (en) | A kind of architectural pottery dry method multistage prilling granulator | |
| CN212558065U (en) | Rotatory feeder of continuous even feed of low-speed | |
| CN207430382U (en) | A kind of industrial abrasive material mechanical device | |
| CN216322231U (en) | Multiple breaker of effect by force | |
| CN201380112Y (en) | An automatic feeding pulverizer | |
| CN213493976U (en) | Environment-friendly limestone powder fine crushing device | |
| CN211865354U (en) | A crushing device for quartz sand production and processing | |
| CN212383848U (en) | Breaker for cement processing | |
| CN220215138U (en) | Concrete processing pulverizer | |
| CN208695095U (en) | Environmentally friendly premixing mortar production device | |
| CN220111157U (en) | A calcium carbonate grinding device | |
| CN215655544U (en) | Earth breaker is used in aerated brick production | |
| CN213791975U (en) | Dustproof ball mill for ceramics | |
| CN221674515U (en) | Environment-friendly and energy-saving crushing device for cement production raw material slag | |
| CN219943144U (en) | A micronization equipment with controllable particle shape | |
| CN211586390U (en) | Cement manufacture material crushing, batching and mixing device | |
| CN220940944U (en) | A solid waste-based cementitious material grinding device | |
| CN218107354U (en) | A high-efficiency powder premixing device |
Legal Events
| Date | Code | Title | Description |
|---|---|---|---|
| GR01 | Patent grant | ||
| GR01 | Patent grant | ||
| CF01 | Termination of patent right due to non-payment of annual fee |
Granted publication date: 20200623 |
