CN210779051U - Ground terminal and grounding device having the same - Google Patents
Ground terminal and grounding device having the same Download PDFInfo
- Publication number
- CN210779051U CN210779051U CN201921703152.2U CN201921703152U CN210779051U CN 210779051 U CN210779051 U CN 210779051U CN 201921703152 U CN201921703152 U CN 201921703152U CN 210779051 U CN210779051 U CN 210779051U
- Authority
- CN
- China
- Prior art keywords
- connection
- hook
- terminal
- connecting section
- grounding
- Prior art date
- Legal status (The legal status is an assumption and is not a legal conclusion. Google has not performed a legal analysis and makes no representation as to the accuracy of the status listed.)
- Active
Links
Images
Landscapes
- Suspension Of Electric Lines Or Cables (AREA)
Abstract
本实用新型提供了一种接地端子及具有其的接地装置,其中,接地端子,包括:端子本体,包括依次连接的第一连接段、第二连接段和第三连接段,第一连接段上设置有与接地线连接的第一连接孔,第一连接孔的轴线与端子本体的轴线平行设置,第二连接段和第三连接段中的一个上设置有外螺纹,另一个上设置有第二连接孔。本申请的技术方案有效解决了现有技术中接地端子缺乏通用性,导致使用不方便的问题。
The utility model provides a grounding terminal and a grounding device having the same, wherein the grounding terminal includes: a terminal body, including a first connecting section, a second connecting section and a third connecting section which are connected in sequence, and the first connecting section is on the first connecting section. A first connection hole connected to the ground wire is provided, the axis of the first connection hole is arranged in parallel with the axis of the terminal body, one of the second connection segment and the third connection segment is provided with an external thread, and the other is provided with a third connection. Two connecting holes. The technical solution of the present application effectively solves the problem of the lack of versatility of the ground terminal in the prior art, which leads to inconvenience in use.
Description
技术领域technical field
本实用新型涉及安全工器具领域,具体而言,涉及一种接地端子及具有其的接地装置。The utility model relates to the field of safety tools, in particular to a grounding terminal and a grounding device having the same.
背景技术Background technique
接地是接地设备发生不正常的故障时采取的安全措施。变电站的接地端子与接地桩连接。接地端子材质根据接地线的材质而定。接地端子可以与接地线配合使用。使用接地端子可以使接地线有良好地接地条件,避免接地线连接位置不固定,存在安全隐患。Grounding is a safety measure taken in the event of an abnormal failure of grounded equipment. The ground terminal of the substation is connected to the ground stake. The material of the ground terminal depends on the material of the ground wire. The ground terminal can be used in conjunction with the ground wire. Using the grounding terminal can make the grounding wire have good grounding conditions, and avoid the connection position of the grounding wire is not fixed, and there is a potential safety hazard.
现有技术的变电站的接地端子通常包括两种类型。针对不同类型的接地桩,需要使用不同类型的接地端子。接地端子缺乏通用性,导致使用不方便。The ground terminals of prior art substations generally include two types. Different types of grounding terminals are required for different types of grounding stakes. The lack of versatility of the ground terminal makes it inconvenient to use.
实用新型内容Utility model content
本实用新型的主要目的在于提供一种接地端子及具有其的接地装置,以解决现有技术中接地端子缺乏通用性,导致使用不方便的问题。The main purpose of the present invention is to provide a grounding terminal and a grounding device having the same, so as to solve the problem that the grounding terminal in the prior art lacks versatility and is inconvenient to use.
为了实现上述目的,根据本实用新型的一个方面,提供了一种接地端子,包括:端子本体,包括依次连接的第一连接段、第二连接段和第三连接段,第一连接段上设置有与接地线连接的第一连接孔,第一连接孔的轴线与端子本体的轴线平行设置,第二连接段和第三连接段中的一个上设置有外螺纹,另一个上设置有第二连接孔。In order to achieve the above object, according to one aspect of the present invention, a grounding terminal is provided, comprising: a terminal body, including a first connection segment, a second connection segment and a third connection segment connected in sequence, and the first connection segment is provided with There is a first connection hole connected with the ground wire, the axis of the first connection hole is arranged in parallel with the axis of the terminal body, one of the second connection segment and the third connection segment is provided with an external thread, and the other is provided with a second connection. connection hole.
进一步地,第二连接孔的轴线与端子本体的轴线垂直设置。Further, the axis of the second connection hole is perpendicular to the axis of the terminal body.
进一步地,第一连接段和第二连接段为柱状,第一连接段的直径和第二连接段的直径相等。Further, the first connecting section and the second connecting section are cylindrical, and the diameter of the first connecting section is equal to that of the second connecting section.
进一步地,第三连接段为板状,第三连接段的厚度小于第二连接段直径以使第三连接段和第二连接段之间形成台阶面。Further, the third connecting section is plate-shaped, and the thickness of the third connecting section is smaller than the diameter of the second connecting section so that a stepped surface is formed between the third connecting section and the second connecting section.
进一步地,接地端子还包括与外螺纹配合的螺母。Further, the ground terminal further includes a nut matched with the external thread.
进一步地,端子本体还包括设置在第一连接段和第二连接段之间第四连接段,第四连接段沿端子本体的径向凸出于第一连接段和第二连接段。Further, the terminal body further includes a fourth connection segment disposed between the first connection segment and the second connection segment, and the fourth connection segment protrudes from the first connection segment and the second connection segment along the radial direction of the terminal body.
根据本实用新型的另一方面,提供了一种接地装置,包括接线端子,所述接线端子为上述的接线端子。According to another aspect of the present invention, a grounding device is provided, comprising a connection terminal, and the connection terminal is the above-mentioned connection terminal.
进一步地,接地装置还包括第一挂钩及连接第一挂钩和接线端子的接地线。Further, the grounding device further includes a first hook and a ground wire connecting the first hook and the connection terminal.
进一步地,第一挂钩包括第一钩柄及设置在第一钩柄上的第一钩体,接地装置还包括设置在第一挂钩上的第二挂钩,第二挂钩包括第二钩柄及设置在第二钩柄上的第二钩体,第一钩体的钩口和第二钩体的钩口均朝下设置。Further, the first hook includes a first hook handle and a first hook body arranged on the first hook handle, the grounding device further includes a second hook arranged on the first hook, and the second hook includes a second hook handle and is arranged on the first hook. On the second hook body on the second hook handle, the hook opening of the first hook body and the hook opening of the second hook body are both arranged downward.
进一步地,接地装置还包括螺栓,第一钩柄上设置有第一安装孔,第二钩柄上设置有第二安装孔,螺栓连接在第一安装孔和第二安装孔内,第一安装孔为螺孔。Further, the grounding device further includes bolts, the first hook handle is provided with a first mounting hole, the second hook handle is provided with a second mounting hole, the bolt is connected in the first mounting hole and the second mounting hole, the first mounting hole is The holes are screw holes.
应用本实用新型的技术方案,接地端子包括:端子本体。端子本体包括依次连接的第一连接段、第二连接段和第三连接段。第一连接段上设置有与接地线连接的第一连接孔,第一连接孔的轴线与端子本体的轴线平行设置。第一连接孔的设置能够挤压接地线。第二连接段和第三连接段中的一个上设置有外螺纹,另一个上设置有第二连接孔。本申请的接地端子同时提供了外螺纹和第二连接孔两种连接方式,能够根据接地桩的类型选择适合的连接方式与接地桩进行连接,通用性好,使用方便快捷。本申请的技术方案能够有效解决现有技术中接地端子缺乏通用性,导致使用不方便的问题。Applying the technical solution of the present utility model, the grounding terminal comprises: a terminal body. The terminal body includes a first connection segment, a second connection segment and a third connection segment which are connected in sequence. The first connection section is provided with a first connection hole connected with the ground wire, and the axis of the first connection hole is arranged in parallel with the axis of the terminal body. The arrangement of the first connection hole can squeeze the ground wire. One of the second connection segment and the third connection segment is provided with an external thread, and the other is provided with a second connection hole. The grounding terminal of the present application simultaneously provides two connection modes, an external thread and a second connection hole, and a suitable connection mode can be selected according to the type of the grounding stake to be connected to the grounding stake, which has good versatility and is convenient and quick to use. The technical solution of the present application can effectively solve the problem of the lack of versatility of the ground terminal in the prior art, which leads to inconvenient use.
附图说明Description of drawings
构成本申请的一部分的说明书附图用来提供对本实用新型的进一步理解,本实用新型的示意性实施例及其说明用于解释本实用新型,并不构成对本实用新型的不当限定。在附图中:The accompanying drawings forming a part of the present application are used to provide further understanding of the present invention, and the schematic embodiments and descriptions of the present invention are used to explain the present invention and do not constitute an improper limitation of the present invention. In the attached image:
图1示出了根据本实用新型的接地端子的实施例的主视示意图;1 shows a schematic front view of an embodiment of a ground terminal according to the present invention;
图2示出了图1的接地端子的端子本体的俯视示意图;FIG. 2 shows a schematic top view of the terminal body of the ground terminal of FIG. 1;
图3示出了图1的接地端子的端子本体的左视示意图;FIG. 3 shows a left side schematic view of the terminal body of the ground terminal of FIG. 1;
图4示出了图1的接地端子的螺母的俯视示意图;FIG. 4 shows a schematic top view of the nut of the grounding terminal of FIG. 1;
图5示出了图1的接地端子的螺母的主视示意图;FIG. 5 shows a schematic front view of the nut of the grounding terminal of FIG. 1;
图6示出了根据本实用新型的接地装置的实施例的第一挂钩的主视示意图;6 shows a schematic front view of a first hook according to an embodiment of the grounding device of the present invention;
图7示出了图6的接地装置的第一挂钩的左视示意图;Fig. 7 shows a left side schematic view of the first hook of the grounding device of Fig. 6;
图8示出了图6的接地装置的第一挂钩的右视示意图;以及FIG. 8 shows a schematic right side view of the first hook of the grounding device of FIG. 6; and
图9示出了图6的接地装置的第一挂钩的俯视示意图。FIG. 9 shows a schematic top view of the first hook of the grounding device of FIG. 6 .
其中,上述附图包括以下附图标记:Wherein, the above-mentioned drawings include the following reference signs:
10、端子本体;11、第一连接段;111、第一连接孔;12、第二连接段;121、外螺纹;13、第三连接段;131、第二连接孔;14、台阶面;15、第四连接段;20、螺母;30、第一挂钩;31、第一钩体;32、第一钩柄;33、安装槽;40、第二挂钩;41、第二钩体;42、第二钩柄;50、螺栓。10. Terminal body; 11. First connecting section; 111. First connecting hole; 12. Second connecting section; 121. External thread; 13. Third connecting section; 131. Second connecting hole; 14. Step surface; 15. Fourth connecting segment; 20, nut; 30, first hook; 31, first hook body; 32, first hook handle; 33, installation groove; 40, second hook; 41, second hook body; 42 , The second hook handle; 50, bolts.
具体实施方式Detailed ways
下面将结合本实用新型实施例中的附图,对本实用新型实施例中的技术方案进行清楚、完整地描述,显然,所描述的实施例仅仅是本实用新型一部分实施例,而不是全部的实施例。以下对至少一个示例性实施例的描述实际上仅仅是说明性的,决不作为对本实用新型及其应用或使用的任何限制。基于本实用新型中的实施例,本领域普通技术人员在没有作出创造性劳动前提下所获得的所有其他实施例,都属于本实用新型保护的范围。The technical solutions in the embodiments of the present utility model will be clearly and completely described below with reference to the accompanying drawings in the embodiments of the present utility model. Obviously, the described embodiments are only a part of the embodiments of the present utility model, rather than all the implementations. example. The following description of at least one exemplary embodiment is merely illustrative in nature and is in no way intended to limit the invention, its application or uses in any way. Based on the embodiments of the present invention, all other embodiments obtained by those of ordinary skill in the art without creative work fall within the protection scope of the present invention.
需要注意的是,这里所使用的术语仅是为了描述具体实施方式,而非意图限制根据本申请的示例性实施方式。如在这里所使用的,除非上下文另外明确指出,否则单数形式也意图包括复数形式,此外,还应当理解的是,当在本说明书中使用术语“包含”和/或“包括”时,其指明存在特征、步骤、操作、器件、组件和/或它们的组合。It should be noted that the terminology used herein is for the purpose of describing specific embodiments only, and is not intended to limit the exemplary embodiments according to the present application. As used herein, unless the context clearly dictates otherwise, the singular is intended to include the plural as well, furthermore, it is to be understood that when the terms "comprising" and/or "including" are used in this specification, it indicates that There are features, steps, operations, devices, components and/or combinations thereof.
除非另外具体说明,否则在这些实施例中阐述的部件和步骤的相对布置、数字表达式和数值不限制本实用新型的范围。同时,应当明白,为了便于描述,附图中所示出的各个部分的尺寸并不是按照实际的比例关系绘制的。对于相关领域普通技术人员已知的技术、方法和设备可能不作详细讨论,但在适当情况下,所述技术、方法和设备应当被视为授权说明书的一部分。在这里示出和讨论的所有示例中,任何具体值应被解释为仅仅是示例性的,而不是作为限制。因此,示例性实施例的其它示例可以具有不同的值。应注意到:相似的标号和字母在下面的附图中表示类似项,因此,一旦某一项在一个附图中被定义,则在随后的附图中不需要对其进行进一步讨论。The relative arrangement of the components and steps, the numerical expressions and numerical values set forth in these embodiments do not limit the scope of the invention unless specifically stated otherwise. Meanwhile, it should be understood that, for the convenience of description, the dimensions of various parts shown in the accompanying drawings are not drawn in an actual proportional relationship. Techniques, methods, and devices known to those of ordinary skill in the relevant art may not be discussed in detail, but where appropriate, such techniques, methods, and devices should be considered part of the authorized description. In all examples shown and discussed herein, any specific value should be construed as illustrative only and not as limiting. Accordingly, other examples of exemplary embodiments may have different values. It should be noted that like numerals and letters refer to like items in the following figures, so once an item is defined in one figure, it does not require further discussion in subsequent figures.
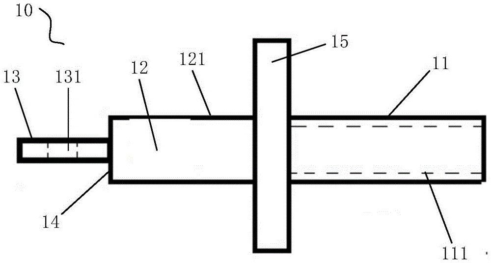
如图1至图3所示,本实施例的接地端子包括:端子本体10。端子本体10包括依次连接的第一连接段11、第二连接段12和第三连接段13。第一连接段11上设置有与接地线连接的第一连接孔111,第一连接孔111的轴线与端子本体10的轴线平行设置。第二连接段12上设置有外螺纹121,第三连接段13上设置有第二连接孔131。As shown in FIG. 1 to FIG. 3 , the ground terminal of this embodiment includes: a
应用本实施例的技术方案,接地端子包括端子本体。端子本体10包括依次连接的第一连接段11、第二连接段12和第三连接段13。第一连接孔111的设置能够挤压接地线。第二连接段12上设置有外螺纹121,第三连接段13上设置有第二连接孔131。本实施例的接地端子同时提供了外螺纹121和第二连接孔131两种连接方式,能够根据接地桩的类型选择适合的连接方式与接地桩进行连接,通用性好,使用方便快捷。本实施例的技术方案能够有效解决现有技术中接地端子缺乏通用性,导致使用不方便的问题。Applying the technical solution of this embodiment, the ground terminal includes a terminal body. The
需要说明的是,本实施例的第一连接孔111的孔深优选为4cm,孔径优选为1cm;第二连接孔131的孔径优选为1.1cm;第二连接段12的长度优选为4cm,外径为1.4cm。上述的尺寸使得接线端子结构简单,容易加工,便于量产。It should be noted that the depth of the first connecting
在其他图中未示出的实施例中,第三连接段上设置有外螺纹,第二连接段上设置有第二连接孔。这样,在该实施例中能够提供两种连接方式。In the embodiments not shown in other figures, the third connection segment is provided with an external thread, and the second connection segment is provided with a second connection hole. In this way, two connection methods can be provided in this embodiment.
如图1和图2所示,在本实施例中,第二连接孔131的轴线与端子本体10的轴线垂直设置。这样,在接地端子与接地桩连接的情况下,可以使用螺栓从上向下穿过第二连接孔131,这样连接方便。As shown in FIGS. 1 and 2 , in this embodiment, the axis of the
如图1和图2所示,在本实施例中,第一连接段11和第二连接段12为柱状,第一连接段11的直径和第二连接段12的直径相等。这样形状规范,便于加工成型。同时,第一连接段11与接地线通过压接的方式,使第一连接段11变形以将接地线的一端固定在第一连接孔111内。第一连接段11优选为线鼻子的管体。As shown in FIG. 1 and FIG. 2 , in this embodiment, the first connecting
如图1和图3所示,在本实施例中,第三连接段13为板状,第三连接段13的厚度小于第二连接段12直径以使第三连接段13和第二连接段12之间形成台阶面14。在外螺纹121与接地桩上的内螺纹件进行连接的过程中,内螺纹件能够套过第三连接段13,不会与第三连接段13发生干涉。同时,在第二连接孔131与接地桩配合的螺栓连接的情况下,第三连接段13位板状,能够支撑螺栓,使得第二连接孔131与螺栓连接更加的牢固。As shown in FIG. 1 and FIG. 3 , in this embodiment, the third connecting
如图4和图5所示,在本实施例中,在选择外螺纹连接的情况下,接地端子还包括与外螺纹121配合的螺母20。这样,螺母20能够与第二连接段12连接,能够将接地端子固定在接地桩上,实现连接。As shown in FIG. 4 and FIG. 5 , in the present embodiment, in the case of selecting an external thread connection, the ground terminal further includes a
如图2和图3所示,端子本体10还包括设置在第一连接段11和第二连接段12之间第四连接段15。第四连接段15沿端子本体10的径向凸出于第一连接段11和第二连接段12。第四连接段15的设置能够限制螺母20沿轴线方向移动位置,起到止挡的目的。As shown in FIGS. 2 and 3 , the
本申请还提供了一种接地装置,在本实施例中,本实施例的接地装置包括接线端子,所述接线端子为上述的接线端子。本实施例的接地装置的技术方案能够有效解决现有技术中接地端子缺乏通用性,导致使用不方便的问题。The present application further provides a grounding device. In this embodiment, the grounding device in this embodiment includes a connection terminal, and the connection terminal is the above-mentioned connection terminal. The technical solution of the grounding device in this embodiment can effectively solve the problem that the grounding terminal in the prior art lacks versatility, which leads to inconvenience in use.
如图6至图8所示,在本实施例中,接地装置还包括第一挂钩30及连接第一挂钩30和接线端子的接地线。这样,接地线的设置能够实现第一挂钩30和接线端子的通电。As shown in FIG. 6 to FIG. 8 , in this embodiment, the grounding device further includes a
本申请的发明人还发现在现有技术中,变电站的常规的35kV、110kV接地线虽然自带的绝缘操作杆,但绝缘操作杆设计长度不够,无法单独使用。绝缘操作杆需要配合使用的情况如下,一种是配合绝缘梯挂拆接地线,这种方式能够大大增加工作量、导致挂接地线时间延长,操作过程笨重、繁琐,危险性升高;另一种是与令克棒配合挂拆接地线,令克棒使用时,只能卡在接地线线鼻子处,容易造成接口处的接地线损坏,接地线导体端易脱落,对现场工作人员的人身安全造成严重的威胁。The inventor of the present application also found that in the prior art, although the conventional 35kV and 110kV grounding wires of substations have their own insulating operating rods, the insulating operating rods are not designed enough in length to be used alone. Insulation operating rods need to be used together as follows. One is to hang and remove the grounding wire with the insulating ladder. This method can greatly increase the workload, prolong the time for hanging the grounding wire, make the operation process cumbersome, cumbersome, and increase the risk. The first is to hang and dismantle the grounding wire in conjunction with the gram rod. When the gram rod is used, it can only be stuck at the nose of the grounding wire, which is easy to cause damage to the grounding wire at the interface, and the conductor end of the grounding wire is easy to fall off. security poses a serious threat.
如图6和图7所示,本申请的接地装置还包括设置在第一挂钩30上的第二挂钩40,在本实施例中,第一挂钩30包括第一钩柄32及设置在第一钩柄32上的第一钩体31,第二挂钩40包括第二钩柄42及设置在第二钩柄42上的第二钩体41。这样通过第二挂钩40可以与令克棒配合,将第一挂钩30举起。在这个过程中,第二挂钩40的设置避免现有技术中令克棒卡在的接地线线鼻子处,也能够避免接地线与令克棒发生脱落。第一钩体31的钩口和第二钩体41的钩口均朝下设置。便于将第一挂钩30挂接到设备上。上述的设备可以为隔离开关、断路器、主变压器、母线和母线排等。As shown in FIG. 6 and FIG. 7 , the grounding device of the present application further includes a
如图6和图9所示,第一挂钩30还包括设置在第一钩体31上的安装槽33,将短路线布置在安装槽33内,避免导通电路从第一钩体31的顶部通过。第一挂钩30还包括弹片和与所述弹片连接的扭簧,弹片和扭簧可以连接在第一钩柄32上,也可以连接在第一钩体31上。通过扭簧的作用使得弹片能够挤压设备的一部分,实现第一挂钩30的挂接。As shown in FIG. 6 and FIG. 9 , the
本实施例的第二挂钩40优选为U型扁铁倒钩,金属材质,长7cm、宽2cm、厚0.3cm。结构采用外部加装,使用双螺栓固定,连接可靠、耐用,配合多功能令克棒挂接地线。The
需要说明的是,接地线采用带透明绝缘护套的多股软铜线,绝缘护套的直径为25mm,绝缘护套的长度可根据实际的电压等级和距离设计,一般选择在10m至20m之间。接地线与第一挂钩30和接地端子之间采用线鼻子压接,连接可靠耐用。具体地,第一钩柄32上设置有第三安装孔,线鼻子上设置有第四连接孔,通过螺栓穿过第四安装孔连接在第三安装孔内,将线鼻子固定在第一钩柄32上。It should be noted that the grounding wire adopts multi-strand soft copper wire with transparent insulating sheath. The diameter of the insulating sheath is 25mm. The length of the insulating sheath can be designed according to the actual voltage level and distance, and is generally selected between 10m and 20m. between. A wire nose is used for crimping between the ground wire and the
如图6和图7所示,在本实施例中,接地装置还包括螺栓50,第一钩柄32上设置有第一安装孔,第二钩柄42上设置有第二安装孔,螺栓50连接在第一安装孔和第二安装孔内,第一安装孔为螺孔。通过螺栓50能够将第二挂钩40连接在第一挂钩30上。螺栓50包括两个,这样,连接可靠、使用时间久。As shown in FIG. 6 and FIG. 7 , in this embodiment, the grounding device further includes a
在本实用新型的描述中,需要理解的是,方位词如“前、后、上、下、左、右”、“横向、竖向、垂直、水平”和“顶、底”等所指示的方位或位置关系通常是基于附图所示的方位或位置关系,仅是为了便于描述本实用新型和简化描述,在未作相反说明的情况下,这些方位词并不指示和暗示所指的装置或元件必须具有特定的方位或者以特定的方位构造和操作,因此不能理解为对本实用新型保护范围的限制;方位词“内、外”是指相对于各部件本身的轮廓的内外。In the description of the present invention, it should be understood that orientation words such as "front, rear, top, bottom, left, right", "horizontal, vertical, vertical, horizontal" and "top, bottom" etc. The orientation or positional relationship is usually based on the orientation or positional relationship shown in the accompanying drawings, which is only for the convenience of describing the present invention and simplifying the description, and these orientations do not indicate and imply the indicated device unless otherwise stated. Or elements must have a specific orientation or be constructed and operated in a specific orientation, so it cannot be construed as a limitation on the protection scope of the present invention; the orientation words "inside and outside" refer to the inside and outside relative to the contour of each component itself.
为了便于描述,在这里可以使用空间相对术语,如“在……之上”、“在……上方”、“在……上表面”、“上面的”等,用来描述如在图中所示的一个器件或特征与其他器件或特征的空间位置关系。应当理解的是,空间相对术语旨在包含除了器件在图中所描述的方位之外的在使用或操作中的不同方位。例如,如果附图中的器件被倒置,则描述为“在其他器件或构造上方”或“在其他器件或构造之上”的器件之后将被定位为“在其他器件或构造下方”或“在其他器件或构造之下”。因而,示例性术语“在……上方”可以包括“在……上方”和“在……下方”两种方位。该器件也可以其他不同方式定位(旋转90度或处于其他方位),并且对这里所使用的空间相对描述作出相应解释。For ease of description, spatially relative terms, such as "on", "over", "on the surface", "above", etc., may be used herein to describe what is shown in the figures. The spatial positional relationship of one device or feature shown to other devices or features. It should be understood that spatially relative terms are intended to encompass different orientations of the device in use or operation in addition to the orientation depicted in the figures. For example, if the device in the figures is turned over, elements described as "above" or "over" other devices or features would then be oriented "below" or "over" the other devices or features under other devices or constructions". Thus, the exemplary term "above" can encompass both an orientation of "above" and "below." The device may also be otherwise oriented (rotated 90 degrees or at other orientations) and the spatially relative descriptions used herein interpreted accordingly.
此外,需要说明的是,使用“第一”、“第二”等词语来限定零部件,仅仅是为了便于对相应零部件进行区别,如没有另行声明,上述词语并没有特殊含义,因此不能理解为对本实用新型保护范围的限制。In addition, it should be noted that the use of words such as "first" and "second" to define components is only for the convenience of distinguishing corresponding components. Unless otherwise stated, the above words have no special meaning and therefore cannot be understood To limit the scope of protection of the present invention.
以上所述仅为本实用新型的优选实施例而已,并不用于限制本实用新型,对于本领域的技术人员来说,本实用新型可以有各种更改和变化。凡在本实用新型的精神和原则之内,所作的任何修改、等同替换、改进等,均应包含在本实用新型的保护范围之内。The above descriptions are only preferred embodiments of the present utility model, and are not intended to limit the present utility model. For those skilled in the art, the present utility model may have various modifications and changes. Any modification, equivalent replacement, improvement, etc. made within the spirit and principle of the present invention shall be included in the protection scope of the present invention.
Claims (10)
Priority Applications (1)
| Application Number | Priority Date | Filing Date | Title |
|---|---|---|---|
| CN201921703152.2U CN210779051U (en) | 2019-10-11 | 2019-10-11 | Ground terminal and grounding device having the same |
Applications Claiming Priority (1)
| Application Number | Priority Date | Filing Date | Title |
|---|---|---|---|
| CN201921703152.2U CN210779051U (en) | 2019-10-11 | 2019-10-11 | Ground terminal and grounding device having the same |
Publications (1)
| Publication Number | Publication Date |
|---|---|
| CN210779051U true CN210779051U (en) | 2020-06-16 |
Family
ID=71047099
Family Applications (1)
| Application Number | Title | Priority Date | Filing Date |
|---|---|---|---|
| CN201921703152.2U Active CN210779051U (en) | 2019-10-11 | 2019-10-11 | Ground terminal and grounding device having the same |
Country Status (1)
| Country | Link |
|---|---|
| CN (1) | CN210779051U (en) |
-
2019
- 2019-10-11 CN CN201921703152.2U patent/CN210779051U/en active Active
Similar Documents
| Publication | Publication Date | Title |
|---|---|---|
| CN210779051U (en) | Ground terminal and grounding device having the same | |
| CN201130571Y (en) | Lightning protection supporting insulator | |
| CN204029998U (en) | Contact line earthing device | |
| CN206673533U (en) | A kind of novel high-pressure transmission line of electricity angle pole mounting structure | |
| CN206098763U (en) | Portable fast -assembling short circuit grounding group | |
| CN205189480U (en) | Electric pole | |
| CN212209066U (en) | Line pin type porcelain insulator | |
| CN105139974A (en) | Lightning protection insulator | |
| CN204424487U (en) | A kind of new copper nose | |
| CN205751809U (en) | Transformator distribution fexible unit D type | |
| CN203562535U (en) | Copper-aluminum transformer wire clamp | |
| CN206460932U (en) | A kind of electric automobile Manual maintenance switch MSD special fuse | |
| CN206864977U (en) | A kind of grounding wire device | |
| CN211818469U (en) | Power line cross arm protective sheath | |
| CN212570615U (en) | Electric reactor | |
| CN205081249U (en) | Durable earth connection copper bar equipment | |
| CN219591797U (en) | A kind of short wire for insulator series | |
| CN203607248U (en) | Complete set of capacitor equipment | |
| CN210156812U (en) | grounding system | |
| CN205863425U (en) | A kind of earth lead in scalable direction | |
| CN209119403U (en) | Lightning arrester and lightning protection system having the same | |
| CN201163704Y (en) | High-efficiency anti-shielding failure lightning rod | |
| CN206727615U (en) | A kind of pylon surge arrester support | |
| CN204904937U (en) | Lightning protection insulator | |
| CN204794519U (en) | Motor and wiring board thereof |
Legal Events
| Date | Code | Title | Description |
|---|---|---|---|
| GR01 | Patent grant | ||
| GR01 | Patent grant |
