CN210763867U - Trigger force measuring device for comb plate protection switch of escalator and clamping device thereof - Google Patents
Trigger force measuring device for comb plate protection switch of escalator and clamping device thereof Download PDFInfo
- Publication number
- CN210763867U CN210763867U CN201921775717.8U CN201921775717U CN210763867U CN 210763867 U CN210763867 U CN 210763867U CN 201921775717 U CN201921775717 U CN 201921775717U CN 210763867 U CN210763867 U CN 210763867U
- Authority
- CN
- China
- Prior art keywords
- clamping piece
- clamping
- bolt
- connecting portion
- measuring device
- Prior art date
- Legal status (The legal status is an assumption and is not a legal conclusion. Google has not performed a legal analysis and makes no representation as to the accuracy of the status listed.)
- Active
Links
- 230000000694 effects Effects 0.000 claims abstract description 6
- 230000000149 penetrating effect Effects 0.000 claims description 3
- 244000126211 Hericium coralloides Species 0.000 abstract description 17
- 238000000034 method Methods 0.000 abstract description 7
- 238000012360 testing method Methods 0.000 abstract description 5
- 230000006870 function Effects 0.000 description 5
- 238000005259 measurement Methods 0.000 description 5
- 230000006835 compression Effects 0.000 description 4
- 238000007906 compression Methods 0.000 description 4
- 238000006073 displacement reaction Methods 0.000 description 4
- 230000008569 process Effects 0.000 description 4
- 238000001514 detection method Methods 0.000 description 3
- 238000010586 diagram Methods 0.000 description 3
- 230000008602 contraction Effects 0.000 description 2
- 230000006386 memory function Effects 0.000 description 2
- 238000012545 processing Methods 0.000 description 2
- 230000001960 triggered effect Effects 0.000 description 2
- 230000005540 biological transmission Effects 0.000 description 1
- 230000002354 daily effect Effects 0.000 description 1
- 238000005516 engineering process Methods 0.000 description 1
- 230000003203 everyday effect Effects 0.000 description 1
- 230000003993 interaction Effects 0.000 description 1
- 230000007246 mechanism Effects 0.000 description 1
- 239000002184 metal Substances 0.000 description 1
- 238000012986 modification Methods 0.000 description 1
- 230000004048 modification Effects 0.000 description 1
- 230000001681 protective effect Effects 0.000 description 1
Images
Landscapes
- Escalators And Moving Walkways (AREA)
Abstract
本实用新型提供一种自动扶梯梳齿板保护开关触发力测量装置及其夹紧装置,通过螺栓在夹紧块上的旋进旋出,实现对活动夹紧片的施力,使得活动夹紧片与固定夹紧片之间的缝隙发生变化,实现对梳齿板的夹紧和松开,从而使得对梳齿板的受力测试效果更加准确,本实用新型采用螺栓旋进旋出的方式调整活动夹紧片和固定夹紧片之间的缝隙,由于螺栓是通过螺纹进行旋进旋出的,因此螺栓末端对活动夹紧片施力大小的调整范围更大,可以根据实际情况对两个夹紧片之间的缝隙进行调整。本实用新型中夹紧装置结构简单,易于操作,节省了检测人力成本,提高了检测效率,对自动扶梯安全运行具有重要的意义。
The utility model provides a trigger force measuring device for a protection switch of an escalator comb tooth plate and a clamping device thereof. The screwing in and out of the bolt on the clamping block realizes the application of force to the movable clamping piece, so that the movable clamping The gap between the plate and the fixed clamping plate changes to realize the clamping and loosening of the comb-tooth plate, thereby making the force test effect of the comb-tooth plate more accurate. The utility model adopts the method of screwing in and out of the bolt. Adjust the gap between the movable clamping piece and the fixed clamping piece. Since the bolt is screwed in and out through the thread, the adjustment range of the force exerted by the end of the bolt on the movable clamping piece is larger, and the two can be adjusted according to the actual situation. Adjust the gap between the clamping pieces. The clamping device in the utility model has a simple structure, is easy to operate, saves the cost of testing labor, improves the testing efficiency, and is of great significance to the safe operation of the escalator.
Description
技术领域technical field
本实用新型属于特种机电设备技术领域,具体涉及一种自动扶梯梳齿板保护开关触发力测量装置及其夹紧装置。The utility model belongs to the technical field of special electromechanical equipment, and in particular relates to a trigger force measuring device of an escalator comb-tooth plate protection switch and a clamping device thereof.
背景技术Background technique
自动扶梯在日常的使用越来越频繁,甚至已经变成每天必不可少的一项基础设施,自动扶梯在运行的过程中,不可避免的会出现某些异物卡入自动扶梯的梳齿板内,这时电梯若是继续运行,难免会造成安全事故的发生,因此在自动扶梯的出、入端的安全梳齿板处一般都要设置自动扶梯梳齿板安全保护装置。The escalator is used more and more frequently in daily life, and it has even become an indispensable infrastructure every day. During the operation of the escalator, it is inevitable that some foreign objects will get stuck in the comb plate of the escalator. At this time, if the elevator continues to run, it will inevitably cause safety accidents. Therefore, the escalator comb plate safety protection device is generally installed at the safety comb plate at the exit and entry ends of the escalator.
在自动扶梯运行的过程中,通常安全保护装置布设在楼层板下面,即设置在自动扶梯或自动人行道出入口,与梳齿板连接的金属板下面,并且安全保护装置连接有安全保护开关,安全保护开关用于触发安全保护装置,当发生异物卡入梳齿板和梯级踏板之间时,产生相互作用力进而带动与梳齿板相连的楼层板移动,使得与楼层板底部相连的安全开关触发,进而使得自动扶梯停止运行,以保护人员安全;但是在实际运行过程中,安全保护开关有可能因为触发力设置的过小或者过大而使得自动扶梯不能根据实际情况来进行关闭。During the operation of the escalator, the safety protection device is usually arranged under the floor board, that is, at the entrance and exit of the escalator or moving walkway, under the metal plate connected with the comb plate, and the safety protection device is connected with a safety protection switch. The switch is used to trigger the safety protection device. When a foreign object is caught between the comb plate and the step pedal, an interaction force is generated to drive the floor plate connected to the comb plate to move, so that the safety switch connected to the bottom of the floor plate is triggered. In turn, the escalator is stopped to protect the safety of personnel; however, in the actual operation process, the safety protection switch may be set too small or too large, so that the escalator cannot be closed according to the actual situation.
因此,对安全保护开关需要的触发力大小进行测量,进而进行调整从而设定准确的触发力是保证安全保护装置能够正常工作的前提;现行的检测需要在检测时通过夹紧梳齿将测量装置锁紧在梯级踏面上,进而对梳齿板施加拉力或压力实现对触发力大小的检测,如果测量装置不能有效的锁紧在梯级上,就会使得后续对触发力大小的检测出现偏差,同时夹紧装置需要经常操作以调整夹紧力的大小和位置,则夹紧装置结构需要尽量简单且易于操作。Therefore, measuring the triggering force required by the safety protection switch, and then adjusting it to set an accurate triggering force is the premise to ensure that the safety protection device can work normally; the current detection requires that the measuring device is clamped by the comb teeth during detection. Lock it on the step tread, and then apply tension or pressure to the comb plate to detect the trigger force. If the measuring device cannot be effectively locked on the step, the subsequent detection of the trigger force will be deviated, and at the same time The clamping device needs to be operated frequently to adjust the magnitude and position of the clamping force, so the structure of the clamping device needs to be as simple as possible and easy to operate.
实用新型内容Utility model content
本实用新型的目的是克服上述现有技术中在进行自动扶梯梳齿板安全保护开关检测时不能有效夹紧梳齿导致触发力测量结果出现偏差、夹紧装置结构复杂等问题。The purpose of the utility model is to overcome the problems of the above-mentioned prior art that the comb teeth cannot be effectively clamped when the safety protection switch of the escalator comb tooth plate is detected, resulting in deviation of the trigger force measurement result and complex structure of the clamping device.
为了实现上述目的,本实用新型提供如下技术方案:In order to achieve the above object, the utility model provides the following technical solutions:
本实用新型提供的一种自动扶梯梳齿板保护开关触发力测量装置的夹紧装置,所述夹紧装置包括:The utility model provides a clamping device for a triggering force measuring device of an escalator comb-tooth plate protection switch, the clamping device comprising:
夹紧块,所述夹紧块上设置有用于与测量装置上的导槽匹配的以使所述夹紧块安装在所述测量装置上的导轨;a clamping block, the clamping block is provided with a guide rail for matching with a guide groove on the measuring device so that the clamping block is installed on the measuring device;
螺栓,所述螺栓通过螺纹设置在所述夹紧块上的螺孔中,并通过螺纹实现所述螺栓在所述螺孔中的旋进和旋出,同时所述螺孔在所述夹紧块上的位置设置为当所述螺栓旋进旋出时所述螺栓的末端与夹紧片实现接触和分离;The bolt is provided in the screw hole on the clamping block through the thread, and realizes the screwing in and out of the screw hole through the thread, and the screw hole is screwed in the clamping block at the same time. The position on the block is set so that when the bolt is screwed in and out, the end of the bolt contacts and separates from the clamping piece;
夹紧片,所述夹紧片为所述夹紧块底部凸出来的两个平行的片状结构,当所述螺栓旋进时其末端接触的夹紧片为活动夹紧片,与活动夹紧片平行的为固定夹紧片,所述活动夹紧片设置在贯穿所述夹紧块上下面的通孔中且所述活动夹紧片的一端与所述通孔内壁连接,便于所述螺栓旋进旋出时对活动夹紧片的挤压位移,使两夹紧片之间的缝隙变化,从而实现夹紧和松开。Clamping sheet, the clamping sheet is two parallel sheet-like structures protruding from the bottom of the clamping block, and the clamping sheet whose end contacts when the bolt is screwed in is a movable clamping sheet, which is connected with the movable clamp A fixed clamping piece is parallel to the tightening piece, the movable clamping piece is arranged in a through hole running through the upper and lower sides of the clamping block, and one end of the movable clamping piece is connected with the inner wall of the through hole, so as to facilitate the When the bolt is screwed in and out, the extruding displacement of the movable clamping piece changes the gap between the two clamping pieces, thereby realizing clamping and loosening.
基于上述,所述夹紧块上间隔设置有两个螺孔,每个螺孔中设置一个螺栓且每个螺孔对应的位置均设置有所述活动夹紧片和固定夹紧片。Based on the above, the clamping block is provided with two screw holes at intervals, each screw hole is provided with a bolt, and the movable clamping piece and the fixed clamping piece are provided at the corresponding position of each screw hole.
基于上述,所述活动夹紧片连接有第一连接部,所述第一连接部连接有第二连接部,所述活动夹紧片与所述第二连接部平行设置并通过所述第一连接部连接;所述通孔的形状设置为用于设置所述活动夹紧片、第一连接部和第二连接部,所述第二连接部的一端与所述通孔的内壁连接。Based on the above, the movable clamping piece is connected with a first connection portion, the first connection portion is connected with a second connection portion, and the movable clamping piece is arranged in parallel with the second connection portion and passes through the first connection portion. The connecting part is connected; the shape of the through hole is set to be used for disposing the movable clamping piece, the first connecting part and the second connecting part, and one end of the second connecting part is connected with the inner wall of the through hole.
基于上述,所述活动夹紧片、第一连接部和第二连接部一体成型设置。Based on the above, the movable clamping piece, the first connecting portion and the second connecting portion are integrally formed.
本实用新型还提供了一种自动扶梯梳齿板保护开关触发力测量装置,包括夹紧装置,所述夹紧装置包括:The utility model also provides a trigger force measuring device for the protection switch of the escalator comb tooth plate, which includes a clamping device, and the clamping device includes:
夹紧块,所述夹紧块上设置有用于与测量装置上的导槽匹配的以使所述夹紧块安装在所述测量装置上的导轨;a clamping block, the clamping block is provided with a guide rail for matching with a guide groove on the measuring device so that the clamping block is installed on the measuring device;
螺栓,所述螺栓通过螺纹设置在所述夹紧块上的螺孔中,并通过螺纹实现所述螺栓在所述螺孔中的旋进和旋出,同时所述螺孔在所述夹紧块上的位置设置为当所述螺栓旋进旋出时所述螺栓的末端与夹紧片实现接触和分离;The bolt is provided in the screw hole on the clamping block through the thread, and realizes the screwing in and out of the screw hole through the thread, and the screw hole is screwed in the clamping block at the same time. The position on the block is set so that when the bolt is screwed in and out, the end of the bolt contacts and separates from the clamping piece;
夹紧片,所述夹紧片为所述夹紧块底部凸出来的两个平行的片状结构,当所述螺栓旋进时其末端接触的夹紧片为活动夹紧片,与活动夹紧片平行的为固定夹紧片,所述活动夹紧片设置在贯穿所述夹紧块上下面的通孔中且所述活动夹紧片的一端与所述通孔内壁连接,便于所述螺栓旋进旋出时对活动夹紧片的挤压位移,使两夹紧片之间的缝隙变化,从而实现夹紧和松开。Clamping sheet, the clamping sheet is two parallel sheet-like structures protruding from the bottom of the clamping block, and the clamping sheet whose end contacts when the bolt is screwed in is a movable clamping sheet, which is connected with the movable clamp A fixed clamping piece is parallel to the tightening piece, the movable clamping piece is arranged in a through hole running through the upper and lower sides of the clamping block, and one end of the movable clamping piece is connected with the inner wall of the through hole, so as to facilitate the When the bolt is screwed in and out, the extruding displacement of the movable clamping piece changes the gap between the two clamping pieces, thereby realizing clamping and loosening.
基于上述,所述夹紧块上间隔设置有两个螺孔,每个螺孔中设置一个螺栓且每个螺孔对应的位置均设置有所述活动夹紧片和固定夹紧片。Based on the above, the clamping block is provided with two screw holes at intervals, each screw hole is provided with a bolt, and the movable clamping piece and the fixed clamping piece are provided at the corresponding position of each screw hole.
基于上述,所述活动夹紧片连接有第一连接部,所述第一连接部连接有第二连接部,所述活动夹紧片与所述第二连接部平行设置并通过所述第一连接部连接;所述通孔的形状设置为用于设置所述活动夹紧片、第一连接部和第二连接部,所述第二连接部的一端与所述通孔的内壁连接。Based on the above, the movable clamping piece is connected with a first connection portion, the first connection portion is connected with a second connection portion, and the movable clamping piece is arranged in parallel with the second connection portion and passes through the first connection portion. The connecting part is connected; the shape of the through hole is set to be used for disposing the movable clamping piece, the first connecting part and the second connecting part, and one end of the second connecting part is connected with the inner wall of the through hole.
基于上述,所述活动夹紧片、第一连接部和第二连接部一体成型设置。Based on the above, the movable clamping piece, the first connecting portion and the second connecting portion are integrally formed.
与最接近的现有技术相比,本实用新型提供的技术方案具有如下优异效果:Compared with the closest prior art, the technical solution provided by the present utility model has the following excellent effects:
本实用新型提供的一种自动扶梯梳齿板保护开关触发力测量装置及其夹紧装置,通过螺栓在夹紧块上的旋进旋出,实现对活动夹紧片的施力,使得活动夹紧片与固定夹紧片之间的缝隙发生变化,实现对梳齿板的夹紧和松开,同时采用螺栓旋进旋出的方式调整活动夹紧片和固定夹紧片之间的缝隙,由于螺栓是通过螺纹进行旋进旋出的,因此螺栓末端对活动夹紧片施力大小的调整范围更大,可以根据实际情况对两个夹紧片之间的缝隙进行调整。The utility model provides a triggering force measuring device for an escalator comb-tooth plate protection switch and a clamping device thereof. By screwing in and out of the bolt on the clamping block, force is applied to the movable clamping piece, so that the movable clamp The gap between the tightening piece and the fixed clamping piece changes to realize the clamping and loosening of the comb-tooth plate. Since the bolt is screwed in and out through the thread, the adjustment range of the force exerted by the end of the bolt on the movable clamping piece is larger, and the gap between the two clamping pieces can be adjusted according to the actual situation.
本实用新型能够将测量装置锁紧在梯级踏面上,使得对梳齿板的受力测试效果更加准确,根据测得的触发力,结合实际运行过程中确保安全的情况下所设定的合理的触发力,调整安全开关触发机构,使该梳齿板安全开关触发力处于所设定的范围,确保自动扶梯正常安全运行。The utility model can lock the measuring device on the step tread, so that the force test effect on the comb tooth plate is more accurate. Trigger force, adjust the trigger mechanism of the safety switch, so that the trigger force of the comb plate safety switch is within the set range to ensure the normal and safe operation of the escalator.
附图说明Description of drawings
图1为本实用新型实施例中夹紧装置的部分剖面图;1 is a partial cross-sectional view of a clamping device in an embodiment of the present utility model;
图2为本实用新型实施例中夹紧装置的正视图;Fig. 2 is the front view of the clamping device in the embodiment of the utility model;
图3为本实用新型实施例中夹紧装置的侧视图;Fig. 3 is the side view of the clamping device in the embodiment of the utility model;
图4为本实用新型实施例中夹紧装置的三维斜视图;4 is a three-dimensional oblique view of the clamping device in the embodiment of the present utility model;
图5为本实用新型实施例中夹紧装置的三维俯视图;5 is a three-dimensional top view of the clamping device in the embodiment of the present invention;
图6为本实用新型实施例中夹紧装置的三维仰视图;6 is a three-dimensional bottom view of the clamping device in the embodiment of the present utility model;
图7为本实用新型实施例中测量装置的结构示意图;7 is a schematic structural diagram of a measuring device in an embodiment of the present invention;
图8为本实用新型实施例中测量装置进行水平触发力测量示意图;8 is a schematic diagram of a horizontal trigger force measurement performed by a measuring device in an embodiment of the present invention;
图9为本实用新型实施例中活动夹紧片的结构图。FIG. 9 is a structural diagram of a movable clamping piece in an embodiment of the present invention.
图中:101、螺孔;102、螺孔;1、螺栓;2、螺栓;3、活动夹紧片;31、第一连接部;32、第二连接部;4、固定夹紧片;5、活动夹紧片;In the figure: 101, screw hole; 102, screw hole; 1, bolt; 2, bolt; 3, movable clamping piece; 31, first connecting part; 32, second connecting part; 4, fixed clamping piece; 5 , movable clamping piece;
6、固定夹紧片;7、梯形导轨;8、矩形导轨;9、梯形导槽;10、矩形导槽;11、主体结构;6. Fixed clamping piece; 7. Trapezoidal guide rail; 8. Rectangular guide rail; 9. Trapezoidal guide groove; 10. Rectangular guide groove; 11. Main structure;
12、转动拨杆;13、拉圧力传感器;14、球铰;15、拉压力显示器;16、拉圧杆;17、梯级;18、梳齿板。12. Rotating lever; 13. Pulling pressure sensor; 14. Ball hinge; 15. Pulling pressure indicator; 16. Pulling pressure rod; 17. Steps; 18. Comb plate.
具体实施方式Detailed ways
下面将对本实用新型实施例中的技术方案进行清楚、完整地描述,显然,所描述的实施例仅仅是本实用新型的一部分实施例,而不是全部的实施例。基于本实用新型中的实施例,本领域普通技术人员所获得的所有其他实施例,都属于本实用新型保护的范围。The technical solutions in the embodiments of the present invention will be clearly and completely described below. Obviously, the described embodiments are only a part of the embodiments of the present invention, rather than all the embodiments. All other embodiments obtained by those of ordinary skill in the art based on the embodiments of the present invention belong to the protection scope of the present invention.
下面将参考附图并结合实施例来详细说明本实用新型。需要说明的是,在不冲突的情况下,本实用新型中的实施例及实施例中的特征可以相互组合。The present utility model will be described in detail below with reference to the accompanying drawings and in conjunction with the embodiments. It should be noted that the embodiments of the present invention and the features of the embodiments may be combined with each other under the condition of no conflict.
在本实用新型的描述中,指示的方位或位置关系为基于附图所示的方位或位置关系,仅是为了便于描述本实用新型而不是要求本实用新型必须以特定的方位构造和操作,因此不能理解为对本实用新型的限制。本实用新型中使用的术语“相连”、“连接”应做广义理解,例如,可以是固定连接,也可以是可拆卸连接;可以是直接相连,也可以通过中间部件间接相连,对于本领域的普通技术人员而言,可以根据具体情况理解上述术语的具体含义。In the description of the present invention, the indicated azimuth or positional relationship is based on the azimuth or positional relationship shown in the accompanying drawings, which is only for the convenience of describing the present utility model rather than requiring the present utility model to be constructed and operated in a specific azimuth. It should not be construed as a limitation of the present invention. The terms "connected" and "connected" used in the present invention should be understood in a broad sense, for example, it may be a fixed connection or a detachable connection; it may be directly connected or indirectly connected through intermediate components. For those of ordinary skill, the specific meanings of the above terms can be understood according to specific situations.
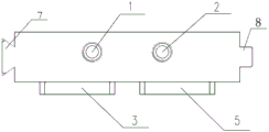
本实用新型提供一种自动扶梯梳齿板保护开关触发力测量装置及其夹紧装置,如图1所示为本施例中夹紧装置的部分剖视图,从图1中可以看出,夹紧装置包括夹紧块,在夹紧块上设置有两个螺孔101和102,两个螺孔用于安装螺栓1和螺栓2,如图2所示;结合图2和图4可知,以图2为夹紧块的正面视角,则图1中的视角为夹紧块的底面,在夹紧块的底面上凸出设置有两组夹紧片,每组夹紧片对应一个螺栓;每组夹紧片为两个平行的片状结构,其中一个为活动夹紧片,另一个为固定夹紧片,如图1所示,活动夹紧片3和固定夹紧片4为一组,活动夹紧片5和固定夹紧片6为另一组。The utility model provides an escalator comb plate protection switch trigger force measuring device and its clamping device. Figure 1 shows a partial cross-sectional view of the clamping device in this embodiment. The device includes a clamping block, and two
从图1和图5可以看出,当螺栓1旋进时其末端接触的夹紧片为活动夹紧片3,与活动夹紧片3平行的为固定夹紧片4,固定夹紧片4设置在夹紧块上且与活动夹紧片3之间存在缝隙;活动夹紧片3设置在贯穿夹紧块上下面的通孔中且活动夹紧片3的一端与通孔内壁连接,便于螺栓1旋进旋出时对活动夹紧片3的挤压位移,使活动夹紧片3与固定夹紧片4之间的缝隙变化,从而实现夹紧和松开。As can be seen from Figure 1 and Figure 5, when the
同样的,活动夹紧片5也设置在贯穿夹紧块上下面的通孔中且活动夹紧片5的一端也与通孔内壁连接,便于螺栓2旋进旋出时对活动夹紧片5的挤压位移,使活动夹紧片5与固定夹紧片6之间的缝隙变化,从而实现夹紧和松开。在使用的过程中,将夹紧片放入踏面梳齿槽内,通过旋转螺栓给活动夹紧片施力,进而挤压活动夹紧片,使活动夹紧片与固定夹紧片之间的缝隙变小从而夹紧踏面梳齿,从而达到固定的目的。Similarly, the
如图9所示,活动夹紧片的一端通过两个连接部连接通孔的内壁,以本实施例中的活动夹紧片3为例,活动夹紧片3连接有第一连接部31,第一连接部31连接有第二连接部32,活动夹紧片3与第二连接部32平行设置并通过第一连接部31连接;通孔的形状设置为用于设置活动夹紧片3、第一连接部31和第二连接部32,第二连接部32的一端与通孔的内壁连接。本实施例中活动夹紧片、第一连接部和第二连接部可以是一体成型设置,也可以是连接设置,根据加工工艺选择不同的成型方式。As shown in FIG. 9 , one end of the movable clamping piece is connected to the inner wall of the through hole through two connecting parts. Taking the
如图2所示,本实施例中夹紧装置两端设置有导轨7和导轨8,其中导轨7为梯形导轨,导轨8为矩形导轨,通过梯形导轨7、矩形导轨8分别与测量装置上的梯形导槽9、矩形导槽10卡合,将夹紧装置安装在如图7所示的测量装置上,在其他实施方式中导轨和对应导槽的形状不限于本实施例给出的结构,可以根据需要采用其他的安装结构。As shown in Figure 2, in this embodiment, both ends of the clamping device are provided with
如图7所示的测量装置上可以安装两个夹紧装置,测量装置包括主体结构11,两个夹紧装置对称设置在主体结构11的两侧,主体结构11上设置有拉压力传动结构的转动拨杆12、拉压力传感器13、球绞14、拉压力显示器15和拉压杆16;拉压力传感器13的一端与拉压杆16通过球绞14进行连接;如图7所示,拉压杆16的头部设置有带有梳齿槽的倒钩,便于在检测由上下运动触发的安全保护开关时勾住梳齿板的下沿。As shown in FIG. 7, two clamping devices can be installed on the measuring device. The measuring device includes a
拉压力传感器13用于测量拉压杆16所承受的拉压力,拉压力显示器15与拉压杆16的上平面连接,拉压力显示器15与拉压力传感器13通过数据线连接,用于接受拉压力传感器13测量的力,经过数据处理并实时显示在显示屏上,方便测试人员读取。The
在本实施例中,拉压力显示器15具备记忆功能、警报功能和蓝牙功能;拉压力显示器15具备记忆功能,可以记录20条最近测量的数据,可以通过显示屏幕旁边的按钮翻看最近20条测量数据;拉压力显示器15还具备警报功能,在调整安全开关触发力时可以使用该功能,根据设定的合理拉压力范围的最大拉压力,提前设置预警拉力和预警压力,当拉压力达到预警拉力或者预警压力时,拉压力显示器15直接发出蜂鸣声,说明梳齿板安全开关触发力过大,扶梯运行时遇到异物卡入时不能及时停止,威胁乘客的安全,此时可停止测量,调整安全开关,直至触发力在设定的合理范围;警报功能可以防止测量装置受力过大而损坏;拉压力显示器15还具备蓝牙功能,可以将测得的拉压力数据通过蓝牙传输给手机、平板电脑等移动客户端,移动客户端可以储存多条测量数据,方便后期统计整个测量情况得出扶梯安全开关的合格率。In this embodiment, the tension and
在测量安全开关触发力时,先将本实施例中的夹紧装置通过导轨安装在测量装置上,然后调整测量装置和拉压杆16至适当的位置,将整个测量装置固定在梯级17上,然后将夹紧装置的活动夹紧片与固定夹紧片卡入梳齿槽内,旋进螺栓从而使测量装置锁紧于梯级17踏面上。用手拨动转动拨杆12旋转,实现拉压杆16的伸缩,在此过程中拉压力传感器13通过球绞14测量拉压杆16所传递过来的力,将测得的数据通过数据线传递给拉压力显示器15,拉压力显示器15将数据处理后通过显示屏实时显示所测量的力。本实施例中拨动转动拨杆12旋转从而实现拉压杆16的伸缩的过程属于现有技术,可以参见申请号为201821482490.3的中国实用新型专利,该专利公开了一种自动扶梯梳齿板安全保护开关触发力测量装置。When measuring the trigger force of the safety switch, first install the clamping device in this embodiment on the measuring device through the guide rail, then adjust the measuring device and the tension and
综上所述,本实用新型提供的自动扶梯梳齿板保护开关触发力测量装置及其夹紧装置,通过螺栓的旋进旋出,实现对活动夹紧片的施力,使得活动夹紧片与固定夹紧片之间的缝隙发生变化,从而将测量装置锁紧在梯级上,从而使得对梳齿板的受力测试效果更加准确,本实用新型采用螺栓旋进旋出的方式调整活动夹紧片和固定夹紧片之间的缝隙,由于螺栓是通过螺纹进行旋进旋出的,因此螺栓末端对活动夹紧片施力大小的调整范围更大,可以根据实际情况对两个夹紧片之间的缝隙进行调整。To sum up, the triggering force measuring device of the escalator comb-tooth plate protection switch and its clamping device provided by the utility model realize the application of force to the movable clamping piece by screwing in and out of the bolt, so that the movable clamping piece can be The gap between it and the fixed clamping piece changes, so that the measuring device is locked on the steps, so that the force test effect on the comb-tooth plate is more accurate. The gap between the clamping piece and the fixed clamping piece, because the bolt is screwed in and out through the thread, the adjustment range of the force exerted by the end of the bolt on the movable clamping piece is larger, and the two clamping pieces can be clamped according to the actual situation. Adjust the gap between the sheets.
以上所述仅为本实用新型的较佳实施例而已,并不用以限制本实用新型,凡在本实用新型的精神和原则之内,所作的任何修改、等同替换、改进等,均在本实用新型待批权利要求保护范围之内。The above are only preferred embodiments of the present invention, and are not intended to limit the present invention. Any modifications, equivalent replacements, improvements, etc. made within the spirit and principles of the present invention are all within the scope of the present invention. Within the scope of protection of the new type of pending claims.
Claims (8)
Priority Applications (1)
| Application Number | Priority Date | Filing Date | Title |
|---|---|---|---|
| CN201921775717.8U CN210763867U (en) | 2019-10-22 | 2019-10-22 | Trigger force measuring device for comb plate protection switch of escalator and clamping device thereof |
Applications Claiming Priority (1)
| Application Number | Priority Date | Filing Date | Title |
|---|---|---|---|
| CN201921775717.8U CN210763867U (en) | 2019-10-22 | 2019-10-22 | Trigger force measuring device for comb plate protection switch of escalator and clamping device thereof |
Publications (1)
| Publication Number | Publication Date |
|---|---|
| CN210763867U true CN210763867U (en) | 2020-06-16 |
Family
ID=71038095
Family Applications (1)
| Application Number | Title | Priority Date | Filing Date |
|---|---|---|---|
| CN201921775717.8U Active CN210763867U (en) | 2019-10-22 | 2019-10-22 | Trigger force measuring device for comb plate protection switch of escalator and clamping device thereof |
Country Status (1)
| Country | Link |
|---|---|
| CN (1) | CN210763867U (en) |
Cited By (2)
| Publication number | Priority date | Publication date | Assignee | Title |
|---|---|---|---|---|
| CN113720518A (en) * | 2021-09-01 | 2021-11-30 | 永大电梯设备(中国)有限公司 | Testing device for comb plate force of escalator |
| CN115371871A (en) * | 2022-08-26 | 2022-11-22 | 广州特种机电设备检测研究院 | Device and method for detecting trigger force of comb plate of escalator |
-
2019
- 2019-10-22 CN CN201921775717.8U patent/CN210763867U/en active Active
Cited By (2)
| Publication number | Priority date | Publication date | Assignee | Title |
|---|---|---|---|---|
| CN113720518A (en) * | 2021-09-01 | 2021-11-30 | 永大电梯设备(中国)有限公司 | Testing device for comb plate force of escalator |
| CN115371871A (en) * | 2022-08-26 | 2022-11-22 | 广州特种机电设备检测研究院 | Device and method for detecting trigger force of comb plate of escalator |
Similar Documents
| Publication | Publication Date | Title |
|---|---|---|
| CN210763867U (en) | Trigger force measuring device for comb plate protection switch of escalator and clamping device thereof | |
| CN108892024A (en) | Automatic staircase comb plate safety protection switch trigger force measuring device and measuring method | |
| CN209264173U (en) | Static brake force checking device for safety tongs | |
| CN203551149U (en) | Soil pressure measuring device | |
| CN210763868U (en) | Escalator safety protection switch trigger force measuring device and clamping device thereof | |
| CN106679577A (en) | Automated instrument and method for measuring gap at most unfavorable point of elevator door | |
| CN209226343U (en) | A Measuring Device for Engagement Depth of Elevator Landing Door Locks | |
| CN215177713U (en) | Portable device for measuring inclination angle of electric pole | |
| CN110422718A (en) | Door lock of elevator depth of engagement detector and elevator device | |
| CN110271933B (en) | Elevator limit switch detection method and system | |
| CN208856767U (en) | Trigger force measurement device for safety protection switch of escalator comb-tooth plate | |
| CN118857529A (en) | A cableway hoist load online detection device | |
| CN217504604U (en) | Electrician's aluminium pole machining precision detection device | |
| CN210528149U (en) | Elevator limit switch detection system | |
| CN217320110U (en) | Over-temperature alarm for battery of electric automobile | |
| CN214569892U (en) | Elevator steel structure roof beam warp detection device | |
| CN205984432U (en) | Dedicated rice of counting of cable processing production detects tensile machine of being qualified for next round of competitions | |
| CN212482326U (en) | Electrical detection automation equipment | |
| CN209507370U (en) | A kind of traction elevator steel wire tensioning power error measuring means | |
| CN115728126A (en) | An online detection device for broken wires and strands of hoisting wire ropes | |
| CN216898863U (en) | Elevator layer door deformation detection positioner | |
| CN220602488U (en) | Wire measuring device | |
| CN208419908U (en) | A kind of door lock of elevator depth of engagement measuring device | |
| CN219869500U (en) | Cable sheath bulge detection device and cable production line | |
| CN208270105U (en) | A kind of power cable temperature-measurindevice device |
Legal Events
| Date | Code | Title | Description |
|---|---|---|---|
| GR01 | Patent grant | ||
| GR01 | Patent grant | ||
| TR01 | Transfer of patent right | ||
| TR01 | Transfer of patent right |
Effective date of registration: 20240608 Address after: 510663 No.9, Keke Road, Huangpu District, Guangzhou City, Guangdong Province Patentee after: Guangzhou Special Equipment Testing and Research Institute (Guangzhou Special Equipment Accident Investigation Technology Center Guangzhou Elevator Safety Operation Monitoring Center) Country or region after: China Address before: 6 / F, Liurong building, 65 Liurong Road, Yuexiu District, Guangzhou, Guangdong 510180 Patentee before: GUANGZHOU ACADEMY OF SPECIAL EQUIPMENT INSPECTION & TESTING Country or region before: China |
