CN210749961U - 一种新生儿头部护理用防头偏装置 - Google Patents
一种新生儿头部护理用防头偏装置 Download PDFInfo
- Publication number
- CN210749961U CN210749961U CN201921257967.2U CN201921257967U CN210749961U CN 210749961 U CN210749961 U CN 210749961U CN 201921257967 U CN201921257967 U CN 201921257967U CN 210749961 U CN210749961 U CN 210749961U
- Authority
- CN
- China
- Prior art keywords
- ring body
- head
- shaped ring
- cotton
- neonatal
- Prior art date
- Legal status (The legal status is an assumption and is not a legal conclusion. Google has not performed a legal analysis and makes no representation as to the accuracy of the status listed.)
- Active
Links
Images
Landscapes
- Orthopedics, Nursing, And Contraception (AREA)
Abstract
本实用新型公开了一种新生儿头部护理用防头偏装置,其结构包括保护垫、限位件、连接件、凸块、平板、U环体、螺丝和橡胶垫,该新生儿头部护理用防头偏装置通过设置了保护垫、连接件和U环体,在使用时,在U环体内设置了多个弹簧进行内缓冲,增强了保护垫与U环体间的缓冲弹性,U环体内结构能很好的将保护垫上的受力分散给各个弹簧进行缓冲,在对新生儿头部护理进行限位固定时,将新生儿头部缓慢靠近U环体上的U形口处,转动限位件,调节左接杆与螺纹套的相对位置,从而改变限位件所在的位置,调节至限位件倾斜贴合新生儿头部即可,限位件上材质选用泡沫主体、海绵层,贴合头部较为舒适。
Description
技术领域
本实用新型涉及新生儿护理技术领域,具体涉及一种新生儿头部护理用防头偏装置。
背景技术
新生儿,就是指的是胎儿娩出母体并自脐带结扎起,至出生后满28天这一段时间的婴儿,在医院的护婴室内护士需要对新生儿进行看护,新生儿自我控制意识较差,在护士对新生儿进行头部护理时,如果新生儿头部下意识移动,会给护士护理工作带来麻烦,同时对新生儿也具有一定的安全隐患,现有技术中装置对新生儿的固定效果较差,新生儿的舒适度体验较差,难以提升防头偏的使用效果,同时增强对新生儿的防护性。
实用新型内容
(一)要解决的技术问题
为了克服现有技术不足,现提出一种新生儿头部护理用防头偏装置,解决了现有技术中装置对新生儿的固定效果较差,新生儿的舒适度体验较差,难以提升防头偏的使用效果,同时增强对新生儿防护性的问题,达到了防头偏效果好、防护性强、简单实用的优点。
(二)技术方案
本实用新型通过如下技术方案实现:本实用新型提出了一种新生儿头部护理用防头偏装置,包括保护垫、限位件、连接件、凸块、平板、U环体、螺丝和橡胶垫,所述限位件通过连接件与U环体转动连接,所述凸块底面与平板顶面相粘合,所述平板外表面嵌入于U环体内,所述U环体右侧上贯穿连接有螺丝,所述U环体底面与橡胶垫顶面相粘合,所述U环体通过凸块与保护垫底端匹配对接,所述保护垫包括棉布、棉花、紧固口和对应口,所述棉布内紧密填充有棉花,所述棉布与U环体顶面相贴合,所述棉布上贯穿设有紧固口、对应口,所述连接件包括左接杆、螺纹套和右接杆,所述接杆与螺纹套内表面螺纹连接,所述右接杆右侧与限位件相连接,所述U环体包括主壳、方块、弹簧和缓冲板,所述主壳内部底面上设有缓冲板,所述缓冲板顶端弹性抵接于弹簧上,所述方块顶端与平板相粘接。
进一步的,所述紧固口与凸块匹配对接,所述对应口与螺丝匹配对接,所述右接杆位于U环体内部,所述左接杆与右接杆一体化成型。
进一步的,所述限位件包括泡沫主体和海绵层,所述泡沫主体背侧紧固于连接件上,所述泡沫主体外侧周围上嵌入有海绵层。
进一步的,所述弹簧共设有8个,并且每个平板对称安装有4个弹簧。
进一步的,所述螺纹套紧固于U环体内部。
进一步的,所述保护垫、U环体的整体主观外形相同。
进一步的,所述限位件的高度大于U环体的高度。
进一步的,所述弹簧采用弹簧钢制成,弹性势能较大。
进一步的,所述橡胶垫采用软橡胶制成,缓冲性较好。
(三)有益效果
本实用新型相对于现有技术,具有以下有益效果:
1)、为解决现有技术中装置对新生儿的固定效果较差,新生儿的舒适度体验较差,难以提升防头偏的使用效果,同时增强对新生儿防护性的问题,通过设置了保护垫、连接件和U环体,在使用时,在U环体内设置了多个弹簧进行内缓冲,增强了保护垫与U环体间的缓冲弹性,U环体内结构能很好的将保护垫上的受力分散给各个弹簧进行缓冲,在达到弹簧弹性极限时,弹簧的回复力和保护垫上棉布内填充的棉花保护性增强,双层缓冲保护,保护效果好,在对新生儿头部护理进行限位固定时,将新生儿头部缓慢靠近U环体上的U形口处,转动限位件,调节左接杆与螺纹套的相对位置,从而改变限位件所在的位置,调节至限位件倾斜贴合新生儿头部即可,限位件上材质选用泡沫主体、海绵层,贴合头部较为舒适。
附图说明
通过阅读参照以下附图对非限制性实施例所作的详细描述,本实用新型的其它特征、目的和优点将会变得更明显:
图1为本实用新型的结构示意图;
图2为本实用新型保护垫的结构示意图;
图3为本实用新型U环体的结构示意图;
图4为本实用新型连接件的结构示意图;
图5为本实用新型限位件的结构示意图。
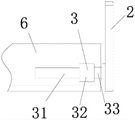
图中:保护垫-1、限位件-2、连接件-3、凸块-4、平板-5、U环体-6、螺丝-7、橡胶垫-8、棉布-11、棉花-12、紧固口-13、对应口-14、左接杆-31、螺纹套-32、右接杆-33、主壳-61、方块-62、弹簧-63、缓冲板-64、泡沫主体-21、海绵层-22。
具体实施方式
为了使本实用新型的目的、技术方案及优点更加清楚明白,以下结合附图及实施例,对本实用新型进行进一步详细说明。应当理解,此处所描述的具体实施例仅仅用以解释本实用新型,并不用于限定本实用新型。
请参阅图1、图2、图3、图4和图5,本实用新型提供一种新生儿头部护理用防头偏装置:包括保护垫1、限位件2、连接件3、凸块4、平板5、U环体6、螺丝7和橡胶垫8,限位件2通过连接件3与U环体6转动连接,凸块4底面与平板5顶面相粘合,平板5外表面嵌入于U环体6内,U环体6右侧上贯穿连接有螺丝7,U环体6底面与橡胶垫8顶面相粘合,U环体6通过凸块4与保护垫1底端匹配对接,保护垫1包括棉布11、棉花12、紧固口13和对应口14,棉布11内紧密填充有棉花12,棉布11与U环体6顶面相贴合,棉布11上贯穿设有紧固口13、对应口14,连接件3包括左接杆31、螺纹套32和右接杆33,接杆31与螺纹套32内表面螺纹连接,右接杆33右侧与限位件2相连接,U环体6包括主壳61、方块62、弹簧63和缓冲板64,主壳61内部底面上设有缓冲板64,缓冲板64顶端弹性抵接于弹簧63上,方块62顶端与平板5相粘接。
其中,所述紧固口13与凸块4匹配对接,所述对应口14与螺丝7匹配对接,所述右接杆33位于U环体6内部,所述左接杆31与右接杆33一体化成型。
其中,所述限位件2包括泡沫主体21和海绵层22,所述泡沫主体21背侧紧固于连接件3上,所述泡沫主体21外侧周围上嵌入有海绵层22。
其中,所述弹簧63共设有8个,并且每个平板5对称安装有4个弹簧63。
其中,所述螺纹套32紧固于U环体6内部,便于对限位件2进行转动调节,调节效果好。
其中,所述保护垫1、U环体6的整体主观外形相同,便于嵌接构成一个临时整体。
其中,所述限位件2的高度大于U环体6的高度,利于转动调节防止新生儿头部偏移。
其中,所述弹簧63采用弹簧钢制成,弹性势能较大。
其中,所述橡胶垫8采用软橡胶制成,缓冲性较好。
根据上表所示,本实用新型弹簧63采用弹簧钢制成,弹性势能较大。
本专利所述的弹簧63,是一种利用弹性来工作的机械零件,用弹性材料制成的零件在外力作用下发生形变,除去外力后又恢复原状,亦作“弹簧”,一般用弹簧钢制成,弹簧的种类复杂多样,按形状分,主要有螺旋弹簧、涡卷弹簧、板弹簧、异型弹簧等;所述橡胶垫8,是一种橡胶制品,其缓冲性能较为优异,使用效果好。
工作原理:在使用新生儿头部护理用防头偏装置时,首先,将U环体6利用螺丝7固定在相应的位置,固定后将保护垫1底端的紧固口13、对应口14分别对应套入凸块4、螺丝7顶端,为了增强保护垫1与U环体6间的缓冲弹性,在U环体6内设置了弹簧63进行内缓冲,凸块4受力向下推动平板5,平板5通过方块62使弹簧63挤压发生弹性形变,上述结构能很好的将保护垫1上的受力分散给各个弹簧63进行缓冲,在达到弹簧63弹性极限时,弹簧63的回复力和保护垫1上棉布11内填充的棉花12保护性增强,双层缓冲保护,保护效果好;其次,在对新生儿头部护理进行限位固定时,将新生儿头部缓慢靠近U环体6上的U形口处,转动限位件2,调节左接杆31与螺纹套32的相对位置,从而改变限位件2所在的位置,调节至限位件2倾斜贴合新生儿头部即可;最后,限位件2上材质选用泡沫主体21、海绵层22,贴合头部较为舒适。
以上显示和描述了本实用新型的基本原理和主要特征和本实用新型的优点,对于本领域技术人员而言,显然本实用新型不限于上述示范性实施例的细节,而且在不背离本实用新型的精神或基本特征的情况下,能够以其他的具体形式实现本实用新型。因此,无论从哪一点来看,均应将实施例看作是示范性的,而且是非限制性的,本实用新型的范围由所附权利要求而不是上述说明限定,因此旨在将落在权利要求的等同要件的含义和范围内的所有变化囊括在本实用新型内。不应将权利要求中的任何附图标记视为限制所涉及的权利要求。
此外,应当理解,虽然本说明书按照实施方式加以描述,但并非每个实施方式仅包含一个独立的技术方案,说明书的这种叙述方式仅仅是为清楚起见,本领域技术人员应当将说明书作为一个整体,各实施例中的技术方案也可以经适当组合,形成本领域技术人员可以理解的其他实施方式。
Claims (7)
1.一种新生儿头部护理用防头偏装置,包括限位件(2)、凸块(4)、平板(5)、螺丝(7)和橡胶垫(8),所述限位件(2)通过连接件(3)与U环体(6)转动连接,所述凸块(4)底面与平板(5)顶面相粘合,所述平板(5)外表面嵌入于U环体(6)内,所述U环体(6)右侧上贯穿连接有螺丝(7),所述U环体(6)底面与橡胶垫(8)顶面相粘合,所述U环体(6)通过凸块(4)与保护垫(1)底端匹配对接;
其特征在于:还包括保护垫(1)、连接件(3)和U环体(6),所述保护垫(1)包括棉布(11)、棉花(12)、紧固口(13)和对应口(14),所述棉布(11)内紧密填充有棉花(12),所述棉布(11)与U环体(6)顶面相贴合,所述棉布(11)上贯穿设有紧固口(13)、对应口(14),所述连接件(3)包括左接杆(31)、螺纹套(32)和右接杆(33),所述接杆(31)与螺纹套(32)内表面螺纹连接,所述右接杆(33)右侧与限位件(2)相连接,所述U环体(6)包括主壳(61)、方块(62)、弹簧(63)和缓冲板(64),所述主壳(61)内部底面上设有缓冲板(64),所述缓冲板(64)顶端弹性抵接于弹簧(63)上,所述方块(62)顶端与平板(5)相粘接。
2.根据权利要求1所述的一种新生儿头部护理用防头偏装置,其特征在于:所述紧固口(13)与凸块(4)匹配对接,所述对应口(14)与螺丝(7)匹配对接,所述右接杆(33)位于U环体(6)内部,所述左接杆(31)与右接杆(33)一体化成型。
3.根据权利要求1所述的一种新生儿头部护理用防头偏装置,其特征在于:所述限位件(2)包括泡沫主体(21)和海绵层(22),所述泡沫主体(21)背侧紧固于连接件(3)上,所述泡沫主体(21)外侧周围上嵌入有海绵层(22)。
4.根据权利要求1所述的一种新生儿头部护理用防头偏装置,其特征在于:所述弹簧(63)共设有8个,并且每个平板(5)对称安装有4个弹簧(63)。
5.根据权利要求1所述的一种新生儿头部护理用防头偏装置,其特征在于:所述螺纹套(32)紧固于U环体(6)内部。
6.根据权利要求1所述的一种新生儿头部护理用防头偏装置,其特征在于:所述保护垫(1)、U环体(6)的整体主观外形相同。
7.根据权利要求1所述的一种新生儿头部护理用防头偏装置,其特征在于:所述限位件(2)的高度大于U环体(6)的高度。
Priority Applications (1)
| Application Number | Priority Date | Filing Date | Title |
|---|---|---|---|
| CN201921257967.2U CN210749961U (zh) | 2019-08-05 | 2019-08-05 | 一种新生儿头部护理用防头偏装置 |
Applications Claiming Priority (1)
| Application Number | Priority Date | Filing Date | Title |
|---|---|---|---|
| CN201921257967.2U CN210749961U (zh) | 2019-08-05 | 2019-08-05 | 一种新生儿头部护理用防头偏装置 |
Publications (1)
| Publication Number | Publication Date |
|---|---|
| CN210749961U true CN210749961U (zh) | 2020-06-16 |
Family
ID=71052221
Family Applications (1)
| Application Number | Title | Priority Date | Filing Date |
|---|---|---|---|
| CN201921257967.2U Active CN210749961U (zh) | 2019-08-05 | 2019-08-05 | 一种新生儿头部护理用防头偏装置 |
Country Status (1)
| Country | Link |
|---|---|
| CN (1) | CN210749961U (zh) |
-
2019
- 2019-08-05 CN CN201921257967.2U patent/CN210749961U/zh active Active
Similar Documents
| Publication | Publication Date | Title |
|---|---|---|
| US20240374057A1 (en) | Pillow and pillowcase | |
| CN210749961U (zh) | 一种新生儿头部护理用防头偏装置 | |
| KR101820357B1 (ko) | 지압돌기가 구비되는 안마베개 | |
| CN202112766U (zh) | 枕头 | |
| CN210785787U (zh) | 一种儿科护理输液用固定夹板 | |
| CN211485376U (zh) | 一种新生儿俯卧位通气枕 | |
| CN218852916U (zh) | 一种甲状腺术前的头颈后仰过伸体位训练枕 | |
| CN203524907U (zh) | 可调节式俯卧面部支撑装置 | |
| CN219148198U (zh) | 一种防压疮的耳套 | |
| WO2021121010A1 (zh) | 一种俯卧辅助垫 | |
| CN218451534U (zh) | 一种悬空头部伤口的枕头 | |
| CN203969934U (zh) | 一种可供趴桌休息的枕头 | |
| CN201814267U (zh) | 一种组合式棕丝枕头 | |
| CN203709701U (zh) | 一种磁疗舒颈保健枕 | |
| CN216256514U (zh) | 一种用于耳术后的枕头 | |
| CN217744881U (zh) | 脊柱畸形患者防压疮床垫 | |
| CN222675885U (zh) | 一种高回弹海绵枕 | |
| CN219306096U (zh) | 一种隔离面罩 | |
| CN217828321U (zh) | 一种甲状腺术前体位训练枕 | |
| CN104771263A (zh) | 套装颈椎修复枕 | |
| CN215226548U (zh) | 一种带有散热功能的枕头 | |
| CN201523877U (zh) | 曲面体保健床垫 | |
| CN208447119U (zh) | 一种静态磁疗靠枕 | |
| CN201468768U (zh) | 凹形枕 | |
| CN216854281U (zh) | 一种方便清洗的母乳喂养的哺乳枕 |
Legal Events
| Date | Code | Title | Description |
|---|---|---|---|
| GR01 | Patent grant | ||
| GR01 | Patent grant |
