CN210731074U - Dotting and drilling device of connector drilling machine - Google Patents
Dotting and drilling device of connector drilling machine Download PDFInfo
- Publication number
- CN210731074U CN210731074U CN201921534474.9U CN201921534474U CN210731074U CN 210731074 U CN210731074 U CN 210731074U CN 201921534474 U CN201921534474 U CN 201921534474U CN 210731074 U CN210731074 U CN 210731074U
- Authority
- CN
- China
- Prior art keywords
- plate
- drilling
- drilling machine
- bottom plate
- vertical plate
- Prior art date
- Legal status (The legal status is an assumption and is not a legal conclusion. Google has not performed a legal analysis and makes no representation as to the accuracy of the status listed.)
- Expired - Fee Related
Links
Images
Landscapes
- Perforating, Stamping-Out Or Severing By Means Other Than Cutting (AREA)
Abstract
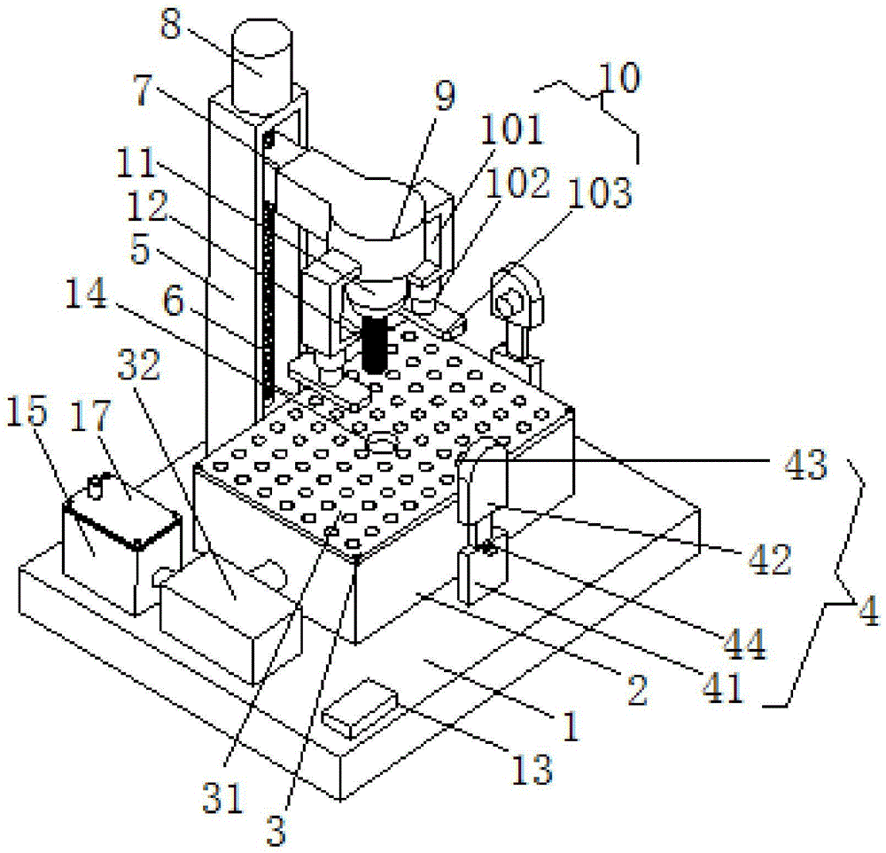
本实用新型公开了一种接插件钻孔机的打点钻孔装置,包括底板、吸屑结构、定位结构和压料结构,底板的上端配合设有框板,底板的上端后侧设有凹槽立板,凹槽立板的上下内壁通过轴承与丝杆的两端转动连接,丝杆与调节支块螺纹连接,调节支块两侧的滑块在凹槽立板内壁的滑槽内滑动连接,凹槽立板的上端设有电机,电机的输出轴穿过凹槽立板的上端通孔并与丝杆的上端固定连接,该钻孔机的打点钻孔装置,能够快速定位打孔位置,实现高效打孔作业,并能够始终压持物件进行固定,避免偏移造成打孔质量不佳情况的发生,能够及时吸走产生的灰渣残屑和除味,并且便于清洁与器件的维护,保证钻孔加工环境。
The utility model discloses a spot drilling device of a connector drilling machine, which comprises a bottom plate, a chip suction structure, a positioning structure and a material pressing structure. The upper end of the bottom plate is matched with a frame plate, and the rear side of the upper end of the bottom plate is provided with a groove The vertical plate, the upper and lower inner walls of the groove vertical plate are rotatably connected with the two ends of the screw rod through the bearing, the screw rod is threadedly connected with the adjusting support block, and the sliders on both sides of the adjusting support block are slidably connected in the chute on the inner wall of the groove vertical plate. The upper end of the groove vertical plate is provided with a motor, and the output shaft of the motor passes through the upper through hole of the groove vertical plate and is fixedly connected with the upper end of the screw rod. The drilling device of the drilling machine can quickly locate the drilling position , to achieve efficient drilling operation, and can always hold the object for fixing, avoid the occurrence of poor drilling quality caused by offset, can absorb the generated ash residue and deodorize in time, and facilitate cleaning and device maintenance , to ensure the drilling environment.
Description
技术领域technical field
本实用新型涉及打孔设备技术领域,具体为一种接插件钻孔机的打点钻孔装置。The utility model relates to the technical field of drilling equipment, in particular to a spot drilling device of a connector drilling machine.
背景技术Background technique
钻孔机是指利用比目标物更坚硬、更锐利的工具通过旋转切削或旋转挤压的方式,在目标物上留下圆柱形孔或洞的机械和设备统称,也有称为钻机、打孔机、打眼机、通孔机等,通过对精密部件进行钻孔,来达到预期的效果,钻孔机有半自动钻孔机和全自动钻孔机,随着人力资源成本的增加,大多数企业均考虑全自动钻孔机作为发展方向,随着时代的发展,自动钻孔机的钻孔技术的提升,采用全自动钻孔机对各种五金模具、表带钻孔、表带钻孔和首饰进行钻孔优势明显,但传统的钻孔机的打点钻孔装置在用于电子接插件上存在诸多问题,不能够快速对电子接插件进行定位打孔,从而无法高效打孔作业,并不能够始终压持物件进行固定,无法避免偏移造成打孔质量不佳情况的发生,不能够及时吸走产生的灰渣残屑和除味,并且不便于清洁与器件的维护,钻孔加工环境恶劣,因此能够解决此类问题的一种接插件钻孔机的打点钻孔装置的实现势在必行。Drilling machine is a general term for machinery and equipment that use a tool that is harder and sharper than the target to leave cylindrical holes or holes on the target by rotary cutting or rotary extrusion. Drilling machines, drilling machines, through-hole machines, etc., achieve the desired effect by drilling precision components. Drilling machines include semi-automatic drilling machines and fully automatic drilling machines. With the increase in human resource costs, most enterprises Fully automatic drilling machines are considered as the development direction. With the development of the times, the drilling technology of automatic drilling machines has been improved. The advantages of drilling jewelry are obvious, but there are many problems with the traditional drilling machine's spot drilling device used for electronic connectors. It can always hold the object to fix it, and it is unavoidable to avoid the occurrence of poor drilling quality caused by offset. It cannot absorb the generated ash residue and deodorize in time, and it is not convenient for cleaning and device maintenance. Drilling processing environment Therefore, it is imperative to realize a spot drilling device for a connector drilling machine that can solve such problems.
实用新型内容Utility model content
本实用新型要解决的技术问题是克服现有的缺陷,提供一种接插件钻孔机的打点钻孔装置,能够快速定位打孔位置,实现高效打孔作业,并能够始终压持物件进行固定,保证钻孔加工环境,可以有效解决背景技术中的问题。The technical problem to be solved by the utility model is to overcome the existing defects, and provide a spot drilling device for a connector drilling machine, which can quickly locate the drilling position, realize efficient drilling operation, and can always hold the object for fixing , ensuring the drilling processing environment, and can effectively solve the problems in the background technology.
为实现上述目的,本实用新型提供如下技术方案:一种接插件钻孔机的打点钻孔装置,包括底板、吸屑结构、定位结构和压料结构;In order to achieve the above purpose, the utility model provides the following technical solutions: a spot drilling device for a connector drilling machine, comprising a bottom plate, a chip suction structure, a positioning structure and a pressing material structure;
底板:所述底板的上端配合设有框板,底板的上端后侧设有凹槽立板,凹槽立板的上下内壁通过轴承与丝杆的两端转动连接,丝杆与调节支块螺纹连接,调节支块两侧的滑块在凹槽立板内壁的滑槽内滑动连接,凹槽立板的上端设有电机,电机的输出轴穿过凹槽立板的上端通孔并与丝杆的上端固定连接,调节支块的前侧设有支撑板;Bottom plate: the upper end of the bottom plate is matched with a frame plate, the rear side of the upper end of the bottom plate is provided with a groove vertical plate, the upper and lower inner walls of the groove vertical plate are rotatably connected with the two ends of the screw rod through bearings, and the screw rod and the adjusting support block are threaded Connection, the sliders on both sides of the adjusting support block are slidably connected in the chute on the inner wall of the groove vertical plate, the upper end of the groove vertical plate is provided with a motor, and the output shaft of the motor passes through the upper through hole of the groove vertical plate and is connected with the wire. The upper end of the rod is fixedly connected, and the front side of the adjusting support block is provided with a support plate;
吸屑结构:所述吸屑结构配合设置于框板的上端,且与底板的上端配合安装;Chip suction structure: the chip suction structure is arranged on the upper end of the frame plate, and is installed with the upper end of the bottom plate;
定位结构:所述定位结构配合设置于底板的上端;Positioning structure: the positioning structure is cooperatively arranged on the upper end of the bottom plate;
压料结构:所述压料结构对称设置于支撑板的外壁面上;Pressing material structure: the pressing material structure is symmetrically arranged on the outer wall surface of the support plate;
其中:还包括钻孔机、钻头和控制开关组,所述钻孔机配合设置于支撑板的底面,钻头设置于钻孔机底端的夹头内,控制开关组设置于底板的上端,控制开关组的输入端电连接外部电源,电机和钻孔机的输入端均电连接控制开关组的输出端,能够快速定位打孔位置,实现高效打孔作业,并能够始终压持物件进行固定,避免偏移造成打孔质量不佳情况的发生,能够及时吸走产生的灰渣残屑和除味,并且便于清洁与器件的维护,保证钻孔加工环境。Wherein: it also includes a drilling machine, a drill bit and a control switch group, the drilling machine is arranged on the bottom surface of the support plate, the drill bit is arranged in the chuck at the bottom end of the drilling machine, the control switch group is arranged on the upper end of the bottom plate, and the control switch The input end of the group is electrically connected to the external power supply, and the input ends of the motor and the drilling machine are both electrically connected to the output end of the control switch group, which can quickly locate the punching position, realize efficient punching operations, and can always hold the object for fixing, avoiding The deviation causes poor drilling quality, which can absorb the generated ash residue and deodorize in time, facilitate cleaning and device maintenance, and ensure the drilling processing environment.
进一步的,所述吸屑结构包括漏孔板、抽气泵、吸管、滤网和过滤棉,所述漏孔板通过螺栓配合安装在框板的上端,抽气泵设置于底板的上端左侧,抽气泵的进气口通过吸管与框板的左壁出气口相连,滤网配合设置于吸管的内部,过滤棉配合设置于滤网的右壁面上,抽气泵的输入端电连接控制开关组的输出端,实现灰渣残屑的及时吸走存储,净化打孔环境。Further, the chip suction structure includes a leak hole plate, an air pump, a suction pipe, a filter screen and a filter cotton, the leak hole plate is installed on the upper end of the frame plate through bolts, and the air suction pump is arranged on the left side of the upper end of the The air inlet of the air pump is connected with the air outlet of the left wall of the frame plate through the suction pipe, the filter screen is arranged inside the suction pipe, the filter cotton is arranged on the right wall surface of the filter screen, and the input end of the air pump is electrically connected to the output of the control switch group. It can realize the timely suction and storage of ash residue and purify the punching environment.
进一步的,所述定位结构包括支板、伸缩板、电子激光灯和调节旋钮,所述支板分别配合设置于底板的上端前侧和右侧,伸缩板底端的滑板在支板上端的滑槽内滑动连接,实现打孔位置的对齐定位。Further, the positioning structure includes a support plate, a telescopic plate, an electronic laser light and an adjustment knob. The support plate is respectively arranged on the front side and the right side of the upper end of the bottom plate, and the slide plate at the bottom end of the telescopic plate is in the chute at the upper end of the support plate. The inner sliding connection realizes the alignment and positioning of the punching position.
进一步的,所述压料结构包括架板、电动伸缩杆和压板,所述架板对称设置于支撑板的外壁面上,电动伸缩杆设置于对应的架板底端,压板设置于对应的电动伸缩杆伸缩端底部,电动伸缩杆的输入端电连接控制开关组的输出端,能够始终压料,保证打孔质量。Further, the material pressing structure includes a shelf plate, an electric telescopic rod and a pressure plate, the shelf plate is symmetrically arranged on the outer wall surface of the support plate, the electric telescopic rod is arranged on the bottom end of the corresponding shelf plate, and the pressure plate is arranged on the corresponding electric At the bottom of the telescopic end of the telescopic rod, the input end of the electric telescopic rod is electrically connected to the output end of the control switch group, which can always press the material and ensure the punching quality.
进一步的,还包括钻口,所述钻口设置于漏孔板的中部,且与钻头对应配合设置,保证管穿孔的打通。Further, it also includes a drill hole, the drill hole is arranged in the middle of the leakage hole plate, and is arranged correspondingly with the drill bit to ensure the perforation of the pipe is opened.
进一步的,还包括除味箱、活性炭小球和箱盖,所述除味箱设置于底板的上端,除味箱的上端为开口结构,活性炭小球填充于除味箱的内部,箱盖通过螺栓配合安装在除味箱的上端,箱盖上部出气口处设有排气管,除味箱的进气口通过导气管与抽气泵的出气口相连,实现气体的除味。Further, it also includes a deodorization box, activated carbon pellets and a box cover, the deodorization box is arranged on the upper end of the bottom plate, the upper end of the deodorization box is an open structure, the activated carbon pellets are filled in the interior of the deodorization box, and the box cover passes through the box. The bolts are installed on the upper end of the deodorization box, and the air outlet on the upper part of the box cover is provided with an exhaust pipe.
进一步的,所述电子激光灯设置于对应的伸缩板内侧壁上,调节旋钮设置于对应的支板前端,且与对应的伸缩板配合安装,两个电子激光灯垂直设置,且均与钻头配合设置。Further, the electronic laser light is arranged on the inner side wall of the corresponding telescopic plate, the adjustment knob is arranged on the front end of the corresponding support plate, and is installed in cooperation with the corresponding telescopic plate, and the two electronic laser lights are arranged vertically, and both cooperate with the drill bit. set up.
与现有技术相比,本实用新型的有益效果是:本钻孔机的打点钻孔装置,具有以下好处:Compared with the prior art, the beneficial effects of the present utility model are: the spot drilling device of the drilling machine has the following advantages:
1、将待钻孔物件放置于框板上端的漏孔板上,由于伸缩板底端的滑板在支板上端的滑槽内滑动连接,调节伸缩板的伸缩程度,来调节对应的电子激光灯的高度,保证电子激光灯打出直线光束在钻孔物件上表面画上一条直线,调节完毕后锁止调节旋钮将伸缩板固定,两个电子激光灯垂直交汇处对准实现标记的打孔位,便于打孔定位,此时打孔位的底端与钻口对齐。1. Place the object to be drilled on the leaking hole plate at the upper end of the frame plate. Since the sliding plate at the bottom end of the telescopic plate is slidably connected in the chute at the upper end of the support plate, adjust the telescopic degree of the telescopic plate to adjust the corresponding electronic laser light. The height ensures that the electronic laser light emits a straight beam and draws a straight line on the upper surface of the drilling object. After the adjustment is completed, the adjustment knob is locked to fix the telescopic plate. Positioning the hole, at this time the bottom end of the hole is aligned with the drill hole.
2、通过控制开关组调控,电机运转,输出轴转动,由于凹槽立板的上下内壁通过轴承与丝杆的两端转动连接,丝杆与调节支块螺纹连接,调节支块两侧的滑块在凹槽立板内壁的滑槽内滑动连接,实现调节支块、支撑板、钻孔机和钻头下伸,下伸至钻头接触物件打孔面时电机停止运转,之后架板底端的电动伸缩杆伸展,带动压板压持物件打孔位置的两侧,避免偏移造成打孔质量不佳情况的发生,钻孔机运转,输出轴转动带动钻头旋转,进而对接触打孔面旋转钻孔,电机继续匀速运转,稳定带动下方钻头旋转打孔下移,保证打孔深度,与此同时电动伸缩杆同幅度收缩,保证压板始终压持物件,实现对物件的高效打孔作业,时时对物件进行固定。2. Through the control of the switch group, the motor runs and the output shaft rotates. Since the upper and lower inner walls of the groove vertical plate are rotatably connected to both ends of the screw rod through bearings, the screw rod is threadedly connected to the adjustment support block, and the sliding movement on both sides of the adjustment support block is threaded. The block is slidably connected in the chute on the inner wall of the groove vertical plate, so as to adjust the support block, the support plate, the drilling machine and the drill bit. The telescopic rod is stretched to drive the pressure plate to hold the two sides of the punching position of the object, so as to avoid the occurrence of poor punching quality caused by offset. , the motor continues to run at a constant speed, and stably drives the lower drill bit to rotate and drill down to ensure the drilling depth. At the same time, the electric telescopic rod shrinks at the same amplitude to ensure that the pressing plate always presses the object, and realizes efficient drilling of the object. to be fixed.
3、通过控制开关组调控,打孔过程中产生的灰渣残屑,通过抽气泵运转抽气,在负压的情况下,通过漏孔板将灰渣残屑吸入框板内部,在滤网和过滤棉的过滤阻隔作用下,灰渣残屑被阻隔在框板内部,而气体通过吸管和导气管进入除味箱中,在活性炭小球的作用下除味,之后通过除味箱上端的排气管排出,保证钻孔加工环境,使用完毕后,各结构清洁恢复原样,由于漏孔板通过螺栓配合安装在框板的上端,定期拆卸分离漏孔板,清理内部灰渣残屑和更换维护滤网和过滤棉,能够及时吸走产生的灰渣残屑和除味,并且便于清洁与器件的维护,保证钻孔加工环境。3. Through the control of the control switch group, the ash residue generated during the drilling process is pumped through the operation of the suction pump, and in the case of negative pressure, the ash residue is sucked into the frame plate through the leaking plate, and the ash residue is drawn into the filter screen. Under the filtration and barrier action of filter cotton, the ash residue is blocked inside the frame plate, and the gas enters the deodorization box through the straw and the air duct, and is deodorized under the action of activated carbon balls, and then passes through the upper end of the deodorization box. The exhaust pipe is discharged to ensure the drilling processing environment. After use, all structures are clean and restored to their original state. Since the leakage plate is installed on the upper end of the frame plate through bolts, the leakage plate is regularly disassembled and separated, and the internal ash and debris are cleaned and replaced. Maintaining the filter screen and filter cotton can absorb the generated ash residue and deodorize in time, facilitate cleaning and device maintenance, and ensure the drilling processing environment.
附图说明Description of drawings
图1为本实用新型正面结构示意图;Fig. 1 is the front structure schematic diagram of the utility model;
图2为本实用新型吸屑结构内部剖视平面结构示意图;2 is a schematic diagram of the internal cross-sectional plan structure of the chip suction structure of the present invention;
图3为本实用新型除味箱内部剖视平面结构示意图。FIG. 3 is a schematic view of the internal cross-sectional plan structure of the deodorizing box of the present invention.
图中:1底板、2框板、3吸屑结构、31漏孔板、32抽气泵、33吸管、34滤网、35过滤棉、4定位结构、41支板、42伸缩板、43电子激光灯、44调节旋钮、5凹槽立板、6丝杆、7调节支块、8电机、9支撑板、10压料结构、101架板、102电动伸缩杆、103压板、11钻孔机、12钻头、13控制开关组、14钻口、15除味箱、16活性炭小球、17箱盖。In the picture: 1 bottom plate, 2 frame plate, 3 chip suction structure, 31 leak hole plate, 32 air pump, 33 straw, 34 filter screen, 35 filter cotton, 4 positioning structure, 41 support plate, 42 telescopic plate, 43 electronic laser Lamp, 44 adjustment knob, 5 groove vertical plate, 6 screw rod, 7 adjustment support block, 8 motor, 9 support plate, 10 pressing material structure, 101 frame plate, 102 electric telescopic rod, 103 pressing plate, 11 drilling machine, 12 drill bits, 13 control switch groups, 14 drill ports, 15 deodorant boxes, 16 activated carbon balls, 17 box covers.
具体实施方式Detailed ways
下面将结合本实用新型实施例中的附图,对本实用新型实施例中的技术方案进行清楚、完整地描述,显然,所描述的实施例仅仅是本实用新型一部分实施例,而不是全部的实施例。基于本实用新型中的实施例,本领域普通技术人员在没有做出创造性劳动前提下所获得的所有其他实施例,都属于本实用新型保护的范围。The technical solutions in the embodiments of the present utility model will be clearly and completely described below with reference to the accompanying drawings in the embodiments of the present utility model. Obviously, the described embodiments are only a part of the embodiments of the present utility model, rather than all the implementations. example. Based on the embodiments of the present invention, all other embodiments obtained by those of ordinary skill in the art without creative work fall within the protection scope of the present invention.
请参阅图1-3,本实用新型提供一种技术方案:一种接插件钻孔机的打点钻孔装置,包括底板1、吸屑结构3、定位结构4和压料结构10;Please refer to FIGS. 1-3 , the present utility model provides a technical solution: a spot drilling device for a connector drilling machine, comprising a bottom plate 1 , a
底板1:底板1提供底部支撑,底板1的上端配合设有框板2,框板2提供支撑及灰渣残屑的存储,底板1的上端后侧设有凹槽立板5,凹槽立板5提供支撑连接,凹槽立板5的上下内壁通过轴承与丝杆6的两端转动连接,丝杆6与调节支块7螺纹连接,调节支块7两侧的滑块在凹槽立板5内壁的滑槽内滑动连接,凹槽立板5的上端设有电机8,电机8的输出轴穿过凹槽立板5的上端通孔并与丝杆6的上端固定连接,电机8正反运转,输出轴转动,由于凹槽立板5的上下内壁通过轴承与丝杆6的两端转动连接,丝杆6与调节支块7螺纹连接,调节支块7两侧的滑块在凹槽立板5内壁的滑槽内滑动连接,实现调节支块7上下位置调节,调节支块7的前侧设有支撑板9,支撑板9提供支撑连接;Bottom plate 1: Bottom plate 1 provides bottom support, the upper end of bottom plate 1 is equipped with
吸屑结构3:吸屑结构3配合设置于框板2的上端,且与底板1的上端配合安装,吸屑结构3包括漏孔板31、抽气泵32、吸管33、滤网34和过滤棉35,漏孔板31通过螺栓配合安装在框板2的上端,抽气泵32设置于底板1的上端左侧,抽气泵32的进气口通过吸管33与框板2的左壁出气口相连,滤网34配合设置于吸管33的内部,过滤棉35配合设置于滤网34的右壁面上,通过抽气泵32运转抽气,在负压的情况下,通过漏孔板31将灰渣残屑吸入框板2内部,在滤网34和过滤棉35的过滤阻隔作用下,灰渣残屑被阻隔在框板2内部;Chip suction structure 3: The
定位结构4:定位结构4配合设置于底板1的上端,定位结构4包括支板41、伸缩板42、电子激光灯43和调节旋钮44,支板41分别配合设置于底板1的上端前侧和右侧,伸缩板42底端的滑板在支板41上端的滑槽内滑动连接,电子激光灯43设置于对应的伸缩板42内侧壁上,调节旋钮44设置于对应的支板41前端,且与对应的伸缩板42配合安装,两个电子激光灯43垂直设置,且均与钻头12配合设置,由于伸缩板42底端的滑板在支板41上端的滑槽内滑动连接,调节伸缩板42的伸缩程度,来调节对应的电子激光灯43的高度,保证电子激光灯43打出直线光束在钻孔物件上表面画上一条直线,调节完毕后锁止调节旋钮44将伸缩板42固定,两个电子激光灯43垂直交汇处对准实现标记的打孔位,便于打孔定位;Positioning structure 4: The positioning structure 4 is arranged on the upper end of the bottom plate 1, and the positioning structure 4 includes a
压料结构10:压料结构10对称设置于支撑板9的外壁面上,压料结构10包括架板101、电动伸缩杆102和压板103,架板101对称设置于支撑板9的外壁面上,电动伸缩杆102设置于对应的架板101底端,压板103设置于对应的电动伸缩杆102伸缩端底部,架板101底端的电动伸缩杆102伸展,带动压板103压持物件打孔位置的两侧,避免偏移造成打孔质量不佳情况的发生,在钻头12旋转打孔下移过程中,电动伸缩杆102同幅度收缩,保证压板103始终压持物件,时时对物件进行固定;Pressing material structure 10: The pressing material structure 10 is symmetrically arranged on the outer wall surface of the
其中:还包括钻孔机11、钻头12和控制开关组13,钻孔机11运转,带动钻头12旋转,对打孔面旋转钻孔,控制开关组13调节各结构的正常运转,钻孔机11配合设置于支撑板9的底面,钻头12设置于钻孔机11底端的夹头内,控制开关组13设置于底板1的上端,控制开关组13的输入端电连接外部电源,电动伸缩杆102、抽气泵32、电机8和钻孔机11的输入端均电连接控制开关组13的输出端。Among them: it also includes a
其中:还包括钻口14,钻口14设置于漏孔板31的中部,且与钻头12对应配合设置,保证特殊贯穿孔的作业。Among them: the
其中:还包括除味箱15、活性炭小球16和箱盖17,除味箱15设置于底板1的上端,除味箱15的上端为开口结构,活性炭小球16填充于除味箱15的内部,箱盖17通过螺栓配合安装在除味箱15的上端,箱盖17上部出气口处设有排气管,除味箱15的进气口通过导气管与抽气泵32的出气口相连,除味箱15提供活性炭小球16的存储,活性炭小球16实现对打孔环境中气体的除味,由于箱盖17通过螺栓配合安装在除味箱15的上端,便于对内部的活性炭小球16进行更换。Wherein: it also includes a
在使用时:将待钻孔物件放置于框板2上端的漏孔板31上,由于伸缩板42底端的滑板在支板41上端的滑槽内滑动连接,调节伸缩板42的伸缩程度,来调节对应的电子激光灯43的高度,保证电子激光灯43打出直线光束在钻孔物件上表面画上一条直线,调节完毕后锁止调节旋钮44将伸缩板42固定,两个电子激光灯43垂直交汇处对准实现标记的打孔位,便于打孔定位,此时打孔位的底端与钻口14对齐,通过控制开关组13调控,电机8运转,输出轴转动,由于凹槽立板5的上下内壁通过轴承与丝杆6的两端转动连接,丝杆6与调节支块7螺纹连接,调节支块7两侧的滑块在凹槽立板5内壁的滑槽内滑动连接,实现调节支块7、支撑板9、钻孔机11和钻头12下伸,下伸至钻头12接触物件打孔面时电机8停止运转,之后架板101底端的电动伸缩杆102伸展,带动压板103压持物件打孔位置的两侧,避免偏移造成打孔质量不佳情况的发生,钻孔机11运转,输出轴转动带动钻头12旋转,进而对接触打孔面旋转钻孔,电机8继续匀速运转,稳定带动下方钻头12旋转打孔下移,保证打孔深度,与此同时电动伸缩杆102同幅度收缩,保证压板103始终压持物件,时时对物件进行固定,打孔过程中产生的灰渣残屑,通过抽气泵32运转抽气,在负压的情况下,通过漏孔板31将灰渣残屑吸入框板2内部,在滤网34和过滤棉35的过滤阻隔作用下,灰渣残屑被阻隔在框板2内部,而气体通过吸管33和导气管进入除味箱15中,在活性炭小球16的作用下除味,之后通过除味箱15上端的排气管排出,保证钻孔加工环境,使用完毕后,各结构清洁恢复原样,由于漏孔板31通过螺栓配合安装在框板2的上端,定期拆卸分离漏孔板31,清理内部灰渣残屑和更换维护滤网34和过滤棉35。In use: place the object to be drilled on the
值得注意的是,本实施例中所公开的控制开关组13控制电动伸缩杆102、抽气泵32、电机8和钻孔机11工作均采用现有技术中常用的方法,电动伸缩杆102、抽气泵32、电机8和钻孔机11均为现有技术中钻孔设备常用的原件。It is worth noting that the
尽管已经示出和描述了本实用新型的实施例,对于本领域的普通技术人员而言,可以理解在不脱离本实用新型的原理和精神的情况下可以对这些实施例进行多种变化、修改、替换和变型,本实用新型的范围由所附权利要求及其等同物限定。Although the embodiments of the present invention have been shown and described, it will be understood by those skilled in the art that various changes and modifications can be made to these embodiments without departing from the principles and spirit of the present invention , alternatives and modifications, the scope of the present invention is defined by the appended claims and their equivalents.
Claims (7)
Priority Applications (1)
| Application Number | Priority Date | Filing Date | Title |
|---|---|---|---|
| CN201921534474.9U CN210731074U (en) | 2019-09-16 | 2019-09-16 | Dotting and drilling device of connector drilling machine |
Applications Claiming Priority (1)
| Application Number | Priority Date | Filing Date | Title |
|---|---|---|---|
| CN201921534474.9U CN210731074U (en) | 2019-09-16 | 2019-09-16 | Dotting and drilling device of connector drilling machine |
Publications (1)
| Publication Number | Publication Date |
|---|---|
| CN210731074U true CN210731074U (en) | 2020-06-12 |
Family
ID=70983820
Family Applications (1)
| Application Number | Title | Priority Date | Filing Date |
|---|---|---|---|
| CN201921534474.9U Expired - Fee Related CN210731074U (en) | 2019-09-16 | 2019-09-16 | Dotting and drilling device of connector drilling machine |
Country Status (1)
| Country | Link |
|---|---|
| CN (1) | CN210731074U (en) |
Cited By (2)
| Publication number | Priority date | Publication date | Assignee | Title |
|---|---|---|---|---|
| CN110695397A (en) * | 2019-09-16 | 2020-01-17 | 苏州骏昌通讯科技股份有限公司 | Dotting and drilling device of connector drilling machine |
| CN111975895A (en) * | 2020-08-26 | 2020-11-24 | 杨建建 | A sweeps collection compression processing apparatus for furniture processing |
-
2019
- 2019-09-16 CN CN201921534474.9U patent/CN210731074U/en not_active Expired - Fee Related
Cited By (2)
| Publication number | Priority date | Publication date | Assignee | Title |
|---|---|---|---|---|
| CN110695397A (en) * | 2019-09-16 | 2020-01-17 | 苏州骏昌通讯科技股份有限公司 | Dotting and drilling device of connector drilling machine |
| CN111975895A (en) * | 2020-08-26 | 2020-11-24 | 杨建建 | A sweeps collection compression processing apparatus for furniture processing |
Similar Documents
| Publication | Publication Date | Title |
|---|---|---|
| CN210731074U (en) | Dotting and drilling device of connector drilling machine | |
| CN107009418B (en) | A kind of plastic pipe fitting cutting machine structure with dust exhaust apparatus | |
| CN108568698A (en) | A kind of mechanical processing steel plate drilling debris collection device | |
| CN109249480A (en) | A kind of woodwork process equipment | |
| CN205870898U (en) | Perforating device with dust removal function | |
| CN207058778U (en) | A kind of solid wood board cutter device | |
| CN207982905U (en) | A kind of automatic scraps blowing away device | |
| CN110695397A (en) | Dotting and drilling device of connector drilling machine | |
| CN216181306U (en) | Furniture processing drilling dust collection device | |
| CN111648060A (en) | Embroidery machine laser cutting waste material cleaning device | |
| CN110722420A (en) | An edge grinding device for anti-theft door panels that is easy to clean up waste | |
| CN112059015A (en) | Computer machine case backplate stamping device | |
| CN106743880B (en) | A kind of cloth intermediate conveying device with upper and lower automatic dust absorption | |
| CN211104479U (en) | A punching machine for wood processing | |
| CN107838972A (en) | A kind of cutting machine for clearing up cystosepiment disintegrating slag | |
| CN222344272U (en) | Pipe opening device | |
| CN221818118U (en) | A multifunctional drilling machine for construction engineering | |
| CN218397659U (en) | Waste material device can inhale in succession | |
| CN220698982U (en) | Dust removal drilling machine | |
| CN216609343U (en) | cork block punching machine | |
| CN214869081U (en) | A high-speed five-axis linkage machining center | |
| CN223685764U (en) | Automatic production equipment for graphite plate processing | |
| CN220196989U (en) | Box processing platform that punches | |
| CN212174973U (en) | Cutting device is used in fur production | |
| CN218593209U (en) | Panel processing drilling equipment |
Legal Events
| Date | Code | Title | Description |
|---|---|---|---|
| GR01 | Patent grant | ||
| GR01 | Patent grant | ||
| CF01 | Termination of patent right due to non-payment of annual fee |
Granted publication date: 20200612 |
|
| CF01 | Termination of patent right due to non-payment of annual fee |
