CN210725608U - An anti-moisture chassis for smart devices - Google Patents
An anti-moisture chassis for smart devices Download PDFInfo
- Publication number
- CN210725608U CN210725608U CN201921250292.9U CN201921250292U CN210725608U CN 210725608 U CN210725608 U CN 210725608U CN 201921250292 U CN201921250292 U CN 201921250292U CN 210725608 U CN210725608 U CN 210725608U
- Authority
- CN
- China
- Prior art keywords
- sponge
- moisture
- block
- width
- fixing
- Prior art date
- Legal status (The legal status is an assumption and is not a legal conclusion. Google has not performed a legal analysis and makes no representation as to the accuracy of the status listed.)
- Expired - Fee Related
Links
- 230000017525 heat dissipation Effects 0.000 claims abstract description 14
- 230000002457 bidirectional effect Effects 0.000 claims description 10
- 238000007789 sealing Methods 0.000 claims description 3
- 238000001816 cooling Methods 0.000 abstract description 5
- 238000001179 sorption measurement Methods 0.000 abstract description 4
- 238000009434 installation Methods 0.000 description 6
- 238000000034 method Methods 0.000 description 5
- 238000001035 drying Methods 0.000 description 2
- 238000005516 engineering process Methods 0.000 description 2
- 125000006850 spacer group Chemical group 0.000 description 2
- XLYOFNOQVPJJNP-UHFFFAOYSA-N water Substances O XLYOFNOQVPJJNP-UHFFFAOYSA-N 0.000 description 2
- 238000004026 adhesive bonding Methods 0.000 description 1
- 230000000903 blocking effect Effects 0.000 description 1
- 238000010586 diagram Methods 0.000 description 1
- 230000000694 effects Effects 0.000 description 1
- 230000000670 limiting effect Effects 0.000 description 1
- 230000004048 modification Effects 0.000 description 1
- 238000012986 modification Methods 0.000 description 1
- 238000000465 moulding Methods 0.000 description 1
- 238000003825 pressing Methods 0.000 description 1
- 238000003466 welding Methods 0.000 description 1
Images
Landscapes
- Casings For Electric Apparatus (AREA)
Abstract
本实用新型公开了一种智能设备防潮湿机箱,包括安装有拉手的箱体,所述箱体上对称安装有两个散热网,所述箱体的内部固定安装有两个固定板,两个所述固定板相互靠近的一侧均开设有两个滑槽,每个所述滑槽上均放置有一个滑块,每个所述滑块上均固定安装有一个安装板,位置相对应的两个所述安装板之间安装有一个海绵。优点在于:本实用新型设置可移动的海绵,在较长时间不使用或湿气较大情况下移动海绵使其对散热网进行遮挡,利用海绵的吸附能力将可进入到箱体内的湿气进行吸除,降低湿气对机箱内电路板的影响,便于整体更好的进行工作;同时海绵拆装操作简便,可定期对海绵进行更换或晒干,便于海绵更好的对机箱进行防潮湿保护。
The utility model discloses an anti-moisture case for intelligent equipment, which comprises a case body mounted with a handle, two cooling nets are symmetrically installed on the case body, two fixing plates are fixedly installed inside the case body, two The sides of the fixing plates close to each other are provided with two sliding grooves, a sliding block is placed on each of the sliding grooves, and a mounting plate is fixedly installed on each of the sliding blocks. A sponge is installed between the two mounting plates. The advantage is that the utility model is provided with a movable sponge, which can be moved to block the heat dissipation net when not used for a long time or when the humidity is high, and the moisture that can enter the box can be removed by the adsorption capacity of the sponge. Absorb and remove, reduce the impact of moisture on the circuit board in the chassis, and facilitate the overall work better; at the same time, the sponge is easy to disassemble and assemble, and the sponge can be replaced or dried regularly, so that the sponge can better protect the chassis from moisture .
Description
技术领域technical field
本实用新型涉及一种防潮湿机箱,尤其涉及一种智能设备防潮湿机箱。The utility model relates to an anti-moisture case, in particular to an anti-moisture case for intelligent equipment.
背景技术Background technique
智能设备是指任何一种具有计算处理能力的设备、器械或者机器,其正常运行离不开计算机的控制,计算机主要的电子元件安装在计算机的机箱上,机箱的正常允许对智能设备的正常运行起重要作用。An intelligent device refers to any kind of equipment, apparatus or machine with computing processing capability. Its normal operation cannot be separated from the control of the computer. The main electronic components of the computer are installed on the chassis of the computer. The normal operation of the chassis allows the normal operation of the intelligent device. makes an important impact.
但是现有智能设备所用机箱并不具备防潮湿功能,当工作环境较为潮湿时,湿气会通过散热网进入到机箱的内部,湿气易使得机箱内部的电路板发生损坏,导致短路现象的发现,从而使得智能设备无法进行正常工作。However, the chassis used in the existing smart devices does not have the anti-moisture function. When the working environment is relatively humid, the moisture will enter the inside of the chassis through the heat dissipation network, and the moisture will easily damage the circuit boards inside the chassis, resulting in the discovery of a short circuit. , so that the smart device cannot work properly.
实用新型内容Utility model content
本实用新型的目的是为了解决背景技术中所发现的问题,而提出的一种智能设备防潮湿机箱。The purpose of this utility model is to solve the problems found in the background technology, and proposes an anti-moisture case for intelligent equipment.
为了实现上述目的,本实用新型采用了如下技术方案:In order to achieve the above-mentioned purpose, the utility model adopts the following technical solutions:
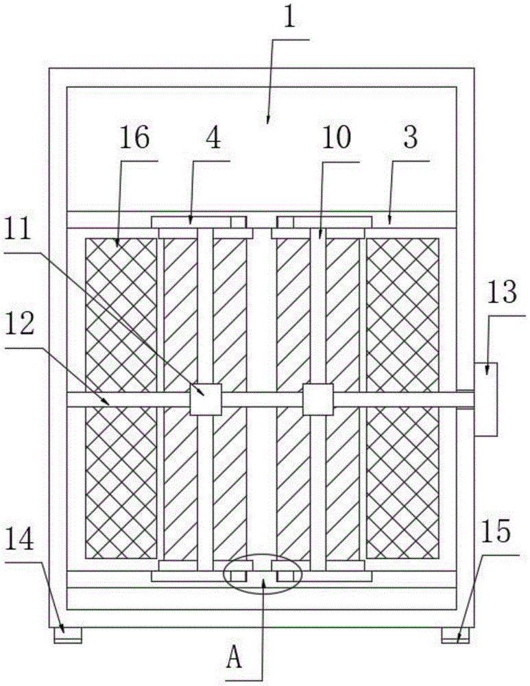
一种智能设备防潮湿机箱,包括安装有拉手的箱体,所述箱体上对称安装有两个散热网,所述箱体的内部固定安装有两个固定板,两个所述固定板相互靠近的一侧均开设有两个滑槽,每个所述滑槽上均放置有一个滑块,每个所述滑块上均固定安装有一个安装板,位置相对应的两个所述安装板之间安装有一个海绵,位置相对应的两个海绵共同固定安装有一个固定杆,两个所述固定杆上均固定安装有一个固定块,两个所述固定块共同螺纹连接有一个双向螺纹杆,且双向螺纹杆的一端转动连接在箱体的内壁上,且双向螺纹杆的另一端贯穿箱体并固定安装有一个转动块。An anti-moisture case for an intelligent device, comprising a case body mounted with a handle, two cooling nets are symmetrically installed on the case body, two fixing plates are fixedly installed inside the case body, and the two fixing plates are mutually There are two chutes on the close side, each of which is placed with a slider, and a mounting plate is fixedly installed on each of the sliders, and the two installations corresponding to the position A sponge is installed between the plates, a fixing rod is fixedly installed on the two sponges corresponding to the position, a fixing block is fixedly installed on the two fixing rods, and the two fixing blocks are threaded together to form a two-way connection. A threaded rod, one end of the bidirectional threaded rod is rotatably connected to the inner wall of the box body, and the other end of the bidirectional threaded rod penetrates the box body and is fixedly installed with a rotating block.
在上述的一种智能设备防潮湿机箱中,每个所述安装板上均开设有一个安装槽,每个所述安装板上均螺纹连接有多个锁紧块,且海绵的两端分别位于相应的安装槽上,且锁紧块的一端与海绵相抵,且锁紧块的另一端与固定板的外壁接触。In the above-mentioned anti-moisture chassis for smart devices, each of the mounting plates is provided with a mounting slot, each of the mounting plates is threadedly connected with a plurality of locking blocks, and the two ends of the sponge are respectively located at On the corresponding installation groove, one end of the locking block is in contact with the sponge, and the other end of the locking block is in contact with the outer wall of the fixing plate.
在上述的一种智能设备防潮湿机箱中,所述箱体的下端对称固定安装有多个垫块,每个所述垫块的下表面均固定安装有一个橡胶垫。In the above-mentioned anti-moisture case for an intelligent device, a plurality of spacers are symmetrically and fixedly installed at the lower end of the case body, and a rubber pad is fixedly installed on the lower surface of each spacer block.
在上述的一种智能设备防潮湿机箱中,所述海绵的宽度大于散热网的宽度,所述海绵的长度等于散热网的长度。In the above-mentioned anti-moisture case of the smart device, the width of the sponge is greater than the width of the heat dissipation net, and the length of the sponge is equal to the length of the heat dissipation net.
在上述的一种智能设备防潮湿机箱中,所述滑块的宽度等于滑槽的槽宽,所述安装板的宽度大于滑槽的槽宽。In the above-mentioned anti-moisture case for the smart device, the width of the slider is equal to the width of the chute, and the width of the mounting plate is greater than the width of the chute.
在上述的一种智能设备防潮湿机箱中,所述箱体上开设有安装孔,且安装孔的内壁上安装有密封圈,且双向螺纹杆穿过该安装孔。In the above-mentioned anti-moisture case of the smart device, the case body is provided with an installation hole, a sealing ring is installed on the inner wall of the installation hole, and the bidirectional threaded rod passes through the installation hole.
与现有的技术相比,本实用新型优点在于:Compared with the existing technology, the utility model has the advantages of:
1:设置可移动的海绵,在较长时间不使用或湿气较大情况下移动海绵使其对散热网进行遮挡,利用海绵的吸附能力将可进入到箱体内的湿气进行吸除。1: Set a movable sponge, move the sponge to block the heat dissipation net when it is not used for a long time or when the humidity is high, and use the adsorption capacity of the sponge to absorb the moisture that can enter the box.
2:海绵的移动操作简便,只需用手转动转动块即可实现两个海绵相向移动,完成同时对散热网的遮挡或打开操作。2: The movement of the sponge is simple and easy. Just turn the rotating block by hand to realize the two sponges move toward each other, and complete the operation of blocking or opening the heat dissipation net at the same time.
3:海绵的拆装操作简便,打开箱体后转动锁紧块使得锁紧块远离海绵,再用手对海绵施加一个外力即可,可定期将海绵取下进行更换或晒干,便于海绵更好的进行防潮湿。3: The disassembly and assembly of the sponge is easy. After opening the box, turn the locking block to keep the locking block away from the sponge, and then apply an external force to the sponge by hand. The sponge can be removed regularly for replacement or drying, which is convenient for the sponge to be replaced. Good for moisture protection.
综上所述,本实用新型设置可移动的海绵,在较长时间不使用或湿气较大情况下移动海绵使其对散热网进行遮挡,利用海绵的吸附能力将可进入到箱体内的湿气进行吸除,降低湿气对机箱内电路板的影响,便于整体更好的进行工作;同时海绵拆装操作简便,可定期对海绵进行更换或晒干,便于海绵更好的对机箱进行防潮湿保护。To sum up, the utility model is provided with a movable sponge, which can be moved to block the heat dissipation net when it is not used for a long time or when the humidity is high, and the moisture that can enter the box can be removed by the adsorption capacity of the sponge. The air is absorbed and removed to reduce the impact of moisture on the circuit board in the chassis, which is convenient for the overall better work; at the same time, the sponge is easy to disassemble and assemble, and the sponge can be replaced or dried regularly, so that the sponge can better protect the chassis. Moisture protection.
附图说明Description of drawings
图1为本实用新型提出的一种智能设备防潮湿机箱的结构示意图;Fig. 1 is the structural representation of a kind of intelligent equipment moisture-proof chassis proposed by the utility model;
图2为图1中散热网部分的的结构剖视图;Fig. 2 is the structural cross-sectional view of the cooling net part in Fig. 1;
图3为图2中A部分的结构放大示意图;Fig. 3 is the structural enlargement schematic diagram of A part in Fig. 2;
图4为图2中安装板部分的结构剖视图。FIG. 4 is a cross-sectional view of the structure of the mounting plate portion in FIG. 2 .
图中:1箱体、2拉手、3固定板、4滑槽、5滑块、6安装板、7安装槽、8海绵、9锁紧块、10固定杆、11固定块、12双向螺纹杆、13转动块、14垫块、15橡胶垫、16散热网。In the picture: 1 box, 2 handle, 3 fixing plate, 4 chute, 5 sliding block, 6 mounting plate, 7 mounting groove, 8 sponge, 9 locking block, 10 fixing rod, 11 fixing block, 12 two-way threaded rod , 13 rotating blocks, 14 pads, 15 rubber pads, 16 cooling nets.
具体实施方式Detailed ways
下面将结合本实用新型实施例中的附图,对本实用新型实施例中的技术方案进行清楚、完整地描述,显然,所描述的实施例仅仅是本实用新型一部分实施例,而不是全部的实施例。基于本实用新型中的实施例,本领域普通技术人员在没有做出创造性劳动前提下所获得的所有其他实施例,都属于本实用新型保护的范围。The technical solutions in the embodiments of the present utility model will be clearly and completely described below with reference to the accompanying drawings in the embodiments of the present utility model. Obviously, the described embodiments are only a part of the embodiments of the present utility model, rather than all the implementations. example. Based on the embodiments of the present invention, all other embodiments obtained by those of ordinary skill in the art without creative work fall within the protection scope of the present invention.
在本实用新型的描述中,需要理解的是,术语“上”、“下”、“前”、“后”、“左”、“右”、“顶”、“底”、“内”、“外”等指示的方位或位置关系为基于附图所示的方位或位置关系,仅是为了便于描述本实用新型和简化描述,而不是指示或暗示所指的装置或元件必须具有特定的方位、以特定的方位构造和操作,因此不能理解为对本实用新型的限制。In the description of the present invention, it should be understood that the terms "upper", "lower", "front", "rear", "left", "right", "top", "bottom", "inside", The orientation or positional relationship indicated by "outside" is based on the orientation or positional relationship shown in the accompanying drawings, which is only for the convenience of describing the present invention and simplifying the description, rather than indicating or implying that the indicated device or element must have a specific orientation , are constructed and operated in a specific orientation, and therefore should not be construed as a limitation of the present invention.
参照图1-4,一种智能设备防潮湿机箱,包括安装有拉手2的箱体1,箱体1上对称安装有两个散热网16,箱体1的内部固定安装有两个固定板3,两个固定板3相互靠近的一侧均开设有两个滑槽4,每个滑槽4上均放置有一个滑块5,滑槽4对滑块5具有限位作用,使得滑块5只能沿着平行于滑槽4的方向进行移动。Referring to Figures 1-4, an anti-moisture case for smart devices includes a
每个滑块5上均固定安装有一个安装板6,滑块5的宽度等于滑槽4的槽宽,安装板6的宽度大于滑槽4的槽宽,此部分尺寸的设置目的使得安装板6的表面部分会与固定板3接触,提高移动过程中的稳定性。A
位置相对应的两个安装板6之间安装有一个海绵8,每个安装板6上均开设有一个安装槽7,每个安装板6上均螺纹连接有多个锁紧块9,且海绵8的两端分别位于相应的安装槽7上,且锁紧块9的一端与海绵8相抵,且锁紧块9的另一端与固定板3的外壁接触,通过转动锁紧块9可控制锁紧块9与海绵8之间的距离,从而达到抵紧或松开海绵8的作用。A
海绵8的宽度大于散热网16的宽度,海绵8的长度等于散热网16的长度,此部分尺寸的设置目的在于对散热网16进行全方位的遮挡,避免不用时湿气大量通过散热网16的网孔进入到箱体1的内部。The width of the
位置相对应的两个海绵8共同固定安装有一个固定杆10,两个固定杆10上均固定安装有一个固定块11,两个固定块11共同螺纹连接有一个双向螺纹杆12,且双向螺纹杆12的一端转动连接在箱体1的内壁上。A
双向螺纹杆12的另一端贯穿箱体1并固定安装有一个转动块13,箱体1上开设有安装孔,且安装孔的内壁上安装有密封圈,且双向螺纹杆12穿过该安装孔。The other end of the bidirectional threaded
箱体1的下端对称固定安装有多个垫块14,每个垫块14的下表面均固定安装有一个橡胶垫15,此部分的设置避免箱体1的下表面直接与地面发生接触,防止地面出现积水时,积水进入到箱体1的内部,对箱体1内安装的电子元件产生影响。The lower end of the
进一步说明,上述固定连接,除非另有明确的规定和限定,否则应做广义理解,例如,可以是焊接,也可以是胶合,或者一体成型设置等本领域技术人员熟知的惯用手段。It is further stated that the above-mentioned fixed connection should be understood in a broad sense unless otherwise specified and limited. For example, it may be welding, gluing, or a conventional means known to those skilled in the art, such as integral molding.
本实用新型中,湿气较重或较长时间不使用该箱体1时,用手转动转动块13,转动块13转动带动与之固定连接的双向螺纹杆12发生转动,双向螺纹杆12转动带动与之螺纹连接的两个固定块11相互远离,利用海绵8对散热网16进行遮挡,利用海绵8的吸附能力将可进入到箱体1内的湿气进行吸除,可以定期将海绵8取下进行更换或晒干,便于海绵8更好的进行防潮湿,海绵8的拆装操作简便,打开箱体1后转动锁紧块9使得锁紧块9远离海绵8,再用手对海绵8施加一个外力即可。In the present invention, when the humidity is heavy or the
需要说明的是,在本文中,诸如第一和第二等之类的关系术语仅仅用来将一个实体或者操作与另一个实体或操作区分开来,而不一定要求或者暗示这些实体或操作之间存在任何这种实际的关系或者顺序。而且,术语“包括”、“包含”或者其任何其他变体意在涵盖非排他性的包含,从而使得包括一系列要素的过程、方法、物品或者设备不仅包括那些要素,而且还包括没有明确列出的其他要素,或者是还包括为这种过程、方法、物品或者设备所固有的要素。It should be noted that, in this document, relational terms such as first and second are only used to distinguish one entity or operation from another entity or operation, and do not necessarily require or imply any relationship between these entities or operations. any such actual relationship or sequence exists. Moreover, the terms "comprising", "comprising" or any other variation thereof are intended to encompass a non-exclusive inclusion such that a process, method, article or device that includes a list of elements includes not only those elements, but also includes not explicitly listed or other elements inherent to such a process, method, article or apparatus.
以上所述,仅为本实用新型较佳的具体实施方式,但本实用新型的保护范围并不局限于此,任何熟悉本技术领域的技术人员在本实用新型揭露的技术范围内,根据本实用新型的技术方案及其实用新型构思加以等同替换或改变,都应涵盖在本实用新型的保护范围之内。The above description is only a preferred embodiment of the present invention, but the protection scope of the present invention is not limited to this. Equivalent replacement or modification of the new technical solution and its utility model concept shall be included within the protection scope of the present utility model.
Claims (6)
Priority Applications (1)
| Application Number | Priority Date | Filing Date | Title |
|---|---|---|---|
| CN201921250292.9U CN210725608U (en) | 2019-08-05 | 2019-08-05 | An anti-moisture chassis for smart devices |
Applications Claiming Priority (1)
| Application Number | Priority Date | Filing Date | Title |
|---|---|---|---|
| CN201921250292.9U CN210725608U (en) | 2019-08-05 | 2019-08-05 | An anti-moisture chassis for smart devices |
Publications (1)
| Publication Number | Publication Date |
|---|---|
| CN210725608U true CN210725608U (en) | 2020-06-09 |
Family
ID=70935582
Family Applications (1)
| Application Number | Title | Priority Date | Filing Date |
|---|---|---|---|
| CN201921250292.9U Expired - Fee Related CN210725608U (en) | 2019-08-05 | 2019-08-05 | An anti-moisture chassis for smart devices |
Country Status (1)
| Country | Link |
|---|---|
| CN (1) | CN210725608U (en) |
Cited By (1)
| Publication number | Priority date | Publication date | Assignee | Title |
|---|---|---|---|---|
| CN113447689A (en) * | 2021-06-29 | 2021-09-28 | 黄灼健 | Electric energy meter with heat dissipation moisture resistance |
-
2019
- 2019-08-05 CN CN201921250292.9U patent/CN210725608U/en not_active Expired - Fee Related
Cited By (2)
| Publication number | Priority date | Publication date | Assignee | Title |
|---|---|---|---|---|
| CN113447689A (en) * | 2021-06-29 | 2021-09-28 | 黄灼健 | Electric energy meter with heat dissipation moisture resistance |
| CN113447689B (en) * | 2021-06-29 | 2022-08-19 | 深圳龙电华鑫控股集团股份有限公司 | Electric energy meter with heat dissipation moisture resistance |
Similar Documents
| Publication | Publication Date | Title |
|---|---|---|
| CN210725608U (en) | An anti-moisture chassis for smart devices | |
| CN209746485U (en) | Hard disk fixing mechanism for computer | |
| CN209200444U (en) | A distribution box for electrical engineering | |
| CN211349174U (en) | Computer host with dampproofing function | |
| CN113285380B (en) | Electric power automation equipment machine case with safeguard function | |
| CN210724125U (en) | High-protection high-strength anti-seepage intensive bus duct | |
| CN207460670U (en) | A kind of new electrical automation control cabinet | |
| CN210468402U (en) | Dehumidification cooling heat dissipation electric power cabinet | |
| CN208001420U (en) | One kind being used for network communication device casing protection device | |
| CN213279959U (en) | A support device for electronic digital set-top box | |
| CN210924421U (en) | Host computer protection device for computer | |
| CN219181021U (en) | A distribution box with a protective structure | |
| CN210864573U (en) | Rotatable computer machine case | |
| CN110598490B (en) | Dampproofing crashproof main frame protector | |
| CN206619084U (en) | A kind of computer network facility case | |
| CN211579316U (en) | A buffer stop for switch board | |
| CN110768130B (en) | Outdoor distribution box with alarm structure | |
| CN220290136U (en) | Main case of anticreep | |
| CN209609024U (en) | A kind of intelligent oil extraction machine energy-saving control device | |
| CN221827248U (en) | Intelligent computer hardware with dustproof structure | |
| CN220172657U (en) | Electrical box with protection architecture | |
| CN220105173U (en) | A fault recording device | |
| CN220105624U (en) | Computer machine case protector | |
| CN217217012U (en) | A dust-proof and shock-resistant multilayer circuit board for intelligent equipment | |
| CN113840483B (en) | A computer network security management protection device |
Legal Events
| Date | Code | Title | Description |
|---|---|---|---|
| GR01 | Patent grant | ||
| GR01 | Patent grant | ||
| CF01 | Termination of patent right due to non-payment of annual fee |
Granted publication date: 20200609 |
|
| CF01 | Termination of patent right due to non-payment of annual fee |
