CN210720600U - A power grid adaptability test device - Google Patents
A power grid adaptability test device Download PDFInfo
- Publication number
- CN210720600U CN210720600U CN201921357514.7U CN201921357514U CN210720600U CN 210720600 U CN210720600 U CN 210720600U CN 201921357514 U CN201921357514 U CN 201921357514U CN 210720600 U CN210720600 U CN 210720600U
- Authority
- CN
- China
- Prior art keywords
- cabinet body
- testing device
- power grid
- wall
- threaded rod
- Prior art date
- Legal status (The legal status is an assumption and is not a legal conclusion. Google has not performed a legal analysis and makes no representation as to the accuracy of the status listed.)
- Active
Links
Images
Landscapes
- Testing Resistance To Weather, Investigating Materials By Mechanical Methods (AREA)
Abstract
本实用新型公开了一种电网适应性测试装置,针对现有的测试装置工作性能较差的问题,现提出如下方案,其包括柜体,所述柜体两端的内壁均焊接有两个对称设置的电机,所述电机的输出端固定套接有横向设置的散热风扇,所述柜体两端的内壁均焊接有两个对称设置的螺纹杆,所述螺纹杆的外壁螺纹套接有两个螺纹套,所述柜体的内部设有两个对称设置的安装板,两个所述安装板开设有多个通风孔,两个所述安装板的两端均开设有活动孔。本实用新型结构合理,可简单方便的对承载部件进行拆装更换,可对承载部件的高度作出一定程度的调整,可对测试装置进行高效的散热,工作性能高,使用方便,实用性强,适合推广。
The utility model discloses a power grid adaptability testing device. Aiming at the problem of poor working performance of the existing testing device, the following solution is proposed. The motor, the output end of the motor is fixedly sleeved with a horizontally arranged cooling fan, the inner walls of both ends of the cabinet are welded with two symmetrically arranged threaded rods, and the outer wall of the threaded rod is threadedly sleeved with two threads The inside of the cabinet is provided with two symmetrically arranged mounting plates, the two mounting plates are provided with a plurality of ventilation holes, and both ends of the two mounting plates are provided with movable holes. The utility model has a reasonable structure, can simply and conveniently disassemble and replace the bearing parts, can adjust the height of the bearing parts to a certain extent, can efficiently dissipate heat to the testing device, has high working performance, is convenient to use, and has strong practicability. suitable for promotion.
Description
技术领域technical field
本实用新型涉及电网测试设备技术领域,尤其涉及一种电网适应性测试装置。The utility model relates to the technical field of power grid testing equipment, in particular to a power grid adaptability testing device.
背景技术Background technique
在电网的使用过程中,需要使用相应的测试装置对电网进行适应性检测,现有的电网适应性测试装置大多通过变压器等电子设备对电网进行适应性检测,现有的变压器虽然可以对电网进行适应性检测,但是其承载部件大多通过螺钉或者焊接等方式进行固定,当变压器经过长时间的工作后,其承载部件出现破损或者磨损,需要进行更换。In the process of using the power grid, it is necessary to use the corresponding test device to test the adaptability of the power grid. Most of the existing power grid adaptability test devices use electronic equipment such as transformers to test the adaptability of the power grid. Although the existing transformers can test the power grid adaptability Adaptability testing, but most of the load-bearing parts are fixed by screws or welding. When the transformer works for a long time, its load-bearing parts are damaged or worn and need to be replaced.
现有的测试装置无法灵活的对承载部件的相应位置进行调节,为此我们提出了一种电网适应性测试装置。The existing test device cannot flexibly adjust the corresponding position of the bearing component, so we propose a power grid adaptability test device.
实用新型内容Utility model content
本实用新型提出的一种电网适应性测试装置,解决了无法灵活的对承载部件的相应位置进行调节的问题。The power grid adaptability testing device proposed by the utility model solves the problem that the corresponding positions of the bearing components cannot be flexibly adjusted.
为了实现上述目的,本实用新型采用了如下技术方案:In order to achieve the above-mentioned purpose, the utility model adopts the following technical solutions:
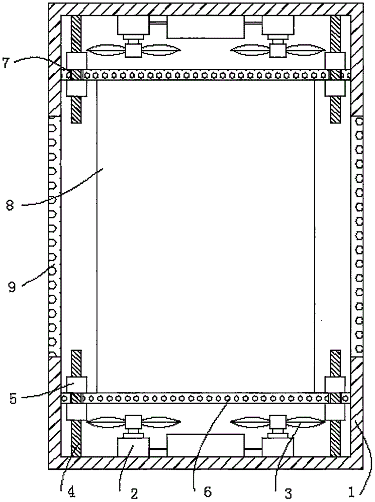
一种电网适应性测试装置,包括柜体,所述柜体两端的内壁均焊接有两个对称设置的电机,所述电机的输出端固定套接有横向设置的散热风扇,所述柜体两端的内壁均焊接有两个对称设置的螺纹杆,所述螺纹杆的外壁螺纹套接有两个螺纹套,所述柜体的内部设有两个对称设置的安装板,两个所述安装板开设有多个通风孔,两个所述安装板的两端均开设有活动孔,所述螺纹杆活动套设在活动孔的内部,所述柜体的内部设有竖向设置的变压器主体,所述变压器主体的两端与安装板固定,所述柜体的两侧设有竖向设置的散热窗口。A power grid adaptability testing device includes a cabinet body, two symmetrically arranged motors are welded on the inner walls of the two ends of the cabinet body, and a laterally arranged cooling fan is fixedly sleeved at the output end of the cabinet body. The inner wall of the end is welded with two symmetrically arranged threaded rods, the outer wall of the threaded rod is threaded with two threaded sleeves, and the inside of the cabinet is provided with two symmetrically arranged mounting plates, two of the mounting plates There are a plurality of ventilation holes, and both ends of the two mounting plates are provided with movable holes, the threaded rods are movably sleeved inside the movable holes, and the interior of the cabinet is provided with a vertically arranged transformer body, Both ends of the transformer main body are fixed with the mounting plate, and two sides of the cabinet body are provided with vertically arranged heat dissipation windows.
具体的,变压器主体和安装板之间的固定可以通过螺栓进行固定,属于现有技术。Specifically, the fixing between the main body of the transformer and the mounting plate can be fixed by bolts, which belongs to the prior art.
优选的,所述柜体外部的一侧铰接有活动门,所述活动门的外壁沿周向设有SIL硅橡胶密封圈,所述活动门的外侧焊接有圆形把手。Preferably, a movable door is hinged on one side outside the cabinet, the outer wall of the movable door is provided with a SIL silicon rubber sealing ring along the circumferential direction, and a circular handle is welded on the outer side of the movable door.
优选的,所述柜体两端的内壁焊接有横向设置的外接电源,该外接电源与电机电性连接。Preferably, a laterally arranged external power supply is welded to the inner walls of both ends of the cabinet, and the external power supply is electrically connected to the motor.
优选的,所述螺纹杆位于散热风扇的两端。Preferably, the threaded rods are located at both ends of the cooling fan.
优选的,所述螺纹套的外壁设有防滑纹,所述螺纹套与安装板相接触。Preferably, the outer wall of the threaded sleeve is provided with anti-skid lines, and the threaded sleeve is in contact with the mounting plate.
优选的,两个所述安装板的两端与柜体的内壁滑动连接。Preferably, both ends of the two mounting plates are slidably connected to the inner wall of the cabinet.
本实用新型中:In this utility model:
通过柜体、电机、散热风扇、螺纹杆、螺纹套、安装板、活动孔、变压器主体、散热窗口和活动门的配合工作,可在测试装置的承载部件出现破损或者磨损时,简单方便的对承载部件进行拆装更换,且可根据使用者的需求,对承载部件的高度作出一定程度的调整,并且可对测试装置进行高效的散热,提高测试装置的工作性能。Through the cooperation of the cabinet, motor, cooling fan, threaded rod, threaded sleeve, mounting plate, movable hole, transformer body, heat dissipation window and movable door, when the bearing parts of the test device are damaged or worn, it can be easily and conveniently adjusted. The carrying part can be disassembled and replaced, and the height of the carrying part can be adjusted to a certain extent according to the needs of the user, and the test device can be efficiently dissipated and the working performance of the test device can be improved.
综上所述,本实用新型结构合理,可简单方便的对承载部件进行拆装更换,可对承载部件的高度作出一定程度的调整,可对测试装置进行高效的散热,工作性能高,使用方便,实用性强,适合推广。To sum up, the utility model has a reasonable structure, can simply and conveniently disassemble and replace the bearing part, can adjust the height of the bearing part to a certain extent, can efficiently dissipate heat to the test device, has high working performance and is easy to use , practical and suitable for promotion.
附图说明Description of drawings
图1为本实用新型的结构示意图。Figure 1 is a schematic structural diagram of the utility model.
图2为本实用新型的正视图。Figure 2 is a front view of the utility model.
图中标号:1柜体、2电机、3散热风扇、4螺纹杆、5螺纹套、6安装板、7活动孔、8变压器主体、9散热窗口、10活动门。Labels in the figure: 1 cabinet, 2 motor, 3 cooling fan, 4 threaded rod, 5 threaded sleeve, 6 mounting plate, 7 movable hole, 8 transformer body, 9 heat dissipation window, 10 movable door.
具体实施方式Detailed ways
下面将结合本实用新型实施例中的附图,对本实用新型实施例中的技术方案进行清楚、完整地描述,显然,所描述的实施例仅仅是本实用新型一部分实施例,而不是全部的实施例。The technical solutions in the embodiments of the present utility model will be clearly and completely described below with reference to the accompanying drawings in the embodiments of the present utility model. Obviously, the described embodiments are only a part of the embodiments of the present utility model, rather than all the implementations. example.
参见附图1-2,一种电网适应性测试装置,包括柜体1,柜体1两端的内壁均焊接有两个对称设置的电机2,电机2的输出端固定套接有横向设置的散热风扇3,柜体1两端的内壁均焊接有两个对称设置的螺纹杆4,螺纹杆4的外壁螺纹套接有两个螺纹套5,柜体1的内部设有两个对称设置的安装板6,两个安装板6开设有多个通风孔,两个安装板6的两端均开设有活动孔7,螺纹杆4活动套设在活动孔7的内部,柜体1的内部设有竖向设置的变压器主体8,变压器主体8的两端与安装板6固定,柜体1的两侧设有竖向设置的散热窗口9,柜体1外部的一侧铰接有活动门10,活动门10的外壁沿周向设有SIL硅橡胶密封圈,活动门10的外侧焊接有圆形把手,柜体1两端的内壁焊接有横向设置的外接电源,该外接电源与电机2电性连接,螺纹杆4位于散热风扇3的两端,螺纹套5的外壁设有防滑纹,螺纹套5与安装板6相接触,两个安装板6的两端与柜体1的内壁滑动连接。Referring to Figures 1-2, a power grid adaptability test device includes a
工作原理:当使用者使用变压器对电网进行适应性测试时,此时可通过电机2电源线与外接电源的电性连接,带动电机2进行运行,带动散热风扇3进行转动,此时可通过散热风扇3的转动,引动柜体1内部的气流,此时可通过安装板6上的通风孔对变压器主体8进行散热处理,且当变压器经过长时间的工作后,出现磨损或者破损需要进行更换时,此时可转动螺纹套5,通过螺纹杆4和螺纹套5的配合工作,带动螺纹套5进行竖向位移,带动螺纹套5脱离螺纹杆4,此时使用者可将安装板6上的变压器主体8拆离开来,此时可拉动安装板6,此时可通过安装板6和活动孔7的配合工作,带动安装板6脱离螺纹杆4,此时使用者可对安装板6进行更换,当使用者需要安装新的安装板6时,此时可将新的安装板6上的活动孔7对准螺纹杆4,此时可将安装板6套设在螺纹杆4的外部,此时可将螺纹套5放置在螺纹杆4上,此时可转动螺纹套5,通过螺纹杆4和螺纹套5的配合工作,带动螺纹套5进行竖向位移,带动螺纹套5与安装板6相接触,此时通过多个螺纹套5的配合工作,此时新的安装板6被固定在柜体1的内部,此时使用者可继续使用新的安装板6对变压器主体8进行安装,方便使用者继续使用变压器对电网进行适应性测试。本实用新型结构合理,可简单方便的对承载部件进行拆装更换,可对承载部件的高度作出一定程度的调整,可对测试装置进行高效的散热,工作性能高,使用方便,实用性强,适合推广。Working principle: When the user uses the transformer to test the adaptability of the power grid, the electrical connection between the power cord of the motor 2 and the external power supply can drive the motor 2 to run and the cooling fan 3 to rotate. The rotation of the fan 3 drives the airflow inside the
在本实用新型的描述中,需要理解的是,术语“中心”、“纵向”、“横向”、“长度”、“宽度”、“厚度”、“上”、“下”、“前”、“后”、“左”、“右”、“竖直”、“水平”、“顶”、“底”、“内”、“外”、“顺时针”、“逆时针”等指示的方位或位置关系为基于附图所示的方位或位置关系,仅是为了便于描述本实用新型和简化描述,而不是指示或暗示所指的设备或元件必须具有特定的方位、以特定的方位构造和操作,因此不能理解为对本实用新型的限制。In the description of the present invention, it should be understood that the terms "center", "longitudinal", "lateral", "length", "width", "thickness", "upper", "lower", "front", "Back", "Left", "Right", "Vertical", "Horizontal", "Top", "Bottom", "Inner", "Outer", "Clockwise", "Counterclockwise" etc. Or the positional relationship is based on the orientation or positional relationship shown in the accompanying drawings, which is only for the convenience of describing the present invention and simplifying the description, rather than indicating or implying that the referred device or element must have a specific orientation, be constructed in a specific orientation and operation, so it cannot be construed as a limitation to the present invention.
此外,术语“第一”、“第二”仅用于描述目的,而不能理解为指示或暗示相对重要性或者隐含指明所指示的技术特征的数量。由此,限定有“第一”、“第二”的特征可以明示或者隐含地包括一个或者更多个该特征。在本实用新型的描述中,“多个”的含义是两个或两个以上,除非另有明确具体的限定。In addition, the terms "first" and "second" are only used for descriptive purposes, and should not be construed as indicating or implying relative importance or implying the number of indicated technical features. Thus, a feature defined as "first" or "second" may expressly or implicitly include one or more of that feature. In the description of the present invention, "plurality" means two or more, unless otherwise expressly and specifically defined.
以上所述,仅为本实用新型较佳的具体实施方式,但本实用新型的保护范围并不局限于此,任何熟悉本技术领域的技术人员在本实用新型揭露的技术范围内,根据本实用新型的技术方案及其实用新型构思加以等同替换或改变,都应涵盖在本实用新型的保护范围之内。The above description is only a preferred embodiment of the present invention, but the protection scope of the present invention is not limited to this. Equivalent replacement or modification of the new technical solution and its utility model concept shall be included within the protection scope of the present utility model.
Claims (6)
Priority Applications (1)
| Application Number | Priority Date | Filing Date | Title |
|---|---|---|---|
| CN201921357514.7U CN210720600U (en) | 2019-08-20 | 2019-08-20 | A power grid adaptability test device |
Applications Claiming Priority (1)
| Application Number | Priority Date | Filing Date | Title |
|---|---|---|---|
| CN201921357514.7U CN210720600U (en) | 2019-08-20 | 2019-08-20 | A power grid adaptability test device |
Publications (1)
| Publication Number | Publication Date |
|---|---|
| CN210720600U true CN210720600U (en) | 2020-06-09 |
Family
ID=70935420
Family Applications (1)
| Application Number | Title | Priority Date | Filing Date |
|---|---|---|---|
| CN201921357514.7U Active CN210720600U (en) | 2019-08-20 | 2019-08-20 | A power grid adaptability test device |
Country Status (1)
| Country | Link |
|---|---|
| CN (1) | CN210720600U (en) |
-
2019
- 2019-08-20 CN CN201921357514.7U patent/CN210720600U/en active Active
Similar Documents
| Publication | Publication Date | Title |
|---|---|---|
| CN110880688B (en) | An energy-saving outdoor distribution box based on electrical equipment | |
| CN208078423U (en) | A kind of multifunction power power distribution cabinet | |
| CN210720600U (en) | A power grid adaptability test device | |
| CN212677507U (en) | Mining voltage-stabilizing power supply | |
| CN207896506U (en) | A kind of good power distribution cabinet of heat dissipation | |
| CN207783419U (en) | A fan-type electronic device heat sink | |
| CN207441456U (en) | A kind of low-voltage current mutual inductor | |
| CN207083318U (en) | A kind of electrical engineering switch board | |
| CN207200059U (en) | A kind of power distribution cabinet easy for removal and installation | |
| CN111085974B (en) | An auxiliary installation device for a sulfur hexafluoride switch in an electrical cabinet | |
| CN206192241U (en) | Generator air gap measuring device | |
| CN204925955U (en) | Heat abstractor is assisted to desktop | |
| CN112485710B (en) | Power equipment predicts with easy to detach's circuit short circuit alarm device | |
| CN209609024U (en) | A kind of intelligent oil extraction machine energy-saving control device | |
| CN209487983U (en) | A high and low voltage power distribution cabinet with adjustable internal space | |
| CN211602011U (en) | Temperature and humidity sensing and collecting device based on environmental facility monitoring | |
| CN222016915U (en) | A computer network control box protection device | |
| CN210111398U (en) | Block terminal with protective structure | |
| CN210242536U (en) | Cooler installation device | |
| CN112952599A (en) | Power distribution cabinet control system | |
| CN209313258U (en) | A shock-absorbing power cabinet for easy maintenance | |
| CN221424551U (en) | Mounting structure convenient to LED display screen | |
| CN212033553U (en) | Ring main unit convenient to carry | |
| CN207867420U (en) | A kind of dustproof computer cabinet used in library | |
| CN221783704U (en) | A tooling device for supporting an electronic cabin |
Legal Events
| Date | Code | Title | Description |
|---|---|---|---|
| GR01 | Patent grant | ||
| GR01 | Patent grant |
